Материал: Тепловой баланс котла и расчет топлива

Внимание! Если размещение файла нарушает Ваши авторские права, то обязательно сообщите нам

Ðàñ÷åò òîïëèâà.

Ðàñ÷åòíûé ðàñõîä òîïëèâà,Â

Âð=Â(1- q4/100)

51,5

Êîýôôèöèåíò ñîõðàíåíèÿ òåïëà,φ

φ = 1- [q5/( ηáð+ q5)

0.99481


Ðàñ÷åò:

Jõâ =9,5*6,04=57,38

q2=(230-1,3*57,38)*(100-3)/22568=0,668

∑q=0,668+0+3+0,5+0=4,186

ηáð=100-4,186=95,814

Q1=420*(3697.8-993.1)=1135974

Â==53.09

Âð=53,09*(1-3)/100=51,5

φ =1-[0.5/(95.8+0.5)]=0.99481

4. Ãåîìåòðè÷åñêèå õàðàêòåðèñòèêè ÒÎÏÊÈ

Òàáëèöà 7. Îïðåäåëåíèå ãåîìåòðè÷åñêèõ õàðàêòåðèñòèê òîïî÷íîé êàìåðû.

Íàèìåíîâàíèå ,îáîçíà÷åíèå, åäèíèöû èçìåðåíèÿ.

Ðàçìåð .

Ãëóáèíà òîïî÷íîé êàìåðû à, ì.

7,55

Øèðèíà ôðîíòà â, ì.

14,24

Äëèíà ïîòîëêà òîïî÷íîé êàìåðû ln,ì.

4

Âûñîòà òîïî÷íîé êàìåðû lh, ì.

20,5

Äëèíà ôðîíòà lô, ì

20,5

Äëèíà çàäíåé ñòåíêè òîïî÷íîé êàìåðû lç, ì.

10,5

Äëèíà øèðì lø, ì.

8

Ïëîùàäü çàíÿòàÿ ýêðàííûìè òðóáàìè Fòð, ì.

21,7

Âåðõíÿÿ ïëîùàäü òîïî÷íîé êàìåðû F1, ì.

25

Íèæíÿÿ ïëîùàäü òîïî÷íîé êàìåðû F2, ì.

79,3


Ðèñ 1. Ãåîìåòðèÿ òîïî÷íîé êàìåðû.

Òàáëèöà 8. Îïðåäåëåíèå ãåîìåòðè÷åñêèõ õàðàêòåðèñòèê òîïî÷íîé êàìåðû

Ðàñ÷åòíàÿ âåëè÷èíà

Ôîðìóëà

Îòâåò

1.Ïëîùàäü áîêîâîé ñòåíû Fá, ì2

Fá=Fòð+F1+F2

126

2.àêòèâíûé îáúåì òîïêè Vò, ì2

Vò= Fá

1794,24

3.Ïëîùàäü ôðîíòîâîé ñòåíêè Fô2

Fô=h*B

291,92

4.Ïëîùàäü çàäíåé ñòåíû Fç2

Fç=L3*B

149,52

5.Ïëîùàäü ïîòîëêà Fï2

Fï=Lï

56,96

6.Ïëîùàäü âûõîäíîãî îêíà Fø, ì2

Fø=Lø

113,92

7.Ïëîùàäü, çàíÿòàÿ ãîðåëêàìè Fã2

Çàäàíî

12

8.Ïëîùàäü ñòåí, çàíÿòûõ ýêðàíàìè Fñòý2

Fñòý=Fô+Fç+4*Fá-Fã

933,44

9.Ëó÷åâîñïðèíèìàåìàÿ ïîâåðõíîñòü ýêðàíîâ Hëý2

Hëý= Fñòý

933,44

10.Ëó÷åâîñïðèíèìàåìàÿ ïîâåðõíîñòü ïîòîëêà Hëï2

Hëï=Fï

56,96

11.Ëó÷åâîñïðèíèìàåìàÿ ïîâåðõíîñòü âûõîäíîãî îêíà òîïêè Hëø, ì2

Hëø=Fø

113,92

12.Ëó÷åâîñïðèíèìàåìàÿ ïîâåðõíîñòü òîïêè Hë2

Hë= Hëý+Hëï+Hëø

1104,32

13.Ïîëíàÿ ïîâåðõíîñòü ñòåí Fñò2

Fñò=Fñòý+Fï+Fã+Fø

1116,32

14.Ñòåïåíü ýêðàíèðîâàíèÿ òîïêè õ

õ=Hë/Fñò

0,9892

15.Ýôôåêòèâíàÿ òîëùèíà èçëó÷åííîãî ñëîÿ S,ì

S=3,6*Vò/Fñò

5,76


Ðàñ÷åò:

Fá=21,7+25+79,3=126

Vò= 126*14,24=1794,24

Fô=20,5*14,24=291,92

Fç=10,5*14,24=149,52ï=4*14,24=56,96

Fø=8*14,24=113,92

Fñòý=291,92+149,52+4*126-12=933,44

Hëý= 933,44*1=933,44

Hëï=56,96*1=56,96

Hëø=113,92*1=113,92

Hë= 933,44+56,96+113,92=1104,32

Fñò=933,44+56,96+12+113,92=1116,32

õ=1104,32/1116,32=0,989

S=1794,24/1116,32=5,76

5. Êîíñòðóêöèÿ è ïðèíöèï äåéñòâèÿ äåàýðàòîðà

Äåàýðàòîð - òåõíè÷åñêîå óñòðîéñòâî, ðåàëèçóþùåå ïðîöåññ äåàýðàöèè <https://ru.wikipedia.org/wiki/%D0%94%D0%B5%D0%B0%D1%8D%D1%80%D0%B0%D1%86%D0%B8%D1%8F> íåêîòîðîé æèäêîñòè (îáû÷íî âîäû <https://ru.wikipedia.org/wiki/%D0%92%D0%BE%D0%B4%D0%B0> èëè æèäêîãî òîïëèâà <https://ru.wikipedia.org/wiki/%D0%A2%D0%BE%D0%BF%D0%BB%D0%B8%D0%B2%D0%BE>), òî åñòü å¸ î÷èñòêè îò ïðèñóòñòâóþùèõ â íåé íåæåëàòåëüíûõ ãàçîâûõ <https://ru.wikipedia.org/wiki/%D0%93%D0%B0%D0%B7> ïðèìåñåé. Íà ìíîãèõ ýëåêòðè÷åñêèõ ñòàíöèÿõ <https://ru.wikipedia.org/wiki/%D0%AD%D0%BB%D0%B5%D0%BA%D1%82%D1%80%D0%BE%D1%81%D1%82%D0%B0%D0%BD%D1%86%D0%B8%D1%8F> òàêæå èãðàåò ðîëü ñòóïåíè ðåãåíåðàöèè <https://ru.wikipedia.org/wiki/%D0%A0%D0%B5%D0%B3%D0%B5%D0%BD%D0%B5%D1%80%D0%B0%D1%82%D0%B8%D0%B2%D0%BD%D1%8B%D0%B9_%D1%86%D0%B8%D0%BA%D0%BB> è áàêà <https://ru.wikipedia.org/wiki/%D0%91%D0%B0%D0%BA_(%D1%80%D0%B5%D0%B7%D0%B5%D1%80%D0%B2%D1%83%D0%B0%D1%80)> çàïàñà ïèòàòåëüíîé âîäû <https://ru.wikipedia.org/w/index.php?title=%D0%9F%D0%B8%D1%82%D0%B0%D1%82%D0%B5%D0%BB%D1%8C%D0%BD%D0%B0%D1%8F_%D0%B2%D0%BE%D0%B4%D0%B0&action=edit&redlink=1>.

Óñòðîéñòâî äåàýðàòîð ïðåäíàçíà÷åíî:

• Äëÿ çàùèòû íàñîñîâ îò êàâèòàöèè.

• Äëÿ çàùèòû îáîðóäîâàíèÿ è òðóáîïðîâîäîâ îò êîððîçèè.

• Äëÿ çàùèòû ñèñòåìû îò ïîïàäàíèÿ â íåå âîçäóõà, êîòîðûé íàðóøàåò ãèäðàâëèêó è íîðìàëüíóþ ðàáîòó ôîðñóíîê.

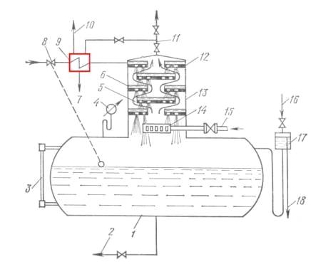
Ðèñ.2. Àòìîñôåðíûé Äåàýðàòîð ñìåøèâàþùåãî òèïà ñ Îõëàäèòåëåì âûïàðà

1 - áàê (àêêóìóëÿòîð), 2 - âûïóñê ïèòàòåëüíîé âîäû èç áàêà, 5 - âîäîóêàçàòåëüíîå ñòåêëî, 4 - ìàíîìåòð, 5, 6 è 12 - òàðåëêè, 7 - ñïóñê âîäû â äðåíàæ, 8 - àâòîìàòè÷åñêèé ðåãóëÿòîð ïîäà÷è õèìè÷åñêè î÷èùåííîé âîäû, 9 - îõëàäèòåëü ïàðà <#"794665.files/image005.gif">

Ðèñ.3. Äåàýðàöèîííàÿ óñòàíîâêà

Äåàýðàöèîííàÿ óñòàíîâêà ñîñòîèò èç:

·              Äåàýðàòîð âàêóóìíûé;

·              Π<http://stigmash.ru/catalog/kotelnoe-oborudovanie/ohladiteli-vypara/ovv/>(îõëàäèòåëü âûïàðà, êîæóõîòðóáíûé òåïëîîáìåííèê, ïðåäíàçíà÷åííûé äëÿ êîíäåíñàöèè ìàêñèìàëüíîãî êîëè÷åñòâà ïàðà è óòèëèçàöèè åãî òåïëîâîé ýíåðãèè);

·              ÝÂ (ýæåêòîð âîäîñòðóéíûé, âîçäóõîîòñàñûâàþùåå óñòðîéñòâî).

 Ä ïðèìåíÿåòñÿ äâóõñòóïåí÷àòàÿ ñèñòåìà äåãàçàöèè. 1-ÿ ñòóïåíü ñòðóéíàÿ, 2-ÿ - áàðáîòàæíàÿ, íåïðîâàëüíàÿ äûð÷àòàÿ òàðåëêà.

ÈÑÏÎËÜÇÓÅÌÀß ËÈÒÅÐÀÒÓÐÀ, ÈÑÒÎ×ÍÈÊÈ

1.      Ëèïîâ Þ.Ì., Ðåçíèêîâ Ì.È. «Ïàðîâûå êîòëû òåïëîâûõ ýëåêòðîñòàíöèé», 1981ã

.        Áðþõàíîâ Î.Í., Êóçíåöîâ Â.À. Ãàçèôèöèðîâàííûå êîòåëüíûå àãðåãàòû Ì: Èíôðà-Ì,2005,392ñ.

.        Ìåòîäè÷åñêèå óêàçàíèÿ ê êóðñîâîìó ïðîåêòèðîâàíèþ ïî ïðåäìåòó «Êîòåëüíûå óñòàíîâêè», 1999ã

.        Ìåòîäè÷åñêèå ïîñîáèÿ ïî îôîðìëåíèþ ïîÿñíèòåëüíîé çàïèñêè è ãðàôè÷åñêèõ ðàáîò êóðñîâîãî ïðîåêòèðîâàíèÿ

.        Íîðìû ðàñ÷åòà è ïðîåêòèðîâàíèÿ ïûëåïðèãîòîâèòåëüíûõ óñòàíîâîê

.        Òåïëîâîé ðàñ÷åò êîòåëüíûõ àãðåãàòîâ (íîðìàòèâíûé ìåòîä), 1973ã

Ðàçìåùåíî íà Allbest.ru