Материал: Температурный режим хранения нефтепродуктов в резервуарах. Мартыненко Г.Н., Тульская С.Г

Внимание! Если размещение файла нарушает Ваши авторские права, то обязательно сообщите нам

Министерство образования и науки РФ

Федеральное государственное бюджетное образовательное учреждение

высшего образования

«Воронежский государственный архитектурно-строительный университет»

Г.Н. Мартыненко, С.Г.Тульская

Температурный режим хранения

нефтепродуктов в резервуарах

Учебное пособие

для студентов направления 21.03.01 «Нефтегазовое дело»

очной и заочной формы обучения

Воронеж 2015

УДК 622.691.2-404

ББК 31.354

М294

Рецензенты:

кафедра «Теоретическая и промышленная теплоэнергетика»

Воронежского государственного технического университета;

И.А. Стельмахов, директор ООО «Регион Проект»

М294

Мартыненко, Г.Н.

Температурный режим хранения нефтепродуктов

в резервуарах: учеб. пособие / Г.Н. Мартыненко, С.Г. Тульская; Воронежский ГАСУ. – Воронеж, 2015. - 54 с.

В учебном пособии приводятся краткие теоретические и практические сведения о методике расчета температур хранения нефтепродуктов в резервуарах и определения объемов хранилищ нефтепродуктов.

Учебное пособие предназначено для студентов строительных ВУЗов, обучающихся по направлению «Нефтегазовое дело» профилю «Проектирование, сооружение и эксплуатация газонефтепроводов и газонефтехранилищ» для очной и заочной формы обучения.

Ил. 1. Табл. 8. Библиогр.: 4 назв.

УДК 622.691.2-404

ББК 31.354

Печатается по решению учебно-методического совета

Воронежского ГАСУ

© Мартыненко Г.Н., Тульская С.Г., 2015

© Воронежский ГАСУ, 2015

Оглавление

ВВЕДЕНИЕ…………………………………………………………………

4

1. ОБЩИЕ СВЕДЕНИЯ О СЖИЖЕННЫХ УГЛЕВОДОРОДНЫХ

ГАЗАХ…………………………………………………………………..

4

2. ТИПЫ РЕЗЕРВУАРОВ………………………………………………….

6

2.1. Вертикальные резервуары ………………………………………..

6

2.2. Горизонтальные резервуары………………………………………

9

3. ОСНОВНЫЕ СВЕДЕНИЯ, НЕОБХОДИМЫЕ ДЛЯ ПРОЕКТИРОВАНИЯ РЕЗЕРВУАРОВ НЕФТЕПРОДУКТОВ………………………

14

4. РАСЧЕТ ТЕМПЕРАТУРНОГО РЕЖИМА НЕФТЕПРОДУКТА ПРИ ХРАНЕНИИ………………………………………………………………..

17

4.1. Вероятная температура нефтепродукта в резервуарах (емкостях) при хранении……………………………………………………

17

4.2. Определение температуры подогрева нефтепродуктов…………

26

4.3. Пример расчета…………………………………………………….

26

5. ОБЪЕМЫ ХРАНИЛИЩ НЕФТЕПРОДУКТОВ………………………

38

5.1. Определение объемов резервуарных парков при магистральных нефтепроводах……………………………………………………

38

5.2. Определение объемов резервуарных парков магистральных нефтепродуктопроводов……………………………………………….

39

5.3. Определение вместимости резервуарных парков нефтебаз…….

40

5.4. Примеры расчетов…………………………………………………

43

КОНТРОЛЬНЫЕ ВОПРОСЫ…………………………………………….

46

ЗАКЛЮЧЕНИЕ…………………………………………………………….

46

БИБЛИОГРАФИЧЕСКИЙ СПИСОК ………………………………….

47

Приложения…………………………………………………………….

48

1. Общие сведения о сжиженных углеводородных газах

Сжиженными углеводородными газами (СУГ) называют низшие углеводороды, которые в чистом виде или в виде смесей при сравнительно небольшом давлении и температуре окружающей среды переходят в жидкое состояние [2, 4]. К основным углеводородам относят:

- пропан С3 Н8;

- бутан С4 Н10;

- пропилен С3 Н6;

- бутилен С4 Н8.

Для удобства хранения и транспортировки эффективно сжимать метан, этан и этилен. Сжижение, хранение и транспортировку метана, этана и этилена осуществляют обычно под давлением, близким к атмосферному, но при отрицательных температурах от -161 0С до -90и 0С.

Разделение сжиженных газов на сжиженные углеводородные газы (СУГ) и сжиженный природный газ (СПГ) чисто условно.

СУГ единственное в своем роде топливо, которое, при определенном давлении и температуре, можно транспортировать и хранить в жидком виде. Однако при нормальном давлении и сравнительно низких температурах эти смеси испаряются и используются как газы.

Хранение является одной из основных частей в общей схеме производства и потребления сжиженных углеводородных газов.

Все хранилища для сжиженных углеводородных газов по своему назначению можно разделить на следующие основные группы:

  • хранилища, находящиеся на газоперерабатывающих (ГПЗ) и нефтеперерабатывающих заводах (НПЗ);

  • хранилища, обслуживающие перевалочные кустовые и портовые базы сжиженного газа, резервуарные парки газонаполнительных станций, железнодорожные и морские терминалы;

  • хранилища, находящиеся непосредственно у потребителей (крупные промышленные предприятия, населенные пункты, групповые установки для индивидуальных коттеджей);

  • хранилища, обслуживающие станции пик-потребления газа (предприятия, сглаживающие неравномерности потребления газа).

Сжиженные газы хранят в резервуарах, которые классифицируются по способу хранения, материалу, из которого изготовлены, и хранимому продукту.

Существуют два способа хранения СУГ:

  • под повышенным давлением и при температуре окружающей среды;

  • под давлением, близким к атмосферному, и при соответствующей отрицательной температуре (низкотемпературное или изотермическое хранение).

В настоящее время для хранения сжиженных углеводородных газов (СУГ) под давлением используются цилиндрические и сферические стальные резервуары.

Сферические резервуары СУГ по сравнению с цилиндрическими имеют более совершенную геометрическую форму. Сосуды такой формы требуют меньшего расхода металла на единицу объема емкости за счет уменьшения толщины стенки. Это возможно благодаря равномерному распределению напряжений по контуру всей оболочки и в сварных швах.

Несмотря на удобство эксплуатации сферических резервуаров, цилиндрические резервуары для СУГ с эллиптическими днищами получили широкое распространение и используются на всех видах хранилищ сжиженного углеводородного газа.

Цилиндрические резервуары устанавливаются горизонтально и могут располагаться как на поверхности земли (наземные), так и под землей (подземные).

Подземными считаются резервуары, в которых высший уровень жидкости расположен ниже низшей планировочной отметки прилегающей территории не менее чем на 0,2 м. Территорией, прилегающей к резервуару, считается площадь, находящаяся в пределах 6 м от стенки резервуара.

К подземным также может приравниваться наземный резервуар в случае, если сосуд шириной не менее 6 м., считая от стенки резервуара до бровки обсыпки, имеет обвалку грунтом не менее 0,2 м над высшим уровнем жидкости в резервуаре.

Чтобы уменьшить влияние солнечной радиации, подземные резервуары покрывают противокоррозийной изоляцией и засыпают песчаным грунтом, а наземные окрашивают серебряной краской.

Введение

Единственная крупная страна, которая полностью обеспечивает себя топливом и энергией за счет природных ресурсов - Россия. Кроме того, является экспортером газового топлива. Доля природного газа в топливном балансе России составляет 60 %. Природный газ является эффективным и экологически чистым видом топлива.

В пособии приведены краткие сведения и теоретические положения о сжиженных углеводородных газах. Приведены типы резервуаров и их основные характеристики. В качестве основных рассмотрены резервуары стальные вертикальные и стальные горизонтальные. Рассмотрен пример практического расчета температурного режима хранения сжиженных углеводородных газов в резервуарах. Для тепловых расчетов при хранении и отпуске вязких нефтепродуктов необходимо знать начальную температуру, время хранения, температуру окружающей среды, конструкцию и габаритные размеры резервуаров. Учесть все факторы, от которых зависит температура нефтепродуктов в емкости, практически невозможно, поэтому ее определяют с некоторой степенью вероятности. Рассмотрен расчет определения объемов резервуарных парков при магистральных нефтепроводах. Пособие дополнено приложениями, в которых приведены справочные данные, что позволяет быстро определить необходимые расчетные величины.

Учебное пособие предназначено для студентов строительных ВУЗов, обучающихся по направлению «Нефтегазовое дело» профилю «Проектирование, сооружение и эксплуатация газонефтепроводов и газонефтехранилищ».

Цилиндрические резервуары для хранения пропана и бутана имеют одинаковую конструкцию и габаритные размеры, но отличаются толщиной стенок корпуса и днищ.

Резервуары для хранения сжиженных углеводородных газов, согласно «Правилам устройства и безопасной эксплуатации сосудов, работающих под давлением», подлежат периодическому техническому освидетельствованию. При освидетельствовании осматривается внутренняя и внешняя поверхности резервуара, определяется сохранность его стенок. После осмотра резервуар подвергают гидравлическому испытанию водой под давлением, равным 1,25 рабочего [3].

2. Типы резервуаров

Нефтепродукты на нефтебазах и перекачивающих станциях хранятся в резервуарах различного типа. Резервуары подразделяются на типы в зависимости от назначения и условий эксплуатаций. В качестве основных применяются резервуары стальные вертикальные и стальные горизонтальные.

2.1. Вертикальные резервуары

Вертикальные стальные цилиндрические резервуары вместимостью от 100 до 50000 м3.

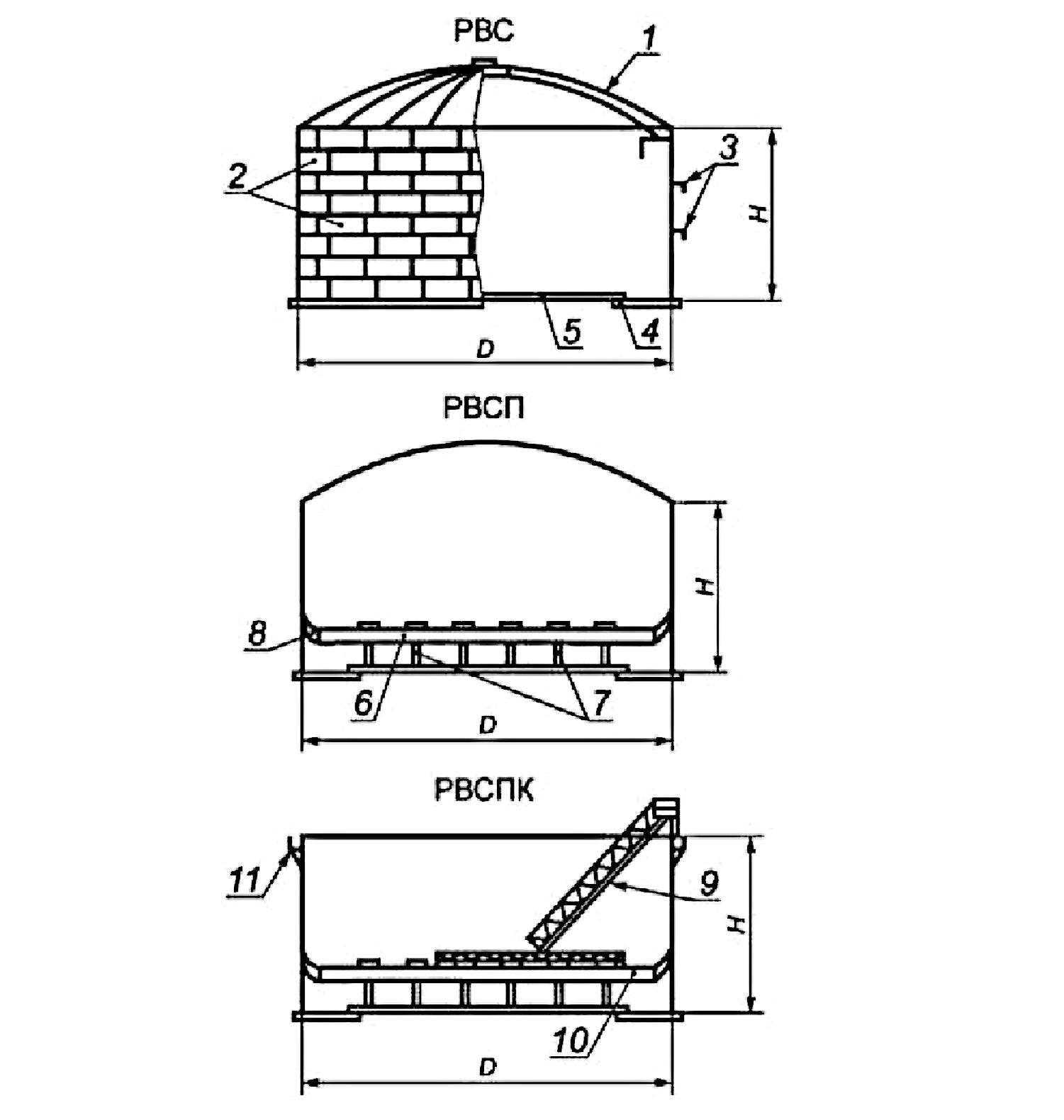
По конструктивным особенностям вертикальные цилиндрические резервуары делятся на следующие типы (рис. 1.1):

  • РВС - резервуар вертикальный со стационарной крышей без понтона;

  • РВСП - резервуар вертикальный со стационарной крышей с понтоном;

  • РВСПК - резервуар вертикальный с плавающей крышей.

В зависимости от объема хранимого продукта резервуары подразделяются на четыре класса опасности:

- класс I - резервуары объемом более 50000 м3;

- класс II - резервуары объемом от 20000 до 50000 м3 включительно, а также резервуары объемом от 10000 до 50000 м3 включительно, расположенные непосредственно по берегам рек, крупных водоемов и в черте городской застройки;

- класс III - резервуары объемом от 1000 и менее 20000 м3;

- класс IV - резервуары объемом менее 1000 м3.

а)

б)

в)

Рис. 1.1. Схемы резервуаров: а) РВС; б) РВСП; в) РВСПК:

1 - каркас крыши; 2 - пояса стенки; 3 - промежуточные кольца жесткости;

4 - кольцо окраек; 5 - центральная часть днища; 6 - понтон; 7 - опорные стойки; 8 - уплотняющий затвор; 9 - катучая лестница; 10 - плавающая крыша; 11 - верхнее кольцо жесткости (площадка обслуживания)

Класс опасности должен учитываться при назначении:

- специальных требований к материалам, методам изготовления, объемам контроля качества;

- коэффициентов надежности по ответственности.

На основании ГОСТ Р 52910-2008 конструктивные части корпуса подразделяются на:

- основные несущие конструкции;

- ограждающие конструкции.

К основным несущим конструкциям относят:

- стенка (включая врезки патрубков и люков);

- кольцо окраек днища;

- каркас и опорное кольцо каркасной крыши;

- анкерное крепление крыши;

- кольца жесткости на стенке.

Главным требованием к основным несущим конструкциям является обеспечение прочности корпуса РВС в целом.

К ограждающим конструкциям относят:

- центральная часть днища;

- настил стационарной крыши;

- плавающая крыша;

- понтон.

Днища резервуаров могут быть плоскими и коническими с уклоном от центра или к центру. Все листы днища резервуаров V=1000м3 и менее должны иметь номинальную толщину не менее 4 мм. Днища резервуаров V=2000м3 и более имеют центральную часть и утолщенные кольцевые окрайки.