Материал: Технологический процесс сварки балки коробчатого профиля

Внимание! Если размещение файла нарушает Ваши авторские права, то обязательно сообщите нам

Технологический процесс сварки балки коробчатого профиля

Содержание

Введение

1. Назначение конструкции и требования к сварным соединениям

2. Основной металл и оценка его свариваемости

2.1 Общая характеристика основного металла

2.2 Оценка свариваемости основного металла

3. Выбор вида сварки

3.1 Ручная дуговая сварка покрытыми электродами

3.2 Сварка в среде защитных газов плавящимся электродом

3.3 Автоматическая дуговая сварка под слоем флюса

4. Заготовительные операции

5. Технологический процесс сборки и сварки

6. Выбор сварочных материалов

6.1 Сварочная проволока

6.2 Сварочный флюс

6.3 Сварочная углекислота

7. Расчёт режимов сварки

7.1 Режимы механизированной сварки в среде СО2

7.2 Режимы автоматической сварки под флюсом

8. Выбор сварочного оборудования

8.1 Оборудование для дуговой сварки в среде CO2

8.2 Оборудование для сварки под флюсом

9. Сборочно-сварочные приспособления

10. Экология и безопасность жизнедеятельности

Выводы

Список литературы

Приложения

Введение

В настоящее время одной из актуальных проблем машиностроения является повышение качества и надежности конструкций при одновременном повышение производительности труда и автоматизации производства.

Требования по улучшению качества и надежности сварных конструкций обеспечиваются путем правильного выбора вида сварки, сварочных материалов, расчета наиболее рационального режима сварки.

Сварка - один из ведущих технологических процессов современной промышленности, от степени развития и совершенствования которого во многом зависит уровень технологии в машиностроении, строительстве и ряде других отраслей хозяйства. Правильно разработанный технологический процесс сварки обеспечивает получение не только надежных соединений и конструкций, отвечающим всем эксплуатационным требованиям, но и допускает максимальную степень комплексной механизации и автоматизации всего производственного процесса изготовления деталей, экономически выгоден по затратам на энергию, на сварочные материалы и по затратам человеческого труда. Преимущества сварных конструкций в настоящее время общепризнанны, такие конструкции повсеместно применяют взамен литых и клепаных соединений. Эти преимущества сводятся к уменьшению расхода металла, снижению затрат труда, упрощению оборудования, увеличению производительности.

В проектируемом технологическом процессе изготовления балки коробчатого профиля особое внимание уделено повышению производительности труда, механизации и автоматизации сварочных работ за счет внедрения нового высокопроизводительного оборудования и применения новых сварочных материалов.

1. Назначение конструкции и требования к сварным соединениям

Балка коробчатого сечения представляет собой сварную конструкцию из четырёх металлических пластин, сваренных между собой с образованием замкнутого контура. Подобные конструкции нашли широкое применение в строительной отрасли в качестве различных видов опор и несущих конструкций. Преимущество применения балок коробчатого профиля заключается в том, что металл балки более полно работает при различного рода изгибах (по сравнению с цельнометаллической балкой), имея при этом сравнительно небольшую массу.

Балка изготавливается из конструкционной низколегированной стали марки 09Г2. Условия эксплуатации конструкции нормальные, интервал рабочих температур от -30 до +50 градусов.

Конструкция должна выдерживать предельно допустимые нагрузки в течение расчетного срока службы, обеспечить долговечность и надежность, предусматривать возможность технического освидетельствования, ремонта и контроля металла в соединении.

Основные типы, конструктивные элементы и размеры сварных соединений выполняемых сваркой под слоем флюса должны соответствовать ГОСТ 8713-79, ГОСТ 11533-75.

Качество сварных конструкций определяется:

         рациональной конструкцией;

         качеством основного материала; качеством сварочных материалов, флюса (соответствие сертификату, государственному стандарту или техническим условиям);

         качеством сборки детали;

         качеством подготовки поверхности деталей под сварку;

         уровнем разработанного технологического процесса, степенью автоматизации сборочно-сварочных операций;

         квалификацией сварщиков, операторов и наладчиков, общей культурой производства;

         качеством сварного шва: т.е. выполненного без дефектов, в соответствии требованию прочности, плавным переходам к основному материалу.

Входящие детали под сварку должны удовлетворять требованиям чертежа. Свариваемые кромки деталей в местах наложения швов и прилегающие к ним кромки шириной не менее 20мм в каждую сторону должны быть очищены от окалины, ржавчины, краски, масла смазки и других загрязнений до металлического блеска. Контроль размеров зачистки осуществляется линейкой измерительной металлической или штангенциркулем.

Детали, подготовленные под сварку, не должны иметь острых кромок. Детали, предназначенные для сварки, после штамповки должны быть очищены от масла, жира, грязи моющими растворами.

Под технологичностью понимают конструктивные оптимальные формы, которые отвечают служебному назначению изделия, обеспечивают работу в пределах заданного ресурса, позволяют изготовить изделие с минимальными затратами материала, труда, времени.

Конструкцию можно считать технологичной, когда:

         Материал обладает хорошей свариваемостью, не склонен к образованию холодных и горячих трещин, охрупчиванию, не чувствителен к образованию закаленных структур, малая склонность к красноломкости, хладноломкости, жаропрочен, коррозионно-стойкий.

         Конструкция изделия позволяет применять механизацию и автоматизацию сборки, сварки и транспортных операций.

         Конструкция может обеспечить свободный подход электродов к месту сварки. т.е. тип соединения - открытый.

На основании вышеизложенного делаем вывод, что конструкция технологична.

2. Основной металл и оценка его свариваемости

2.1 Общая характеристика основного металла


Конструкция изготавливается из стали 09Г2 ГОСТ 19281-89. В таблицах 1, 2 и 3 приведены химический состав, механические и физические свойства стали.

Таблица 1. Химический состав стали 09Г2

Элемент

Si

Mn

Cu

As

Ni

S

C

P

Cr

Сод-е, %

0,17ч0,37

1,4ч1,8

≤ 0,30

≤ 0,08

≤ 0,3

≤ 0,04

≤0,12

≤ 0,035

≤ 0,3


Таблица 2. Механические свойства при Т=20oС

Сортамент

Размер, мм

уB, МПа

уT, МПа

у5, %

ш, %

KCU, кДж / м2

Лист

4

450

310

21

 -

 -


Таблица 3. Физические свойства стали 09Г2

Температура испытания, єС

20

100

200

300

400

500

600

700

800

900

Е, ГПа

204










с, кг/см3

7790










л, Вт/(м·єС)



38

37

36






Температура испытания, єС

20ч100

20ч200

20ч300

20ч 400

20ч 500

20ч 600

20ч 700

20ч 800

20ч 900

20ч 1000

 б, 106 1/єС

11,3











2.2 Оценка свариваемости основного металла


Под технологической свариваемостью понимают способность материала образовывать при рациональном технологическом процессе сварки прочное соединение без существенного снижения технологических свойств свариваемого материала в самом соединении и в прилегающей зоне.

Обязательными критериями при оценке свариваемости являются стойкость сварного соединения против образования горячих и холодных трещин, а также равноценность механических свойств сварного соединения основному металлу.

Для углеродистых и низколегированных сталей стойкость сварного соединения против образования горячих и холодных трещин оценивается косвенным способом по эквиваленту углерода.

)        Оценка стойкости углеродистых сталей против образования горячих трещин по эквиваленту углерода


Сталь не склонна к горячим трещинам.

)        Оценка стойкости углеродистых сталей против образования холодных трещин по эквиваленту углерода


Сталь не склонна к холодным трещинам.

3. Выбор вида сварки

Технологию сварки выбираем исходя из следующих требований:

.        Равнопрочность металла шва с основным металлом;

.        Отсутствие трещин, непроваров, пор, подрезов, шлаковых включений;

.        Сварное соединение должно быть стойким против перехода в хрупкое состояние;

.        Изменение форм и размеров (деформации), должны находится в разумных пределах, не отражающихся на работоспособности конструкции;

Рассмотрим три способа сварки для заданной стали:

.        Ручная дуговая сварка покрытыми электродами;

.        Сварка в среде защитных газов плавящимся электродом;

.        Автоматическая дуговая сварка под флюсом;

 

.1 Ручная дуговая сварка покрытыми электродами


В настоящее время остается одним из распространенных методов, используемых при изготовлении сварных конструкций. Это объясняется простотой и мобильностью применяемого оборудования, возможностью выполнения сварки в различных пространственных положениях и в местах, труднодоступных для механизированных способов сварки. Существенный недостаток ручной дуговой сварки металлическими электродами с покрытием - малая производительность процесса и зависимость качества сварного шва от практических навыков сварщика.

Необходимо также отметить, что ограниченность сварочного тока при ручной сварке приводит к меньшей глубине проплавления, что в свою очередь обуславливает необходимость применения разделки кромок, а малый коэффициент наплавки приводит к увеличению числа проходов для заполнения разделки. Всё это, в конечном счёте, ведёт к снижению производительности работ и ухудшению качества сварного соединения. Кроме того, необходимость периодически обрывать дугу для смены электрода также нарушает однородность шва по его длине и ухудшает общие механические свойства соединения.

Таким образом, достоинства ручной дуговой сварки:

         простота и мобильность способа сварки;

         наличие широкой номенклатуры электродов;

         низкая стоимость сварки.

Недостатки:

         невысокая производительность сварки (3 кг/час);

         невысокое качество металла шва;

         некрасивый внешний вид шва;

         наличие разбрызгивания.

3.2 Сварка в среде защитных газов плавящимся электродом


При сварке плавящимся электродом в среде защитных газов шов образуется за счет проплавления основного металла и расплавления дополнительного - электродной проволоки. Дуга горит между концом непрерывно расплавляемой проволоки и изделием. Проволока попадает в зону дуги с помощью механизма со скоростью, равной средней скорости ее расплавления. Расплавленный металл электродной проволоки переходит в сварочную ванну и, таким образом, участвует в формировании шва.

Ввиду высокой проплавляющей способности дуги повышаются требования к качеству сборки кромок под сварку. Качественный провар и формирование корня шва обеспечивают теми же приемами, что и при ручной сварке или сварке под флюсом (подкладки, флюсовые и газовые подушки и т.д.). С уменьшением плотности тока стабильность дуги понижается.

Защитный газ выбирают с учетом особенностей свариваемого металла, а также требований, предъявляемых к сварным швам. Инертные газы применяются для сварки химически активных металлов, а также во всех случаях, когда необходимо получить сварные швы, однородные по составу с основным и присадочным металлом. Активные газы применяют, когда заданные свойства металла можно обеспечить металлургической обработкой (окислением, восстановлением, азотированием и т.д.).

К достоинствам дуговой сварки в защитных газах относятся:

         высокая степень концентрации дуги, обеспечивающая минимальную зону структурных превращений и относительно небольшие деформации изделия;

         высокая производительность;

         эффективная защита расплавленного металла, особенно при применении в качестве защитной среды инертных газов;

         возможность наблюдения за ванной и дугой;

         низкая стоимость выполнения сварочных работ при применении в качестве защитной среды активных газов;

         возможность сварки металлов различной толщины (от десятых долей миллиметра до десятков миллиметров);

         отсутствие необходимости применения флюсов или обмазок;

         широкая возможность автоматизации и механизации;

         возможность сварки в различных пространственных положениях;

         возможность металлургического влияния на металл шва за счет регулирования состава проволоки и защитного газа.

Недостатки:

         необходимы меры по снижению разбрызгивания;

         сквозняки ухудшают газовую защиту дуги, поэтому сварка на открытом воздухе затруднена;

         необходимость применения защитных мер против световой и тепловой радиации дуги.

3.3 Автоматическая дуговая сварка под слоем флюса


Сварка под флюсом имеет большое преимущество перед ручной дуговой сваркой покрытыми электродами ввиду более высокой производительности, высокого качества наплавляемого металла, высокой степени металлургической обработки, возможность сварки различных материалов, более стабильный состав и свойства металла по всей длине шва. Это достигается отсутствием частых кратеров образующихся при смене электродов, равномерностью плавления электродной проволоки и основного металла шва по длине шва, более надёжной защиты зоны сварки от окисления легирующих компонентов кислородом воздуха.

При сварке под флюсом обеспечивается универсальность процесса, возможность сварки различных материалов, возможность выполнения сварочных и наплавочных работ. Хорошее формирование поверхности швов с мелкой чешуйчатостью и плавным переходом к основному металлу, отсутствие брызг - преимущество сварки под флюсом, т.к. отпадает надобность в трудоёмкой операции очистки от них поверхности свариваемых деталей.

При сварке под флюсом обеспечивается высокое и стабильное качество сварки. Это достигается за счёт надёжной защиты металла от воздействия кислорода и азота воздуха, однородности металла шва по химическому составу, улучшение формы шва и сохранение постоянства его размеров. В результате обеспечивается меньшая вероятность образования непроваров, подрезов и других дефектов формирования шва и отсутствие перерывов в процессе сварки.

За счёт уменьшения доли электродного металла в металле шва в среднем с 70% при сварке покрытыми электродами до 35% при сварке под флюсом и уменьшения потерь на угар, разбрызгивание и огарки снижается расход электродного металла и электроэнергии. Отпадает необходимость в защите глаз и лица рабочего и несколько уменьшается количество выделяемых в процессе сварки вредных газов, что улучшает условия труда. Кроме того, процесс сварки хорошо поддаётся автоматизации.

Недостатками сварки под флюсом:

         невозможность наблюдать зону сварки;

         сложность сварки металла толщиной меньше 5 мм;

         возможность сварки только в нижнем положении ввиду возможного стекания расплавленного флюса и металла.

Вывод:

Анализируя достоинства и недостатки вышеупомянутых методов, приходим к выводу о предпочтительности использования автоматической дуговой сварки под слоем флюса. Этот способ обеспечивает наилучшее формирование шва с постоянством состава и свойствами металла по всей длине шва, а также снижает затраты на последующую очистку конструкции от брызг металла.

металл дуговой сварка

4. Заготовительные операции

Пластины для изготовления конструкции вырезаются из листов горячекатаной стали ГОСТ 19903-74 кислородной резкой К 2202 ГОСТ 14792-80. Листы, имеющие внешнюю деформацию, подлежат правке. Их следует править в многовалковых листоправильных машинах (например, в трехвалковых). Правка выполняется в холодном состоянии при температуре окружающего воздуха не ниже .

Перед поступлением деталей на участок сварки, необходимо провести химическую подготовку поверхностей деталей под сварку:

1)      Обезжиривание.

         Химсостав ванны: 15% раствор щелочи NaCl

         Температура 20°С.

         Время 3ч5 мин.

)        Травление.

         Химсостав ванны: HCl (200 г/л) + КС (10 г/л).

         Температура 30ч40°С

         Время 2ч5 мин.

)        Поссивация.

         Химсостав ванны: 30% раствор HNO3

         Температура 20±5°С.

-        Время 20ч30 мин.

Примечание: после каждого вода обработки идет операция промывка в горячей воде и сушка (120ч130°С в течение 20ч30 мин).

Геометрические размеры деталей соединения и размеры элементов разделки кромок должны соответствовать чертежу.

5. Технологический процесс сборки и сварки

)        Подготовительная

.1)     При необходимости зачистить кромки деталей и прилегающие к ним поверхности под сварку на ширину не менее 20 мм от края кромки с наружной и внутренней стороны от ржавчины, окалины, масла и других загрязнений до металлического блеска.

.2)     Очистить сварочную проволоку от масла, ржавчины и других загрязнений.

)        Сборочно-сварочная

.1)     Поместить в приспособление детали поз. 1, 2 и 3.

.2)     Прихватить деталь поз. 1 и 2 к детали поз. 3. Прихватки выполнять длиной 50 мм с шагом 300 мм на указанных режимах.

.3)     Установить в приспособление деталь поз. 4 и прихватить её к деталям поз. 1 и 2.

.4)     Прихватить входные и выходные планки, необходимые для начала и окончания сварного шва. Ширина планок 100 мм, длина 150 мм. Прихватки должны иметь ту же разделку, что и основные детали. Планки приваривают стыковым швом, исключая непровары.

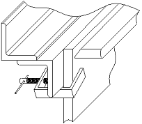
.5)     Установить на конструкцию с помощью струбцин уголки для предотвращения ссыпания флюса (рисунок 1).

Рисунок 1. Схема прижатия уголков

2.6)  
Наложить подварочный шов согласно указанным режимам. Для уменьшения сварочных деформаций швы накладывать, начиная от центра каждого стыка по схеме, приведённой на рисунке 2. Конструкцию вращать цепным кантователем.

Рисунок 2. Схема наложения швов

2.7)   Вернуть конструкцию в исходное положение, согласно рисунку 2.

.8)     Установить сварочный автомат и начать заполнение разделки на указанном режиме. Швы накладывать по рекомендациям п. 2.6.

)        Слесарная

.1)     Снять сварную конструкцию с кантователя.

.2)     Удалить входные и выходные планки.

.3)     Зачистить места удаления планок.

.4)     Очистить шов и околошовную зону от флюса и шлаковой корки.

)        Контрольная

.1)     Проконтролировать визуально качество сварного шва 100%.

.2)     Проверить сварной шов методом ультразвуковой дефектоскопии.

.3)     Проконтролировать размеры детали и шва штангенциркулем и измерительной линейкой.

6. Выбор сварочных материалов

Присадочный металл и другие вещества, используемые при сварке плавлением с целью получения непрерывного, неразъёмного соединения, удовлетворяющего определённым требованиям, принято называть сварочными материалами.

К сварочным материалам относится сварочная проволока, присадочные прутки, порошковая проволока, плавящиеся покрытые электроды, неплавящиеся электроды, различные флюсы и защитные газы, которые должны обеспечить требуемые геометрические размеры и свойства шва, хорошие технологические условия ведения процесса сварки, высокую производительность и экономичность процесса, необходимые санитарно-гигиенические условия труда при их производстве и сварке.

6.1 Сварочная проволока


Сварочная проволока служит для подвода электрического тока в зону сварки, а также дополнительным металлом, участвующим в образовании шва. Поверхность сварочной проволоки должна быть гладкой, без окалины, ржавчины, масла и других загрязнений. Сварочная проволока поставляется в бухтах и в катушках.

Проволока для механизированной сварки в среде углекислого газа.

В нашей работе применим проволоку Св-08ГС ГОСТ 2246-70. Химический состав проволоки в соответствии со стандартом указан в таблице 4.

Таблица 4. Химический состав проволоки Св-08ГС по ГОСТ 2246-70

Обозначение

Массовая доля элементов, %


C

Mn

Si

Cr

Ni

Mo

Ti

S

P

Св-08ГС

≤0,1

1,40 ч 1,70

0,60 ч 0,85

≤0,20

≤0,25

-

-

≤0,0250

≤0,030

Проволока для автоматической дуговой сварки под флюсом.

Для сварки под флюсом низкоуглеродистой низколегированной стали 09Г2 воспользуемся электродной проволокой марки Св-08ГА ГОСТ 2246-70. Химический состав проволоки приведён в таблице 5.

Таблица 5. Химический состав проволоки Св-08ГА по ГОСТ 2246-70

Обозначение

Массовая доля элементов, %


C

Mn

Si

Cr

Ni

Mo

Ti

S

P

Св-08ГА

≤0,1

0,80ч1,10

≤0,06

≤0,10

≤0,25

-

-

≤0,0250

≤0,030

 

Сварочный флюс

Сварочный флюс - это сварочный материал, используемый при сварке для защиты зоны сварки, химической очистки соединяемых поверхностей и улучшения качества сварочного шва.

В данной работе применим флюс ОСЦ-45 ГОСТ 9087-81. Он предназначен для механизированной дуговой сварки углеродистых нелегированных и низколегированных сталей, наплавки широкой номенклатуры изделий из углеродистых и низколегированных сталей в сочетании с проволоками марок Св-08, Св-08ГА, S1, S2, S2Mo. Химический состав и свойства флюса приводятся в таблице 6 и 7.

Таблица 6. Химический флюса ОСЦ-45 по ГОСТ 9087-81

Массовая доля элементов, %

SiO2

Fe2O3

Al2O3

CaO

MgO

MnO

CaF2

S

P

TiO2

ZrO2

37ч44

0,5ч2,0

≤6

≤10

≤3

37ч44

5ч9

≤0,12

≤0,14

-

-


Таблица 7. Свойства флюса ОСЦ-45 по ГОСТ 9087-81

Параметр

Значение

Насыпная плотность, г/смі

1,3 ч 1,8

Содержание инородных частиц (не растворившихся частиц сырьевых материалов, футеровки, угля, графита, кокса, металлических частиц и др.), %

≤0,3

Строение и цвет зерен (стекловидное, от красно-коричневого до черного всех оттенков)

стекловидное

Содержание зерен с цветом, отличающимся от указанного, %

≤3

Размер зерен, мм

0,35 ч 4,0

Влажность флюса, %

≤0,10

Цвет зерен

От светло-серого и желтого до коричневого всех оттенков

При влажности, превышающей допустимую, флюс перед употреблением подвергают сушке при температуре 400-450 °С - не менее 2 часов. Допускается применение иных режимов сушки, обеспечивающих требуемую влажность и стабильность цвета зерен флюса.

 

.2 Сварочная углекислота


Согласно ГОСТ 8050-85 газообразная и жидкая углекислота поставляется трех видов: высшего, первого и второго сортов. Для сварки рекомендуется использовать углекислоту высшего и первого сорта. Применение углекислоты второго сорта для сварки допускается, однако желательно наличие осушителей газа. Допустимое содержание углекислого газа и некоторых примесей в различных марках углекислоты приведено в таблице 8.

Таблица 8. Характеристики марок углекислоты по ГОСТ 8050-85

Марка углекислоты

Высший сорт

Первый сорт

Второй сорт

Объемная доля углекислого газа, %

99,8

99,5

98,8

Доля воды, %

нет

нет

≤0,1

Содержание водяных паров, г/м3

≤0,037

≤0,184

Не нормируется


Для извлечения влаги из углекислого газа применяется осушитель газа. Он представляет собой корпус, заполненный материалом (обычно силикагелем, медным купоросом или алюмогелем), хорошо впитывающим влагу.

Таким образом, в работе используются:

)        для прихватки и предварительной подварки корня шва механизированной сваркой в среде углекислого газа:

         проволока сварочная Св-08ГС ГОСТ 2246-70;

         двуокись углерода сварочная 1-го сорта ГОСТ 8050-85;

)        для автоматической дуговой сварки под слоем флюса:

         проволока сварочная Св-08ГА ГОСТ 2246-70;

         флюс сварочный плавленый ОСЦ-45 ГОСТ 9087-69;


Режимом сварки называют совокупность основных характеристик сварочного процесса, обеспечивающих получение сварных соединений заданных размеров, формы и качества. В нашем случае такими характеристиками являются: сила сварочного тока, плотность тока в электроде, напряжение дуги, скорость сварки, химический состав (марка) и грануляция флюса, род тока и его полярность, расход защитного газа.

Важнейшим параметром сварки является напряжение дуги, которое определяет её длину. При увеличении длины дуги (напряжение дуги) ее горение становится менее спокойным и устойчивым, увеличивается разбрызгивание жидкого металла, возрастает возможность попадания воздуха в зону сварки и насыщение наплавленного металла азотом, усиливается выгорание элементов, содержащихся в проволоке, возрастает вероятность образования пор. Процесс зажигания дуги в большинстве случаев включает в себя три этапа: короткое замыкание электрода на заготовку, отвод электрода на расстояние 3-6 мм и возникновение устойчивого дугового разряда.

Скорость подачи электродной проволоки выбирается в зависимости от величины сварочного тока, напряжения дуги, диаметра электродной проволоки и её химического состава.

Режимы механизированной сварки в среде СО2

Для осуществления предварительной прихватки деталей и последующей подварки корня шва используется механизированная сварка плавящимся электродом в среде углекислого газа. Основные параметры режима сварки приведены в таблице 9 [1, стр. 226].

Таблица 9. Режимы сварки в среде СО2

Параметр

Значение

Род тока

постоянный, обратной полярности

Диаметр электродной проволоки, мм

2

Сила тока, А

190

Напряжение дуги, В

30

Скорость сварки, м/ч

20

Расход защитного газа, л/мин

15

Вылет электрода, мм

13

Расстояние от сопла горелки до изделия, мм

10


Режимы автоматической сварки под флюсом

Сварка производится постоянным током обратной полярности. Рассчитаем параметры режима исходя из условия заполнения разделки в один проход, чтобы исключить возможные трудности, связанные с очищением шва от шлаковой корки (при многопроходной сварке) и повышения производительности.

)        Установим требуемую глубину провара.

При сварке по предварительной подварке корня шва, необходимость обеспечения проплавления на всю толщину металла отпадает. Поэтому ограничимся проплавлением 80%.

,       (3)

где S - толщина металла, мм. В данном случае S = 10 мм.

)        Установим силу сварочного тока, обеспечивающего заданную глубину проплавления.

                                                                        (4)

где  - коэффициент пропорциональности, величина которого зависит от условий проведения сварки. Значение коэффициента для механизированной сварки проволокой диаметром d = 4 мм под слоем флюса ОСЦ-45 равно 1,15 [1, стр. 193]

3)      Найдём значение плотности тока в проволоке.

                                            (5)

Такое значение является допустимым для данного вида сварки и диаметра проволоки.

)        Определим оптимальное напряжение дуги.

(6)

)        Определим площадь наплавленного металла для покрытия разделки.


где e - ширина валика, мм;

g - высота усиления, мм;

б - угол разделки, град.;

b - зазор в стыке, мм;

l = S - p,

где p - величина притупления, мм;

С = H + g, мм;

По данным ГОСТ 8713-79 для данного типа соединений: e = 15мм, g = 2мм, b = 2мм, p = 2мм, б = 40є

6)      Определим скорость сварки.

                                                                    (8)

где  - коэффициент наплавки, г/А·ч. Для данного тока, диаметра проволоки и вида сварки  [1, стр. 189]

  

7)      Определим скорость подачи электродной проволоки.


Учитывая силу сварочного тока (700 А), рекомендуемая высота насыпки флюса равна 40 мм.

8. Выбор сварочного оборудования

В категорию сварочного оборудования входят: источники питания, различного рода подающие механизмы, сварочные трактора, сварочные головки и др. Однако, качество сварки в первую очередь определяется параметрами источника питания, его стабильностью и надёжностью работы, поэтому остановимся на этом вопросе подробнее.

В настоящее время используется три основных вида источников.

)        Сварочные трансформаторы.

Громоздкие и тяжелые машины, вырабатывающие переменный ток. Так как в данной работе сварка производится только на постоянном токе, эти источники во внимание не принимаются.

)        Сварочные выпрямители.

Современные тиристорные сварочные выпрямители находят широкое распространение в цеховых условиях, где масса и габариты источника не играют большой роли. Развитая система управления последних моделей позволяет в широких пределах менять сварочные режимы, а применяемые схемы стабилизации режима позволяют использовать эти источники в производстве ответственных сварных конструкций.

)        Инверторные источники питания.

Сварочные инверторы используются как источники питания для сварочных аппаратов для всех методов дуговой сварки плавлением и в настоящее время являются наиболее современным видом сварочных источников питания. Среди других сварочных аппаратов сварочные инверторы отличаются хорошими сварочными свойствами, компактностью, малой массой и низким уровнем энергопотребления. Применяемая в последних моделях инверторов система управляемого каплепереноса позволяет добиться исключительного качества формирования шва.

8.1 Оборудование для дуговой сварки в среде CO2


Для обеспечения качественного проплавления притупления при наложении подварочного шва, а также исключения прожогов и вытекания расплавленного металла с обратной стороны шва, воспользуемся инверторным источником питания ДC400.33УКП фирмы «Технотрон» с управляемым каплепереносом (рисунок 3). Основные технические характеристики источника перечислены в таблице 10.

Благодаря «покапельному» управлению переносом металла, аппарат ДC400.33УКП позволяет выйти на новый качественный уровень сварки, при котором ведется независимое управление сварочным током и скоростью подачи проволоки при помощи быстродействующего микропроцессора и обратных связей, позволяющих контролировать и изменять параметры сварочной дуги более 1000 раз в секунду. Технология позволяет повысить производительность, исключить прожоги, снизить требования к точности подготовки кромок под сварку.

Рисунок 3. Сварочный источник ДC400.33УКП

Особенности аппарата ДC400.33УКП

         резкое снижение уровня разбрызгивания;

         отсутствие деформаций металла за счет четкого управления тепловложением;

         гарантированное проплавление и обратный валик;

         качество сварки сравнимое с аргонодуговой, при производительности в 3-5 раз выше;

         цифровая индикация тока и напряжения сварки;

питание, как от стационарной сети, так и от дизель-генератора.

Таблица 10. Технические характеристики источника питания ДC400.33УКП

Наименование параметра

Значение

Напряжение питания, В

380, +10% -15%

Потребляемая мощность, кВА, не более

20

Номинальный режим работы ПН, % (при +40oС)

60

Максимальный ток при ПН=100%, А

300

Диапазон рабочих температур, oС

От -40 до +40

Масса, кг

44

Габаритные размеры, мм

610х280х535

Напряжение питания, В

380, +10% -15%

Потребляемая мощность, кВА, не более

20

Номинальный режим работы ПН, % (при +40oС)

60


В работе также применим подающий механизм ПМ-4.33 (рисунок 4), предназначенный для подачи сплошной стальной, алюминиевой и порошковой проволоки от 0,6 до 2,4 мм при работе с аппаратом ДС400.33, ДС400.33УКП и им подобными. Технические характеристики перечислены в таблице 11.

Особенности  ПМ-4.33

-      цифровая индикация скорости подачи проволоки, сварочного тока и напряжения;

       плавная регулировка скорости подачи сварочной проволоки и напряжения на дуге;

       цифровое задание всех параметров сварки;

       плавное зажигание дуги, благодаря установке замедления проволоки вначале сварки;

Рисунок 4. Подающий механизм ПМ-4.33

-    установка времени продува в начале сварки и обдува газа после ее окончания;

      плавное гашение дуги, благодаря установке замедления проволоки при окончании сварки;

      четырехроликовый механизм подачи;

-        зубчатое зацепление подающих и прижимных роликов;

         регулируемое усилие прижима;

         возможна эксплуатация на удалении до 50м от сварочного источника;

         отсекатель защитного газа;

         дистанционное управление скоростью подачи проволоки;

         возможность работы в непрерывном 2-х и 4-хтактном режиме.

Таблица 11. Технические характеристики подающего механизма ПМ-4.33

Наименование параметра

Значение

Напряжение питания, В

~36В

Потребляемая мощность, кВА, не более

0,2

Скорость подачи проволоки, м/сек

1-17

Диаметр проволоки, мм - Сплошной - Алюминевой - Порошковая

 0.6-1.6 1.0-2.4 0.9-2.4

Диапазон рабочих температур, °С

От -40 до +40

Масса, кг

14

Габаритные размеры, мм

580х202х423

 

.2 Оборудование для сварки под флюсом


Выберем в качестве источника питания сварочный выпрямитель ВДУ-1000 (рисунок 5). Это универсальный <file:///D:\Документы\Бакалавр\internet\equip.group.phtml.htm> выпрямитель, выполненный с тиристорным регулированием и имеющий универсальные жесткие и падающие внешние характеристики, предназначенный для комплектации сварочных автоматов или полуавтоматов для сварки в среде защитных газов или для сварки и наплавки под флюсом изделий из углеродистых и малоуглеродистых сталей на постоянном токе обратной полярности. Основные технические характеристики выпрямителя перечислены в таблице 12.

 

Рисунок 5. Сварочный выпрямитель ВДУ-1000

Особенности выпрямителя:

         надежное зажигание и устойчивое горение дуги;

         наличие термозащиты от перегрузки;

         возможность как местного, так и дистанционного регулирования сварочных параметров;

         обладают двумя видами жестких внешних вольтамперных характеристиках для сварки и наплавки под слоем флюса;

         высокая надежность обмоточных узлов;

класс изоляции Н

Таблица 12. Технические характеристики выпрямителя ВДУ- 1000

Наименование параметра

Значение

Напряжение питающей сети, В

3х380

Частота питающей сети, Гц

50

Номинальный сварочный ток, А (при ПВ, %)

1000 (60%) 800 (100%)

Пределы регулирования сварочного тока, А

150 ч 1000

Пределы регулирования сварочного напряжения, В

24 ч 45

Номинальное рабочее напряжение, В

45

Напряжение холостого хода, В, не более

55

Потребляемая мощность при номинальном токе, кВА

не более 57

Масса, кг, не более

360

Габариты, мм, не более

695х610х1105


В данной работе используем сварочный трактор АДФ-800 (рисунок 6), предназначенный для сварки и наплавки электродной проволокой под слоем флюса. Работает в комплекте с выпрямителями ВДУ-1250, ВДУ-1000, ВДУ-630 и др. АДФ-800 представляет собой самоходное устройство в котором подача сварочной проволоки, перемещение, и защита дуги происходит автоматически по определенной программе. Трактор производит сварку соединений встык с разделкой и без разделки кромок, угловых швов наклонным электродом, а так же нахлесточных швов. Швы могут быть прямолинейными и кольцевыми. В процессе работы трактор передвигается по изделию или по уложенной на нем направляющей линейке.

Технические характеристики перечислены в таблице 13.

Рисунок 6. Сварочный автомат АДФ-800

Трактор АДФ-800 имеет следующие основные технические решения:

         микропроцессорный блок управления;

         плавная регулировка скорости подачи электродной проволоки (сварочного тока);

         плавная регулировка скорости перемещения тележки (скорости сварки);

         стабилизация скорости сварки и скорости подачи проволоки;

         цифровая индикация величины сварочного тока и напряжения, скорости сварки, времени заварки кратера и времени растяжки дуги;

         предварительная установка сварочного режима (скорости подачи проволоки, напряжения на дуге, скорости перемещения по свариваемому изделию);

         дистанционное включение и плавное регулирование сварочного напряжения источника;

         регулировки положения сварочной головки в различных пространственных положениях;

         возможность сцепления и расцепления колес с приводом с помощью муфты;

         наличие регулируемого копира для сварки тавровых швов и швов с разделкой кромок;

         наличие световой индикации для контроля движения по шву.

Таблица 13. Технические характеристики сварочного автомата АДФ-800

Наименование параметра

Значение

Напряжение питания сварочного трактора, при частоте 50Гц, В

42

Номинальный сварочный ток, при ПВ=100%, А

800

Диаметр электродной проволоки, мм

1,6 ч 4,0

Скорость подачи электродной проволоки, м\ч

40 ч 360

Пределы регулирования скорости сварки, м\ч

12 ч 120

Пределы регулирования времени заварки кратера, сек.

0 ч 5

Пределы регулирования времени растяжки дуги, сек.

0 ч 2

Угол поворота механизма подачи вокруг продольной оси автомата

± 45˚ от вертикали

Вертикальный сдвиг механизма подачи, мм, не менее

65

Угол поворота плоскости кассеты с проволокой вокруг продольной оси автомата

± 25˚

Вращение сварочной головки вокруг вертикальной оси

± 90˚

Межосевое расстояние колес, мм

330

Колесная колея, мм

214

Вместимость кассеты для проволоки, кг, не менее

15

Емкость бункера для флюса, дмі,

7,3

Мощность, потребляемая сварочным трактором, ВА, не более

400

Габаритные размеры, ДxШxВ, мм

760x370x570

Масса (без флюса и проволоки), кг

80


9. Сборочно-сварочные приспособления

Огромное значение для комплексной механизации процесса сварки имеет наличие в составе сварочной установки механического и вспомогательного сварочного оборудования, так как продолжительность процесса сборки и сварки составляет соответственно около 30% и 33%.

Для уменьшения трудоемкости и продолжительности работы, повышения качества и снижения себестоимости изделия применяют механизированные приспособления для сборки свариваемой конструкции и перемещения ее в процессе сварки. К этому оборудованию относятся: приспособления и механизмы для укладки, наклона и вращения свариваемых изделий (стенды, стеллажи, кондукторы, кантователи, манипуляторы); для крепления и перемещения сварочных аппаратов (колонны, тележки, порталы); для обслуживания зоны сварки (площадки, балконы, люльки). Механическое сварочное оборудование можно с успехом использовать при изготовлении сварных узлов и конструкций на строительно-монтажной площадке, в мастерских, на базах строительно-монтажных управлений, в трубозаготовительных цехах и в цехах металлоконструкций.

В данной работе применим цепной кантователь, чтобы обеспечить удобство проведение сварочных работ с обеих сторон коробчатой балки. Конструкция цепного кантователя представлена на рисунке 7.

Рисунок 7. Цепной кантователь.

10. Экология и безопасность жизнедеятельности

Процессы сварки требуют соблюдения определенного комплекса правил техники безопасности и охраны труда, которые должны находить отражение в технологических картах и строго соблюдаться при проведении сварочных работ. Для всех видов сварки плавлением в той или иной степени существует возможность опасных воздействий следующих факторов [1 стр. 415]:

         поражение электрическим током при прикосновении человека к токоведущим частям электрической цепи;

         поражение лучами электрической дуги глаз и открытой поверхности кожи;

         ожоги от капель металла и шлака при сварке;

         отравление вредными газами, выделяющимися при сварке и при  загрязнении помещений пылью и испарениями различных веществ;

         взрывы из-за неправильного обращения с баллонами сжатого газа либо из-за производства сварки в емкостях из-под горючих веществ, либо выполнения сварки вблизи легковоспламеняющихся и взрывоопасных веществ;

         пожары от расплавленного металла и шлака в процессе сварки;

         травмы различного рода механического характера при подготовке тяжелых изделий к сварке и в процессе сварки.

Для предотвращения вредных воздействий на сварщика следует придерживаться следующих правил:

         в мокрых и сырых местах работать в резиновых калошах; иметь резиновые или брезентовые перчатки; производственная одежда должна быть сухой и исправной;

         не прикасаться голыми руками к токоведущим частям сварочной установки;

         для защиты от излучения дуги на глаза и кожу сварщика использовать защитные шлемы и щитки, а также брезентовые рукавицы;

         для предотвращения отравлений газами и парами в местах проведения сварочных работ должна устраиваться вентиляция, обеспечивающая отвод вредных газов.

         Концентрация вредных веществ не должна превышать предельно допустимой концентрации ядовитых газов, паров и пыли в воздухе рабочей зоны производственных помещений согласно санитарным нормам, приведенным в таблице 14.

         для предупреждения ожогов служат спецодежда из плотного брезента и защитные очки;

         для предупреждения взрывов при проведении сварочных работ необходимо соблюдать правила техники безопасности при работе со сжатыми газами.

Кроме того, все сварочные установки должны находиться под наблюдением наладчика-монтера. Исправлять дефекты электросварочного оборудования имеет право только монтер-наладчик.

Таблица 14. ПДК вредных веществ

Наименование веществ

ПДК, мг/л

Марганец и его соединения

0,0003

Мышьяковистый водород

0,003

Оксиды азота

0,005

Окись цинка

0,005

Окись углерода

0,03

Свинец и его неорганические соединения

0,00001

Сернистый ангидрид

0,02

Фтористый водород

0,001

Неядовитая пыль

10000

Пыль, содержащая свыше 50% кварца

2000

 

При сварке в защитных газах, кроме соблюдения мер, общих для всех видов сварки, необходимо учитывать, что углекислый газ и аргон в 1,5-2 раза тяжелее воздуха. Эти газы могут скапливаться в нижних отсеках помещения, в связи с чем, вытяжную вентиляцию нужно устраивать не только в зоне дыхания сварщика, но и в нижней части помещения. Выбрасывать воздух нужно за пределы рабочих зон.

Выводы

В данной работе была рассмотрена методика сварки балки коробчатого сечения, а также осуществлён выбор сварочных материалов и оборудования. С целью обеспечения наилучшего качества сварки ответственной конструкции было принято решение о выборе сварки под флюсом.

В качестве сварочного материала применяется:

а) для прихватки и предварительной подварки корня шва механизированной сваркой в среде углекислого газа:

         проволока сварочная Св-08ГС ГОСТ 2246-70;

         двуокись углерода сварочная 1-го сорта ГОСТ 8050-85;

б) для автоматической дуговой сварки под слоем флюса:

         проволока сварочная Св-08ГА ГОСТ 2246-70;

         флюс сварочный плавленый ОСЦ-45 ГОСТ 9087-69;

В качестве источника питания для сварки под флюсом выбран сварочный выпрямитель ВДУ-1000, который обеспечивает стабильность горения дуги и высокую производительность при относительно невысокой стоимости. Для сварки в среде СО2 выбран инверторный источник питания с управляемым каплепереносом ДC400.33УКП, что обеспечивает возможность качественного формирования обратного валика без дополнительных средств.

Для сварки используется автомат АДФ-800 и полуавтомат ПМ-4.33.

Список литературы

1.   Акулов А.И. и др. Технология и оборудование сварки плавлением. М.:Машиностроение, 1977 г. - 432 с.

2.      Патон Б.Е. Технология электрической сварки металлов и сплавов плавлением. М.: Машиностроение. 1974 г. - 767 с.

.        Оботуров В.И. Дуговая сварка в защитных газах. М.: Стройиздат. 1989 г. - 250 с .

.        Оборудование для дуговой сварки. Справочное пособие. Под редакцией В.В. Смирнова, Л.:Энергоатомиздат. 1986 г. - 656 с.

.        Прох Л.Ц. и др. Справочник по сварочному оборудованию. Киев: Техника. 1983 г. -208 с.

.        Сварка в машиностроении. Справочник. М.:Машиностроение т.1,2 1978 г.; т.3,4 1979 г.

.        Лекции по курсу «Сварка плавлением».