Материал: Технологічні основи електроніки розрахунок дифузійного діоду

Внимание! Если размещение файла нарушает Ваши авторские права, то обязательно сообщите нам

Біполярний транзистор є тришаровоюнапівпровідникову структуру з чергуються типом електропровідностішарів і містить два pn переходу. Залежно від різних верствіснують транзистори типів pnp і npn (малюнок 5). Їх умовнепозначення на електронних схемах показано на тому ж малюнки. УЯк вихідний матеріал для отримання тришаровою структуривикористовують германій та кремній.

Тришарова транзисторна структура створюється за Сплавний абодифузійного технології, за якою виконується і двошароваструктура провідникових діодів. Тришарова транзисторна структуратипу pnp, виконана за Сплавний технології Пластинанапівпровідника n-типу є підставою, базою конструкції. Двазовнішніх p-шару створюються в результаті дифузії в них акцепторнійдомішки при сплавленого з відповідним матеріалом. Один з шарівназивається емітерним, а інший-колекторним. Так само називаються і p-n -переходи створювані цими шарами із шаром бази, а також зовнішнівисновки від цих верств.

Функція емітерного переходу - інжектірованіе (емітацію)носіїв заряду в базу, функція колекторного переходу - збірносіїв заряду, що пройшли через базовий шар. Щоб носії заряду,інжектіруемие емітером і проходить через базу, повніше збиралисяколектором, площа колекторного переходу.

У транзисторах типу npn функції всіх трьох шарів і їх назвиа налогічні, змінюється лише тип носіїв заряду, що проходить черезбази: у приладах типу p-n-p --це дірки, в приладах типу npn-це електрони

Напівпровідникова структура транзистора типів pnp і npn

Існують три способи включення транзистора: з загальною базою (ПРО), ззагальним емітером (ОЕ), і загальним колектором (ОК). Розходження в способахвключення залежить від того, який з висновків транзистора є загальнимдля вхідний і вихідний ланцюгів. У схемі ПРО загальною точкою вхідний івихідний ланцюгів є база, у схемі ОЕ-емітер, у схемі ОК --колектор. У силу того, що статичні характеристики транзистора в схемах ОЕабо ОК приблизно однакові, розглядаються характеристики тільки длядвох способів включення: ОБ або ОЕ.

2. Розрахунок дифузійного p-n переходу

.1 Завдання та вихідні дані

Завдання до курсового проекту даються у двох напрямах:

         отримання випрямляючих p-n-переходів дифузійним методом;

         технологія виготовлення напівпровідникових приладів.

Вихідні дані до виконання курсового проекту представлені в таблиці 2.1.

Таблиця 2.1 - Вихідні дані

Елемент

Джерело дифузанта

Спосіб дифузії

Параметри і особливості дифузії

В

Борний ангідрид В2О3 Тпп=600 0С

У кварцовому або керамічному кон-тейнері, на повітрі

Зміна температури кремнію в ряду 700¸1300 0С призво-дить до зміни поверхневої концентрації в діапазоні 1018¸1021 см-3)


.2 Визначення коефіцієнту дифузії

Розрахуємо коефіцієнт дифузії за формулою:

,

де k - стала Больцмана; T - температура під час процесу дифузії.

Та спочатку визначимо температуру, при якій дифузія буде проходити з нормальною швидкістю. Вона становить Т=1200 °С, D0 = 10,5 см2/с, ΔEa = 3,66 еВ

За такої температури коефіцієнт дифузії дорівнює D = 2,05 10-12 см2

2.3 Визначення глибини залягання p-n-переходу


Поверхнева концентрація дифузанту за умовою складає 1021 см-3.

Для визначення розподілу домішки і глибини залягання р-п перехода застосуємо графічний метод. Знаючи  і, що дифузія йде з джерела, що не випробовувало виснаження, розподіл описується функцією доповнення до інтегралу похибок:

,(2.2)

де x - глибина проходження дифузії,

D - коефіцієнт дифузії, визначений у попередньому розділі,

t - час проведення дифузії (за умовою 2 год.).

Концентрація вихідної домішки  вибирається на 3-4 порядки менше ніж С0, тобто Св = 1016 см-3.

Занесемо отримані значення залежності в таблицю 2.2.

Таблиця 2.2 - Залежність концентрації домішки.

х, 10-4 см

С0, см-3

1

3.41E+20

2

1,53E+20

3

5,72E+19

4

1,74E+19

5

4,33E+18

6

8,75E+17

7

8

1,00E+16

9

1,99E+15


За даними таблиці 2.2 побудуємо графік, наведений на рисунку 2.1.

Рисунок 2.1 - Графік розподілу концентрації домішкових атомів у напівпровіднику від глибини залягання шару

Точка перетину розподілу (2.1) та графіку С(x)=Cb і буде значенням глибини залягання. Отже,

хi = 8,3 10-4 см,

Також можна розрахувати глибину залягання p-n перехода за наближеною формулою:

 ;(2.3)

За даною формулою маємо, що хi = 8,24 10-4 см.

.4 Визначення градієнта концентрацій

Градієнт концентрації характеризує „плавність" р-n переходу. Для erfc-розподілу він визначається диференціюванням функції розподілу по кординаті.

;(2.4)

Підставивши значення глибини залягання p-n-переходу маємо таке значення градієнта концентрації:

а = 3,72 1020 см-4;

Отже, маємо плавний p-n-перехід.

2.5 ВАХ для тонкого р-n переходу

Для розрахунку вольт-амперної характеристики отриманого перехода введемо кілька припущень:

-носії заряду рекомбінуютть тільки один з одним;

об`ємний заряд поза межами переходу дорівнює нулю;

перехід діє в області малих сигналів, тобто концентрацією неосновних носіїв можна знехтувати порівняно з концентрацією основних носіїв заряду;

вважатимемо область об`ємного заряду досить вузькою, а час прольоту в ній досить малим щоб нехтувати процесами генерації і рекомбінації в цій області;

задача є одномірною і стаціонарною.

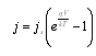
Як відомо загальна густина струму через перехід є сумою електронної й діркової складових.

j jp jn , (2.5)

Густина загального струму через перехід дорівнює сумі складових струмів:


де: Dp, Dn - коефіцієнт дифузії;

q -заряделектрона;

Lp, Ln - середня довжина вільного пробігу; V - напруга на переході;- стала Больцмана;- температура;

np, pn - концентрація неосновних носіїв заряду.

Розрахунок ВАХ проводиться при температурі Т=300 К. Концентрації np та pn визначаються з графіку Сх(х).

Якщо до переходу прикладена зворотна напруга. Яка значно перевищує то струм переходу досягає насичення, тобто в значному діапазоні не залежить від напруги. Цей струм називається струмом насичення:


де густина струму насичення:

Залежність густини струму від напруги представлена в таблиці 2.3.

Таблиця 2.3 - Залежність густини струму від напруги.

U, B

I, A

-0,4

-16,32

-0,3

-16,31

-0,3

-16,31

-0,2

-16,30

-0,1

-15,97

0,0

0,00E+00

0,1

7,61E+02

0,2

3,71E+04

0,3

1,77E+06

0,4

8,44E+07

0,5

4,03E+09

0,6

1,91E+11

0,7

9,15E+12

0,8

4,36E+14

0,9


За даними таблиці 2.3 побудуємо графік залежності густини струму від напруги (пряму та зворотну гілку). Результати нанесені на рисунках 2.2 - 2.3.

Рисунок 2.2 - Пряма гілка залежності густини струму від напруги

Рисунок 2.3 - Зворотна гілка залежності густини струму від напруги

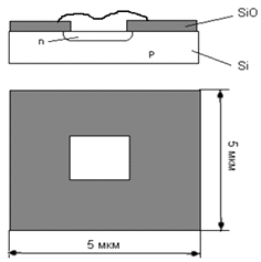
Для побудови ВАХ скористаємося наступною формулою I = jS. Розміри нашого кристалу складають 5*5 мкм. Отже, S = 25 10-8 см. Занесемо дані для побудови ВАХ в таблицю 2.4.

Таблиця 2.4 - Вихідні дані для побудови ВАХ.

U, B

j, A/cм2

-0,4

-4,08E-06

-0,3

-4,08E-06

-0,3

-4,08E-06

-0,2

-4,08E-06

-0,1

-3,99E-06

0

0,00E+00

0,1

1,90E-04

0,2

9,27E-03

0,3

4,42E-01

0,4

2,11E+01

0,5

1,01E+03

0,6

4,78E+04

0,7

2,29E+06

0,8

1,09E+08

0,9

5,20E+09


За даними таблиці 2.4 побудуємо ВАХ (пряму та зворотну гілку), яка зображена на рисунках 2.4. і 2.5.

Рисунок 2.4 - Пряма гілка ВАХ

Рисунок 2.5 - Зворотна гілка ВАХ

.6 Розрахунок топології

За допомогою прямої гілки ВАХ отримав значення потужності, що розсіюється. При значенні

Враховуючи це обираємо робочу точку наступним чином:

I=0,5 A,

U=0,83 B,

P=U∙I;=0,42 Вт;

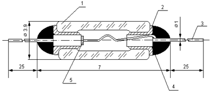
Кристал матиме планарну структуру. Загальний вид кристала представлений на рисунку 2.6.

Рисунок 2.6 - Загальний вид кристала

Для діодів з потужністю від 0,1 Вт до 1 Вт скляний корпус використовувати не можна через високий тепловий опір. В цьому випадку використовують металево скляний корпус.

На рисунку 2.7 зображена конструкція металево скляного корпусу, яка включає у себе два металевих тримача, скляну трубку та дві перехідні коварові втулки. Послідовність операцій створення корпусу полягає в попередньому виготовленні скляного балона корпусу, що являє собою з’єднання на основі метало скляних спаїв трубки зі скла С-49-2 та двох втулок зі сплаву 29НК. Металеві втулки служать для центрування тримачів та їх кріплення при кінцевій збірці корпусу приладів. Тримачі кристалу виводу представляють собою відрізки проволоки різного діаметру, з’єднані між собою ударною конденсаторною стиковою сваркою. Кінцеву герметизацію корпусу проводять пайкою в конверторній печі в атмосфері водню. В якості припою використовують ПОС-61 у вигляді штампованих кілець.

1 - скляний балон; 2 - коварова втулка; 3 - вивід; 4 - припой;

- напівпровідниковий кристал

Рисунок 2.7 - Загальний вид корпуса

Розглянуті металево скляні конструкції корпусів широко використовуються в серійному виробництві напівпровідникових приладів.

Позитивні риси корпусу:

-      більш висока потужність розсіювання ніж в скляних;

-        більш висока надійність спаю металу зі склом;

-        забезпечення достатнього тепловідвіду;

-        компактність;

-        відносна простота у виробництві;

-        дешевизна.

Негативні риси корпусу:

         наявність на заключному етапі зборки приладу процесу пайки з використанням флюсу (використання при пайці інертної атмосфери значно підвищує якість готових приладів).

3. Технологічний процес


Технологічний процес складається з наступних етапів:

) Вхідний контроль. Вхідному контролю піддають злитки напівпровідникового матеріалу . Найбільш розповсюдженими видами контролю є вимір типу електропровідності, питомого опору, часу життя і рухливості носіїв заряду, щільності дислокацій і інших структурних дефектів. На матеріалах, використовуваних для виготовлення світловипромінюючих приладів, контролюють квантову ефективність і довжину хвилі фотолюмінесценції.

2) Розрізання злитків на пластини. Відбувається алмазним диском з внутрішньою ріжучою кромкою, який полягає в наступному. На шпиндель станка кріплять алмазний диск. В середину пологого шпинделя розміщують держачь з приклеєним напівпровідниковим злитком. Перед початком весь злиток знаходиться в середині шпинделя і лише його торцева частина трішки виступає за кромку алмазного диска. Потім вмикають станок і починають переміщувати держачь в горизонтальному (чи вертикальному) напрямку, в деякий момент злиток торкається алмазного диска і починається процес різки. При повному відрізанні пластини від злитка держачь відводиться у вихідне положення і ви двигається із шпинделя на довжину, рівну товщині відрізаємої пластини. Після чого процес різки повторюється.

3) Шліфовка і поліровка пластин. Шліфування відбувається на твердих доводочних дисках-шліфувальниках абразивними мікро порошками. Зернистість мікро порошків для шліфування пластин беруть таку: при попередньому шліфуванні - від М14 до М10, а при кінцевому - від М7 до М5. це дасть можливість отримати 9-12-й клас чистоти обробки. Далі пластини піддають односторонній поліровці з використанням вільного абразиву. В результаті отримуємо поверхню пластин з чистотою обробки, яка відповідає 13-14 класу. Поліровка складається з декількох етапів:

а) попередня поліровка:

- на скляний диск наносять допоміжний порошок АСМ3 та кілька крапель масла для приладів:

обробку проводять на швидкості 30-40 об/хв.. - проводити на станку ШП-200.

б) проміжна обробка:

на скляний диск накласти м’який матеріал (велюр), змочений горячою водою або спиртом;

на поверхню велюру нанести алмазний порошок з маслом для приладів;

обробку проводити при 25-30 об/хв.; - проводити на станку ШП-200.

в) остаточна обробка:

матеріал -полірувальник - батист;

абразивний матеріал - оксид хрома, оксид кремнію, оксид цирконію; - частота обертання 80-90 об/хв.;

проводити на станку ШП-200.

) Знежирення. Знежирення проводиться за допомогою фреону-113 (CClF3), речовини з температурою кипіння 47,6˚С і густиною 1,57 г/м3. Він не горить, не токсичний, забезпечує високу ефективність очистки і дозволяє відмовитись від наступних операцій промивки в деіонізованій воді.

) Сушіння. Після промивки пластини сушать у термостаті або під інфрачервоною лампою при температурі 120 - 150 оС.

6) Фотолітографічна обробка. Фотолітографічна обробка захисної плівки - інша основна операція планарного процесу. На пластину наносять шар фоторезисту - фотоемульсії, експонують його через фотошаблон, що містить безліч ідентичних малюнків елементів активних структур приладів із заданою конфігурацією і розмірами, ультрафіолетовим світлом.

Нанесення фоторезисту відбувається за допомогою центрифуги. При цьому пластину розміщують в центрі платформи центрифуги, прижимають за допомогою вакуумного насосу і приводять разом з платформою до обертання при обертанні в центр пластини наносять дозовану кількість розчину фоторезисту. Центробіжні сили вирівнюють слой фоторезисту по поверхні. На рисунку 3.2 зображена технологічна операція процесу фотолітографії.

Рисунок 3.2 - Технологічна операція процесу фотолітографії

а) Обезжирення пластини;

б) Нанесення фоторезиста;

в) Сушіння (проводиться для повного видалення органічного розчінника при цьому температура і час сушіння повинні виключати можливість термічного задублювання фоторезисту);

г) Формування фотомаски. Скрите зображення фотомаски в слої фоторезисту досягається експонуванням фоторезисту через груповий фотошаблон. Експонування фоторезисту проводиться на спеціальній установці для суміщєння та експанування ЄМ-512;

д) Проявлення фоторезисту. Воно полягає в розчиненні незадублених ділянок в розчинах, на основі яких виготовлений фоторезист. Після чого проводять промивку пластин;

е) Задублювання фоторезиста;

ж) Травлення відкритих ділянок плівки;

з) Видалення плівки фоторезиста.

7) Дифузія. Дифузія легуючої домішки - третій основний етап планарного процесу. Вона служить для створення p-n-переходів, інших областей напівпровідникових приладів і інтегральних схем. Найбільше широко застосовується дифузійний метод створення p-n-переходу, оскільки він дає можливість виготовляти структури з контрольованими геометричними розмірами. Можливість чи уповільнення повного виключення дифузії домішки в ділянки кремнію, захищені шаром окислу, визначила вибір планарного процесу для масового виготовлення НП і ІМС. Процес дифузії удосконалений до такого ступеня, що стало можливим створення p-n-переходів, глибина яких контролюється з точністю до часток мікрометра.

Для прецизійного дозування кількості домішки, що вводиться в кристал, широко використовується процес іонної імплантації. У багатьох випадках цей метод дозволяє реалізувати структури, не доступні для реалізації методом дифузії. Тому що більшість НП і ІМС містять понад 2-3 різних p- і n-областей, то процеси окислювання, фотолітографії, іонній імплантації і дифузії повторюються багаторазово.

Дифузію будемо проводити, згідно завдання, в відкритій трубі.

Оскільки дифузант вже нанесено на пластину, обираємо однозонну піч.

Час дифузії оберемо 2 год. Температуру - 1200ºС.

Зовнішній вигляд установки для проведення дифузії наведено на рисунку 3.3.

- труба, для введення газа-носія; 2 - витяжна система на виході з труби; 3- нагрівач; 4 - керамічний контейнер; 5 - пластини

Рисунок 3.3 - Однозонна піч з керамічним контейнером

) Контроль. Після операції видалення фоторезисту фотошаблон передається для проведення ретельного контролю його якості, а в разі необхідності - для ретуші виправлення дефектів.

9) Скрайбування та розламування пластин на кристали. Ця операція проводиться за допомогою алмазного різця, яким наносяться риски або розділяючі канавки між готовими структурами. Піся цього пластини розломлюються на кристали за допомогою механічних напружень, які створюються валіком.

) Зборка і герметизація. Кристал напаюють на кристалоутримувач, здійснюють розводку -під'єднування електричних виводів до контактів бази, емітера і герметизують, поміщаючи в метало-скляний корпус серії КД-5.

11) Випробування приладів та контроль якості. Для оцінки параметрів і надійності приладів їх надсилають у відділ технічного контролю, де проводять електричні, радіаційні, кліматичні та механічні випробування. Вони важливі для правильної інформації про якість і надійність приладів. Крім цього кожна технологічна операція супроводжується контролем якості обробки, наприклад вимірюванням глибини дифузії, товщину епітоксіального шару чи питомого або поверхневого опору. Після того, як в структурі створені р-n-переходи, виробляють контроль електричних параметрів - напруги пробою, струму витоку, місткості.

) Пакування і збереження. Випробувані прилади упаковуються та зберігаються на складі до тих пір, доки вони не реалізуються. Важливо зазначити, що склад повинен відповідати певним умовам збереження продукції (не бути занадто вологим, брудним, тощо).

Висновки

В результаті виконання курсового проекту були вивчені методи і технологічні схеми виготовлення напівпровідникових приладів, монолітних і гібридних ІС; основні технологічні процеси, їх фізичні основи і методи розрахунку; принципи дії технологічного обладнання; математичний апарат, що застосовується при розробці і конструюванні технологічного процесу напівпровідникових приладів й ІС. Було проаналізовано технологічні процеси; виконано розрахунок параметрів напівпровідникових приладів й ІС з використанням ЕОМ; оцінювати отримані результати.

У даному курсовому проекті був розроблений випрямляючий, планарний, дифузійний діод, а саме розроблений технологічний маршрут, за ретроградними діаграмами обрана оптимальна густина дифузанту на поверхні зразка (C0=1016 см-3), отриманий розподіл густини домішки у емітерній області, розрахована глибина залягання ЕДП (xi = 8,3 мкм), густина струму насичення (js = А/см2),площа ЕДП(S=25∙10-8 см2), отримана залежність густини зворотного струму від прикладеної напруги, пряма гілка ВАХ діода, на прямій гілці ВАХ визначена робоча точка, та обраний корпус (метало-скляний) і розроблений технологічний маршрут.

Перевагами даного технологічного маршруту є:

-    простота технології та устаткування;

-        технологічність;

         поширеність та відносна дешевизна матеріалів;

         досить велика надійність;

         порівняно добра контрольованість параметрів та відтворюваність;

         можливість одночасного проведення дифузії для групи пластин;

         великий вихід гідних приладів;

         тепловідвід корпусу більше 100 мВт;

         значне здешевлення при багатосерійному виробництві.

Перелік посилань

дифузійний перехід напівпровідник атом

[1]     Словник з кібернетики / За редакцією академіка В. С. Михалевича. - 2-е. - Київ: Головна редакція Української Радянської Енциклопедії імені М. П. Бажана, 1989. - 751 с. - (С48). - 50000 прим. - ISBN 5-88500-008-5.

[2]     Велика радянська енциклопедія, В. І. Баранов.

[3]     Електронні прилади: Підручник для вузів / В. Н. Дулін, Н. А. Аваєв, В. П. Дьомін та ін; Під ред. Г. Г. Шишкіна. - М. : Вища школа, 1989. - 496 с.

[4]     Клейнер Е. Ю. Основи теорії електронних ламп. - М. , 1974.

[5]     Чернишов А. А. , Іванов В. І. , Галахов В. Д. та ін Діоди і тиристори / Під. заг. ред. А. А. Чернишова. - 2-е вид. , Перераб. і доп. - М. : Енергія, 1980. - 176 с. - (Масова радіобібліотека; Вип. 1005).

[6]     А. І. Лебедєв. Фізика напівпровідникових приладів. Фізматліт, 2008.

[7]     Пасинков В. В. , Чиркин Л. К. Напівпровідникові прилади: Підручник для вузів. - 4-е перероб. і доп. вид. - М. : Вища школа, 1987. - С. 184-188. - 479 с.

[8]     С. М. Зі. Фізика напівпровідникових приладів (у 2 книгах). М. , Мир, 1984, т. 2, с. 226-269.

[9]     В. В. Пасинков, Л. К. Чиркин Напівпровідникові прилади: Підручник для вузів - 4-е вид. - М. : Вища школа, 1987. - 478 с.

[10] Методичні вказівки до виконання курсового проекту з дисципліни "Технологічні основи електроніки" для студентів спеціальності 8.050801 "Мікро- та наноелектроніка" денної й заочної форм навчання / Укл.: В.М.Матюшин.- Запоріжжя: ЗНТУ, 2009 - 27 c.