Материал: Техническое обслуживание и ремонт клиновых задвижек

Внимание! Если размещение файла нарушает Ваши авторские права, то обязательно сообщите нам

Задвижки с цельным клином нашли широкое применение, так как их конструкция проста и, следовательно, имеет небольшую стоимость в изготовлении. Цельный клин представляет собой весьма жесткую конструкцию, достаточно надежен в рабочих условиях и может быть применен для перекрытия потоков при довольно больших перепадах давления на затворе.

Примером конструкции задвижки этого типа может служить задвижка с выдвижным или невыдвижным шпинделем.

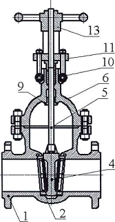
Задвижка на рисунке а состоит из литого корпуса, в который ввинчены уплотнительные седла. Как правило, их изготавливают из легированных, износостойких сталей. Вместе с корпусом отлиты, а затем механически обработаны направляющие для фиксации направления перемещения клина. Клин имеет две кольцевые уплотнительные поверхности и шарнирно через сферическую опору подвешен к шпинделю. Верхняя крышка соединяется с корпусом посредством болтов или шпилек. Для центровки крышки по отношению к корпусу в ней имеется кольцевой выступ, который входит в проточку корпуса. Уплотнение между крышкой и корпусом обеспечивается прокладкой, которая закладывается в проточку корпуса. Для предотвращения перекосов шпинделя в верхнюю часть крышки запрессовывается направляющая втулка.

 

Рисунок 1 - Полнопроходная задвижка с цельным клином: 1 - корпус; 2 - седло; 3 - направляющая движения клина; 4 - клин; 5 - шпиндель; 6 - верхняя крышка; 7 - шпилька; 8 - уплотнительная прокладка; 9 - направляющая втулка, 10 - сальник; 11 - нажимной фланец; 12 - бугель; 13 - ходовая гайка; 14-маховик.

Существует также конструкция задвижки с цельным клином, но с невыдвижным шпинделем, там ходовая гайка закреплена в верхней части затвора. В гайку ввинчен шпиндель, жестко соединенный с маховиком. Система винт - гайка служит для преобразования вращательного движения маховика (при открытии или закрытии задвижки) в поступательное движение затвора.

Задвижки с упругим клином. В них затвор представляет собой разрезанный клин, обе части которого связаны между собой упругим (пружинящим) элементом (упругим ребром), который позволяет уплотнительным поверхностям клина поворачиваться относительно друг друга на некоторый угол, что обеспечивает лучшее их прилегание к уплотнительным поверхностям седел. Эта особенность упругого клина исключает необходимость индивидуальной технологической подгонки уплотнения и уменьшает опасность заклинивания. Задвижки этого типа изготавливают как с выдвижным (см. рисунок 2), так и с не выдвижным шпинделем.

Конструкция затвора задвижек этого типа обеспечивает лучшее уплотнение прохода в закрытом положении без индивидуальной технологической подгонки. Под действием усилия прижатия, которое передается через шпиндель, в закрытом положении упругий элемент может изгибаться в пределах

Рисунок 2 - Задвижка с упругим клином и выдвижным шпинделем: 1 - корпус; 2 - седло; 3 - клин; 4 - шпиндель; 5 - ходовая гайка; 6 - маховик; 7 - упругие элементы; 8 - бугель.

Упругих деформаций, обеспечивая плотное прилегание обоих уплотнительных поверхностей клина и седел. В задвижках этого типа повышена надежность при высоких температурах (вследствие уменьшения опасности неравномерного теплового расширения, приводящего к заклиниванию затвора). Однако опасность заклинивания в закрытом положении полностью не устранена. Крупным недостатком задвижек этого типа является повышенный износ уплотнительных поверхностей клина и седел, так как они вступают во взаимный контакт значительно раньше, чем в задвижках с цельным клином.

.2 Объём работ при техническом обслуживании

Периодичность технического обслуживания.

При эксплуатации запорная арматура и обратные затворы подвергаются следующим видам обслуживания и ремонта:

-           обслуживание ТО 1;

-           сезонное обслуживание ТО 2;

-           текущий ремонт (ТР);

-           диагностическое обследование; средний ремонт (СР);

-           капитальный ремонт (КР); техническое освидетельствование.

Средний ремонт (СР) арматуры производится без демонтажа с трубопровода. Капитальный ремонт (КР) производится с демонтажем арматуры в условиях специализированного ремонтного предприятия.

Таблица 2 Сроки ТО, обследования и ремонта арматуры

Наименование арматуры

Т0 1, мес.

ТО 2, мес.

ТР, мес.

Диагностическое обследование, лет

СР, лет

КР, лет

Техническое Освидетельствование, лет

1. Запорная арматура DN 50-250

3

6

12

15

15

-

-

2. Запорная арматура DN 300-1200

1

6

12

15

15

30

30 или по истечении срока установленного предыдущим освидетельствованием


Типовой объём работ при техническом обслуживании (ТО 1) запорной арматуры.

В объеме технического обслуживания ТО 1 производятся следующие работы.

Для задвижек:

визуальная проверка герметичности относительно внешней среды, в том числе: фланцевого соединения (протечки не допускаются);

сальникового уплотнения (протечки не допускаются; в случае обнаружения протечек по сальниковому уплотнению, произвести обслуживание согласно ЭД завода изготовителя); проверка параллельности фланцев корпус-крышка; чистка наружных поверхностей, устранение подтеков;

контроль наличия смазки в редукторе электропривода (в соответствии ЭД электропривода);

проверка 100% степени открытия или закрытия задвижки по высоте шпинделя относительно базовых деталей корпуса;

визуальная проверка состояния электропривода и подводящих кабелей; проверка состояния и крепления клемм электродвигателя;

проверка крепления, герметичности защитного кожуха шпинделя арматуры;

сброс избыточного давления из корпуса задвижек при температуре окружающей среды свыше 30 °С.

чистка наружных поверхностей, устранение подтеков.

Контроль герметичности затвора шиберной задвижки производится через дренажный трубопровод или нагнетательный клапан и совмещается с проведением ТО.

Контроль герметичности затвора клиновых задвижек совмещается с проведением ТО Сведение о проведении Т01 заносятся в паспорт (формуляр).

Типовой объем работ при сезонном обслуживании (ТО 2) запорной арматуры

Техническое обслуживание ТО 2 проводится при подготовке к осенне-зимнему и весеннему периодам эксплуатации.

При техническом обслуживании ТО 2 проводятся все операции ТО 1, а также:

Для задвижек:

проверка (опробование) на полное открытие, закрытие затвора арматуры в местном режиме управления;

проверка срабатывания путевых выключателей, их ревизия; проверка настройки муфты ограничения крутящего момента;

проверка (опробование) на полное открытие, закрытие затвора арматуры в режиме телеуправления;

проверка резьбы шпинделя на отсутствие повреждений; проверка прямолинейности выдвижной части шпинделя;

удаление воды из подшиберного пространства через дренажный трубопровод шиберной задвижки;

проверка и слив конденсата из защитной стойки шпинделя.

Техническое обслуживание электропривода арматуры проводится согласно «Инструкции по эксплуатации и техническому обслуживанию электропривода».

Сведении о проведенном сезонном обслуживании Т02 заносятся в паспорт (формуляр).

Сезонное обслуживание (ТО 2) проводится при плановых остановках линейной части МН и на отключенных участках технологических нефтепроводов НПС.

2.3 Объём работ при ремонте задвижек

Типовой объем работ при текущем ремонте запорной арматуры

При текущем ремонте (ТР) запорной арматуры производятся все операции технического обслуживания ТО 1, ТО 2, а также:

проверка наличия смазки подшипникового узла шпинделя арматуры;

проверка сальникового уплотнения, нажимной втулки, устранение следов коррозии, задиров штока;

прогонка шпинделя по гайке на всю рабочую длину;

нанесение защитной смазки шпинделя арматуры;

набивка, замена сальникового уплотнения;

проверка и подтяжка контактных соединений электропривода, восстановление изоляции выходных концов проводов, проверка состояния уплотнителей, взрывозащиты подшипников электродвигателя, правильность посадки крыльчатки вентилятора электродвигателя;

проверка обтяжки фланцевого соединений разъема корпус-крышка.

Проверка обтяжки фланцевых соединений должна производиться гайковертами с контролем момента затяжки (динамометрические инструменты (ключи-мультипликаторы) одновременно не менее чем на двух взаимно противоположных шпильках с одинаковым усилием, соответствующим ЭД арматуры.

Перед обтяжкой фланцевого соединения (корпус-лрышки) клиновой задвижки необходимо приоткрыть клин во избежание повреждения резьбовой втулки. При текущем ремонте арматуры уплотнение шпинделя сальникового узла на основе асбеста заменяется на уплотнения из терморасширенного графита. При текущем ремонте арматуры DN 50-1200 прокладки фланцевых соединений патрубков арматуры на основе асбеста заменяются на прокладки из терморасширенного графита.

Сведения о проведенном текущем ремонте заносятся в паспорт (формуляр).

Текущий ремонт запорной арматуры и обратных затворов НПС проводится при плановых остановках линейной части МН и на отключенных участках технологических нефтепроводов НПС.

Типовой объем работ при среднем ремонте (СР) запорной арматуры

Перед проведением среднего ремонта производится диагностическое обследование запорной арматуры и обратных затворов. Объем диагностического обследования арматуры во время среднего ремонта в соответствии с требованиями РД-19.100.00-КТН-036-13.

При несоответствии показателей диагностического обследования арматуры характеристикам установленным в ТУ, ЭД, арматура подлежит вырезке и капитальному ремонту в условиях специализированного ремонтного предприятия.

В объем среднего ремонта запорной арматуры входит:

Все работы выполняемые при ТР, а также :

Ремонт с заменой дефектных деталей

Замена паранитовых прокладок между корпусом и крышкой на прокладки из терморасширенного графита;

Проверка на герметичность затвора и испытания перекачиваемым продуктом давлением Р= 1,1РN раб. в течении не менее 10 мин, для проверки герметичности уплотнений и соединений . При наличии подтеков и негерметичности - их устранить.

Замену электропривода для капитального ремонта на специализированном предприятии (при наступлении срока КР согласно инструкции завода - изготовителя или выявлении дефектов, неустранимых проведением ТО, текущего и среднего ремонта ), проводит ОГЭ.

Кроме того дополнительно для клиновых задвижек :

-демонтаж крышки, разборка, проверка технического состояния всех выемных деталей и, при наличии дефектов, их ремонт или замена;

зачистка и промывка посадочного паза затвора клиновых задвижек от механических примесей;

проверка состояния уплотнительных поверхностей корпуса, крышки, клина, их очистка и шлифовка;

проверка состояния направляющей клина;

замена подшипников бугельного узла;

замена уплотнительных элементов на прокладки из терморасширенного графита -замена ( при наличии ) системы автоматического сброса давления на отремонтированную и настроенную на сброс давления в корпусе при значении не более 1,1 PN

Капитальный ремонт запорной арматуры

Запорная арматура DN 300 и более подлежит демонтажу и капитальному ремонту, если в процессе эксплуатации или по результатам технического диагностирования обнаружены дефекты оборудования, не устраняемые текущим или средним ремонтом. Капитальный ремонт запорной арматуры и обратных клапанов DN от 50 до 250 не проводится.

Капитальный ремонт арматуры производится в условиях специализированного предприятия, имеющего разрешение на выполнение капитального ремонта арматуры по техническим условиям, согласованным Ростехнадзором и утвержденным ОАО АК Транснефть .

При капитальном ремонте запорной арматуры и обратных затворов в условиях Специализированного предприятия проводится полная разборка и дифектация всех деталей и узлов, восстановление их конструктивных параметров или замен пришедших в негодность в результате коррозии или чрезмерного механического износа деталей, восстановление антикоррозийного покрытия и окраски. Объем капитального ремонта в условиях специализированного предприятия определяется на основании составленной дефектной ведомости .

Клиновые задвижки DN от 500 до 1200 в процессе ремонта должны быть оборудованы системой автоматического сброса давления из корпуса.

Арматура, прошедшая капитальный ремонт, подвергается приемо-сдаточным испытаниям под надзором службы технического контроля предприятия. Испытания проводятся в соответствии с программой приемо-сдаточных испытаний арматуры разработанной заводом-изготовителем или специализированным ремонтным предприятием и утвержденной ОАО АК Транснефть.

Арматура после капитального ремонта и испытаний должны соответствовать классу герметичности затвора, указанному в паспорте завода-изготовителя .

Подготовка линейных задвижек и проверка их герметичности

До проведения основных работ по врезке должны быть проведены работы по промывке внутренней полости клиновых задвижек и проверке герметичности их затворов. Промывка производится с целью освобождения посадочного паза клина в корпусе задвижки от возможного скопления посторонних предметов и грязи.

Работы по промывке и проверке герметичности затворов выполняются по заранее разработанному плану мероприятий, являющегося частью Плана производства работ по врезке. В состав плана мероприятий входят:

-           составление схемы порядка промывки и проверки герметичности затвора задвижек;

-           определение сил и средств для выполнения работ;

-           подготовка персонала и технических средств;

-           подготовка и обеспечение связи между исполнителем и диспетчером.

Порядок промывки задвижек

Промывка внутренней полости клиновых задвижек производится за счет увеличения скорости потока перекачиваемой нефти при уменьшении площади проходного сечения и создании перепада давления до и после затвора задвижки путем ее прикрытия.

Промывка клиновых задвижек должна проводиться в следующем порядке:

-           разработка режима работы нефтепровода, при котором будет осуществляться промывка задвижек;

-           оформление наряда-допуска на промывку задвижек;

-           согласование с диспетчерской службой РНУ (УМН), ОАО МН порядка проведения работ;

-           организация обеспечения устойчивой связи между производителем работ и диспетчером;

установка манометров (не ниже первого класса точности) до и после проверяемых задвижек по ходу нефти в соответствии с приведенной схемой.

Обеспечение расчетного режима работы нефтепровода, при котором после прикрытия затвора промываемой задвижки на 65-80% скорость нефти будет не менее 1,5 м/с, при этом давление на выкиде предыдущей насосной станции (Pi) после прикрытия затвора должно быть не менее чем на 0,5 МПа ниже максимального допустимого давления в трубопроводе и не менее чем на 0,3 МПа выше минимально допустимого давления на приеме последующей насосной станции (Р2).

Управление задвижкой должно производиться в режиме местного управления в следующем порядке:

-     прикрыть с помощью электропривода задвижку до 50 % хода затвора;

-           по истечении 3 мин после остановки электропривода проверить величину изменения давления по манометрам, установленным до и после задвижки с записью показаний манометров в журнал;

-           произвести прикрытие задвижки ступенчато, с 5 %-ной величиной перемещения клина на закрытие при постоянном контроле и фиксации изменения перепада давления;

-           после выполнения прикрытия задвижки на 60 % дальнейшую операцию проводить вручную.

Промывка полости задвижки осуществляется при достижении перепада до и после клина ДР=0,2 МПа в течении не менее 30 мин и скорости потока не менее 1,5 м/с при постоянном контроле показаний манометров. По истечении указанного срока задвижку следует открыть и приступить к промывке другой задвижки.

Промывка полости шиберных задвижек должна проводиться согласно инструкции по их эксплуатации. При этом создание перепада давления не требуется.

Порядок проверки герметичности задвижек

Проверка герметичности задвижек осуществляется путем контроля изменения давления в отключенной части нефтепровода после его остановки.

После остановки нефтепровода и закрытия отсекающих задвижек проводятся мероприятия по снижению статического давления на отсеченном участке.

Изменение давления на отсеченном участке контролируется по манометрам не менее 30 мин. При контроле герметичности задвижек могут использоваться акустические приборы для прослушивания возможных протечек. Изменение давления (за 30 мин на 0,2МПа и более), фиксирование шума протечек нефти через затвор, а также продолжающееся поступление нефти, через вантуз, при снижении давления на отсеченном участке свидетельствуют о негерметичности затвора проверяемой задвижки.

Объем протечек через затвор задвижки определяется путем замера поступающей в емкость нефти через вантуз. При протечке величиной 6 м3 /ч необходимо произвести замену негерметичной задвижки или работы по врезке совместить с заменой задвижки.

2.4 Описание технологического процесса

Частичная разборка задвижки с целью ремонта, замены шпинделя или клина производится без демонтажа задвижки с трубопровода при отсутствии давления рабочей среды. Разборку производить в следующем порядке :

-       установите клин в верхнее положение ОТКРЫТО и снимите кожух и указатель ( для электропривода ОАО Тулаэлектропривод);

-       установите клин в среднее положение, опустив его на 3/ 4 полного хода, если задвижка находится в положении ОТКРЫТО или подняв его на ¼ полного хода, если задвижка находится в положении ЗАКРЫТО ;

-       снять электропривод;

-           выверните на 2-3 оборота < воздушную> пробку и убедится в отсутствии давления среды в трубопроводе;

-           снимите крепеж крышки;

-           поднимите узел <крышка, стойка, шпиндель,клин>до выхода из корпуса. Отведите узел <крышка, стойка, шпиндель, клин> в сторону и установите клин в вертикальном положении на подкладках;

-           выведите головку шпинделя из сопряжения с верхним пазом клина, после чего узел <крышка, стойка, шпиндель> установите в горизонтальном положении на подкладках. При необходимости снятый узел можно полностью разобрать .

После осмотра и ремонта деталей и узлов соберите задвижку в следующем порядке:

-       смажьте и уложите кольцо уплотнительное в проточку на торце корпуса;

-       застропите крышку в сборе со шпинделем и стойкой в вертикальном положении, осторожно введите головку шпинделя в соответствующий паз клина и опустите собранный узел в полость корпуса. Узел опускайте медленно, направляя клин по направляющим между патрубками корпуса. Клин необходимо установить в прежней ориентации относительно патрубков корпуса;

-       установите крепеж крышки и равномерно его затяните крутящим моментом по диаметрально-перекрестной схеме:

Мкр.=(70±7) кгс. м -для DN 500;

Мкр =(120±12) кгс. м - для DN 600;

Мкр =(140±14) кгс. м - для DN 700,800;

Мкр. =(190±19) кгс. м - для DN 1000,1200;

Дальше монтаж электропривода задвижки и проверка работоспособности задвижки.

Полная разборка задвижки для ремонта узла уплотнения производится только после демонтажа задвижки с трубопровода.

После сборки задвижку необходимо опрессовать давлением Рn =12,0 МПа при открытом затворе в соответствии с правилами, действующими на эксплуатируемом объекте Количество опрессовок пробным давлением - не более 10 за полный назначенный срок службы корпусных деталей.

.5 Износ деталей и методы восстановления

Требующую ремонт арматуру демонтируют, промывают и в собранном виде отправляют на ремонтное предприятие. Здесь ее разбирают и устанавливают дефекты. Наиболее распространенными причинами выхода запорной арматуры из строя является нарушение герметичности вследствие коррозии, забоин, вмятин инородных тел на уплотняющих поверхностях, а также деформации корпуса задвижки под действием внешних нагрузок и температурных деформаций .

Внутренняя полость корпуса осматривается для выявления раковин, трещин и других дефектов. Несквозные дефектные места в корпусе разделывают на всю глубину до чистого металла. Перед разделкой трещин на их концах сверлят отверстия диаметром 8-10 мм. Кромки, прилегающие к местам вырубки, зачищаются напильником и металлической щеткой. После протравливания 10% раствором азотной кислоты трещины завариваются электродуговой сваркой и термически обрабатываются.

При осмотре деталей затвора проверяют плотность запрессовки уплотнительного кольца (седла) в корпусе и чистота его поверхности. На наличие забоин, задиров, царапин и других повреждений проверяются затвор (шибер, диски), шпиндель, втулка, полости сальниковой коробки, грунд букса и крепёжные детали. Поврежденные детали выбраковываются и восстанавливаются.

Различные раковины, каверны, задиры и другие повреждения уплотнительных поверхностей устраняются путём обточки, шлифовки и притирки на станке. На уплотнительный поверхности дефекты глубиной более 0,5 мм устраняются предварительной разделкой дефектного места и наплавкой на него металла с последующей обработкой . Если глубина повреждений менее 0,5 мм , то проводится шлифовка абразивным кругом и притирка.

Не плотности между корпусом и седлом устраняются в зависимости от типа крепления. Если седло закреплено в корпусе запрессовкой, то оно вытачивается из корпуса и заменяется новым, которое приваривается к корпусу с предварительной разделкой места посадки.

Если седло посажено на резьбе, то его вывинчивают с помощью специальных ключей и приспособлений. При наличии нормально сохранившейся резьбы ввертывается новое седло тем же приспособлением, но с большим усилием затяжки.

Если резьба под седло имеет значительный износ, то оно растачивается на больший размер с одновременной расточкой под сварку.

На это место запрессовывается и приваривается новое кольцо. Если кольца вварены в задвижку, то проточка их осуществляется на токарном станке в специальном приспособлении, где за одну установку протачиваются обе поверхности.

После этого корпус задвижки поступает на шлифовку и притирку колец. Обе стороны клина в этом случае наплавляются и протачиваются в приспособлении за одну установку. Подгонка клина осуществляется по корпусу задвижки на горизонтально - заточном и притирочном станках.

Обработка уплотнительных колец клиновых задвижек может проводиться не только на токарном, но и горизонтально - расточном станке.

Перед ремонтом шпиндель очищают от следов старой сальниковой набивки, нагара и грязи, промывают в керосине или бензине. Уплотнительная поверхность шпинделя должна быть зеркально гладкой.

Не глубокие вмятины и задиры, глубиной более 0,08 - 0,15 мм устраняются притиркой пастой ЕОИ или шлифовальными порошками, разведенными в масле.

Внутренняя поверхность деталей, сопрягаемых со шпинделем, так же проверяется на чистоту и отсутствие овальности. Одно из трудоёмких операций при ремонте арматуры является притирка уплотнительных поверхностей. Притирка плоских деталей арматуры (седла, клинья) осуществляется на плите.

Притирка может осуществляться как вручную, так и механическим способом. Конструкция притиров выбирается в зависимости от формы притираемых поверхностей и величины условного прохода.

При механической притирке уплотняющих поверхностей используются притирочные станки или приспособление к сверлильным станкам.

Притирочные станки имеют возвратно - вращательное движении притира с опережающим его вращением в одном направлении. В притирочную пасту вводится электрокорунд или карбид кремния различной зернистости. Притирку проводят до светло - матового цвета уплотнительных поверхностей.

Применяемой на практике способ проверки «на карандаш» заключается в том, что на подготовленных поверхностях плашек, клина или пробки( для кранов) наносят тонкие поперечные риски. Если после сопряжения притираемых поверхностей и их взаимного перемещения риски везде окажутся стёртыми, то считают, что достигнута хорошая притирка.

После замены прокладки и сальниковой набивки собранная задвижка поступает на испытания готовой продукции.

3. Используемое оборудование, инструменты, приборы и приспособление

Грузоподъемный механизм. Стропы грузовые текстильные СТП-2,0 Грузоподъемностью 2т L 2м. Универсальный инструмент. Ключ-мультипликатор. Штангенциркуль. Микрометр. Рулетка. Кувалда. Технологические приспособления. Тара.

Меры безопасности при выполнении подготовительных и  основных ремонтных работ

К выполнению работ по ремонту арматуры должен допускаться только квалифицированный персонал, знающий их конструкцию, прошедший обучение и аттестацию в НУЦ по Программе подготовки специалистов и слесарей-ремонтников.

Руководители и специалисты, участвующие в производстве ремонтных работ, должны пройти аттестацию и проверку знаний в области промышленной безопасности и охраны труда в соответствии с Положением о порядке подготовки и аттестации работников организации, осуществляющих деятельность в области промышленной безопасности опасных производственных объектов подконтрольных Ростехнадзору.

Оформление производства работ и движение техники в охранной зоне МН должно проводиться в соответствии с Регламентом Организация производства ремонтных и строительных работ на объектах магистральных нефтепроводов.

При нарушении ремонтным подразделением мероприятий, указанных в разрешении на производство работ, наряде-допуске и требований настоящего регламента, работы должны быть немедленно остановлены.

Персонал, участвующий в подготовке и проведении ремонтных работ, должен пройти инструктаж по охране труда с записью в наряде-допуске.

Нахождение персонала, не занятого непосредственным выполнением операций ремонта ближе 50 м от места производства работ не допускается.

На месте проведения ремонтных работ должна находится нормативная и своевременно заполняться оперативная и исполнительная документация. Работы по ремонту агрегатных задвижек должны проводиться с оформлением наряда-допуска на газоопасные работы. При производстве работ должен быть организован контроль воздушной среды на загазованность.

Наряды-допуски должны быть оформлены в соответствии с «Регламентом организации огневых, газоопасных и других работ повышенной опасности на взрывопожароопасных и пожароопасных объектах предприятий системы ОАО «АК «Транснефть» и оформления нарядов - допусков на их подготовку и проведение».

Используемый инструмент и приспособления должны эксплуатироваться в соответствие с Правилами безопасности при работе с инструментом и приспособлениями, заводскими инструкциями по эксплуатации.

При производстве работ все технические средства, не используемые в работе, должны находиться за пределами зоны производства работ, на расстоянии не менее 100 м.

Грузоподъемные работы по монтажу и демонтажу электроприводов, поддержке и удалению деталей выполнять с помощью грузоподъемных механизмов в соответствии с Правилами устройства и безопасной эксплуатации грузоподъемных кранов.

Осветительное, насосное оборудование, газоанализаторы для контроля воздушной среды должны иметь взрывозащищенное исполнение. На электрооборудовании должен быть указан уровень взрывозащиты, при отсутствии знаков взрывозащиты - его использование запрещается.

Все применяемое электрооборудование и электроинструменты должны иметь заземление и подлежат занулению отдельной жилой кабеля с сечением жилы не менее сечения рабочих жил.

Сбор технологических остатков нефти, остатков керосина (солярки) после промывки внутренней полости стойки и крышки ремонтной задвижки производится в специальный металлический поддон с дальнейшей утилизацией. Сбор использованного обтирочного материала, загрязненного маслами и проч., твердые бытовых отходов в ходе работ производится в специальные металлические контейнеры с дальнейшей утилизацией. В зоне проведения работ по выпуску газовоздушной смеси не должны находиться люди и технические средства, не связанные с выполнением данной работы.

При выполнении работ в ночное время необходимо обеспечить освещение рабочего места.

Контроль воздушной среды проводится до и после выполнения всех подготовительных мероприятий, предусмотренных нарядом-допуском.

Первичный контроль воздушной среды должен проводиться в присутствии лиц, ответственных за подготовку и проведение работ, текущие замеры - в присутствии ответственного за проведение работ.

После вскрытия полости задвижки и поднятия крышки, следующая ремонтная операция проводится только после проведения естественного вентилирования в течение 15 минут и повторного замера загазованности.

После демонтажа выемных частей задвижки, следующая ремонтная операция проводится только после проведения естественного вентилирования в течении 15 минут и повторного замера загазованности, выполняемого не менее чем в двух точках непосредственно над разъемом на высоте не более 40 см от его плоскости.

Работы по ремонту проводятся, если концентрация углеводородов в воздухе непревышает ПДК (300 мг/м). Область зоны, работы в которой после вскрытия полости задвижки выполняются персоналом без применения специальных защитных средств ограничивается расстоянием не ближе 40 см к плоскости разъема по всей его площади.

4. Экологическая часть

АК «Транснефть» занимается приемом, хранением и транспортировкой нефти. Основными структурными подразделениями являются:

-           линейные части магистральных нефтепроводов;

-           резервуарные парки;

-           железнодорожные сливо-наливные эстакады;

-           установки подогрева нефти;

-           нефтеловушки.

Кроме этого, в состав ОАО входят подразделения инженерно-технического обеспечения (ремонтно-механические, ремонтно-строительные, деревообрабатывающие предприятия и участки, очистные сооружения, автотранспортные и теплоэнергетические хозяйства и т.п.), административно-хозяйственные и жилищно-бытовые службы, объекты соцкультбыта.

Исходя из вышеприведенных данных, на объектах ОАО в процессе хозяйственной и иной деятельности образуется достаточно широкая номенклатура отходов производства и потребления, причем значительная часть из них (по номенклатуре) образуется в процессе работы вспомогательных служб и жизнедеятельности обслуживающего персонала.

К отходам основной деятельности ОАО - транспортирование нефти, относятся нефтешламы от очистки трубопроводов и их узлов, насосных перекачивающих станций и резервуаров для хранения нефти, нефтесодержащие осадки различных узлов очистных сооружений, отходы от изоляции трубопроводов, грунты, загрязненные нефтью.

К отходам иных видов деятельности относятся преимущественно отходы производственного потребления: отработанные нефтепродукты (групп МИО, ММО, СНО), аккумуляторные батареи, СОЖ, обтирочные материалы, промасленные фильтры, активированные угли, огарки сварочных электродов, изношенные шины, тормозные накладки, лом абразивных изделий, лом металлов и т.д.

Несколько обособленно можно отметить некоторые специфические отходы, образующиеся при ликвидации аварий на нефтепроводах - отработанные сорбенты и их смеси с грунтом, изоляционные и прокладочные материалы; а также пески и грунты, пропитанные нефтью.

По природе своего происхождения образующиеся отходы условно можно разделить на три группы:

При необходимости выполнения ремонтных операций в зоне, приближенной к открытому разъему задвижки, менее чем 40 см, работы проводятся с применением средств индивидуальной защиты органов дыхания (СИЗОД) - противогазов шланговых.

При необходимости контроля воздушной среды в темное время суток, неблагоприятных погодных условиях, ухудшающих рассеивание паров и газов, а также в условиях недостаточной видимости (туман, снегопад, сильный дождь и др.) лицо, проводящее анализ воздуха, должно иметь при себе взрывобезопасный ручной светильник напряжением, не более 12 В и иметь наблюдающего (дублера).

Работники, занятые на работах по среднему ремонту задвижек должны быть обеспечены спецодеждой, спецобувью и другими средствами защиты, согласно Типовым отраслевым нормам бесплатной выдачи одежды, спецобуви и других средств индивидуальной защиты.

Применяемые спецодежда, спецобувь и другие СИЗ, должны иметь сертификаты соответствия.

Для защиты головы работника от механических повреждений, воды, повреждения электрическим током должны применяться каски. С целью выявления дефектов, каски подлежат ежедневному осмотру в течение всего срока эксплуатации. Каски не подлежат ремонту, отходы, образующиеся преимущественно при строительстве, реконструкции и капремонте объектов магистральных нефтепроводов;

отходы, образующиеся преимущественно при эксплуатации объектов магистральных нефтепроводов;

отходы, образующиеся при авариях и их ликвидации.

Такое группирование отходов целесообразно осуществлять при разработке Проектов нормативов образования и лимитов на размещение отходов для конкретных подразделений

ОАО «АК'Транснефть». Номенклатура отходов при этом уточняется и конкретизируется исходя из условий и объемов их образования, сбора, использования и размещения.

Общее количество наименований учитываемых отходов составляет для первых двух групп 30 и 44 пункта, соответственно.

Номенклатуру отходов, образующихся при авариях и их ликвидации, регламентировать практически невозможно, и она определяется в индивидуальном порядке в каждой конкретной аварийной ситуации.

Перечень отходов, образующихся на производственных объектах ОАО «АК «Транснефть»

Перечень отходов производства и потребления, образующихся при эксплуатации, строительстве и капитальном ремонте объектов магистральных нефтепроводов ОАО «АК «Транснефть», разработан в соответствии с Федеральным классификационным каталогом отходов (ФКК), утвержденным приказом Госкомэкологии России от 27.11.97 № 527 и зарегистрированным в Минюсте России 29.12.97, регистрационный № 1445.

Перечень отходов производства и потребления, образующихся при строительстве (реконструкции и техперевооружении), капитальном ремонте и эксплуатации объектов магистральных нефтепроводов разработан в соответствии с действующими в ОАО «АК «Транснефть» технологическими регламентами на все производственные процессы, осуществляемые в производственных подразделениях, а также паспортами отходов и инструкциями по обращению с отходами на предприятии. Перечень отходов имеет отраслевую направленность.

Количество видов отходов, образующихся во всех структурных подразделениях ОАО «АК «Транснефть», в перечне представлено отдельно для различных производственных условий, а именно для строительства, эксплуатации и аварийных ситуаций.

Перечень включает виды отходов, специфичные для отрасли, а именно:

-           нефтешламы от зачистки резервуаров;

-           нефтешламы от нефтеловушек; нефтешламы от очистки нефтепроводов (нефтешламы на камерах пуска-приема скребка);

-           нефтешламы (осадок от фильтров-грязеуловителей);

-           снятый грунт, загрязненный нефтепродуктами - нефтезагрязненный грунт после аварийных и иных разливов нефти;

-           песок замасленный, сорбенты нефтезагрязненный;

-           отходы прокладочных и изоляционных материалов, твердые (отработанная изоляционная пленка при ремонте трубопроводов).

Перечень также включает виды отходов, неспецифичные для отрасли, в том числе отходы вспомогательного производства и отходы потребления.

Количество видов отходов, включаемых в перечни отходов производственных объектов ОАО «АК «Транснефть» при разработке Проектов НОЛРО, может не совпадать со сводным перечнем (как в сторону увеличения, так и в сторону уменьшения), в зависимости от следующих причин: типа производственного объекта (нефтеперекачивающая станция, линейно-производственная диспетчерская станция, нефтепроводное управление, ремонтно-строительное управление, нефтебаза и т. п.), состава структурных подразделений;

особенностей эксплуатации, реконструкции и техперевооружения производственных объектов МН;

совершенствования технологии производства, перехода на малоотходные и безотходные технологии;

требований территориальных органов инвентаризации источников образования отходов.

Заключение

Нефтяные компании являются ключевым элементом энергетической отрасли Российской Федерации. Основными направлениями деятельности компаний является коммерческая деятельность, связанная с надежной, экономически выгодной и безопасной эксплуатации нефтеналивного терминала, любого вида, и его нефтебазы. Обеспечивая конечные результаты своей деятельности, они должны считать своим высшим неизменным приоритетом охрану окружающей среды, и тем самым обеспечивать высокий уровень экологической безопасности производственных объектов.

Для соблюдения этих принципов нефтяные компании должны обеспечивать свою деятельность с учетом:

·   Использования технологий, обеспечивающих экономное расходование сырья, материалов и энергоносителей;

·   Использования лучших имеющихся экологически безопасных технологий;

·   Уменьшения риска возникновения аварийных ситуаций на основе полномасштабной внутритрубной диагностики магистральных трубопроводов;

·   Повышение образовательного и профессионального уровня, экологической культуры персонала нефтяных компаний;

·   Постоянного улучшения имиджа, основанного на доверии международных экологических организаций, партнеров, клиентов и населения, где осуществляют свою деятельность компаний.

Соблюдение данных положений считается залогом обеспечения экологической безопасности своей деятельности и оптимального экологических интересов с социально-экономическими потребностями общества в целях содействия устойчивому развитию Российской Федерации.

Список используемой литературы

1. Пожароопасных и пожароопасных объектах предприятий системы ОАО «АК «Транснефть» и оформления нарядов-допусков на их подготовку и проведение.

. РД 75.200.00 КТН-037-13. Руководство по техническому обслуживанию и ремонту оборудования и сооружений нефтеперекачивающих станций,ОАО Регламент организации огневых, газоопасных и других работ повышенной опсности на взрывоп «АК «Транснефть», 2013г. С изменением №1 от 25.11.13г.

. РД 10.110.00-КТН-319.09. С изменением №3 от 27.11.13г Правила безопасности при эксплуатации магистральных нефтепроводов, - ОАО «АК «Транснефть», 2009г. С изменением №3 от 27.11.13г

. РД -13.200.00 - КТН - 116-14. Магистральный трубопроводный транспорт нефти и нефтепродуктов. Учебно-информационные плакаты по безопасному производству работ.

. В.И. Захаров, А.Е. Лащинин, В.И. Рябухин, Т.Д. Климович, Л.И.Зуев «Оператор НПС магистрального нефтепровода», Тюмень 2005 г.

. В.Е. Петров «Машинист технологических насосов на нефтеперекачивающих станциях»

. Федеральный закон. О промышленной безопасности опасных производственных объектов. - М., 21 июля 1997г. №116-ФЗ.

. Федеральный закон. Об основах охраны труда в Российской Федерации. - М., 17 июля 1999г. № 181-ФЗ.

. ОР - 13.020.00 - КТН - 011-07 Система экологического менеджмента АК «Транснефть» Регламент СЭМ экологическая политика.

. Собурь С.В. Пожарная безопасность организаций нефтегазохимического комплекса: Часть 1. Издание 2011г.