Материал: Составление бизнес-плана развития снижения себестоимости стали к кислородно-конвертерном производстве

Внимание! Если размещение файла нарушает Ваши авторские права, то обязательно сообщите нам

На третьем этапе на основании собранной информации рассматриваются показатели эффективности проектного предложения по данному предприятию. Бизнес-планы оформляются в виде текстового, табличного и графического материала[6, С.25].

По сравнению с другими видами планов бизнес-план обладает двумя специфическими особенностями. Во-первых, для доказательства выгодности того или иного проекта он должен быть привлекательным, наглядно демонстрировать всем заинтересованным лицам преимущества, которые они могут получить, приняв участие в его реализации.

Во-вторых, бизнес-план составляется в нескольких вариантах. Главный и наиболее полный предназначен для внутреннего пользования (внутренний или рабочий), а на его основании уже разрабатываются варианты с учетом различных видов пользователей (внешний или официальный). Это вполне понятно, ибо каждого из них интересуют только те моменты, которые создают гарантии соблюдения его интересов [7, С.102].

Бизнес-планы <#"878865.files/image001.gif">

Рисунок 2.1 Производство извести в Российской Федерации

Наибольшее количество извести производится в Центральном федеральном округе России.

Применение извести в металлургической отрасли: это основные потребители негашеной извести. Данные предприятия, как правило, обеспечивают себя известью самостоятельно в силу особенностей технологического процесса (см. рисунок 2.2). В металлургии предъявляются очень высокие требования к качеству извести. Несколько дней хранения обожженного продукта могут снизить активность извести ниже уровня, необходимого при выплавке стали.

Рисунок 2.2 - Потребление извести в РФ в зимний период за 2010-2011 гг.

Прослеживается тенденция увеличения потребления извести в России.

Известь в сталеплавильном производстве: известь используется в кислородно-конвертерном производстве (см. рисунок 2.3). Там она способствует образованию шлака. Добывают известняк на известково-доломитовом производстве в с. Агаповка на расстоянии 6 км. от ОАО «ММК».

Рисунок 2.3 - Состав конвертерной плавки

В современном устройстве конвертера можно увидеть образующие конвертерной плавки. В ее состав входит известь.

Устройство кислородного конвертера: Кислородный конвертер представляет собой поворачивающийся на цапфах сосуд грушевидной формы, футерованный изнутри и снабженный леткой для выпуска стали и отверстием сверху для ввода в полость конвертера кислородной фурмы, отвода газов, заливки чугуна, загрузки лома и шлакообразующих и слива шлака. Емкость существующих конвертеров составляет 10-450 т. Форма конвертера: в конфигурации кожуха и внутреннего рабочего объема конвертера можно выделить три части: суживающуюся верхнюю часть (горловину), цилиндрическую часть и днище, которое может быть либо сферическим, либо иметь суживающуюся часть, к которой примыкает днище.Размеры конвертера: Они влияют на многие показатели процесса и должны, прежде всего, обеспечивать продувку без выбросов металла через горловину, поскольку выбросы уменьшают выход годной стали и требуют периодических остановок конвертера для удаления настыла металла с горловины и входной части котла-утилизатора. Устройство кислородного конвертера можно увидеть на рисунке 2.3.

Устройство вращающейся печи для обжига извести: Вращающаяся печь представляет собой футерованный изнутри вращающийся стальной цилиндрический барабан, установленный наклонно (3-4%) на роликовых опорах.

Вращающаяся печь с теплообменными устройствами внутри корпуса состоит из следующих основных конструктивных элементов: корпуса с внутренними теплообменными устройствами, роликовых опор, привода, головки и пылеоседательной камеры.

Корпус печи представляет собой сваренный из секций полый стальной барабан диаметром от 2,2 до 7 м и толщиной до 30 м. На корпусе закреплены бандажи, опирающиеся на роликовые опоры. Корпус печи фиксируется в определенном положении на роликовых опорах системой гидравлических упорных роликов.

Для повышения жесткости корпуса его толщину под бандажами и приводной шестерней увеличивают в 2-3 раза. Применявшиеся с этой целью прежде кольца жесткости не оправдали себя на практике и в печах последних конструкций отсутствуют.

Корпус печи имеет наклон 3-4% к горизонту и вращается со скоростью 0,5-1,5 об/мин от электродвигателя, соединенного с корпусом через редуктор, подвенцовую и венцовую шестерни. С увеличением диаметра корпуса увеличивается радиальное усилие, передаваемое подвенцовой шестерней. Поэтому печи большой мощности снабжены двусторонним приводом с одной венцовой и двумя подвенцовыми шестернями.

Остановка печи в любом положении осуществляется электромагнитным фрикционным тормозом, зажимающим приводной вал при срабатывании электромагнита.

Печь снабжена резервным (вспомогательным) приводом небольшой мощности, позволяющим вращать её корпус со скоростью 4 об/мин в период пуска и при ремонтных работах.

Концевая обечайка разгрузочной части корпуса современных мощных печей охлаждается холодным воздухом, нагнетаемым вентилятором между ней и дополнительной конической обечайкой.

Корпус печи оборудован люками для производства ремонтных работ и пробоотборниками.

Корпус печи загрузочным концом входит в пылеоседательную камеру, разгрузочным - в откатную или стационарную головку.

Описание готового продукта: Готовым продуктом в нашем случае является конвертерная сталь. На ее качество внедрение новой установки практически не повлияло. В нашем случае первоочередной задачей является снижение себестоимости стали.

Сталь - это сплав железа с углеродом и другими химическими элементами. В этом сплаве железо является основой (растворителем), а другие элементы - примесями, растворенными в железе. Примеси могут оказывать на свойства стали как положительное, так и отрицательное влияние, поэтому их делят на: полезные и вредные. Полезные примеси в основном влияют на свойства кристаллов (зерен), а вредные примеси ухудшают межкристаллические (межзеренные) связи. В сталях большинства марок главной полезной примесью является углерод. Такие стали называют углеродистыми. Содержание углерода в углеродистых сталях чаще всего составляет 0,05-0,50%, но может достигать 1% (теоретически до 2,14%). В углеродистых сталях в качестве полезной примеси также могут содержаться марганец (0,3-0,6%) и кремний (0,15-0,3%). Содержание вредных примесей, которыми обычно являются сера, фосфор, кислород и азот, ограничивают сотыми и тысячными долями процента.

Технологические условия процессов выплавки стали оказывают значительное влияние на содержание в ней вредных примесей (серы, фосфора, азота, водорода и неметаллических включений), которые наряду с главными элементами (углерода, марганца, кремния, легирующими добавками) влияют на свойства готового металла.

В кислородно-конвертерной стали вредных примесей содержится примерно столько же, сколько и в мартеновской, а при определенных условиях даже меньше. В бессемеровской и томасовской стали концентрация вредных примесей значительно выше, чем в кислородно-конвертерной, особенно велико содержание азота. Оно в три-шесть раз больше, чем в мартеновской и кислородно-конвертерной, так как при донной продувке чугуна воздухом металл поглощает много азота.

2.2 Производственная стратегия

Особенности производства горячей извести для нужд кислородно-конвертерного производства: особенности производства конвертерной стали

Источниками получения стали могут служить:

кислородно-конвертерное производство;

электросталеплавильное производство;

мартеновское производство.

Работа кислородного конвертера осуществляется в периодическом режиме. Процесс начинается с завалки стального лома в наклоненный конвертер. Далее заливают жидкий чугун, конвертер устанавливают в вертикальное положение, вводят в него фурму и включают подачу кислорода чистотой ≥ 99,5%. Одновременно с началом продувки загружают первую порцию флюсов и железной руды. Остальную часть этих материалов подают в процессе продувки одной или несколькими порциями.

Процессы окисления и шлакообразования в кислородном конвертере идут очень интенсивно, чему способствуют высокие температуры, которые в реакционной зоне достигают 2500 ºС и хорошая циркуляция металла и его перемешивание со шлаком. Окисление примесей чугуна осуществляется в основном через шлаковую фазу. Сначала по закону действия масс окисляется железо, присутствующее в расплаве в наибольшем количестве, по реакции

Fe + О2 = 2FeО + 539800 кДж

Образующийся по этой реакции FeО в результате интенсивного массообмена в расплаве переносится в шлаковую фазу и является основным окислителем примесей. Процесс окисления примесей протекает на границе раздела металл - шлак по реакциям:

Si + 2FeO = SiO2 + Fe;+ FeO = MnO + Fe;

Р + 5FeO = Р2О5 + 5Fe;

С + FeO = СО + Fe.

На участках, где скорости движения газа-окислителя незначительны и массообмен ослаблен, возможно прямое окисление углерода и примесей кислородом дутья, например, по реакции2С + О2 = 2СО. Выделение СО при окислении углерода во всех случаях способствует лучшему смешению металлической и шлаковой фаз.

Окисление всех примесей чугуна протекает по экзотермическим реакциям с самого начала продувки. Наиболее интенсивно в начале продувки окисляются кремний и марганец, что объясняется их высоким сродством к кислороду при сравнительно низких температурах. Удалению фосфора способствует высокая концентрация в расплаве FeO. Кроме того, быстрое окисление фосфора, а также кремния объясняется связыванием их оксидов известью по реакциям:

+ 2СаО = 2СаО • SiO 2,

Р2О5 + 4СаО = 4СаО • Р2О5.

По мере протекания процесса конвертирования чугуна основность шлака непрерывно увеличивается и во второй половине продувки достигает величины >2,5 когда создаются благоприятные условия для удаления из металлического расплава серы. Удаление серы, содержащейся в чугуне и стали, протекает по суммарной реакции

+ S + СаО = FeO + CaS.

В качестве флюсующих добавок в кислородно- конвертерном процессе используют известь, расход которой составляет 5-6% от массы плавки, боксит (0.5-2%) и плавиковый шпат (0,15-2%). Состав конечного шлака в основном зависит от состава чугуна и содержания углерода в готовой стали. Содержание отдельных компонентов в шлаке кислородно- конвертерного процесса колеблется в следующих пределах, % FeO 6-12; SiO2 14-22; CaO 43-50; MnO 4-8; MgO 4-8; P2O5 2,5-4,0.

О ходе удаления примесей чугуна в процессе конвертирования судят по результатам экспресс-анализов отбираемых периодически через горловину проб расплавов. В готовой стали кислородно-конвертерного процесса содержания фосфора не превышает 0,02%, а остаточное содержание серы составляет 0,02-0,04%.Однако такая сталь характеризуется повышенным содержанием остаточного марганца (0,25-0,6%). Это связано с тем, что часть марганца во второй половине продувки вследствие высоких температур, увеличения основности шлака и снижения степени его окисления, может вновь восстанавливаться до металла.

Весь технологический цикл в кислородном конвертере занимает 50 -60 мин, в том числе продувка кислородом 18-30 мин. По достижении заданного содержания углерода в стали дутье отключают, фурму подымают, конвертер наклоняют и металл через специальную летку выливают в ковш. После слива стали из конвертера через горловину сливают шлак. Полученный в кислородном конвертере металл содержит повышенное количество кислорода, что обусловливает необходимость его обязательного раскисления. Раскисление проводят добавкой более активных металлов с повышенным сродством кислороду в разливочный ковш или желоб, транспортирующий металл в него из конвертера. Важнейшим преимуществом кислородно - конвертерного процесса, выражающиеся в бурном кипение расплава при продувке, высокой температуре расплавов и возможности быстрого ее регулирования, позволяют использовать его для получения легированных сталей. Основной трудностью при этом является введением легкоокисляющихся элементов во время продувки (Cr, Mn, Si). Введение элементов, обладающих меньшим сродством к кислороду (Ni, Cu, Mo)? Можно проводить в любое время плавки. Добавку легко окисляющихся легирующих элементов проводят часто вместе с раскислителем в сталеразливочный ковш после их предварительного расплавления в специальной печи в форме ферросплавов (твердых).

Во время продувки чугуна в конвертере образуется большое количество раскаленных отходящих газов с достаточно высокой степенью запыленности. Большое пылеобразование обусловлено интенсивным окислением железа и его испарением: угар железа составляет 6-7 %. Для использования физической теплоты газов и очистки их от пыли за конвертерами устанавливают котлы-утилизаторы и пылеулавливающие установки.

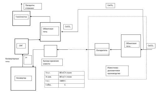
Особенности базового производственного процесса: схема производственного процесса до внедрения вращающейся печи на ККЦ ОАО «ММК» (см. рисунок 2.4).

В настоящее время обжиг извести для нужд кислородно-конвертерного процесса происходит на известково-доломитовом производстве в п. Агаповка на расстоянии 8 км. от ММК. Обжиг происходит природным газом. Добыча известняка происходит непосредственно там же. После обжига на известково - доломитовом предприятии известь с температурой 1200 °С охлаждают и транспортируют в открытых тележках в кислородно - конвертерный цех. Сюда она поступает с температурой 0 °С, с которой ее забрасывают в горячий конвертер, не подогревая.

На процесс обжига извести тратится большое количество дорогостоящего топлива - природного газа. По пути на кислородно-конвертерное производство известь теряет свои свойства, что отражается на качестве получаемой стали.

Рисунок 2.4 - Схема производственного процесса до внедрения вращающейся печи на ККЦ

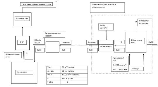
Особенности предлагаемого процесса: в бизнес-плане развития предлагается заменить традиционный обжиг извести природным газом на обжиг конвертерным газом. Так будет выглядеть усовершенствованная схема обжига извести конвертерным газом (см. рисунок 2.5). Добыча извести будем также производиться на ИДП. В таком виде известняк будет поступать на ККЦ ОАО «ММК», забрасываться во вращающуюся печь, которая в свою очередь будет работать на конвертерном газе. Обжиг извести конвертерным газом практически не отличается от обжига природным газом.

2.3 Оценка рынка сбыта и маркетинговая стратегия

Рынки сбыта: сталь, которую производит кислородно-конвертерное производство, будет выпускаться в таком же объеме. Возможно удастся заключить более выгодное сотрудничество, так как конвертерная сталь, полученная новым способом, обладает высоким качеством. Дело в том, что известь, загружаемая в конвертер, подается в горячем виде, что положительно сказывается на процесс плавки.

Рисунок 2.5 - Модернизированная схема производства обжига извести

Данный способ предлагает экономию природного газа, улучшение свойств извести обожженной, улучшение качества стали.

Основная цель бизнес-плана - это экономия природного газа. Приведенный способ производства стали не содержит использования природного газа, что говорит о 100% экономии его на обжиг извести. Следовательно, природный газ, который раньше применялся непосредственно на нужды кислородно-конвертерного производства, можно направить на другие цели.

В настоящее время известь имеет широкое применение в строительстве, например, для производства цемента. Цемент обладает высоким спросом и цены на него растут. Таким образом, известь, обожженная природным газом, сбывается на цементный завод. Комбинат получает прибыль на сэкономленном природном газе.