Содержание
Введение
1. Условия работы и требования, предъявляемые к проектируемому электроприводу
2. Обзор и анализ систем проектируемого электропривода и структур управления электроприводом подъема экскаватора
2.1 Обзор систем регулируемого электропривода подъема
2.2 Сравнительный анализ систем электропривода
2.3 Анализ структур управления электроприводом подъема
3. Расчет мощности и выбор двигателя, управляемого преобразователя
3.1 Предварительный выбор двигателя
3.2 Проверка двигателя на нагрев
4. Расчет и выбор элементов тиристорного преобразователя
4.1 Расчет и выбор тиристорного преобразователя
4.2 Выбор понижающего трансформатора
4.3 Расчет и выбор сглаживающего дросселя [4]
5. Разработка САУ электропривода и расчет её элементов
5.1 Моделирование и расчет параметров объектов управления
5.1.1 Моделирование и расчет параметров якорной цепи двигателя [8]
5.1.2 Моделирование и расчет параметров цепи обмотки возбуждения
5.1.3 Расчет параметров объекта регулирования в относительных единицах
5.2 Синтез регуляторов системы управления электроприводом
5.2.1 Расчет контура тока
5.2.3 Расчет контура скорости
5.2.3 Расчет контура тока возбуждения
5.2.4 Расчет контура ЭДС
6. Анализ динамических свойств электропривода
7. Описание принципиальной схемы электропривода
Список использованной литературы
Экскаватор ЭШ 10/70 (Экскаватор шагающий) - полноповоротная электрическая машина на шагающем ходу с рабочим оборудованием драглайна с ковшом емкостью 10 м3 и длиной стрелы 70 м. Выпускался на НКМЗ с 1971 по 1988 гг. С 1988 г. завод перешел на выпуск модернизированных экскаваторов ЭШ-10/70А-У.
Экскаваторы применяются для открытых разработок полезных ископаемых по бестранспортной системе, при строительстве каналов, ирригационных систем и различных гидросооружений. Низкое давление на грунт и высокая маневренность позволяют производить работы на слабых грунтах в стесненных условиях.
Общее устройство экскаватора
Экскаватор состоит из:
рабочее оборудование на поворотной платформе
поворотной платформы с механизмами
опорной базы.
Рабочее оборудование и поворотная платформа с механизмами составляет поворотную часть экскаватора.
Опорная база с установленным на ней зубчатым венцом, роликовым кругом и центральной цапфой составляет опорную часть машины.
Рабочее оборудование включает в себя ковш с упряжью, стрелу с подвеской и блоки наводки.
Стрела основанием нижней части шарнирно опирается на подпятники поворотной платформы и удерживается в наклонном положении к горизонту жесткой подвеской, соединяющей вершину пирамиды основания и головы колонн надстройки.
Ковш посредством упряжи соединяется с тяговыми и подъёмными канатами соответствующих лебёдок.
На поворотной платформе размещены основные узлы экскаватора: тяговая и подъёмные лебёдки, привод механизма шагания, механизм поворота, надстройка, пневматическая и смазочные системы и электрооборудование. Главный преобразовательный агрегат, как наиболее тяжеловесный, расположен в хвостовой части поворотной платформы. Вблизи преобразовательного агрегата, на левой секции поворотной платформы, расположен высоковольтный ящик с пусковой аппаратурой, магнитные станции и ящики сопротивлений.
С правой стороны поворотной платформы вдоль стенки кузова размещены: агрегат собственных нужд, компрессорная установка и силовой трансформатор.
Высоковольтный токоприёмник установлен над центральной цапфой и выступает над нулевой отметкой поворотной платформы.
Все механизмы размещены на поворотной платформе, закрыты металлическим кузовом, кабина машиниста установлена на выступающем кронштейне в передней части левой стенки кузова.
На балке надстройки размещены лебёдка подъёма стрелы и вспомогательная лебёдка.
Для обслуживания механизма расположенного на поворотной платформе предусмотрен мостовой кран.
Мост крана передвигается по подкрановому пути вдоль продольной оси экскаватора и может выходить за пределы кузова совместно с откатными воротами вмонтированными в задней стенке.
Верхняя часть задней стенки кузова, расположенная над опускными воротами имеет возможность откатываться и давать проход мостовому крану. Операция подъёма и опускания нижней части ворот задней стенки кузова производится при помощи механизма открывания ворот, устанавливается на колоннах подкранового пути.
Для обслуживания подъёмных и тяговых блоков, установленных на голове колонны надстройки, а так же блоков направления предусмотрен консольный кран. Он обслуживается вспомогательной лебёдкой.
Поворотная платформа через роликовый круг опирается на базу и центрируется относительно оси центральной цапфы. Для уменьшения нагрузки на центральную цапфу от веса базы во время шагания экскаватора на нижнем основании поворотной платформы установлены три подхвата. Для гравитационного отвода грунта ссыпающегося с тяговых канатов предусмотрен специальный желоб.
Поворотная платформа, надстройка и стрела оборудованы площадками, лестницами и ограждениями, обеспечивающими свободный доступ к обслуживающимся узлам и механизмам.
Ковш с развитой арочной частью, полукруглой режущей частью и "опорными башмаками" на днище улучшает условия копания, заполнения и разгрузки. Стрела трехгранной, шарнирно-сочлененной конструкции с элементами из уголкового профиля имеет высокую ремонтопригодность. Шагающие экскаваторы эксплуатируют:
на породах легких, средней крепости или взорванных крепких, когда целесообразно разрабатывать забои как нижним, так и верхним черпанием при бестранспортной системе разработки с непосредственной разгрузкой горной массы в отвал;
на погрузке в транспорт с производительностью более низкой, чем у карьерной лопаты;
при строительстве карьеров или проходке траншей и каналов, когда проектное сечение выработки мало и не допускает размещения в нем экскаватора. Все модели имеют аналогичное конструктивное исполнение. Различие состоит в деталях компоновки механизмов на поворотной платформе. Механизм шагания экскаваторов, как правило, кривошипно-рычажный. Для управления главными приводами экскаваторов применяется система Г - Д с питанием обмоток возбуждения генератора от силовых магнитных усилителей.
Все модели шагающих экскаваторов, выпускаемых ПО "Уралмаш", имеют гидравлический механизм шагания с неполным (кроме ЭШ-100.100) отрывом базы.
На всех экскаваторах, выпускаемых в настоящее время ПО "Уралмаш", электропривод главных механизмов выполнен по системе ТП - Д (тиристорный преобразователь - двигатель).
Экскаватор-драглайн имеет ковш с упряжью, тяговый и подъемный канаты, стрелу с направляющими-блоками и пятой. Для перемещения ковша служат лебедки подъема и тяги. Угол наклона стрелы во время работы обычно не меняется и определяется длиной стрелового полиспаста.
Опорный роликовый круг и поворотный механизм драглайна имеют то же устройство, что и у лопаты. Ходовое устройство может быть шагающим и гусеничным".
Ковш наполняется при его движении по забою под действием тягового каната из положения I положение II. Затем ковш поднимается и экскаватор поворачивается к месту разгрузки. Ковш подвешен к подъемному канату таким образом, что пока тяговый канат слегка натянут, ковш находится примерно в горизонтальном положении. При ослаблении тягового каната ковш опрокидывается передней стороной вниз и разгружается.
После разгрузки экскаватор поворачивается и ковш опускается на грунт, возвращаясь в положение I. Если перед опусканием ковш подтянуть к пяте стрелы, а затем отпустить тяговый канат, то ковш можно забросить в положение IV.
Драглайны обычно применяются для разработки забоев, расположенных ниже уровня стояния экскаватора и, как правило, работают в отвал.
Рабочие размеры драглайна имеют те же обозначения и измеряются так же, как у прямой лопаты. Они зависят от угла наклона стрелы, который может составлять 20-45°, и ее длины.
Ковш драглайна состоит из сварного корпуса, козырька, отлитого заодно с основаниями зубьев, и арки, которая служит для придания ковшу боковой жесткости и крепления разгрузочного каната. К передней части ковша (щекам) привариваются проушины для тяговых цепей, а к боковым стенкам приклепываются проушины для цепей подъема. Через траверсу и балансир цепи соединяются подъемным канатом. В основание козырька вставляются зубья.
Для защиты днища ковша от изнашивания к нему приварены стальные полозья. Для предотвращения истирания подъемных цепей о ковш предусмотрена распорная балка 16.
Центр тяжести ковша с грузом находится между подъемными цепями и аркой. Вследствие этого при ослаблении тягового и разгрузочного канатов последний проскальзывает по блоку. Ковш при этом поворачивается вокруг осей крепления подъемных цепей и порода выгружается через открытое пространство под аркой и между тяговыми цепями. Совокупность элементов, соединяющих ковш с тяговыми и подъемными канатами, называется упряжью ковша.
Стрелы драглайнов весьма многообразны по конструктивному исполнению. По основным конструктивным признакам стрелы могут быть объединены в четыре группы: вантовые, трехгранные жесткие, ферменные и комбинированные.
Главные механизмы экскаваторов.
Для осуществления рабочих движений ковша экскаватора: подъема, напора (тяги у драглайна) и поворота к месту разгрузки служат специальные механизмы.
Все эти механизмы устанавливаются на поворотной платформе, кроме зубчато-реечного напорного механизма, который устанавливается на стреле. По кинематическому признаку механизмы экскаваторов подразделяют на три типа:
. С однодвигательной схемой привода всех механизмов;
. С групповой схемой привода нескольких механизмов от общих двигателей;
. С многодвигательной схемой привода от индивидуальных двигателей.
Однодвигательная и групповая схемы привода применяются на универсальных экскаваторах малой мощности.
Механизмы экскаваторов средней и большой мощности имеют индивидуальный привод.
Механизмы подъема, тяги и канатного напора одноковшовых экскаваторов (за исключением гидравлических) состоят из приводных лебедок и канатно-блочных передач. Схемы канатно-блочных передач у экскаваторов с индивидуальным приводом обычно бывают бесполиспастными. При двух- или четырехканатном подъеме на ковше мехлопат устанавливаются уравнительные блоки, выравнивающие натяжение отдельных ветвей-канатов. На драглайнах полиспастные системы на подъеме и тяге, как правило, не применяются.
Главные механизмы экскаваторов с индивидуальным приводом имеют электрическое рабочее торможение двигателей. Механические тормоза используют только при перерывах в работе и аварийных режимах, требующих экстренной остановки машин.
Опорно-поворотные устройства экскаваторов состоят из механизма поворота платформы, опорного устройства и центральной цапфы (последняя может отсутствовать).
Механизм поворота обеспечивает вращение платформы экскаватора с целью осуществления рабочего движения или поворота на выгрузку и в забой.
Современные карьерные и вскрышные экскаваторы имеют механизм поворота с индивидуальным приводом, состоящий из двух или более самостоятельных установок, работающих на общий зубчатый венец. Каждая установка состоит из электродвигателя, редуктора и тормоза. Частота вращения поворотной платформы одноковшовых экскаваторов малой мощности составляет 0,05 с-1, мощных - 0,02-0,03 с-1.
В механизмах поворота на отечественных мощных драглайнах и вскрышных лопатах применяются также и безредукторные приводы с тихоходными двигателями.
Поворотные механизмы одноковшовых экскаваторов испытывают небольшие сопротивления повороту (обусловленные главным образом трением в опорно-поворотном устройстве), большие ускорения и работают в режиме "разгон-торможение". При таком режиме работы основная нагрузка поворотных двигателей - это силы инерции вращаемых масс. Поворотное движение составляет 70-80% общей продолжительности рабочего цикла экскаватора. Сокращая продолжительность поворотных движений, можно увеличить производительность экскаватора. В этой связи суммарная мощность двигателей механизмов поворота современных одноковшовых экскаваторов может составлять 10 тыс. кВт и более и ограничивается она прочностью конструкций стрел и рукоятей, получающих значительные инерционные нагрузки при интенсивном разгоне и торможении.
Опорное устройство предназначено для восприятия и передачи горизонтальных и вертикальных нагрузок от поворотной платформы на раму ходового устройства экскаватора и дает возможность поворотной платформе свободно вращаться относительно ходового устройства.
Шагающее ходовое оборудование применяется на шагающих драглайнах. Его преимущества: очень малое давление на почву, составляющее у драглайнов средней мощности около 0,04 МПа и доходящее до 0,1 МПа у драглайнов большой мощности; высокая маневренность (экскаватор может сразу изменить направление движения на любой угол); простое устройство (по сравнению с гусеничным). В то же время экскаваторы, оснащенные шагающим ходовым оборудованием, имеют малую скорость хода, колеблющуюся от 0,5 км/ч у средних экскаваторов до 0,06 км/ч у мощных, и поверхность для их перемещения должна быть планирована.
Шагающее ходовое оборудование состоит из опорной базы и механизма шагания. Последний предусматривает опорные лыжи, механизм перемещения и привод.
Конструкции механизмов шагания могут быть гидравлическими и кривошипными. При шагании экскаватор опирается на почву тремя точками.
Гидравлический механизм шагания состоит из лыж, тяговых и подъемных гидроцилиндров, расположенных с двух сторон платформы экскаватора. Штоки гидроцилиндров через траверсу соединяются с лыжами, сами гидроцилиндры шарнирно - с металлоконструкцией надстройки и поворотной платформы. От насосной станции рабочая жидкость подается в штоковые или поршневые полости гидроцилиндров, поднимая или опуская лыжи. Во время работы опорная база экскаватора всей своей поверхностью опирается на почву, а лыжи находятся в поднятом положении.
Для шагания лыжи опускаются на почву. При возрастании давления в подъемных гидроцилиндрах один конец опорной базы поднимается и с помощью тяговых гидроцилиндров экскаватор, опираясь на лыжи и на точку базы со стороны стрелы, сдвигается на шаг 1-2,5 м и снова опускается на почву. Затем процесс шагания повторяется. Таким образом экскаватор при шагании опирается на почву тремя точками и всегда перемещается в направлении от стрелы - задней частью поворотной платформы вперед. Для изменения направления движения поворотную платформу поворачивают в нужном направлении на опорной базе при поднятых лыжах. Все модели драглайнов, выпускаемых ПО "Уралмаш", оборудованы гидравлическими механизмами шагания.
Шагающие драглайны - экскаваторы типа ЭШ выпускаются в СССР
Ново Краматорским машиностроительным заводом (НКМЗ), ПО "Уралмаш" и
Крастяжмаш.
Параметры экскаваторов-драглайнов ЭШ 10/70А [2]
Параметры
ЭШ 10/70А
Номинальная вместимость усредненного вскрышного
ковша для разработки и перевалки грунта с удельной массой 1650 кг/куб, м3
10
Длина стрелы, м
70
Угол наклона стрелы, град.
30
Продолжительность рабочего цикла, с
52,5
Радиус выгрузки, м
66,5
Напряжение питающей сети, кВ
6
Экскаватор-драглайн (рис. 1.1) имеет ковш, свободно
подвешенный на канатах между головой и пятой стрелы, способный перемещаться под
ней.
Рисунок 1.1 - Схема работы главных электроприводов
экскаватора - драглайна
Наполнение ковша производится подтягиванием его к машине.
Ковш внедряется в грунт под собственным весом и даже удерживается от
чрезмерного заглубления с помощью подъемных канатов. С помощью же подъемных
канатов производится подъем ковша к голове стрелы, при этом тяговые канаты
удерживают груженый ковш от опрокидывания.
Особенности электроприводов копающего механизма подъема и
требования к нему
) Циклический характер работы в напряженном
повторно-кратковременном режиме с частыми пусками, реверсами и торможениями.
2) Наличие режимов опускания порожнего ковша, которые
целесообразно выполнять на повышенной скорости.
) Механизмы являются многомассовыми, обладают упругими
кинематическими связями. Демпфирование ослаблено.
) Широкий диапазон изменения статических нагрузок и их
несимметрия, обусловленные активным моментом нагрузки от веса ковша и случайным
характером нагружения при копании.
) Наличие в цикле экскавации сравнительно
продолжительных участков удержания ковша, в течение которых привод должен
работать с заданием на нулевую скорость, развивая на валу значительный момент.
) Частые стопорения механизмов подъема, напора и тяги,
которые в процессе копания могут носить случайный характер.
) Оператор, управляя механизмами, анализирует ситуацию
и изменяет задания на их скорость. Это обстоятельство позволяет снижать
требования к точности поддержания скорости и диапазону ее регулирования.
Условия эксплуатации электрооборудования экскаваторов.
) Температурный диапазон окружающего воздуха от-45 до
+450С;
2) Высокая запыленность окружающего воздуха - содержание
не агрессивных и не взрывоопасных частиц до 3 мг/м3.
) Влажность воздуха до 85% при +200С.
) Жесткие механические воздействия (тряска, вибрация,
удары, наклоны).
) Ограниченная мощность карьерных сетей. Существенные
колебания напряжения, выходящие за нормы ГОСТ для промышленных сетей (до +20%
…-40%).
) Стесненные условия размещения, ограниченные зоны
обслуживания.
) Эксплуатация в полевых условиях, затрудняющих
обслуживание и ремонт техники на объекте.
) Нехватка обслуживающего персонала.
Из перечисленных технологических особенностей и условий
эксплуатации вытекают следующие основные требования к главным электроприводам
экскаваторов.
. Бесступенчатое регулирование скорости в диапазоне
(6-10): 1, обеспечение реверса и рекуперативное торможение.
2. Жесткость механической характеристики должна
обеспечивать удержание ковша и позиционирование механизмов в нуле задания скорости,
осуществлять демпфирование упругих электромеханических колебаний, обеспечивать
оператору визуальный контроль над нагрузкой электропривода, защищать
механическое и электрическое оборудование от чрезмерных перегрузок.
. Ограничение момента в установившихся режимах,
стопорениях и "тяжелых" переходных процессах, сумма статического и
динамического моментов превышает допустимое значение.
. Ограничение ускорения в "легких"
переходных процессах, когда сумма статического и динамического моментов не
достигает допустимой величины.
. Ограничение рывка (производной момента) в переходных
процессах.
. Минимальное время переходных процессов для
механизмов при соответствующих ограничениях на момент, ускорение и рывок.
Электропривод должен сохранять работоспособность при глубоких
просадках напряжения сети. При авариях и отключениях сети "самоходы"
механизмов должны быть исключены. [3]
В настоящее время в мировой практике в электроприводах
основных механизмов экскаваторов применяются двигатели постоянного тока и
асинхронные двигатели с управляемыми электромашинными и статическими
преобразователями.
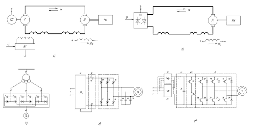
Реверсивные электроприводы выполняются по системам:
генератор-двигатель (Г-Д), тиристорный преобразователь - двигатель (ТП-Д),
непосредственный преобразователь частоты - асинхронный двигатель (НПЧ-АД),
автономный инвертор тока - асинхронный двигатель (АИТ-АД), автономный инвертор
напряжения с широтно-импульсной модуляцией - асинхронный двигатель (АИН с ШИМ -
АД) (рис.2.1.) [2].
Рисунок 2.1 - Упрощенные электрические схемы силовых цепей
применяемых регулируемых электроприводов
Все эти схемы могут быть условно обобщены и представлены как
система "управляемый преобразователь - двигатель" (УП-Д).
В электроприводах постоянного тока (рис.2.1, а, б) управление
скоростью и моментом по величине и направлению производится регулированием
напряжения на якоре двигателя по величине и полярности. Для механизма подъема
дополнительно в режимах опускания порожнего ковша и движения под уклон
применяется еще и ослабление поля двигателя для получения скоростей выше
номинальной.
Регулирование напряжения на якоре двигателя в системе Г-Д
производится за счет изменения тока в обмотке возбуждения генератора. Для этой
цели служит возбудитель генератора (ВГ) (рис.2.1, а), в качестве которого
используются тиристорные (ТВ-Г-Д) преобразователи. В системе ТП-Д (рис.2.1, б)
напряжение на якоре двигателя регулируется посредством фазового управления
тиристорами. Система Г-Д по принципу работы является реверсивной с
двунаправленной передачей энергии и автоматически обеспечивает требуемые
четырехквадрантные механические характеристики, а ТП-Д для этой цели
выполняется с двумя встречно-направленными комплектами вентилей, один из
которых не работает всегда. Преобразование энергии в силовом канале
электропривода по системе Г-Д производится электромашинным преобразователем.
Сетевой гонный двигатель агрегата - синхронный или асинхронный (СД), вращает
генератор постоянного тока (Г). Суммарный КПД электромашинного преобразователя
определяется как произведение КПД сетевого двигателя и генератора. Величина его
около 0.85-0.9. Особенностью электромашинного генератора является инерционность
обмотки возбуждения, постоянная времени 1-5 сек. Форсирование напряжения
возбудителя позволяет снизить время переходных процессов напряжения генератора
в 3-5 раз.
Преобразование энергии в силовом канале электропривода,
выполненного по системе ТП-Д, производится тиристорным преобразователем,
который через трансформатор подключен к сети. Суммарный КПД трансформатора и ТП
составляет 0.96-0.97. Постоянная времени ТП около 0.01 сек. Из-за фазового
способа управления вентилями тиристорный преобразователь потребляет
значительную реактивную мощность, уровень которой в некоторых режимах соизмерим
с максимальной активной мощностью. Дополнительно при этом в сеть генерируются
высшие гармоники (ВГ) тока. Поэтому ТП требует установки перед собой со стороны
сети т. н. фильтро-компенсирующего устройства (ФКУ).
В частотно-регулируемых электроприводах (рис.2.1, в, г, д)
управление скоростью и моментом по величине и направлению производится
регулированием по определенным законам амплитуды и частоты основной гармоники
напряжения на статоре асинхронного двигателя.
Система НПЧ-АД (2.1, в) - это практически та же система ТП-Д,
только на переменном токе. Вместо двигателя постоянного тока используется
асинхронный двигатель с меньшим в5-10 раз моментом инерции, каждая фаза
которого получает питание от отдельного ТП. Достоинства и недостатки те же, что
и в системе ТП-Д. КПД 0.96-0.97. Постоянная времени преобразователя 0.01 сек.
Требует установки ФКУ.
Система АИТ-АД (2.1, г) - это так же наполовину система ТП-Д,
так как на входе со стороны сети содержит нереверсивный ТП, осуществляющий как
выпрямительный, так и инверторный режимы. Между двигателем и ТП располагается
коммутатор на запираемых тиристорах или транзисторах, распределяющий токи по
фазам двигателя в соответствии с заданием управляющего сигнала на частоту.
Из-за ступенчатой формы токов возможно "пришагивание" двигателя на
низких частотах. Для устранения перенапряжений на элементах коммутатора
требуется дополнительно подключение со стороны двигателя батареи конденсаторов.
КПД из-за двойного преобразования чуть ниже, чем в ТП-Д, а именно: 0.95-0.96.
Постоянная времени преобразователя 0.01 сек. Требует установки ФКУ.
В системе АИН (ШИМ) - АД (рис.2.1, д) имеется звено
постоянного напряжения, напряжение на котором обеспечивается неуправляемым
выпрямителем В1. Трехфазное переменное напряжение на статоре АД формируется
автономным инвертором И за счет векторной синусоидальной широтно-импульсной
модуляции (ШИМ) напряжения звена постоянного напряжения. Для получения
четырехквадрантных механических характеристик в этой системе требуются цепи для
рекуперации энергии в сеть, для чего наряду с неуправляемым выпрямителем
необходимо наличие инвертора, ведомого сетью В2. Связь выпрямителя и инвертора
с сетью также производится через согласующий трансформатор. Суммарный КПД
составляет 0.95-0.96. Постоянная времени преобразователя 0.001 сек. Реактивную
мощность из сети не потребляет, однако генерирует в сторону сети очень широкий
спектр гармоник. Требует установки фильтров (Ф) со стороны сети и в звене
постоянного напряжения [3].
Статические полупроводниковые системы электропривода ТП-Д,
НПЧ-АД, АИТ-АД, АИН (ШИМ) - АД по сравнению с электромашинной системой Г-Д
обеспечивают ряд преимуществ: экономия электроэнергии на 10-12%, снижаются
динамические нагрузки на механизмы, увеличивается их надежность, несколько
увеличивается производительность машин, снижаются затраты на обслуживание и
ремонт агрегатов, улучшаются массогабаритные характеристики приводов.
Системы электроприводов НПЧ-АД, АИТ-АД применялись как
промежуточные при попытках исключить машину постоянного тока а регулируемых
электроприводах, но в настоящее время они не находят массового применения.
Отсюда для привода подъема экскаватора наиболее эффективными
являются две системы ТП-Д и АИТ-АД.
При первичном сравнении данных систем прослеживается
двигатели постоянного тока в системе ТП-Д сложные, требующие частого
обслуживания, что делает их эксплуатацию дорогой; к тому же они имеют низкую
степень защиты. Двигатели переменного тока (асинхронные двигатели) просты и
надежны, не нуждаются в обслуживании, имеют более низкую цену, и кроме того
более высокую степень защиты. Ни при более детальном рассмотрении возможности
применения системы АИТ-АД в приводе экскаваторов показывает что двигатель
постоянного тока выгоднее асинхронного при продолжительной работе на низких
скоростях и для широкого диапазона скоростей при постоянной мощности. Перегрузочная
способность в кратковременном режиме зависит не только от параметров двигателя,
но в большой степени от характеристик преобразователя частоты / тиристорного
преобразователя. Чем шире диапазон скоростей, в котором двигатель может выдать
максимальную мощность, тем он лучше может быть адаптирован к процессам,
требующим обеспечения постоянного момента во всем диапазоне скоростей (рис
2.2).
Рисунок 2.2 - Рабочие характеристики двигателей:
а - Механическая характеристика приводов постоянного тока
б - Механическая характеристика частотно-регулируемых
приводов
Ограничение мощности связано с максимальным моментом
асинхронного двигателя, уменьшающимся обратно квадрату скорости (1/n2).
Ограничение мощности связано с уменьшением коммутационной способности
коллекторного двигателя постоянного тока.
Кроме того в преобразователях частоты два контура
преобразования энергии (AC → DC и DC → AC), т.е. потери мощности
удваиваются по сравнению с приводами постоянного тока.
а
б
Рисуное 2.3 - Коммутационные процессы в преобразователях
систем:
а - ТП-Д
б - АИТ-АД
Результат - коммутация в преобразователях частоты происходит
с большой частотой и в выходном напряжении появляется высокочастотная составляющая,
и могут возникнуть проблемы с электромагнитной совместимостью.
Потери мощности, полученные эмпирическим путем следующие:
ПТ-Д - 0.8 %.1.5 % от номинальной мощности; АИТ-АД - 2 %.3.5 % от номинальной
мощности. Место, требуемое для размещения шкафа преобразователя мощностью от
100 kW: ППТ - 100 %, ЧРП - 130 %.300 %. Это преимущество приводов постоянного
тока обуславливает уменьшение размера и стоимости электрошкафа и системы
охлаждения.
Основные недостатки системы ТП-Д:
применение аналоговой системы управления с низкой
помехоустойчивостью, сложность в настройке и нестабильностьи параметров.
щеточно-коллекторный контакт.
В настоящее время, скомпенсированы применением:
цифровых систем управления ТП с цифровыми датчиками скорости
датчики типа энкодера, резольвера;
современному коллекторному узлу с углеродистым щеткам и
оптимизированному полю возбуждения.
В зависимости от механических условий эксплуатации, интервал
замены смазки в двигателях переменного тока может быть соизмерим, а зачастую и
меньше, чем ресурс щеток коллекторного двигателя.
Поскольку для привода подъема экскаватора нужно обеспечить
высокодинамичные режимы с постоянным моментом вращения, жесткими требованиями
по перегрузочной способности в широком диапазоне скоростей и рекуперацию энергии
обратно в сеть применяем систему электропривода ТП-Д [4]
Перечисленным в разделе 1 требованиям к регулируемым
электроприводам экскаваторов удовлетворяет ряд структур замкнутых систем
автоматического управления (САУ), выполненных на системе ТП-Д с бесступенчатым
регулированием скорости и момента.
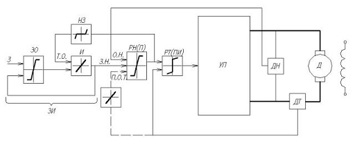
Рисунок 2.4 - Структура САУ с суммирующим усилителем
Структура с суммирующим усилителем (рис 2.4) обеспечивает
экскаваторные механические характеристики, значительную жесткость в области
рабочего участка, плавное регулирование скорости с ограничением ускорений и
рывков, достаточно широкий диапазон регулирования. В этой структуре для
формирования рабочего участка используется жесткая отрицательная связь по
напряжению управляемого преобразователя, а для ограничения момента -
отрицательная обратная связь по току с отсечкой. Устойчивость системы и
качество переходных процессов по нагрузке обеспечиваются гибкими обратными связями
по току и напряжению. Для ограничения ускорений и рывков в переходных процессах
по управляющему воздействию применяется задатчик интенсивности. Структура
требует компромиссных настроек и очень сложна в наладке. Поэтому на смену ей в
70-е годы прошлого века пришла структура с подчиненным регулированием
координат.
Двухконтурная структура подчиненного регулирования координат
с последовательной коррекцией и звеном ограничения представлена на рис.2.5.
Рисунок 2.5 - Двухконтурная структура подчиненного
регулирования координат с последовательной коррекцией и звеном ограничения
Внутренний (подчиненный) контур регулирования тока имеет
пропорциональный или пропорционально-интегральный регулятор тока РТ. Сигналы в
контуре тока суммируются на звене ограничения ЗО, которое предназначено для
ограничения ошибки на входе РТ. Внешним является контур регулирования
напряжения с пропорциональным регулятором РН. Характеристика РН задает форму
экскаваторной механической характеристики привода. Во всех режимах работы
привода, когда ток якоря незначительно отличается от заданного на выходе
регулятора напряжения РН, ЗО работает на своей линейной части и поддерживает
ток на уровне заданного. При этом отрабатывается заданная статическая механическая
характеристика. В случаях, когда ошибка по току выходит за заданный предел, что
случается в легких переходных процессах, происходит ограничение сигнала на
входе РТ и соответствующее ограничение производной напряжения на выходе
управляемого преобразователя и, как следствие, - ограничение ускорения
двигателя.
Дополнительно поднять жесткость механической характеристики
позволяет положительная обратная связь по току, подключенная на вход РН. С
целью облегчения наладки для независимой установки параметров статических и
динамических характеристик привода используются гибкие отрицательные связи по
напряжению и току УП.
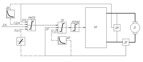
В структуре, представленной на рис. 2.6, также применена
двухконтурная система подчиненного регулирования координат с последовательной
коррекцией.
Рисунок 2.6 - Двухконтурная система подчиненного
регулирования координат с последовательной коррекцией
Регулятор тока - пропорциональный или
пропорционально-интегральный, регулятор напряжения - пропорциональный. Для
повышения жесткости рабочего участка механической характеристики, на вход РН
может подключаться положительная обратная связь по току. Ограничение ускорения
и рывка по управлению обеспечивается параметрами двухступенчатого зависимого
задатчика интенсивности.
Формирование экскаваторной механической характеристики
происходит с помощью задатчика интенсивности ЗИ, содержащего нелинейное звено
НЗ. Нелинейное звено действует как отрицательная связь с отсечкой по заданию
тока. Эта связь контролирует ошибку регулирования напряжения УП по току, и если
ошибка выходит за заданный предел, то через зону нечувствительности НЗ проходит
сигнал токоограничения, который влияет на темп изменения задания напряжения (з.
н.), то есть на ускорение привода. При стопорениях сигнал токоограничения может
снизить темп изменения задания напряжения до нуля или изменить знак, затормозив
привод. В задатчике предусмотрены две ступени изменения темпа задания. Первая
используется для выбора зазоров механических передач, вторая - для ограничения
ускорений.
Для микропроцессорного исполнения наиболее доступной и
эффективной является двухконтурная система подчиненного регулирования координат
с последовательной коррекцией, поэтому в данном курсовом проекте применяем
данный принцип построения САУ [3]
Для определения усилий, возникающих при работе экскаватора,
необходимо вычислить значения масс и размеров экскаватора по эмпирическим
формулам, приведенным в [1].:
Е - вместимость ковша, где Определим вес ковша [1,c.9]
где Определим массу породы в ковше, где Определим массу груженого ковша, Определим вес ковша с породой, Усилие в подъемнои канате в момент отрыва ковша от забоя [1,
ф.1.58]:
Мощность двигателя механизма подъема в момент отрыва где
Усилие в канате при подъеме груженого ковша [1, ф.1.59]:
Мощность двигателя при подъема груженого ковша [1, ф.1.64]:
Усилие в канате при спуске порожнего ковша [1, ф.1.60]:
Мощность двигателя при спуске порожнего ковша [1, ф.1.65]:
Определим средневзвешенную мощность двигателя тягового механизма
[1, ф.1.67]:
где
При двух двигателях мощность каждого из них:
Расчетное усилие для выбора каната, Где а - число двигателей подъемного механизма- число ветвей каната
полиспаста
По полученной величине усилия принимаем канат с Диаметр тягового барабана равен [1,c.37]:
Частота вращения выходного вала редуктора или барабанов [1,c.37]:
Исходя из средневзвешенной мощности, выбираем двигатель:
МПВЭ-785-750 [3, прил 11].
Номинальная мощность: РН = 540 кВт
Номинальная скорость вращения: nН =730 об/мин
Номинальное напряжение: UН = 460 В
Номинальный ток якоря: Iя =1250 А,
Сопротивление якоря: Rя=0,0221
КПД ηН = 94,0 %.
Напряжение возбуждения: UВ=220 В,
Ток возбуждения: IВ=17 А,
Число полюсов: 2р=4,
Число витков обмотки возбуждения: Wв=445,
Магнитный поток одного полюса: Ф=0,17 Вб,
Момент инерции якоря двигателя: Jя =80 кг·м2,
Продолжительность включения: ПВ=100% [10].
Передаточное число редуктора тягового механизма [1,c.36]:
Принимаем ближайший двухступенчатый редуктор с Рисунок 3.1 - Кинематическая схема привода подъема ЭШ 10/70А
Определяем моменты номинальные и в соответствии с
рекомендациями стопорные и отсечки выбираемых двигателей [3,c.47]:
Момент инерции поступательно перемещающихся ковша, породы и
редуктора с барабаном [1,c.60]:
Момент сопротивления при отрыве ковша от забоя [1,c.63]:
Динамический момент при разгоне двигателя [3,c.63]:
Время разгона двигателя подъема [1,c.63]:
где угловая скорость тягового двигателя [1,c.63]:
Средний момент двигателя при разгоне [1,c.61]:
Момент при подъеме груженого ковша над забоем [1,c.61]:
Время подъема ковша над забоем определяется технологией ведения
работ. Условно это время можно определить из заданной продолжительности цикла,
времени поворота, копания и отрыва ковша, что составляет 0,12t цикла. Принимаем
время подъема ковша 6,3 с. [1, стр.65].
После этого времени начинается поворот с груженым ковшом на
разгрузку. При повороте привод подъема может работать как в режиме подъема
ковша, так и в режиме спуска. Наиболее тяжелым является режим подъема, поэтому
принимаем его в расчете.
Подъем продолжается время поворота платформы с установившейся
скоростью: 0,2t цикла. Принимаем данное время равным 10,5 с. Момент торможения
при разгрузке ковша:
Время торможения [1,c.65]:
Момент двигателя при торможении
Время торможения и разгрузки ковша принимаем t8=7с [1, стр.65]
Момент сопротивления при спуске порожнего ковша в забой
Динамический момент при разгоне двигателя на спуск порожнего
ковша:
Время разгона двигателя при спуске порожнего ковша
Момент при спуске пустого ковша в забой [1,c.66]
Момент торможения при спуске порожнего ковша в забой.
Время торможения
Время маневрирования пустого ковша с установившейся скоростью
принимаем t10=16 с [1, стр.66]
Эквивалентный момент двигателя [1,c.63]:
Для осуществления автоматического регулирования
предусматривают управляемые преобразователи, позволяющие автоматически под воздействием
обратных связей изменять управляющий сигнал. В данном случае используем систему
ТП-Д с импульсно-фазовым управлением. Для равномерной загрузки двигателей
якорные обмотки включаем последовательно.
Выбор тиристорного преобразователя производится по следующим
условиям [5]:
. ТП > IН. ДВТП > UН. Э (4.1)
где: Id. ТП - выпрямленный ток преобразователя, А;ТП -
номинальное выпрямленное напряжение тиристорного преобразователя;Н. Э =2·UН=920В
- номинальное напряжение эквивалентного двигателя;
По условию 4.1 выбираем тиристорный преобразователь
экскаваторный ЭПТЭ [5]
Шкафы ЭПТЭ предназначены для управления электродвигателями
основных механизмов экскаватора (подъема, тяги (напора), вращения или хода) и
обеспечивают замену главного электромашинного преобразовательного агрегата.
Электропривод обеспечивают:
плавный пуск и торможение электродвигателя;
регулирование частоты вращения электродвигателя напряжением
якоря в диапазоне от нуля до номинального значения;
реверс направления вращения электродвигателя;
"экскаваторную" электромеханическую характеристику
(жесткую на рабочем участке и крутопадающую в режиме токоограничения);
ограничение величины пускового и рабочего тока
электродвигателя в диапазоне от 1,1 до 2,5 номинального значения;
защиты (максимально-токовую, от перегрузки, от обрыва поля,
нулевую, технологическую и другие).
Шкафы ЭПТЭ обеспечивают требуемые статические и динамические
характеристики главных электроприводов экскаватора, а также необходимые виды
защит и блокировок. Для механизма вращения предусмотрен узел контроля выборки
зазоров, обеспечивающий безударное сцепление зубчатых передач. В состав
комплекта для системы ТП-Д входят собственно шкафы ЭПТЭ, включающие в свой
состав силовую часть и систему управления, и высоковольтный силовой
трансформатор. Предлагаемое электрооборудование эксплуатируется на экскаваторах
в России (ЗАО "Уралалмаз") и Монголии (прииск "Заамар").
Все шкафы (ШВГ, ШВД, ШСН, ШРД и ЭПТЭ) одностороннего
обслуживания и могут монтироваться непосредственно у стены. Габаритные размеры
шкафов составляют 1840; мм. В комплект поставки входит пульт для наладки и
настройки электрооборудования, а по согласованию с Заказчиком и проверочный
стенд.
Понижающий трансформатор нужен для согласования напряжения
питания тиристорного преобразователя с напряжением питающей сети.
Для выбора питающего трансформатора для тиристорного
преобразователя необходимо учесть следующие условия [5]:
напряжение обмотки высшего напряжения трансформатора должно
совпадать с напряжением питающей сети: U1Н =UС;
где напряжение питающей сети UС = 6 кВ;
вторичное номинальное фазное напряжение трансформатора:
2НФ > U2Ф. расч;
где: U2Ф. расч - вторичное фазное расчетное
напряжение трансформатора;
номинальный вторичный фазный ток трансформатора:
2ФН > I2Ф. расч.;
где: I2Ф. расч - расчетный вторичный фазный ток
трансформатора;
Вторичное фазное расчетное напряжение трансформатора:
2Ф. расч=0,98× Е2Ф;
где: Е2Ф - вторичная фазная ЭДС трансформатора;
Е2Ф =Кu× Еd0;
где: Кu =1/2,34 - коэффициент зависящий от схемы
выпрямления, в данном случае для трехфазной мостовой схемы;
Еd0 - ЭДС на выходе преобразователя;
Э.Д.С. на выходе преобразователя:
где: КС =1,05¸1,1 - коэффициент,
учитывающий возможное скачки напряжения питающей сети на 5÷10%;
Кd = 1¸1,15 - коэффициент, учитывающий неполное
открывание тиристоров при максимальном управляющем сигнале;
КП = 1,05 - коэффициент, учитывающий падение напряжения в
преобразователе;- требуемое выпрямленное напряжение, соответствующее
номинальному напряжению питания эквивалентного двигателя;
где: KI2 = 0,815 - коэффициент зависящий от схемы
выпрямления, в данном случае для трехфазной мостовой схемы;d -
номинальный выпрямленный ток, соответствующий номинальному току якоря
эквивалентного двигателя;
2Ф. расч =0,815×1250=1018,75 А;
Требуемая мощность трансформатора:
TР = KS×Pd;
где: KS= 1,045 - коэффициент зависящий от схемы
выпрямления, в данном случае для трехфазной мостовой схемы;d -
требуемая выпрямленная мощность;
d = UН. ДВ×IH. ДВ = 920×1250 =1150кВт;TР
=1,045×1150=1207,5 кВА;
Исходя из полученных данных выбираем трансформатор
трансформаторы трехфазные сухие, переключаемые без возбуждения, класса
напряжения 6 кв с классом нагревостойкости изоляции "Н" для
экскаваторов [5]: ТСЗЭ-1600/6-УХЛ1
Схема соединения обмоток трансформатора:
U/D-11;
Мощность: ST =
1600 кВА;
Напряжение сетевой обмотки: U1Н =
6 кВ;
Напряжение вентильной обмотки: U2Н =
1050В;
Ток вентильной обмотки: I2Н =
1600 А; 13500 Вт;
Потери в режиме короткого замыкания: РКЗ =
34000 Вт;
Напряжение короткого замыкания: иКЗ% =
6 %;
Ток холостого хода: IХХ% =
1,1 %.
Сглаживающий дроссель предназначен для снижения пульсаций ЭДС
и выпрямленного тока [7].
Для проверки необходимости в установке и оценки индуктивности
сглаживающего дросселя необходимо выполнить два условия:
. . где: LS - суммарная индуктивность якорной цепи;
ЕПУЛЬС - пульсирующее ЭДС;= 6 - пульсность для
трехфазной мостовой схемы;ПУЛЬС - пульсирующий ток;
wС - угловая частота тока сети;d. ГР -
граничное значение выпрямленного тока;
S =LЯ. ДВ+LТР;
где: LЯ. ДВ - индуктивность обмотки якоря
эквивалентного двигателя;ТР - индуктивность трансформатора;
где: К = 0,6 - коэффициент учитывающий размагничивающее
действие якоря, в данном случае для некомпенсированных машин постоянного тока;
р = 2 - число пар полюсов;
где: ХТР - индуктивное сопротивление фазы
трансформатора;
а =2 - коэффициент учитывающий мостовую схему выпрямления;
где: ZТР - полное сопротивление фазы
трансформатора;TP - активное сопротивление фазы трансформатора;
где: I1ФН - номинальный фазный ток первичной
обмотки трансформатора;
КTP - коэффициент трансформации трансформатора;2
= 3 - число фаз во вторичной обмотке;
где: I1Н - номинальный линейный ток первичной обмотки
трансформатора;
wС = 2×p×fC;
где: fC = 50 Гц - частота тока питающей сети;
wС =2×3,14×50 = 314,159 с-1;
ЕПУЛЬС=0,2× UН. ДВ=0,2×920=184 В;ПУЛЬС= (0,2¸0,3) × ISН. ДВ=0,3×1250=375А;d.
ГР = 0,1×IН.
ДВ = 0,1×1250 =
125 А;
Произведем проверку необходимости применения сглаживающего
дросселя:
. . Условия удовлетворены, следовательно дополнительный сглаживающий
дроссель не нужен.
Система управления скоростью электропривода подъема включает
в себя: - две системы регулирования скорости приводных двигателей, которые
выполняются двухзонными, по принципу подчиненного регулирования параметров с
последовательной коррекцией;
систему задания скорости, вырабатывающую сигналы задания
систем регулирования скорости;
систему автоматизированного стопорения при перегрузке.
система регулирования скорости выполняется цифровой, её
внешний контур (ЭДС и скорости) выполнены цифровыми, а внутренние контуры (тока
якоря и потока возбуждения) - аналоговые. Всё остальные функции управления
реализуются на микропроцессорном устройстве [8].
Главная цепь электромеханического
преобразования энергии включает силовой полупроводниковый преобразовательный
агрегат (СПА), электродвигатель и промежуточную передачу механического движения
рабочему органу механизма.
Силовой полупроводниковый преобразовательный
агрегат (СПА) в цепи якоря рассматривается как управляемый эквивалентный
генератор ЭДС с внутренним активным сопротивлением и внутренней индуктивностью,
не зависящими от нагрузки преобразователя. Ток нагрузки считается непрерывным;
пульсирующие составляющие ЭДС и тока нагрузки преобразователя не учитываются.
Питающая сеть считается бесконечно мощной,
т.е. связанные с изменением нагрузки колебания напряжения питания
преобразователя отсутствуют. Полезная составляющая ЭДС преобразователя
пропорциональна управляющему воздействию на входе его системы управления.
Данное воздействие предварительно фильтруется и ограничивается с целью
обеспечения помехозащищенности и работоспособности преобразователя при
произвольном изменении внешнего управляющего сигнала.
Двигатель представляется в виде генератора
противо - ЭДС с внутренним активным сопротивлением и индуктивностью, не
зависящими от нагрузки. Влияние реакции якоря на возбуждение двигателя не
учитывается.
Механическая часть рассматривается как
абсолютно жесткая приведенная одномассовая система с постоянной величиной
момента инерции. Предполагается, что момент статического сопротивления
механизма содержит в общем случае реактивную и активную составляющие. [5]
Уравнение преобразователя
п = Кп·Uу (5.1)
где kп - коэффициент усиления преобразователяу - напряжение
управления, В
Еп - ЭДС на выходе преобразователя, В
Это уравнение описывает характеристику СПА как
безинерционного управляемого источника питания в цепи якоря двигателя
Уравнение обмоток двигателя
Еп= Eд +IэRэ + Lэ где Iэ - мгновенное значение тока якоря, Аэ
- эквивалентное активное сопротивление цепи, Омэ - эквивалентное индуктивное
сопротивление цепи, Гнд - противо - ЭДС обмоток двигателя, В
Это уравнение электрического равновесия
цепи якоря, схема замещения которой приведена на рис.2.2.
Рисунок 5.1 Схема замещения цепи якоря
Уравнение вращающего момента двигателя
М = k·Ф·Iя (5.3)
где k - конструктивная постоянная двигателя
Ф - магнитный поток, Вб
Уравнение противо - ЭДС
Ед = k·Ф·Ω (5.4)
где Ω - угловая частота
вращения двигателя, с-1
Уравнение механической части двигателя
М-Мст=J где Мст - статический момент нагрузки, Нм; J - момент инерции,
кг·м 2
Эквивалентное сопротивление цепи
где Ш =
0,2∙RЯД = 0,2∙0,0221 = 0,00442 Ом.
Активное сопротивление цепи выпрямленного тока:
Индуктивность цепи выпрямленного тока:
Номинальная ЭДС двигателей
Д. НОМ= UД. НОМ - IД. НОМ∙RЯЦ =
920 - 1250∙0,0889 = 808,87 В.
ЭДС холостого хода преобразователя:
Еd0 = Kвн ∙ U2 = 1,35 ∙
902 = 1217,7 В.
Передаточная функция тиристорного преобразователя:
Передаточная функция якорной цепи:
Передаточная функция механической части
Рисунок 5.2 - Структурная схема объекта управления.
Электромагнитная постоянная времени якорной цепи двигателя:
Механическая постоянная времени привода:
Коэффициент передачи преобразователя по напряжению:
Дифференциальные уравнения цепи обмотки возбуждения:
где: ψм - потокосцепление обмотки возбуждения,В
- сопротивление цепи возбуждения,
ТВб - постоянная времени потока рассеяния,д
- сопротивление дополнительной обмотки,
ТВд - постоянная времени дополнительной
обмотки,В - ток обмотки возбуждения,д - ток
дополнительной обмотки.
Последние уравнение характеризует кривую намагничивания
магнитопровода Системе уравнений соответствует структурная схема.
Рисунок 5.3 - . Структурная схема цепи возбуждения.
где: Для синтеза САР рассматривается линеаризованная структура. В
соответствии с [4], вместо функции iм (φ) фигурирует соотношение ∆iм=
Кφ∆φ, где Кφ = Кφ (φ0) - характеризует наклон кривой iм (φ) в выбранной точке установившегося
режима. Если ввести в рассмотрение коэффициент рассеяния главного потока άр = ТВб / ТВ и коэффициент
вихревых токов άвт = rВ / rд, то
передаточная функция цепи возбуждения примет следующий вид:
где: ТВδ = (1+άр +άВТ),
Поскольку в САР непосредственно измеряется не поток, а ток
возбуждения, необходимо рассмотреть взаимосвязь между током и потоком:
φ1B (p) = Кφ + άВТ∙ТВР
Передаточная функция объекта управления принимает вид:
Усреднённая постоянная времени главного потока:
Коэффициент рассеяния главного потока (принимается): άР= 0,18.
Коэффициент вихревых токов άвт = 0,05. [4]
Постоянная времени цепи возбуждения:
ТВδ = (1+άР + άвт) ∙ТВ = (1+0,18+0,05) ∙
0,83 =1,021 с.
Вторая постоянная времени цепи возбуждения:
Напряжение питания возбудителя UПВ =220 В. ЭДС
возбудителя ЕdОВ = КВН∙UПВ = 1,35∙220
= 286 В. Коэффициент передачи преобразователя возбуждения:
Для анализа удобнее выразить все переменные (кроме времени t)
в относительных единицах. За базовые величины принимаем номинальные значения
параметров [4]:
1. Напряжение якорной цепи: Uб = Ед. ном
=808,87 В
2. Ток якорной цепи: Iб = Iд. ном
= 1250 А.
. Сопротивление якорной цепи:
. Ток возбуждения: IбВ = IВ. НОМ = 17 А.
. Напряжение возбуждения: UбВ = UВ. НОМ =
220 В.
. Угловая скорость: ωбВ = ωДНОМ = 76,44 рад/с.
. Поток возбуждения Фб = ФНОМ =0,17∙Вб.
. Момент: Мб = МД. НОМ = 7064Н∙м.
. Напряжение системы регулирования: Uбр = 10 В.
. Сопротивление системы регулирования: Rбр = Zбр
= 10 кОм.
Относительный коэффициент передачи преобразователя по напряжению:
Относительное значение магнитного потока:
Сопротивление цепи обмотки возбуждения:
Относительное значение эквивалентного сопротивления цепи:
Коэффициент обратной связи контура тока принимаем из условия
полного использования динамического диапазона тракта измерения тока равным
единице.
Задаемся максимальным напряжение на выходе датчика скорости
равного напряжению управления 10 В.
Коэффициент передачи датчика скорости в относительных единицах
Напряжение управления UУВ = 10 В.
Относительный коэффициент передачи преобразователя
возбуждения:
Рисунок 5.4 Структурная схема системы подчиненного
регулирования.
Относительные коэффициенты датчиков обратных связей по цепи
обмотки возбуждения равны [8].
в настоящее время в электроприводе при создании системы
автоматического управления нашел применение принцип подчиненного регулирования
с последовательной коррекцией.
Системы подчиненного регулирования выполняются по
определенной многоконтурной структуре).
Сущность построения таких систем заключается в следующем:
1.
Объект
управления представляется в виде цепочки последовательно соединенных звеньев с
передаточными функциями W01 (p), W02 (p),
…, W0i-1 (p), W0i (p), выходными
параметрами которых являются контролируемые координаты объекта: напряжение,
ток, скорость и т.д.
2.
Количество
регуляторов с передаточными функциями Wр1 (p), Wр2
(p), …, Wрi (р) в СПР устанавливается равным количеству
регулируемых величин. Все регуляторы соединяются последовательно, так что выход
одного является входом другого. Кроме того на вход каждого регулятора подается
отрицательная обратная связь по той переменной, которая регулируется данным
регулятором. В результате этого в системе образуются как бы вложенные друг в
друга контуры регулирования. Таким образом, число контуров регулирования равно
количеству регулируемых координат объекта.
3.
Каждый
внутренний контур управления подчинен следующему по порядку внешнему контуру,
т.е. выходной сигнал регулятора любого внешнего контура является задающим для
последующего, заключенного в него, контура. В итоге все внутренние контуры
работают как подчиненные задаче регулирования выходной координаты системы.
4.
Ограничение
любой координаты достигается ограничением ее задания, т.е. выходного сигнала
регулятора, внешнего по отношению к рассматриваемому контуру.
5.
На
выходе регулирующей части системы управления устанавливается фильтр. Постоянная
времени Тμ этого фильтра является
основным параметром системы авторегулирования и определяет важнейшие свойства
системы.
6.
Синтез
регуляторов СПР осуществляется методом последовательной коррекции (начиная с
внутреннего контура и кончая внешним). Практически при выборе передаточной
функции регулятора Wpi (p) i-го контура стремятся решить две
основные задачи:
·
обеспечить
за счет действия регулятора компенсацию наиболее существенных инерционностей
объекта, входящих в данных контур, и тем самым улучшить быстродействие системы;
·
обеспечить
определенный порядок астатизма данного контура за счет введения в регулятор
интегрирующего звена.
Передаточная функция регулятора i-го контура будет
иметь вид:
Настройка системы производится путем последовательной
оптимизации контуров регулирования. Каждый контур оптимизируется по модульному
или симметричному оптимумам, в основе которых лежит обеспечение вполне
определенных показателей по выполнению, колебательности и точности системы
автоматического управления, т.е. получение технически оптимального переходного
процесса.
Системы подчиненного регулирования имеют следующие
достоинства:
. Простота расчета регуляторов каждого контура при
настройке по тому или иному оптимуму.
2. Высокие статические и динамические показатели,
обеспечиваемые настройкой контуров регулирования по модульному или
симметричному оптимумам.
. Простота ограничения регулируемых координат.
. Унификация оборудования, обусловленная особенностями
регуляторов СПР и наличием унифицированных блочных систем регулирования,
специально выпускаемых для СПР.
. Простота настройки.
Основной недостаток - некоторый проигрыш по быстродействию.
Расчет структурной схемы ЭП подразумевает определение
передаточных функций звеньев системы автоматизированного электропривода:
регуляторов, объекта регулирования, обратных связей.
В теории автоматизированного электропривода разработан
инженерный метод синтеза унифицированных контуров регулирования, получивший
название метода последовательной коррекции с подчиненным регулированием
координат. Этот метод позволяет расчетным путем определить параметры
регуляторов, обеспечивающих заданные динамические показатели контура
регулирования.
При подчиненном регулировании координат система
электропривода разделяется на группы звеньев, в каждой из которых, как правило,
имеется только одна большая постоянная времени. Каждая из таких групп звеньев
включается в контур регулирования со своим регулятором и обратной связью. В
результате система получается многоконтурной, причем каждый последующий контур
охватывает предыдущий. Выходные величины регуляторов внешних контуров
регулирования оказываются входными для внутренних контуров регулирования.
Поэтому такие системы называют системами подчиненного регулирования координат с
последовательной коррекцией. Одна из регулируемых координат является основной,
остальные - подчиненными (рис.4.1).
Для регулирования скорости двигателей используется система
двухзонного регулирования. Ёе составной частью является система, замкнутая по
скорости, с подчиненным контуром тока, воздействующая на напряжения якоря
двигателя. Второй частью САР является система, с подчиненным контуром потока
возбуждения, воздействующая на напряжение обмотки возбуждения. В такой системе
регулирования скорости до номинальной обеспечивается за счет изменения
напряжения на якоре от нуля до номинального значения при номинальном потоке
возбуждения. Регулирование скорости выше номинальных значений осуществляется за
счет воздействия на поток при постоянном значении ЭДС. При регулировании в
первой зоне ЭДС двигателя ниже номинальной, регулятор потока поддерживает
постоянный поток возбуждения на скоростях выше номинальных, во второй зоне,
поддерживается равенство ЭДС двигателя номинальному значению. При этом поток
возбуждения изменяется обратно-пропорционально скорости. [5]
Анализ проводится при допущениях: индуктивность цепи якоря не
изменяется при изменении тока нагрузки, размагничивающие действие реакции якоря
не учитывается.
Рисунок 5.5 - Структурная схема первого контура САР.
Передаточная функция регулятора
где [W0 (p)] - 1 - компенсирующая часть,
устраняющая инерционность первого звена объекта регулирования; Согласно модульному оптимуму
Тi= Тμ·2i, (6.3)
где i - номер контура;
Т1=2 Тμ
По формуле 6.2 получаем передаточную функцию регулятора тока
ТРТ=kДТkТПrЭ-12
Тμ =1·1,5·7,03·0,02=0,21
с
Таким образом, в результате синтеза получается
пропорционально-интегральный регулятор тока.
Для компенсации внутренней обратной связи по ЭДС двигателя
дополняем схему положительной обратной связью по противо-ЭДС двигателя на вход
регулятора скорости, с звеном компенсации ЭДС (ЗКЭ) передаточная функция звена
Регулятор тока снабжаем нелинейным элементом НЭ 4, обеспечивающий
ограничение выхода регулятора, а следовательно защиту от чрезмерно больших
управляющих воздействий.
Дифференциальные уравнения объекта управления.
Если рассматривать замкнутый контур тока как колебательное звено с
передаточной функцией,
то структурную схему контура скорости можно изобразить:
Рис 5.6 Структурная схема контура регулирования скорости.
Объект управления имеет передаточную функцию:
Выбираем регулятор скорости в соответствии с принципом
подчинённого регулирования, то получаем:
где: ТW - постоянная времени контура скорости.
Исходя из настройки системы на модульный оптимум принимаем ТW
=4Тμ
В результате синтеза получили П - регулятор скорости, который
является статическим по возмущающему воздействию, при моменте нагрузки равному
номинальному, скорость уменьшается на величину статической ошибки.
Отклонение скорости от заданного значения в электропривода подъема
экскаватора допускается. [6]: чтобы обеспечить ограничение тока, необходимо
предусмотреть специальный элемент, определяющий установку токоограничения.
Задача ограничения тока допустимым значением равным двум
номинальным значениями Iмакс=2Iном=2·1250=2500А обеспечивается путем введения
в структуру САР нелинейного элемента НЭ2 в канал обратной связи по скорости с
характеристикой "зона нечувствительности". Если выходной сигнал
выходит за пределы заданного уставкой НЭ2, то выходной сигнал НЭ поступающий на
вход регулятора резко возрастает и вычитаясь из задающего сигнала регулятора
резко уменьшает выходной результирующий сигнал.
Подчиненная регулятору скорости система регулирования тока якоря
обеспечивает ограничение тока и момента двигателя. В результате получаем
"экскаваторную" характеристику двигателя.
Для обеспечения плавного разгона двигателя с заданным временем
пуска, на входе регулятора скорости размещаем задатчик интенсивности
Объектом управления данного контура служит звено, входом
которого являются напряжение управления тиристорного возбудителя, а выходом
магнитный поток.
Для анализа применяются следующие допущения:
) Вихревые токи учитываются с помощью дополнительной
замкнутой обмотки на общем магнитопроводе с обмоткой возбуждения.
) Потоки рассеяния замыкаются только по воздуху и не влияют
на насыщения магнитопровода.
В соответствии с принципом подчинённого регулирования,
определяем передаточную функцию регулятора потока:
где: Тφ -
постоянная времени контура потока.
Система настраивается на модульный оптимум: Тφ = 2ТμВ
Принимается ТμВ = 0,02 с,
Получаем ПИ регулятор тока возбуждения с настроечными
параметрами"
Частота среза контура потока:
Контур регулирования ЭДС якоря двигателя является внешним по
отношению к контуру регулирования потока. На входе регулятора ЭДС производится
сравнение сигнала установки задания номинальной ЭДС и сигнала датчика ЭДС.
Уравнение объекта управления: е = φ ∙ ω.
Для того, чтобы организовать обратную связь по ЭДС,
необходимо выделить сигнал ЭДС якоря, это возможно сделать, зная напряжение на
якоре двигателя и ток якоря. ЭДС двигателя связана с этими величинами следующим
соотношением:
Для реализации точного измерения ЭДС было бы необходимо на выходе
датчика тока якоря установить форсирующие звено, однако это привело бы к тому,
что при дифференцировании в систему проходили бы пульсации и помехи. Поэтому
падение напряжения определяется в виде суммы двух сигналов: сигнал датчика тока
подаётся на пропорциональное и реальное дифференцирующие звено, в котором
постоянная времени дифференцирующего звена равна Тяд, а постоянная
времени фильтра равна Тμ. При этом ЭДС измеряется в соответствии с
выражением:
Поскольку в контуре ЭДС нет больших постоянных времени, которые
нужно компенсировать, регулятор ЭДС выполняется интегральным:
где:
Те - постоянная контура ЭДС.
Система настраивается на модульный оптимум [5]:
Те = 2 (Тφ+Тдэ) = 2∙ (0,04+0,02) =
0,048 с.
Полная структурная схема полученной системы в относительных
единицах показана на чертеже 2
Статическая ошибка по скорости при номинальном токе якоря:
Конструктивный коэффициент двигателя в о. е.:
Статическая ошибка в процентном отношении:
Динамическую ошибку Δω Д, с-1 определяем по формуле:
Динамическая ошибка в процентах:
Суммарная ошибка по скорости (в переходном процессе, обусловленном
изменением задающего воздействия по линейному закону):
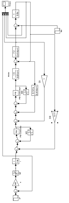
В результате исследования модели данного электропривода в
приложении Simulink из пакета программы MatLab (рис.6.1) были получены графики
переходных процессов пуска и торможения на рис.6.2 Показатели качества
переходного процесса соответствуют расчетным значениям.
Рисунок 6.1 - Математическая модель электропривода без учета цепи
ослабления возбуждения
Рисунок 6.2 - Переходный процесс при пуске и торможении под
нагрузкой привода подъема ковша ЭШ10/70А
Двигатель напора экскаватора получает питание от тиристорного
преобразователя ЭПТЭ-1-6-3 4 2 2-УХЛ4. В состав комплектного
тиристорного электропривода входит: оперативная коммутационная аппаратура. Высоковольтный
выключатель на стороне переменного тока QF1 и автоматический выключатель
постоянного тока QF2; понижающий трансформатор, выполняющий функцию
согласования питающей сети и двигателя; тиристорный преобразователь соединенный
по реверсивной мостовой схеме, обеспечивающий преобразование трехфазного
переменного напряжения сети в регулируемое постоянное в зависимости от угла
отпирания тиристоров подаваемых системой импульсно-фазового управления;
сглаживающего дросселя, уменьшающего пульсации выпрямленного напряжения; цепи
динамического торможения двигателя, для аварийного торможения двигателя. При
замыкании контактора КМ и размыкании КМ1 якорная обмотка двигателя подключается
к тормозному резистору R10, за счет взаимодействия тока якоря. Изменяющего свое
направление под действием противо-ЭДС и магнитного потока обмотки возбуждения
на валу возникает тормозной момент останавливающий двигатель; защитная
аппаратура. Реле напряжения КV1 отключается при недопустимом снижении
питающего напряжения. Данная защиты воздействуют на систему управления
приводом, отключая его. Защита тиристоров от перенапряжений осуществляется
цепочками R-C; электроизмерительные приборы, амперметр и вольтметр постоянного
тока; блок датчиков системы автоматики. [8].
Принципиальная электрическая схема силовых цепей на чертеже 1
1. Н.Н.
Чулков. Расчет привода карьерных машин - М.: Недра, 1987. - 196с
. belgorai.
narod.ru Модернизация шагающего экскаватора ЭШ №54
. Масандилов
Л. Б Энциклопедия по электрооборудованию горных экскаваторов. МЭИ, Москва, 1999
г
. www.intechnics.ru/article.
ИНТЕХНИКС / Статьи /. переменного или постоянного тока
. Комплектные
тиристорные электроприводы. Справочник. Под. ред. Перельмутера В.М. - М.:
Энергоатомиздат, 1988. - 319с.
. Методические
указания к лабораторной работе "Расчет, наладка и исследование
тиристорного электропривода постоянного тока с подчиненным регулированием
координат". /В.В. Елисеев, УГГГА, 2001. - 28с.
. Конспект
лекций по автоматизированному электроприводу (преп. Елисеев В. В.), 2009
. .
Шрейнер Р.Т. Математическое моделирование электроприводов переменного тока с
полупроводниковыми преобразователями частоты. Екатеринбург: УРОРАН, 2000.
. Белов
М.П. Автоматизированный электропривод типовых производственных механизмов и
технологических комплексов: Учебник для вузов / М.П. Белов, В.А. Новиков, Л.Н.
Рассудов. − 2-е изд., стер. − М.: Издательский центр
"Академия", 2004.
. Методическое
пособие по практическим работам и лабораторным. УГГУ. I часть.
1. Условия работы и требования, предъявляемые к
проектируемому электроприводу
2. Обзор и
анализ систем проектируемого электропривода и структур управления
электроприводом подъема экскаватора
2.1 Обзор
систем регулируемого электропривода подъема
2.2
Сравнительный анализ систем электропривода
а
б
2.3 Анализ структур управления
электроприводом подъема
3.
Расчет мощности и выбор двигателя, управляемого преобразователя
3.1
Предварительный выбор двигателя

. Определим массу ковша,
[1,c.7]
(3.4)
- коэффициенты для определения массы
ковша экскаватора для тяжелых условий работы [1, прил.3]
, (3.5)
- ускорение свободного падения,
[1,c.7]
, (3.6)
- плотность горной породы в целине, т
и
- коэффициент разрыхления породы [1,c.180]
(3.7)
[1,c.9]
(3.8)
[1, ф.63]:
, (3.9)
- скорость подъема [3, прил.7]
(3.10)
, (3.9)
(3.10)
, (3.9)
(3.10)
- время отрыва ковша из забоя, принимается равным 3 с [1, стр23]
= 0,3tцикла - время подъема, с
=0,35tцикла - время спуска ковша, с
(3.11)
[1,c.38]:
(3.17)
(
) [1, прил.9]
, или
. (3.18)
(3.19)
(3.20)
[3, прил.8]
3.2 Проверка
двигателя на нагрев
(3.21)
(3.22)
(3.23)
(3.24)
(3.25)
(3.26)
(3.27)
(3.28)
, (3.30)
(3.31)
(3.32)
(3.33)
(3.34)
(3.35)
(3.36)
(3.50)
4. Расчет и
выбор элементов тиристорного преобразователя
4.1 Расчет и
выбор тиристорного преобразователя
4.2 Выбор
понижающего трансформатора
В;
В;Ф. расч=0,98× 499,5=489,5 В; 2Ф.
расч=КI2×Id;
4.3 Расчет и выбор сглаживающего
дросселя [4]
Гн;
А;
В;
;
Ом;
Ом;
Ом;
Гн;S
=0,000175+2 0,00144=0,00368 Гн;
.
5. Разработка
САУ электропривода и расчет её элементов
5.1
Моделирование и расчет параметров объектов управления
5.1.1
Моделирование и расчет параметров якорной цепи двигателя [8]
(5.2)
, Нм (5.5)
- эквивалентное активное сопротивление,
учитывающее снижение выпрямленного напряжения из-за коммутационного процесса в
преобразователе. Сопротивление ошиновки:
,
,
5.1.2
Моделирование и расчет параметров цепи обмотки возбуждения
;
![]()
5.1.3 Расчет
параметров объекта регулирования в относительных единицах
.
о. е.;
,
5.2 Синтез
регуляторов системы управления электроприводом
. (6.1)
5.2.1 Расчет
контура тока
, (6.2)
- составляющая, обеспечивающая астатизм
системы по управляющему воздействию; Тi - это параметр системы,
который выбирается по модульному или симметричному оптимуму. Проектируемая САР
применяется для стабилизации скорости привода, поэтому при настройке применяют
модульный оптимум.
,
,
,
,
5.2.3 Расчет
контура скорости
5.2.3 Расчет
контура тока возбуждения
,
,
,
![]()
5.2.4 Расчет
контура ЭДС
.
.
,
6. Анализ
динамических свойств электропривода
с-1;
;
, где:
- ускорение привода, рад/с2.
7. Описание
принципиальной схемы электропривода
Список
использованной литературы