Материал: s4

Внимание! Если размещение файла нарушает Ваши авторские права, то обязательно сообщите нам

31

Набор заданий для проверки достижения конкретных целей обучения

Задание 1.

При проведении ЭКГ у спортсмена Н., 26 лет, выявлена неполная блокада правой ножки пучка Гиса. Аускультативно: деятельность сердца ритмичная, тоны ясные, ЧСС – 62 в мин., АД

120/70 мм рт.ст.

Какая тактика ведения данного пациента? А. Госпитализировать в отделение. В. Амбулаторное лечение.

С. В лечении не нуждается. D. Диспансерное наблюдение. Е. Ургентная госпитализация.

Задание 2.

Больной Н., 58 лет, обратился к кардиологу с жалобами на головокружение, общую слабость. 3 года назад перенес инфаркт миокарда. На ЭКГ: ритм синусовый, нерегулярный, ЧСС- 54 в мин., выпадение отдельных PQRST, синусовые паузы до 2 сек.

Какое нарушение ритма выявили у данного больного? А. Синусовая брадикардия.

В. Атриовентрикулярная блокада 1 ст. С. Атриовентрикулярная блокада 2 ст. D. Синоатриальная блокада.

Е. Внутрипредсердная блокада.

32

Задание 3.

Больная Ч., 63 лет, длительное время страдает ИБС, по поводу чего регулярно принимает антиагреганты, статины, нитраты, β-адреноблокаторы. На ЭКГ:

V=50 мм/сек

Какая дальнейшая тактика ведения данной больной? А. Дальнейшее наблюдение.

В. Отменить β-адреноблокаторы. С. Направить к кардиохирургу. D. Назначить атропин.

Е. Отменить нитраты.

Задание 4.

Больной Д., 28 лет, жалуется на продолжительные ноющие боли в сердце, одышку при физической нагрузке, повышение температуры тела до субфебрильных цифр. 2 недели назад перенес респираторную инфекцию. Границы сердца смещены влево. Аускультативно тоны сердца ослаблены, систолический шум на верхушке, ЧСС-68 в мин., АД 130/80 мм рт.ст. В анализе крови повышенный уровень СОЭ, СРБ, АСТ. На ЭКГ: атриовентрикулярная блокада 2 ст.

Какая наиболее вероятная причина развития аритмии у данного больного? А. Вегетососудистая дистония.

В. Острая ревматическая лихорадка. С. Острый миокардит.

D. Экссудативный перикардит. Е. Миокардиофиброз.

Задание 5.

У больного Л., 48 лет, который находится в стационаре по поводу распространенного переднего Q-инфаркта левого желудочка, на ЭКГ в динамике появилась AV-блокада 2 степени Мобитц 2. Какова дальнейшая тактика ведения больного?

А. Динамическое наблюдение.

В. Временная электрокардиостимуляция. С. Электрическая кардиоверсия.

D. Назначение симпатомиметиков. Е. Коррекция электролитного обмена.

Задание 6.

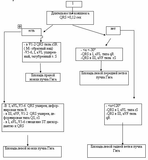
У больного Д., 53 лет, который находится на диспансерном наблюдении по поводу гипертонической болезни, при выполнении ЭКГ выявлены следующие изменения: в V5-V6 высокие уширенные, расщепленные з. R, депрессия сегмента ST, отрицательный з. Т; в V1-V2 комплексы типа QS; длительность QRS 0,14 сек.

Какое нарушение ритма выявили у данного больного? А. Полная блокада левой ножки пучка Гиса. В. Полная блокада правой ножки пучка Гиса.

С. Блокада передней ветви левой ножки пучка Гиса. D. Блокада задней ветви левой ножки пучка Гиса. Е. Внутрипредсердная блокада.

Задание 7.

При выполнении ЭКГ у студентки В., 23 лет, получены следующие данные - ритм синусовый регулярный, ЧСС-64 в мин., ЭОС горизонтально, PQ – 0,22 сек.

Жалоб и изменений со стороны внутренних органов нет.

33

Какая тактика ведения данного пациента? А. Электрокардиостимуляция.

В. Введение атропина.

С. В лечении не нуждается. D. Назначение верапамила. Е. Назначение триметазидина.

Задание 8.

Больная К., 57 лет, жалуется на общую слабость, головокружение, эпизоды потери сознания. На ЭКГ: связь между возбуждением предсердий и желудочков отсутствует (атриовентрикулярная диссоциация), частота сокращения желудочков – 42 в мин., комплексы QRS широкие, деформированные.

Какая наиболее целесообразная тактика ведения данного пациента? А. Направить к кардиохирургу.

В. Госпитализировать в терапевтическое отделение. С. Направить к невропатологу.

D. Амбулаторное наблюдение.

Е. Госпитализировать в кардиологическое отделение.

Эталоны ответов: 1 – С. 2 – D. 3 – В. 4 – C. 5 – B. 6 – A. 7 – C. 8 – A.

Краткие методические указания к работе на практическом занятии

В начале занятия преподаватель проводит определение исходного уровня знаний и умений студентов. Нам основном этапе занятия студенты проводят самостоятельное обследование больных в отделениях, анализируют данные дополнительных лабораторных и инструментальных исследований, разбирают данные, клинических и биохимических анализов крови и мочи, других инструментальных методов диагностики. Формулируют принципы дифференциальной диагностики и диагноз, работают с медицинской документацией, записывают результаты обследования. Преподаватель контролирует ход самостоятельной работы. Затем в учебной комнате преподаватель с группой обсуждают результаты работы с больным. Студенты докладывают историю болезни. Обсуждаются принципы диагностики, лечения и профилактики.

Проводится текущее тестирование по теме занятия. В конце занятия подводятся итоги работы и проводится оценка знаний студентов. Выдается домашнее задание.

Оценивание студентов В соответствии со структурой практического занятия в журнал ежедневно выставляются

оценки за следующие виды деятельности:

1.Работу студента с больным

2.Решение тестовых заданий