Материал: Розрахунок захисту кабельної лінії

Внимание! Если размещение файла нарушает Ваши авторские права, то обязательно сообщите нам

Схеми захисту нульової послідовності кабельних ліній від однофазних замикань на землю будують на основі спеціального трансформатора нульової послідовності типу ТЗЛ. Останній являє собою тороподібне осердя з намотаною на ньому вторинною обмоткою, роль первинної обмотки виконує безпосередньо кабель, пропущений через вікно осердя.

Розрахунок схеми захисту нульової послідовності полягає у визначенні вторинного струму трансформатора ТЗЛ за допомогою графіка його залежності від первинного струму, яким є струм нульової послідовності 3, на числовій осі якого і знаходиться уставка спрацьовування  ( див. рис. А.2 Додатку А). За величиною вторинного струму ТЗЛ вибирають тип захисного реле, струм спрацьовування якого має бути менше від нього. Типи захисних реле для підключення до вторинної обмотки ТЗЛ наведені в табл. А.2 (див. Додаток А)

Перевірка трансформаторів струму (ТС) на 10%-ну похибку полягає у визначенні допустимого опору його навантаження при відомій кратності первинного струму к.з. за графіком рис. А.3 Додатку А. Для цього визначають кратність первинного струму к.з. діленням максимального струму трифазного к.з. на номінальний первинний струм трансформаторів струму, на осі ординат відкладають значення кратності і проводять пряму, паралельну осі абсцис до перетину з графіком. Від точки перетину опускають перпендикуляр на вісь абсцис і таким чином визначають допустимий опір вторинної обмотки трансформаторів струму. Реальний розрахунковий опір визначається як сума опорів котушки реле РТ-85/1 і з‘єднувальних проводів 0,1 Ом, він повинен бути меншим за допустимий.

3.3 Релейна автоматика кабельних ліній

струм замикання автоматика кабельний

На кабельних лініях як релейну автоматику застосовують автоматичне повторне вмикання (АПВ), яке полягає у тому, що після вимикання лінії неоперативним персоналом відбувається одноразове автоматичне повторне вмикання лінії. Якщо лінія при цьому залишається в роботі, таке АПВ називають успішним. Використання АПВ значно підвищує надійність електропостачання, тому необхідне при живленні споживачів 1-ї категорії і рекомендоване при живленні споживачів 2-ї категорії. Спрацьовування АПВ відбувається через 0,5-1,5 сек. після вимикання лінії.

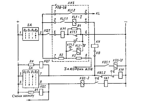
Рис. 3.1 - Схема підключення реле типу РПВ-58

Основним елементом схеми АПВ є комплектне реле типу РПВ-58, схема якого показана на рис 3.1. Схема містить в собі реле часу КТ1 для створення витримки часу від моменту вимкнення вимикача до моменту подачі живлення на електромагніт вмикання, RC- ланку ( R=1,1 кОм, C=20 мкФ), що забезпечує однократність дії АПВ і створює витримку часу для автоматичного повернення схеми реле в початковий стан, проміжне реле KL1 з двома котушками, одна з яких включається паралельно конденсатору С і забезпечує спрацьовування реле, а друга, послідовна, забезпечує утримання якоря реле в притянутому стані після розряду конденсатора С, резистор R1 =1 кОм у колі для зменшення струму через неї після його спрацьовування, що забезпечує термічну стійкість котушки, резистор R3= 510 Ом, через який відбувається розряд конденсатора С у випадку заборони АПВ при ручному вимиканні вимикача оперативним персоналом за допомогою ключа керування SA, проміжні реле KQT, KQS положення вимикача 10 кВ, що контролюють цілісність кіл відповідно вмикання та вимикання.

Схема АПВ працює таким чином. Після вимикання вимикача 10 кВ не від ключа виникає невідповідність між положенням ключа керування SA (положення “ввімкнено”) і положенням вимикача 10 кВ (положення “вимкнено”), при якому змикається розмикаючий блок-контакт у колі живлення котушки контактора КМ. Котушка проміжного реле KQS знеструмлюється через розмикання блок-контакта вимикача 10 кВ, а котушка проміжного реле KQT отримує живлення. Контакт KQT (3-5) змикається і котушка реле часу КТ1 отримує живлення через контакт 1-3 ключа керування SA. З витримкою часу 0,5-1,5 секунди змикається його контакт КТ1.2 і підключає конденсатор С до паралельної котушки проміжного реле KL1. Його контакт KL1.1 (3-4) змикається у колі котушки контактора КМ і послідовної котушки проміжного реле KL1 для утримання реле після розряду конденсатора С. У випадку успішного АПВ, тобто лінія залишається ввімкненою, контакт проміжного реле KQT розмикає пускове коло АПВ. Конденсатор С дешунтується при розмиканні контакту КТ1.2 і починає заряджатися через резистор R2 упродовж 15-20 сек. до готовності для нового спрацьовування реле РПВ-58. При неуспішному АПВ, тобто повторному вимиканні вимикача 10 кВ релейним захистом реле РПВ-58 знову запускається і контакт КТ1.2 знову з витримкою часу 0,5-1,5 сек. підключає конденсатор С до паралельної котушки проміжного реле KL1. Але проміжне реле KL1 не спрацює, тому що конденсатор С не встигне зарядитися до напруги спрацьовування котушки проміжного реле KL1, чим і забезпечується однократність спрацьовування схеми АПВ.

При оперативному вимиканні лінії ключем керування SА схема АПВ не спрацює, тому що розмикається його контакт 1-3. Якщо при оперативному вмиканні лінії ключем керування SА лінія вмикається на стійке коротке замикання, то АПВ не спрацює, тому що вмикання лінії відбувається двома контактами: один ковзаючий (імпульсний), другий стаціонарний. У процесі вмикання ковзаючий (імпульсний) контакт розряджає конденсатор С через резистор R3 і АПВ не спрацює. Багатократне АПВ на стійке коротке замикання можливе у випадку зварювання контактів проміжного реле KL1. Цього не допускає спеціальне проміжне реле KBS, яке має дві котушки: напруги (паралельну) і струмову (послідовну). Якщо контакт проміжного реле KL1 постійно замкнутий або постійно замкнутий ковзаючий (імпульсний) контакт 5-7 ключа керування SА, то при спрацьовуванні релейного захисту у випадку короткого замикання струмова котушка проміжного реле KBS спрацює і його контакт поставить котушку напруги проміжного реле KBS на саможивлення. При цьому розмикаючий контакт реле KBS розмикає коло живлення котушки контактора КМ, який вмикає коло живлення котушки електромагніта вмикання YAC. Для повторного вмикання вимикача треба ключ керування SА повернути у положення “вимкнено”, при цьому розмикається коло живлення котушки напруги проміжного реле KBS і готується коло для успішного вмикання вимикача.

Автоматичне частотне розвантаження (АЧР) і автоматичне повторне вмикання після спрацьовування АЧР, яке називають частотне автоматичне повторне вмикання (ЧАПВ) застосовують для підвищення надійності роботи енергосистеми шляхом відключення частини споживачів 3-ї категорії за надійністю електропостачання при дефіциті активної потужності в енергосистемі. При дефіциті активної потужності знижується значення частоти струму. Небезпечним значенням частоти струму, при якому порушується паралельна робота генераторів електростанцій і відбувається значне зниження напруги, є величина 45,5 Гц.

При організації автоматичного частотного розвантаження (АЧР) утворюється черга споживачів на відключення залежно від їх категорії за надійністю електропостачання. Перша черга споживачів - при частоті 48 Гц, друга черга споживачів - при частоті 47,5 Гц, третя черга споживачів - при частоті 47 Гц і т.д.

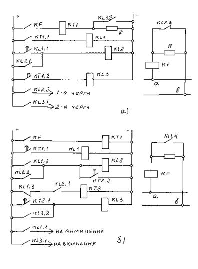
Рис. 3.2 - Схеми АЧР та ЧАПВ

Для прискорення відновлення електропостачання споживачів вимкнених АЧР застосовують частотне автоматичне повторне вмикання (ЧАПВ), яке спрацьовує після відновлення нормального рівня частоти і дає команду на підключення електропостачання споживачів через 10 -20 сек. Схемна реалізація АЧР і ЧАПВ має багато варіантів, один з яких показаний на рис. 3.2. При цьому використовують реле частоти з різним принципом дії. Для побудови АЧР з великим числом черг застосовують кілька реле частоти, оскільки число уставок ступенів одного реле частоти обмежене. Для розширення можливостей одного реле частоти використовують схеми перемикання уставок спрацьовування реле. Розглянемо одну з таких схем. Схема АЧР передбачає використання одного реле частоти KF, уставка спрацьовування реле змінюється на меншу частоту при зниженні напруги мережі. При зниженні частоти в мережі реле частоти KF спрацьовує, коли частота досягає значення першої уставки спрацьовування реле. Реле частоти KF запускає реле часу КТ, миттєвий контакт реле часу КТ подає напругу на котушку проміжного реле KL1 і воно спрацьовує. Своїм контактом проміжне реле KL1 вмикає проміжне реле KL2, яке стає на саможивлення за допомогою контакту KL2.1. Контакти реле KL2.2 вимикають першу чергу споживачів, а контакти реле KL2.3 змінюють уставку спрацьовування реле на меншу частоту, включаючи резистор в коло живлення котушки реле. При цьому всі реле повертаються у початковий стан. При подальшому зниженні частоти в мережі реле частоти KF спрацьовує на другій уставці і знову спрацюють вищезгадані реле. Після замикання контактів реле часу КТ2.1 з найбільшою витримкою часу спрацьовує реле KL3 і своїми контактами відключає другу чергу споживачів.

Як зазначалося вище, важливо не тільки відключити споживачів при зниженні частоти, а й відновити їх живлення при поверненні частоти до нормального рівня. Для цього використовують частотне автоматичне повторне вмикання (ЧАПВ), яке спрацьовує після відновлення нормального рівня частоти і дає команду на підключення електропостачання споживачів через 10 -20 сек. Схемна реалізація АЧР і ЧАПВ має багато варіантів, один з яких показаний на рис. 3.2. При цьому використовують реле частоти з різним принципом дії. Схема передбачає роботу в одну чергу. Спрацьовування реле частоти KF при заданому рівні зниження частоти забезпечує вмикання реле часу КТ1, яке, в свою чергу, запустить своїми контактами КТ1.1 проміжне реле KL1 і відімкне споживачів. Реле KL1 виконує ряд допоміжних операцій: контакти KL1.2 забезпечують спрацьовування реле KL2, яке стає на саможивлення через контакти KL2.2; контакти KL1.2 розмикають коло реле часу КТ2, підготовляючи його до подальшої роботи; контакти KL1.4 змінюють уставку спрацьовування реле частоти KF в сторону підвищення.

При зростанні частоти реле KF, реле часу КТ1 і проміжне реле KL1 повертаються у початковий стан, оскільки контакти реле KF розімкнуться. При цьому збирається коло живлення реле часу КТ2, бо контакти KL2.1 ще будуть замкнуті. Реле часу КТ2 відліковує витримку часу, своїми контактами КТ2.1 вмикає проміжне реле KL3 і дає команду на вмикання споживачів під напругу. Контакти Реле часу КТ2.2 з максимальною витримкою часу закорочують котушку реле KL2 і його якір відпадає. Розмикається коло живлення котушки реле часу КТ2 і схема повертається у початковий стан.

Список літератури


1.Правила устройства электроустановок/Минэнерго СССР/. - М.: Энергоатомиздат, 1986.

.Белоруссов Н.И. и др. Электрические кабели, провода и шнуры: Справочник. - М.: Энергоатомиздат, 1988.

.Андреев В.А. Релейная защита и автоматика систем электроснабжения. - М.: Высш. шк.,1991.

.Шабад М.А. Расчеты релейной защиты и автоматики распределительных сетей. - Л.: Энергия, 1972.

.Федосеев А.М. Релейная защита электрических систем. - М.: Энергия, 1976.

.Релейний захист і автоматика в системах електропостачання. /Говоров П.П. та ін. - К., 1996.