Оглавление
1. Введение
1.1 Постановка задачи
1.2 Актуальность
1.3 Новизна
2. Обзор микронасосов
2.1 Выбор класса микронасоса
2.2 Обзор аналогов
2.3 Проектирование и конструирование пьезоэлектрического насоса для микрожидкостного устройства" Ким Х. и др. [3]
2.4 Схемное решение
3. Моделирование перистальтического пьезонасоса
3.1 Теория обратного пьезоэффекта
3.2 Аналитическое описание работы насоса
3.3 Численные расчеты толщин элементов
3.3.1 Работа с теоретическим диапазоном
3.3.2 Работа с реальным диапазоном
4. Создание действующего макета
4.1 Испытания элементов насоса
4.1.1 Измерение резонансных частот
4.1.2 Измерение ВАХ пьезоэлементов
4.1.3 Испытание юниморфа на деформацию
4.2 Испытания макета насоса
4.2.1 Испытание микронасоса на выходное давление
4.2.2 Измерение АЧХ пьезоэлементов
5. Заключение
Список использованной литературы
Работа выполнена в ФГБНУ "НИИ ПМТ" в рамках ФЦП минестерства образования и науки РФ по теме "Разработка линейки прецизионных пьезоэлектрических микронасосов точного дозирования с низким энергопотреблением для перекачки медицинских жидкостей малого объема".
Цель работы: разработать макет миниатюрного пьезонасоса и провести его испытание, разработать рекомендации по улучшению его функиональных параметров.
В соответствии с целью работы были поставлены задачи, выполнение которых приведет к достижению данной цели. Таковыми являются: выбор класса микронасоса и изучение аналогов, изучение теории принципа работы и создание математической модели для расчёта, аналитические и численные эксперименты, включающие расчет параметров элементов насоса, конструкционный расчет посадки рабочих элементов насоса в корпус, создание макета и подбор оптимального режима работы, подготовка документации, необходимой для производства рабочей модели насоса.
Проблема непрерывного перемещения жидкости с заданной производительностью актуальна для создания микронасосов точного дозирования. В настоящее время микронасосы находят применение в широком спектре областей: медицине и космонавтике - как элементы инфузионных систем питания и кровообращения; в биотехнологиях, генной инженерии и биохимии - для точного дозирования препаратов; в микроэлектронике, нанотехнологиях и микрохирургии - в устройствах вакуумного сопровождения технологических операций; в технике - инжекторы дозированного впрыска красящих, топливных, смазочных жидкостей.
Непосредственно данная разработка призвана способствовать медицинским процессам дозирования препаратов (откачка, транспортирование, инвазия) в лабораторных условиях, в процессе операций, стационарно и мобильно.
В данной работе применены новые специально разработанные методики и программное обеспечение, построенное на их основе.
Проведена оптимизация рабочего объёма по геометрическим параметрам деформируемых камер микронасоса.
Разработаны рекомендации для подбора толщин слоёв двухслойных камер с конкретными материалами подложек.
микронасос перистальтический пьезоэлектрический насос
Для выбора класса микронасоса был проведен сравнительный анализ таковых. Согласно исследованным литературным источникам и проведенным патентным поиском, в основе конструкций разрабатываемых микронасосов лежат шприцевые, мембранные с клапанами, перистальтические с импульсным возбуждением и другие модели, построенные на различных физических и химических принципах, описаны такие важные пункты как сферы применения микронасосов (на сегодняшний момент и перспективные) и классификация насосов с указанием места микронасосов в ней. Можно сказать, что пока нет насосов с плунжерным и реактивным принципом действия [1].
Тем не менее многие из предлагаемых конструкций микронасосов не могут удовлетворять медицинским требованиям, а некоторые конструкции насосов отличаются значительной сложностью и большими массогабаритными характеристиками.
Близкими к предлагаемой тематике исследований являются механические микронасосы, использующие колебательное движение упругих элементов для перекачивания жидкости. Мембраны и клапаны могут приводиться в движение термически (термопневматические насосы), электростатически, магнитным полем и за счет пьезоэлектрического эффекта.
На рисунке 2.1 показаны диаграммы производительности и
величины обратного давления в микронасосах с различными приводами [1].
Рисунок 2.1 а) - Диапазоны производительности на единицу
площади выходного отверстия для различных видов микронасосов б) - Диапазоны
обратного давления для различных видов микронасосов
Как можно видеть, наиболее широким диапазоном производительности на единицу площади выходного отверстия и обратного давления обладают микронасосы с пьезоэлектрическим приводом. Производительность пьезонасоса составляет от 0,015 до 90,28 мл/мин при площади выходного отверстия 1 мм2. Такие насосы обеспечивают работу при обратном давлении от 0,12 до 200 кПа.
В работе [2] дан обзор разрабатываемых микронасосов более чем
46 авторами. В основе их лежит механический принцип построения конструкций,
большинство из которых имеют пьезоэлектрический привод. На рисунке 2.2
приведена схема работы микронасоса квазиперистальтического типа.
Рисунок 2.2 - Схема работы квазиперистальтического
микронасоса
Рабочие камеры сформированы двумя стеклянными пластинами. На верхней пластине закреплены три пьезоэлемента (ПЭ). Система каналов и псевдоклапанов образована травлением во внутренней кремниевой пластине. Под действием переменного напряжения на ПЭ камеры последовательно изгибаются, перенося объем жидкости из левой (на верхнем рисунке) в крайнюю правую (на рисунке внизу). Отличие таких конструкций состоит в том, что в них нет клапанов как отдельных узлов, роль клапанов выполняют верхняя и средняя пластины, смыкаясь в определённых зонах рабочей камеры.
Разрабатываемые нами микронасосы используют перистальтический принцип перемещения жидкостей или газов, близкий к естественному биологическому способу работы пищевода, кишечника, мочеточников и др. в живых организмах. Перемещение содержимого происходит за счёт волнообразного сокращения стенок полых трубчатых каналов.
Преимущества создаваемых нами пьезоэлектрических микронасосов заключаются в следующем. Это - точность дозирования, малые габариты, низкое энергопотребление, отсутствие клапанов и трущихся деталей, простота изготовления, возможность массового производства, бесшумность работы, экологическая чистота, непрерывность подачи жидкостей различной вязкости или газа, сохранность свойств перекачиваемого вещества, регулируемые давление и производительность, возможность использования в вакуумных системах.
Непосредственно данная работа призвана создать оптимизированные камеры, последовательная линейка которых образует собственно насос. Крайне важно создать камеру, которая будет обеспечивать максимальную эффективность и будет отвечать ряду требований, таких как безопасность, функциональность, стабильность, надёжность, экономичность по материалам и энергозатратам.
"Миниатюрный пьезоэлектрический перистальтический насос", Бар-Кохен Йозеф и Зеншеу Чанг [2]
Данная работа оказалась крайне полезной для понимания перистальтического движения, его создания и контроля. Разработанный авторами микронасос лёг в основу нашей разработки. Забегая вперед можно сказать что мы не используем резонансные частоты и работаем в квазистатической системе, однако схожесть конструкции и движение, которое создается в насосе близки к разрабатываемому нами насосу.
Рассматривая принцип работы пьезоэлектрического двигателя,
легко видеть формирование многократных камер между гребнями бегущей волны. Эти
камеры предлагают платформу для транспортировки полученного газа или жидкости в
направлении волнового распространения. Принцип работы нашего пьезонасоса
основан на использовании этих многократных камер, как показано схематично на рисунке
2.3 Чтобы иллюстрировать насосное действие, можно разработать насос, основанный
на двух синхронизируемых компенсационных статорах, которые служат стационарными
элементами диска, которые возбуждены индивидуально пьезоэлектрическими
приводами (рисунок 2.4). Волна перемещается синхронно в области прикосновения и
формирует многократные камеры, которые заполнены требуемым газом или жидкостью.
Камеры созданы, закрыты и перемещаются в закручивающемся движении, которое
может быть описано как эффект сжатия. Это перистальтическое синхронизируемое
действие волны не связано ни с какими физически подвижными частями и является
лишенным трения.
Рисунок 2.3 - Принцип действия предложенного
пьезоэлектрического насоса
Открытие каждой движущейся камеры между этими двумя статорами определяет объемы камер. Важная особенность пьезонасоса - устранение потребности в клапанах или других компонентов, которые могут вызвать изнашивание. Накачанные жидкости или газы текут вдоль направленной волны. Многократные камеры сформированы между двумя синхронно приводимыми в действие статорами, которые прижаты друг к другу (как правило, проводимый на уровне давления, по крайней мере, 1-2 кПа), чтобы произвести плотно запечатанное пространство. Эти сложные поверхности насоса закрывают поток, когда насос выключен, совершая автоблокировку, аналогично клапану.
Моделирование статора, который служит основанием для
пьезонасоса, было очень успешно. Кроме того, модальный анализ показал
превосходное соглашение между прикидочной и расчетной частотой резонанса
статора.
Рисунок 2.4 - Представление теоретического предсказания
частотной характеристики статора, который приведен в движение
пьезоэлектрическим приводом в режиме 4ой моды (слева) и экспериментальное
подтверждение с использованием интерферометрии.
Основанные на новом механизме перемещения объема, с использованием
упругой бегущей волны, и на результатах моделирования МКЭ, авторы разработали и
изготовили статор насоса и пластину изоляции из плексигласа. Пьезоэлектрическое
кольцо было прикреплено к металлическому кольцу, чтобы сформировать статор
диска насоса, пластмассовый "гид" жидкости, а силиконовая резина
использовались для герметизации канала жидкости в пределах камер насоса.
Рисунок 2.5 - Слева показаны сечение и вид сбоку металлического кольца, справа - показан эскиз пьезоэлектрического кольца с последовательностью полярности для активирования 4-й моды колебаний.
Рисунок 2.6 - Компоненты макета пьезонасоса
Выводы:
Пьезонасос, который был разработан как двигатель бегущей волной, имеет пьезоэлектрическое кольцо соединённое со статором насоса, чтобы вызвать упругие волны, бегущие вдоль металлического кольца статора. Пространство между пиками волны использовано, чтобы перистальтическим образом переместить воду вдоль волны. Части насоса были произведены, собраны, и проверены, чтобы продемонстрировать работоспособность и возможность осуществления концепции пьезонасоса. В настоящее время насос качает со скоростью 3 мл в минуту с уровнем давления 1100 Па.
Группа инженеров во главе с профессором Ким Х. разрабатывала и совершенствовала насос собственной оригинальной конструкции, что было описано в двух статьях. Данная статья примечательна данным в ней теоретическим описанием.
Предлагаемый насос, используя несложные операции, работает как вытеснительный механизм на основе перистальтического движения бегущей волны без физического перемещения клапанов. Впрочем, этот пьезонасос представляет радикальное решение, основанный на эксплуатации пьезоэлектрического двигателя. Схемное решение представлено на рисунке 2.7
Рисунок 2.7 Принцип перистальтического движения бегущей волны
для предлагаемого пьезоэлектрического насоса.
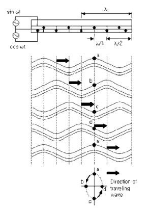
Пьезоэлектрическая пластина способна создавать стоячие волны высокой частоты. Пластины электрически сегментированы таким образом, что смежные сегменты поляризованы в противоположных направлениях. Упругое тело, на котором закреплены пьезоэлерические пластины, берет на себя роль статора в пьезоактюаторе. В результате подачи постоянного напряжения на пластину, изгибается упругое тело в форме положительной синусоидальной волны. Если полярность напряжения изменить на противоположное, то изгиб упругого тела произойдет в противоположном направлении образуя отрицательная синусоида. Следовательно, стоячая волна генерирует непрерывное сгибание упругого тела взад и вперед приложением переменного сигнала. Полная волны определяется двумя сегментами.
Если есть четыре поляризованных сегмента, будет две стоячих
волны, находящиеся в фазе друг с другом. Стоячие волны могут быть объединены
для получения бегущих волн. Две сегментированных пьезоэлектрических пластины,
каждая с приводом от сети переменного тока с сигналом одинаковой частоты,
установлены таким образом, что сегменты одного смещены на половину сегмента по
отношению к другому. С двух сегментов получаем полную длину волны, а смещение
на половину сегмента вызывает стоячие волны одного элемента для перевода одной
четверти длины волны в противофазе со стоячими волнами другой. Адаптер
переменного сигнала подает на одну пластину синусоидальный сигнал, а на другую
пластину косинусную волну. Поэтому управляющие сигналы вызывают волны на
четверть длины волны вне фазы во времени. В результате этих сигналов,
комбинация двух стоячих волн с той же частотой, которые находятся в
пространственном и временном отношении одной четверти длины волны вне фазы
производит бегущую волну. Уравнение (2.1) представляет собой бегущую вправо
волну, как показано на рис. 2.8:
![]()
(2.1)
Рисунок 2.8 - Процесс бегущей волны и эллиптического движения
На ATILA-моделировании (рисунок 2.9) выполняется оценка рабочей
частоты, колебательно-волновой режим, и оптимизация конструкции пьезонасоса,
такие как структура насоса, упругие материалы, пьезокерамики и Z-смещение
упругой бегущей волны.


Рисунок 2.9 - ATILA-симуляции работы пьезонасоса с различными
модами колебания. (a) 3 я мода волны (b) 4я мода волны. (c) 5я мода волны.
Максимальное измеренное значение скорости прокачки составляет около 118 мкл/мин при следующих параметрах: 4-я мода колебаний, рабочая частота 50 кГц и пиковым напряжением 200 В.
На основе данных статей была создана схема насоса, который будет иметь свойства двух классов микронасосов: динамических и возвратно-поступательных. Статья-обзор D J Laser и J G Santiago дала возможность провести выбор класса и принцип работы, а труды Бар-Кохен Йозефа, Зеншеу Чанга и Ким Х. дали детальое описание как работать с волновой деформацией, создавая истинно перестальтическое движение. От динамических насосов будет взят принцеп неприрывности и плавности подачи перекачиваемой жидкости, от возвратнопоступательных - тип дваижения пьезоэлементов и присущее этому классу высокое давление на выходе.
Схема насоса, представленная на рискнке 2.10, состоит из
юниморфа (подложкии с ПЭ) и эластометного корпуса. данная конструкция обеспечит
плную гермитичность, и высокую производительность, выходное давление, и,
благодаря применению пьезокераки с высоким пьезомодулем поперечного отклика,
малую потребляемую мощность.