Котел оборудован устройствами и приборами, обеспечивающими безопасную работу котельного агрегата и позволяющими безотказно и быстро производить пуск, остановку и регулирование его работы. За нормальной эксплуатацией котельного агрегата необходимо наблюдать и контролировать происходящие в нем процессы. Для этого применяют различные контрольно-измерительные приборы. Изменение давления в котельном агрегате или отклонение уровня воды в барабане за допустимые пределы может вызвать аварийную ситуацию, связанную с непосредственной опасностью для обслуживающего персонала. Поэтому, согласно правилам, на паровом котле для непосредственного наблюдения и контроля за давлением и уровнем воды в барабане установлены манометр, водоуказательные приборы и предохранительные устройства.
Предохранительная арматура служит для ограничения движения, расхода и направления движения среды. К ней относятся: предохранительные клапаны на питательных линиях, автоматические быстрозапорные клапаны на паропроводах, обратные клапаны. Обратные клапаны пропускают среду только в одном направлении и автоматически закрываются при обратном ее движении. Устанавливают их на входе питательной воды в парогенератор для исключения возможности ее обратного движения из котла при падении давления в питательном трубопроводе. Обратные клапаны устанавливают также на напорных патрубках питательных насосов для предотвращения обратного движении воды при остановке последних.
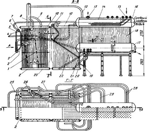
Питательная вода по питательным трубопроводам 15
поступает в верхний барабан 16, где смешивается с котловой водой. Из верхнего
барабана по последним рядам труб конвективного пучка 18 вода опускается в
нижний барабан 17, откуда по подпиточным трубам 21 направляется в циклоны 8. Из
циклонов по опускным трубам 26 вода подается к нижним камерам 24 боковых
экранов 22 второй ступени испарения, пароводяная смесь поднимается в верхние
камеры 10 этих экранов, откуда поступает по трубам 9 в выносные циклоны 8, в
которых разделяется на пар и воду. Вода по трубам 31 опускается в нижние камеры
20 экранов, отсепарированный пар по перепускным трубам 12 отводится в верхний
барабан. Циклоны соединены между собой перепускной трубой 25.
Рис. 1 Общая схема циркуляции воды в котле ДКВР-20-13
1 - вторая ступень испарения; 2 - фронтовой
экран; 3 - камера; 4 - непрерывная продувка; 5 - рециркуляционные трубы; 6 -
перепускная труба из верхнего коллектора в барабан; 7, 10, 11 - верхние камеры;
8 - выносные циклоны; 9 - перепускные трубы из верхней камеры в выносной
циклон; 12 - перепускные трубы из выносного циклона в барабан; 13 - патрубок
отвода пара; 14 - сепарационное устройство; 15 - питательные линии; 16 -
верхний барабан; 17 - нижний барабан; 18 - конвективный пучок; 19, 20, 23, 24 -
нижние камеры; 21 - подпиточные трубы; 22 - боковые экраны; 25 - перепускная
труба; 26 - опускные трубы; 27, 29, 30, 31 - перепускные трубы; 28 -
пароотводящие трубы.
Экраны первой ступени испарения питаются из нижнего барабана.
В нижние камеры 20 боковых экранов 22 вода поступает по соединительным трубам 30, в нижнюю камеру 19 заднего экрана по другим трубам. Фронтовой экран 2 питается из верхнего барабана - вода поступает в нижнюю камеру 3 по опускным трубам 27.
Пароводяная смесь отводится в верхний барабан из
верхних камер 10 боковых экранов первой ступени испарения по пароотводящим
трубам 28, из верхней камеры 11 заднего экрана трубами 29, из верхней камеры 7
фронтового экрана трубами 6. Фронтовой экран имеет рециркуляционные трубы 5.
2.1 Топка. Выбор топочного устройства. Описание
топочного устройства и топочного объема
Топка - устройство, предназначенное для сжигания топлива с целью получения теплоты. Топка выполняет функцию горения и теплообменного аппарата - теплота излучением и конвекцией одновременно передается от факела горения и продуктов сгорания к экранным поверхностям, по которым циркулирует вода. Доля лучистого теплообмена в топке, где температура топочных газов порядка 1000°С, больше чем конвективного, поэтому, чаще всего, поверхности нагрева в топке называют радиационными.
Топочные устройства в зависимости от способа сжигания делятся на камерные и слоевые. Выбор способа сжигания и типа топочного устройства определяется видом топлива, его реакционными свойствами и физико-химическими свойствами золы, а также производительностью и конструкцией котла.
Топочное устройство должно обеспечивать экономичность работы котла в необходимых пределах регулирования нагрузки, бесшлаковую работу поверхностей нагрева, отсутствие газовой коррозии экранных труб, минимальное содержание окислов азота и сернистых соединений в уходящих газах.
Для сжигания природного газа, мазута и пылевидного твердого топлива обычно используют камерные топки. В конструкции камерной топки можно выделить четыре основных элемента: топочную камеру, экранную поверхность, горелочное устройство и систему удаления шлака и золы.
Обмуровкой называют ограждения, отделяющие топочную камеру и газоходы котельного агрегата от внешней среды. Обмуровку выполняют из красного или диатомового кирпича, огнеупорного материала или из металлических щитов с огнеупорами. Внутренняя часть обмуровки в топке, или футеровка, со стороны топочных газов и шлаков, выполняется из огнеупорных материалов: шамотного кирпича, шамотобетона и других огнеупорных масс. Обмуровка и футеровка должны быть достаточно плотными, особо высокоогнеупорными, стойкими к химическому воздействию шлаков и иметь малый коэффициент теплопроводности. Несмотря на более высокую стоимость шамотного кирпича или другого огнеупорного материала по сравнению с обычным красным кирпичом, все эксплуатационные расходы покроют капитальные, благодаря высоким теплофизическим свойствам, а также высокой стойкостью к продуктам сгорания.
Экранная радиационная поверхность нагрева выполнена из стальных труб. Экраны воспринимают теплоту за счет радиации и конвекции и передают ее воде или пароводяной смеси, циркулирующим по трубам. Экраны защищают обмуровку от мощных тепловых потоков.
В камерных топках котлов паропроизводительностью
до 25 т/ч сжигается газообразное топливо и мазут.
Таблица №1. Расчетные характеристики топки
№
Наименование
величин
Обозначение
Размерность
Величина
1
Видимое
теплонапряжение зеркала горения
2
Видимое
теплонапряжение топочного объема
3
Коэффициент
избытка воздуха в топке
αт
-
1,15
4
Потеря
тепла от химнедожога
q3
%
1,5
5
Потеря
тепла от мехнедожога
q4
%
-
6
Содержание
горючих в шлаке и провале
Гшл+пр
%
-
7
Содержание
горючих в уносе
Гун
%
-
8
Доля
золы топлива в шлаке и провале
ашл+пр
-
-
9
Доля
золы топлива в уносе
аун
-
-
10
Давление
воздуха под решеткой
Рв
мм
вод. ст.
-
11
Температура
дутьевого воздуха
tв
оС
-
Коэффициент избытка воздуха на выходе из топки
принимаем из таблицы «Расчетные характеристики камерной топки» (РН 5-02, РН
5-03[6]).
Коэффициент избытка воздуха для других участков
газового тракта получаются путем прибавления к αт
присосов воздуха принимаемых по [6], РН 4-06.
Для выполнения теплового расчета газовый тракт
котельного агрегата делят на самостоятельные участки: топочную камеру,
конвективные испарительные пучки и экономайзер.
Таблица №2. Средние характеристики продуктов
сгорания в поверхностях нагрева котла
№ Наименование величин Размерность V V V Топка
Конвективные
пучки
Экономайзер
1
Коэффициент
избытка воздуха перед газоходом α’
-
1,15
1,20
1,25
2
Коэффициент
избытка воздуха за газоходом α”
-
1,20
1,25
1,35
3
Коэффициент
избытка воздуха (средний) α
-
1,175
1,225
1,30
4
V 5
Vг=V 6
r 7
r 8
rг=r Энтальпия газов, представляющая собой
произведение объема газов на их теплоемкость и температуру, возрастает с
повышением температуры.
При вычислении I-θ таблицы
рекомендуется для каждого значения коэффициента избытка воздуха α определить
величину Результаты вычислений сводятся в
таблицу 3.
По расчетным данным таблицы 3 строится диаграмма
I-θ продуктов
сгорания.
Таблица №3. Тепловой баланс и расход топлива
№
Наименование
величины
Обозначение
Расчетная
формула, способ определения
Размерность
Расчет
1 Располагаемое тепло
топлива Q Q 2
Температура
уходящих газов
θ
ух
По
приложению IV [6]
оС
180
3
Энтальпия
уходящих газов
Iух
Из
диаграммы I-θ при
θ
ух
ккал/кг
843,29
4
Температура
холодного воздуха
tхв
Согласно
заданию
оС
25
5
Энтальпия
холодного воздуха
Iхв
Iхв= 6
Потери
тепла от мех. недожога
q4
По
характеристикам топки
%
-
7
Потери
тепла от хим. недожога
q3
По
характеристикам топки
%
1,5
8 Потеря тепла с
уходящими газами Q2 q2 Q2=(Iух- %711,8
6,3289
9
Потеря
тепла в окружающ. среду
q5
По
РН 5-01 [6]
%
1,3
10
Коэффициент
сохранения тепла
φ
φ=1- 11 Потеря тепла с
физическим теплом шлаков q6 q6= где: ашл - по расчетным
характеристикам топки;
(с∙θ)шл
- энтальпия шлака, при tшл=600оС
по РН4-04 [6] (с∙θ)шл=133,8
ккал/кг%-
12
Сумма
потерь тепла
Σq
Σq=q2+q3+q4+q5+q6,
при сжигании газа и мазута q4=0;
q6=0
%
9,1289
13
К.П.Д.
котлоагрегата
ηка
ηка=100-Σq
%
90,87
14
Энтальпия
насыщенного пара
i''нп
Из
термодинамических таблиц согласно Рнп (приложение V
[6])
ккал/кг
666,2
15
Энтальпия
питательной воды
i'пв
Из
термодинамических таблиц согласно t'пв
(приложение V [6])
ккал/кг
80,524
16
Тепло,
полезно использованное в котлоагрегате
Qка
Без
пароперегревателя Qка=D·(i''нп-
i'пв)
ккал/час
11713520
17
Полный
расход топлива
В
В= 16 Расчетный расход
топлива Вр Вр=В· Вр=Вкг/час1146,222
Таблица №4. Тепловой расчет топки
Наименование
величины
Обозначение
Расчетная
формула или способ определения
Размерность
Расчет
Объем
топочной камеры
Vт
По
данным приложения I [6]
м3
42,5
Полная
луче-воспринимающая поверх. нагрева
Нл
По
данным приложения I [6]
м2
65
Поверхность
стен
Fст
Fст=6 Степень
экранирования топки
ψ'
для
камерных топок
для
слоевых топок
-
0,912
ψ'= Площадь
зерк. гор.
Rзг
По
приложению III [6]
м2
-
Поправочный
коэффициент
β
По
приложению VI [6]
-
1,0
Эффективная
толщина излучающего слоя
S
S=3,6· 2,15
Абсолютное
давление газов в топке
р
Принимается
р=1,0
ата
1,0
Температура
газов на выходе из топки
θ”т
Принимается
предварительно по приложению VII
[6]
оС
1000
Коэффициент ослабления лучей в
пламени k Для светящегося
пламени: k=1,6· Для несветящегося
пламени:
k=kг·(р где: kг -
коэффициент ослабления лучей трехатомными газами, определяемый по номограмме IX [6].
Для полусветящегося
пламени:
k=kг·(p где kn -
коэффициент ослабления лучей золовыми частицами,
определяемый по номограмме Х [6];
µ-
концентрация золы в дымовых газах, г/нм -0,192
Произведение k·p·s
-
0,413
Степень
черноты топочной среды
а
Принимается
по номограмме ХI
[6]
-
0,33
Эффективная
степень черноты факела
аф
β·а
-
0,33
Условный
коэффициент загрязнения
ζ
По
РН 6-02 [6]
-
1,0
Произведение
ψ'·ζ
ψ'·ζ
-
0,912
Параметр,
учиты-вающий влияние излучения горящего слоя
ρ
ρ= Степень черноты топки ат Для
слоевых топок: ат= Для камерных топок:
ат= Присос
холодного воздуха в топку
Δαт
По
РН 4-06 [6]
-
0,05
Коэффициент
избытка воздуха, организованно поданного в топку
αт
αт=αт -
1,15
Температура
горячего воздуха
tгв
Принимается
согласно расчетным характеристикам топки
оС
-
Энтальпия
горячего воздуха
Iгв
Iгв=αт·Vo·(c∙θ)гв
ккал/кг
-
Энтальпия
холодного воздуха
Iхв
При
отсутствии подогрева воздуха Iхв=αт·Vo·(c∙θ)хв
при наличии подогрева воздуха Iхв=Δαт·Vo·(c∙θ)хв
ккал/кг
85,583
Тепло,
вносимое воздухом в топку
Qв
При
отсутствии подогрева воздуха Qв=Iхв
при наличии подогрева воздуха Qв=Iхв+Iгв=
=Δαт·Vo·(c∙θ)хв+αт·Vo·(c∙θ)гв
ккал/кг
85,583
Тепловыделение
в топке на 1кг (1нм3) топлива
Qт
Qт=Q Теоретическая
(адиабатическая) температура горения
Qа
По
I-θ
диаграмме согласно величине Qт
оС
2205
Тепловыделение
на 1 м2 поверхности нагрева
-
Температура
газов на выходе из топки
Qт˝
По номограмме I
[6]
оС
1160
Энтальпия
газов на выходе из топки
Iт˝
По
I-θ
диаграмме
согласно величине Qт˝
ккал/кг
5561,6
Тепло,
переданное излучением в топке
Qл
Qл=φ·(Qт-Iт˝)
ккал/кг
5529,2
Тепловая
нагрузка лучевоспринимающей поверхности нагрева топки
-
Видимое
тепло-напряжение топочного объема
-
Приращение
энтальпии воды в топке
∆iт
∆iт= .2 Конвективные пучки. Общее описание
конвективных пучков
Èñïàðèòåëüíàÿ
ïîâåðõíîñòü íàãðåâà
âåðòèêàëüíî-âîäîòðóáíûõ
êîòåëüíûõ àãðåãàòîâ
ñîñòîÿò èç ðàçâèòîãî
ïó÷êà êèïÿòèëüíûõ
òðóá âàëüöîâàííûõ
â âåðõíèé è íèæíèé
áàðàáàíû, òîïî÷íûõ
ýêðàíîâ ïèòàåìûõ
âîäîé èç êîòåëüíûõ
áàðàáàíîâ ÷åðåç
îïóñêíûå è ñîåäèíèòåëüíûå
òðóáû èç êîëëåêòîðîâ.
Êîëëåêòîð âûïîëíåí
èç òðóá äèàìåòðîì
äî 219 ìì, ýêðàííûå
òðóáû ïðèñîåäèíåíû
ê íèì ñâàðêîé.
Êàê ïðàâèëî, êîòåë
ÄÊÂð èìååò òðè
öèðêóëÿöèîííûõ
êîíòóðà: îäèí,
îáðàçóåìûé êèïÿòèëüíûìè
òðóáàìè êîòëà,
è äâà, îáðàçóåìûå
ýêðàíàìè. ×àñòü
ïèòàòåëüíîé
âîäû, ïîñòóïàþùåé
â âåðõíèé áàðàáàí
êîòëà ïî ãðóïïå
êèïÿòèëüíûõ òðóá,
ÿâëÿþùèõñÿ îïóñêíûìè,
ïðîõîäèò â íèæíèé
áàðàáàí. Çäåñü
âîäà ðàçäåëÿåòñÿ
íà 3 ïîòîêà: îäèí
èç íèõ ïî ãðóïïå
êèïÿòèëüíûõ òðóá,
ÿâëÿþùèõñÿ ïîäúåìíûìè,
âîçâðàùàåòñÿ
â âåðõíèé áàðàáàí
â âèäå ïàðîâîäÿíîé
ñìåñè, à äâà äðóãèõ
ïî ñîåäèíèòåëüíûì
òðóáàì ïðîõîäÿò
â íèæíèå êîëëåêòîðû
ýêðàíîâ, çàòåì
â ýêðàííûå òðóáû
è, íàêîíåö, òàêæå
â âèäå ïàðîâîäÿíîé
ñìåñè, â âåðõíèé
áàðàáàí êîòëà.
Äðóãàÿ ÷àñòü
ïèòàòåëüíîé
âîäû, ïîñòóïàþùåé
â êîòåë, èç âåðõíåãî
áàðàáàíà ïî îïóñêíûì
òðóáàì òàêæå
ïîñòóïàåò â êîëëåêòîð.
Äëÿ îáåñïå÷åíèÿ
íàäåæíîé ðàáîòû
è ðàñ÷åòíîé ïðîèçâîäèòåëüíîñòè
êîòåëüíîãî àãðåãàòà
áîëüøîå çíà÷åíèå
èìååò ïðàâèëüíàÿ
îðãàíèçàöèÿ
äâèæåíèÿ âîäû
â èñïàðèòåëüíûõ
ïîâåðõíîñòÿõ
íàãðåâà. Íàäåæíàÿ
ðàáîòà ìîæåò
áûòü îáåñïå÷åíà
â òîì ñëó÷àå, êîãäà
âîäà, äâèæóùàÿñÿ
â êèïÿòèëüíûõ
è ýêðàííûõ òðóáàõ
ðàáîòàþùèõ ïðè
ïîâûøåííîé òåìïåðàòóðå,
ñîçäàåò íåîáõîäèìîå
îõëàæäåíèå ìåòàëëà
ýòèõ òðóá, òàê
êàê ñíèæåíèå
ìåõàíè÷åñêîé
ïðî÷íîñòè ìåòàëëà
ïðè ïîâûøåíèè
òåìïåðàòóðû ìîæåò
ïðèâåñòè ê èõ
ðàçðóøåíèþ.
Ñëåäóåò
îòìåòèòü, ÷òî
åñòåñòâåííàÿ
öèðêóëÿöèÿ â êèïÿòèëüíûõ
è ýêðàííûõ òðóáàõ
ïðîèñõîäèò ïîä
äåéñòâèåì ãðàâèòàöèîííûõ
ñèë, îáóñëàâëèâàåìûõ
ðàçíîñòüþ ïëîòíîñòåé
âîäû è ïàðîâîäÿíîé
ñìåñè.
Ïðè ðàñ÷åòå
èñïîëüçóþòñÿ
óðàâíåíèå òåïëîïåðåäà÷è
è óðàâíåíèå òåïëîâîãî
áàëàíñà, à ðàñ÷åò
âûïîëíÿåòñÿ äëÿ
1 ì3 ãàçà ïðè íîðìàëüíûõ
óñëîâèÿõ.
Òàáëèöà
¹5. Ðàñ÷åò êèïÿòèëüíîãî
ïó÷êà
Íàèìåíîâàíèå
âåëè÷èíû
Îáîçíà÷åíèå
Ðàñ÷åòíàÿ
ôîðìóëà, ñïîñîá
îïðåäåëåíèÿ
Ðàçìåðíîñòü
Ðàñ÷åò
Êîíñòðóêòèâíûå
õàðàêòåðèñòèêè:
à)
ðàñïîëîæåíèå
òðóá
-
Ïî
äàííûì ïðèëîæåíèÿ
I [6]
-
êîðèäîðíîå
á)
äèàìåòð òðóá
dí/dâí
Òî
æå
ìì
51/46
â)
ïîïåðå÷íûé øàã
s1
Òî
æå
ìì
110
ã)
ïðîäîëüíûé øàã
s2
Òî
æå
ìì
100
ä)
÷èñëî òðóá â ðÿäó
ïåðâîãî ãàçîõîäà
z å)
÷èñëî ðÿäîâ òðóá
â ïåðâîì ãàçîõîäå
z æ)
÷èñëî òðóá â ðÿäó
âòîðîãî ãàçîõîäà
z ç)
÷èñëî ðÿäîâ òðóá
âî âòîðîì ãàçîõîäå
z è)
îáùåå ÷èñëî òðóá
z
z=z ê)
ñðåäíÿÿ äëèíà
îäíîé òðóáû
lñð
Ïî
äàííûì ïðèëîæåíèÿ
I [6]
ìì
2600
ë)
êîíâåêòèâíàÿ
ïîâåðõíîñòü
íàãðåâà
Íê
Íê=z·π·dí·lñð
ì2
256,48
Ñðåäíåå
ñå÷åíèå äëÿ ïðîõîäà
ãàçîâ
Fñð
Ïî
äàííûì ïðèëîæåíèÿ
I [6]
ì2
1,75
Òåìïåðàòóðà
ãàçîâ ïåðåä êèïÿòèëüíûì
ïó÷êîì 1ãî ãàçîõîäà
θ´1êï
Èç
ðàñ÷åòà òîïêè
(áåç ïàðîïåðåãðåâàòåëÿ)
θ´1êï=Q˝ò-(30÷40)îÑ
îÑ
1120
Ýíòàëüïèÿ
ãàçîâ íà âõîäå
J´1êï
Ïî
äèàãðàììå J-θ
êêàë/êã
5347,17
Òåìïåðàòóðà
ãàçîâ çà êèïÿòèëüíûì
ïó÷êîì 2ãî ãàçîõîäà
θ˝2êï
Ïðåäâàðèòåëüíî
ïðèíèìàåì ïî
ïðèëîæåíèþ VIII
[6]
îÑ
310
Ýíòàëüïèÿ
ãàçîâ çà 2ûì
ãàçîõîäîì
J˝2êï
Ïî
äèàãðàììå J-θ
ïðè
θ˝2êï
è α2êï
êêàë/êã
1470,83
Ñðåäíÿÿ
òåìïåðàòóðà
ãàçîâ
θñð
θñð=0,5·(θ´1êï+θ˝2êï)
îÑ
715
Òåïëîâîñïðèÿòèå
êèïÿòèëüíûõ
ïó÷êîâ
Qá
Qá=φ·(J´1êï-J˝2êï+∆αêï·J Ñåêóíäíûé
îáúåì ãàçîâ
Vñåê
Vñåê= Ñðåäíÿÿ
ñêîðîñòü ãàçîâ
ωã.ñð
ωã.ñð=Vñåê/Fñð
ì/ñåê
8,76
Òåìïåðàòóðà
íàñûùåíèÿ ïðè
äàâëåíèè â áàðàáàíå
êîòëà
ts
Ïî
ïðèëîæåíèþ V [6]
îÑ
194,13
Êîýôôèöèåíò
çàãðÿçíåíèÿ
ε
Ïðèíèìàåòñÿ
ïî íîìîãðàììå
XII [6]
Òåìïåðàòóðà
íàðóæíîé ñòåíêè
òðóáû
tç
tç=ts+ε· Îáúåìíàÿ
äîëÿ
âîäÿíûõ ïàðîâ r ãäå
ð´ Êîýôôèöèåíò
òåïëîîáìåíà
êîíâåêöèåé
αê
αí
Ñz
Cñð
αê=αí·Ñz·Cñð
Ïî íîìîãðàììå
II [6]
Îáúåìíàÿ
äîëÿ ñóõèõ òðåõàòîìíûõ
ãàçîâ
r Îáúåìíàÿ
äîëÿ òðåõàòîìíûõ
ãàçîâ
rã
rã=r Ýôôåêòèâíàÿ
òîëùèíà èçëó÷àþùåãî
ñëîÿ
S
s=(1,87· Ñóììàðíàÿ
ïîãëîùàòåëüíàÿ
ñïîñîáíîñòü
òðåõàòîìíûõ
ãàçîâ
rã·s
ðã·s=rã·s
ì·àòà
0,0457
Êîýôôèöèåíò
îñëàáëåíèÿ ëó÷åé
òðåõàòîìíûìè
ãàçàìè
kã
Ïî
íîìîãðàììå IX
[6]
-
2,35
Ñèëà
ïîãëîùåíèÿ ãàçîâîãî
ïîòîêà
k·p·s
kã·pã·sã·ð,
ãäå ð=1 àòà
ì·àòà
0,1074
Ïîïðàâî÷íûé
êîýôôèöèåíò
à
Ïî
íîìîãðàììå XI
[6]
-
0,11
Êîýôôèöèåíò
òåïëîîáìåíà
èçëó÷åíèåì
αë
αí
Ñã à
αë=αí·Ñã·à
Ïî íîìîãðàììå
XI [6] òî æå èç ïóíêòà
22 ðàñ÷åòà
Êîýôôèöèåíò
îìûâàíèÿ ïîâåðõ-íîñòè
íàãðåâà
ω
Ïî
ïðèëîæåíèþ II [6]
-
0,9
Êîýôôèöèåíò
òåïëîïåðåäà÷è
k
k= Òåìïåðàòóðíûé
íàïîð íà âõîäå
ãàçîâ
∆t´ Òåìïåðàòóðíûé
íàïîð íà âûõîäå
ãàçîâ
∆t˝ 115,87
Ñðåäíåëîãàðèôìè-÷åñêèé
òåìïåðàòóð-íûé
íàïîð
∆t Òåïëîâîñïðèÿòèå
ïîâåðõíîñòè
íàãðå-âà ïî óðàâíåíèþ
òåïëîïåðåäà÷è
Qò
Qò= Îòíîøåíèå
ðàñ÷åòíûõ âåëè÷èí
òåïëîâîñïðèÿòèÿ
Ïðèðàùåíèå
ýíòàëüïèè âîäû
∆i
∆i= . Âîäÿíûå
ýêîíîìàéçåðû
óñòàíàâëèâàþò
äëÿ ñíèæåíèÿ
òåìïåðàòóðû óõîäÿùèõ
ãàçîâ, à, ñëåäîâàòåëüíî,
äëÿ ïîâûøåíèÿ
êîýôôèöèåíòà
ïîëåçíîãî äåéñòâèÿ
êîòåëüíîé óñòàíîâêè. ×óãóííûå
ýêîíîìàéçåðû
èçãîòîâëÿþòñÿ
ïî îòðàñëåâûì
ñòàíäàðòàì «Ýêîíîìàéçåðû
÷óãóííûå áëî÷íûå»
ÃÎÑÒ 24.03.002.
Ýêîíîìàéçåðû
áûâàþò èíäèâèäóàëüíûå
è ãðóïïîâûå. Êàê
ïðàâèëî, óñòàíàâëèâàòü
èíäèâèäóàëüíûå
ýêîíîìàéçåðû,
òàê êàê îíè ðàáîòàþò
ðàâíîìåðíî è
ñ íàèìåíüøèì
èçáûòêîì âîçäóõà.
Âîäÿíûå
ýêîíîìàéçåðû
èçãîòàâëèâàþòñÿ
÷óãóííûìè è
ñòàëüíûìè.
 äàííîé
êóðñîâîé ðàáîòå
â êà÷åñòâå ïîâåðõíîñòè
íàãðåâà çàïðîåêòèðîâàí
èíäèâèäóàëüíûé
ýêîíîìàéçåð,
óñòàíîâëåííîãî
çà êîòëîì. Êîìïîíîâêà
- îäíîêîëîíêîâûé
ýêîíîìàéçåð
(íåñêîëüêî ãîðèçîíòàëüíûõ
ðÿäîâ òðóá îáðàçóþò
ãðóïïû, êîòîðûå
êîìïîíóþò â îäíó
èëè äâå êîëîíêè).
Ãðóïïû â òðåáóåìîì
êîëè÷åñòâå ñîáèðàþòñÿ
â ïàêåò. Ïàêåò
ñîáèðàþò â êàðêàñå
ñ ãëóõèìè ñòåíêàìè,
ñîñòîÿùèìè èç
èçîëÿöèîííûõ
ïëèò, îáøèòûõ
ìåòàëëè÷åñêèìè
ëèñòàìè. Òîðöû
ýêîíîìàéçåðîâ
çàêðûâàþòñÿ
÷åòûðüìÿ ñú¸ìíûìè
ìåòàëëè÷åñêèìè
ùèòàìè, çàïðîåêòèðîâàííûìè
äëÿ âîçìîæíîñòè
êà÷åñòâåííîãî
îñìîòðà âíóòðåííåé
÷àñòè ýêîíîìàéçåðà
è äëÿ åãî î÷èñòêè.
Ïðîåêòèðóåìûé
ýêîíîìàéçåð
èìååò ñîáñòâåííûé
ôóíäàìåíò èç-çà
çíà÷èòåëüíîé
ìàññû óñòðîéñòâà.
Ôóíäàìåíò ýêîíîìàéçåðà
íå ñâÿçàí ñ ôóíäàìåíòîì
êîòåëüíîãî àãðåãàòà.
Ýêîíîìàéçåð
ñîåäèíåí ñ êîòëîì
ñ ïîìîùüþ ñïåöèàëüíîãî
êîðîáà, íåïîñðåäñòâåííî
ïî êîòîðîìó äâèãàþòñÿ
äûìîâûå ãàçû.
 êîðîáå èìååòñÿ
ìÿãêàÿ âñòàâêà
äëÿ ïðåäîòâðàùåíèÿ
ïåðåäà÷è âèáðàöèè.
Íà âåðõíåé ÷àñòè
êîðîáà óñòàíîâëåí
âçðûâíîé êëàïàí.
 íèæíåé
÷àñòè èìååòñÿ
äûìîõîä, ïî êîòîðîìó
îñóùåñòâëÿåòñÿ
âûõîä îòðàáîòàííûõ
äûìîâûõ ãàçîâ.
Âíèçó óñòðîåíû
ëþêè äëÿ ÷èñòêè.
Íà âíåøíåé
ïîâåðõíîñòè
ýêîíîìàéçåðà
èìååòñÿ ââîä
ïèòàòåëüíîé
âîäû â íèæíåì
ðÿäó è âûõîä îòåïëåííîé
ïèòàòåëüíîé
âîäû èç âåðõíåãî
ðÿäà.
Ïðèáîðû íà
âõîäå ïèòàòåëüíîé
âîäû ðàñïîëîæåíû
íåïîñðåäñòâåííî
ó äûìîõîäà, à ïðèáîðû
íà âûõîäå - íà ïèòàòåëüíîì
òðóáîïðîâîäå
ðÿäîì ñ âåðõíèì
áàðàáàíîì êîòëà,
íàä çàäíåé ñìîòðîâîé
ïëîùàäêîé. Ïðèáîðû
çàïðîåêòèðîâàíû
òàê, ÷òîáû îáñëóæèâàþùåìó
ïåðñîíàëó áûëî
óäîáíî îáåñïå÷èòü
èõ ðåãóëèðîâêó
è ñíèìàòü ïîêàçàíèÿ
ñ èçìåðèòåëüíûõ
ïðèáîðîâ, à òàêæå
âî èçáåæàíèå
èõ ïîìåõ ïðè ýêñïëóàòàöèè.
Ïðåäóñìîòðåíà
óñòàíîâêà ÷óãóííîãî
ýêîíîìàéçåðà,
òàê êàê ÷óãóííûå
ýêîíîìàéçåðû
âîçìîæíî ïðèìåíÿòü
ïðè äàâëåíèÿõ
äî 23 àòè. ×óãóííûå
ýêîíîìàéçåðû
íå äîïóñêàþò
êèïåíèÿ âîäû â
íèõ, ò. ê. ïðè ãèäðàâëè÷åñêîì
óäàðå îíè ìîãóò
âûéòè èç ñòðîÿ.
Òåìïåðàòóðà âîäû
íà âûõîäå èç ÷óãóííîãî
ýêîíîìàéçåðà
íà 20 °Ñ íèæå òåìïåðàòóðû
êèïåíèÿ âîäû â
áàðàáàíå êîòëà.
×óãóííûå
ýêîíîìàéçåðû
ñîáèðàþò èç ÷óãóííûõ
ðåáðèñòûõ òðóá
è ñîåäèíÿþò ÷óãóííûìè
êîëåíàìè (äóãàìè
è êàëà÷àìè). Ïèòàòåëüíàÿ
âîäà äîëæíà ïîñëåäîâàòåëüíî
ïðîéòè ïî âñåì
òðóáàì ýêîíîìàéçåðà
ñíèçó ââåðõ. Òàêîå
åå äâèæåíèå íåîáõîäèìî,
ò.ê. ïðè íàãðåâàíèè
âîäû ïàäàåò ðàñòâîðèìîñòü
íàõîäÿùèõñÿ
â íåé ãàçîâ, è
îíè âûäåëÿþòñÿ
èç íåå â âèäå ïóçûðüêîâ,
êîòîðûå ïîñòåïåííî
ïðîäâèãàþòñÿ
ââåðõ, ãäå è óäàëÿþòñÿ
÷åðåç âîçäóøíûé
ñáîðíèê. Ñêîðîñòü
äâèæåíèÿ âîäû
äîëæíà áûòü íå
ìåíåå 0,3 ì/ñ, ÷òîáû
ëó÷øå ñìûâàòü
ïóçûðüêè.
Íà êîíöàõ
òðóá ýêîíîìàéçåðà
èìåþòñÿ êâàäðàòíûå
ïðèëèâû - ôëàíöû,
êîòîðûå ïðè ìîíòàæå
îáðàçóþò äâå
ñïëîøíûå ìåòàëëè÷åñêèå
ñòåíêè. Ñòûêè
ìåæäó ôëàíöàìè
ãåðìåòèçèðóþòñÿ
àñáåñòîâûì øíóðîì
äëÿ óñòðàíåíèÿ
ïðèñîñîâ âîçäóõà.
Ñáîêó ñòåíêè
ñ äóãàìè è êàëà÷àìè
çàêðûâàþòñÿ
ñúåìíûìè êðûøêàìè.
Òåìïåðàòóðà
âîäû ïðè âõîäå
â ýêîíîìàéçåð
ïðåâûøàåò òåìïåðàòóðó
òî÷êè ðîñû äûìîâûõ
ãàçîâ íå ìåíåå
÷åì íà 10 °Ñ. Ýòî íåîáõîäèìî
äëÿ òîãî, ÷òîáû
èñêëþ÷èòü êîíäåíñàöèþ
âîäÿíûõ ïàðîâ,
âõîäÿùèõ â ñîñòàâ
äûìîâûõ ãàçîâ
è îñàæäåíèå âëàãè
íà òðóáàõ ýêîíîìàéçåðà.
×óãóííûé
ýêîíîìàéçåð
ïðîñò è íà䏿åí
â ýêñïëóàòàöèè.
Îí óñòîé÷èâ ïðîòèâ
êîððîçèè, ïîýòîìó
åãî ïðèìåíåíèþ
ñëåäóåò îòäàòü
ïðåäïî÷òåíèå
ïåðåä âîçäóõîïîäîãðåâàòåëÿìè
â òåõ ñëó÷àÿõ,
êîãäà ïîäîãðåâ
âîçäóõà ÿâëÿåòñÿ
íåîáõîäèìûì
äëÿ èíòåíñèôèêàöèè
ïðîöåññà ãîðåíèÿ
èëè äëÿ ïîâûøåíèÿ
ÊÏÄ òîïêè.
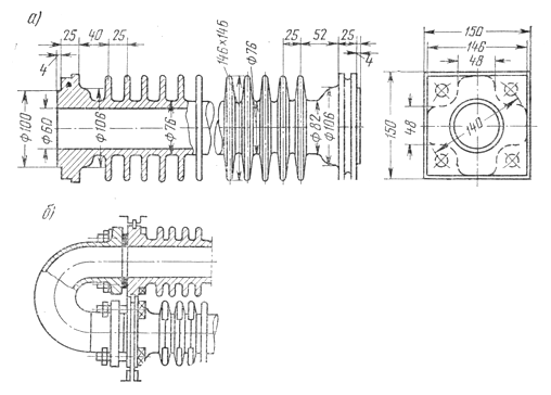
Ðèñ. 2 Äåòàëè
÷óãóííîãî âîäÿíîãî
ýêîíîìàéçåðà
ñèñòåìû ÂÒÈ:
à - ðåáðèñòàÿ òðóáà;
á - ñîåäèíåíèå
òðóá.
×óãóííûé
ýêîíîìàéçåð
ÿâëÿåòñÿ íå ìåíåå
íà䏿íîé ÷àñòüþ
àãðåãàòà, ÷åì
ñîáñòâåííî êîò¸ë.
Îí íå òðåáóþò
÷àñòûõ îñòàíîâîê,
ïîýòîìó îí íå
èìååò îáâîäíûõ
áîðîâîâ, ÿâëÿþùèõñÿ
èñòî÷íèêîì çíà÷èòåëüíûõ
ïðèñîñîâ âîçäóõà
â ãàçîâûé òðàêò.
Öèðêóëÿöèÿ
â ýêîíîìàéçåðå
ïðîèñõîäèò ñëåäóþùèì
îáðàçîì. Âîäà
èç ïèòàòåëüíîé
ëèíèè ïîäàåòñÿ
â îäíó èç êðàéíèõ
íèæíèõ òðóá, à
çàòåì ïîñëåäîâàòåëüíî
ïðîõîäèò ÷åðåç
âñå ýòè êàëà÷è
ïî âñåì òðóáàì,
ïîñëå ÷åãî ïîñòóïàåò
â êîòåë.
Âîäà äâèæåòñÿ
ïî òðóáàì ñíèçó
ââåðõ. Ãàçû, îìûâàÿ
òðóáû ñíàðóæè,
äâèæóòñÿ ñâåðõó
âíèç. Ïðè òàêîé
ñõåìå äâèæåíèÿ
(ïðîòèâîòîêå)
ãàçîâ è âîäû îáåñïå÷èâàåòñÿ
ëó÷øåå óäàëåíèå
âûäåëÿåìûõ èç
âîäû ïóçûðüêîâ
âîçäóõà ñ âíóòðåííåé
ñòåíêè òðóáû,
à òàêæå óìåíüøàåòñÿ
êîëè÷åñòâî çîëû
è ñàæè, îñàæäàþùèõñÿ
íà íàðóæíîé ïîâåðõíîñòè
òðóá. Âîäÿíûå
ýêîíîìàéçåðû
ñ ðåáðèñòûìè
òðóáàìè ñðàâíèòåëüíî
áûñòðî çàãðÿçíÿþòñÿ
çîëîé è ñàæåé,
ïîýòîìó ïåðèîäè÷åñêè
íàðóæíûå ïîâåðõíîñòè
ýêîíîìàéçåðîâ
îáäóâàþòñÿ ïåðåãðåòûì
ïàðîì èëè ñæàòûì
âîçäóõîì.
Ðèñ. 3 ×óãóííûé
ýêîíîìàéçåð
ìàðêè ÂÒÈ
 êà÷åñòâå
ïðåäîõðàíèòåëüíîãî
óñòðîéñòâà ýêîíîìàéçåðà
èñïîëüçîâàí
âçðûâíîé êëàïàí,
êîòîðûé óñòàíàâëèâàåòñÿ
íà âåðõíåì êîðîáå
ýêîíîìàéçåðà,
ïðèñîåäèíåííîãî
ê êîòëó. Ïðè íåðàñ÷åòíîì
ðåæèìå ðàáîòû
êîòåëüíîãî àãðåãàòà
- âçðûâå, ðåçêî
âîçðàñòàåò îáúåì
äûìîâûõ ãàçîâ.
Äûìîâûå ãàçû
ñâîáîäíî ïðîõîäÿò
÷åðåç êðóïíîÿ÷åèñòóþ
ñåòêó, çàòåì
ðàçðóøàþò àñáåñòîâóþ
ïëèòó è âûõîäÿò
ïî íàïðàâëÿþùåé
òðóáå íàðóæó.
Íà ýêîíîìàéçåðå
óñòàíàâëèâàåòñÿ
ñëåäóþùàÿ àðìàòóðà:
à) íà âõîäå
- ðåãóëèðóþùèé
êëàïàí, îáâîäíàÿ
ëèíèÿ ñ âåíòèëåì,
çàäâèæêà, îáðàòíûé
êëàïàí, âåíòèëü
è îáðàòíûé êëàïàí
íà äðåíàæå, ìàíîìåòð,
òåðìîìåòð, ïðåäîõðàíèòåëüíûé
êëàïàí.
á) íà âûõîäå
- âåíòèëü äëÿ âûïóñêà
âîçäóõà, ìàíîìåòð,
ïðåäîõðàíèòåëüíûé
êëàïàí, òåðìîìåòð,
âàíòóç, âåíòèëü
è îáðàòíûé êëàïàí,
óñòàíîâëåííûå
íåïîñðåäñòâåííî
íà âõîäå òðóáîïðîâîäà
ïèòàòåëüíîé
âîäû â âåðõíèé
áàðàáàí êîòëà.
Ê äîñòîèíñòâàì
÷óãóííûõ ýêîíîìàéçåðîâ
îòíîñÿòñÿ óñòîé÷èâîñòü
ê êîððîçèè èõ
âíåøíåé è âíóòðåííåé
ïîâåðõíîñòè,
à òàêæå ñðàâíèòåëüíî
íåáîëüøàÿ ñòîèìîñòü,
÷òî îïðàâäûâàåò
èõ ïðèìåíåíèå
â êîòåëüíûõ íåáîëüøîé
ìîùíîñòè. Íåäîñòàòêàìè
÷óãóííûõ ýêîíîìàéçåðîâ
ÿâëÿþòñÿ: ãðîìîçäêîñòü,
îñîáåííî ïðè
áîëüøèõ ïëîùàäÿõ
ïîâåðõíîñòè
íàãðåâà, íèçêàÿ
òåïëîïåðåäà÷à
è áîëüøàÿ ÷óâñòâèòåëüíîñòü
ê ãèäðàâëè÷åñêèì
óäàðàì, ÷òî íå
ïîçâîëÿåò íàãðåâàòü
âîäó â íèõ äî êèïåíèÿ.
.1 Ðàñ÷åò âîäÿíîãî
ýêîíîìàéçåðà
Òàáëèöà
¹6. Ðàñ÷åò âîäÿíîãî
ýêîíîìàéçåðà
Íàèìåíîâàíèå
âåëè÷èíû
Îáîçíà÷åíèå
Ðàñ÷åòíàÿ
ôîðìóëà, ñïîñîá
îïðåäåëåíèÿ
Ðàçìåðíîñòü
Ðàñ÷åò
Êîíñòðóêòèâíûå
õàðàêòåðèñòèêè:
à)
äèàìåòð òðóá
dí/dãí
Ïî
ïðèëîæåíèþ I [6]
ìì
76/60
á)
ðàñïîëîæåíèå
òðóá
-
Òî
æå
-
êîðèä.
â)
ïîïåðå÷íûé øàã
s1
Òî
æå
ìì
150
ã)
ïðîäîëüíûé øàã
s2
Òî æå
ìì
150
ä)
îòíîñèòåëüíûé
ïîïåðå÷íûé øàã
s1/dí
Òî
æå
-
1,97
å)
îòíîñèòåëüíûé
ïðîäîëüíûé øàã
s2/dí
Òî
æå
-
1,97
æ)
ñðåäíÿÿ äëèíà
îäíîé òðóáû
lñð
Ïðèíèìàåòñÿ
ïî ïðèëîæåíèþ
IÕ [6]
ìì
3000
ç)
÷èñëî òðóá â ðÿäó
êîëîíêè
z1
Òî
æå
øò
9
è)
÷èñëî ðÿäîâ òðóá
ïî õîäó ãàçîâ
z2
Ïðèíèìàåòñÿ
ïðåäâàðèòåëüíî
â çàâèñèìîñòè
îò âèäà òîïëèâà:
à) ãàç, ìàçóò
z2=12; á) òâåðäûå òîïëèâà
ñ Wð > 22% - z2=14; â) òâåðäûå
òîïëèâà ñ Wð <
22% - z2=16.
øò
12
Ñðåäíÿÿ
ñêîðîñòü ãàçîâ
ωã
Ïðèíèìàåòñÿ
ðàâíîé 6÷8 ì/ñåê
ì/ñåê
7
Òåìïåðàòóðà
ãàçîâ íà âõîäå
θ´âý
Èç
ðàñ÷åòà êèïÿòèëüíûõ
ïó÷êîâ êîòëà
θ´âý=θ˝êï
îÑ Ýíòàëüïèÿ
ãàçîâ íà âõîäå
J´âý
Ïî
J-θ äèàãðàììå
êêàë/êã
1470,83
Òåìïåðàòóðà
ãàçîâ íà âûõîäå
θ˝âý
Èç
çàäàíèÿ θ˝âý=θóõ
îÑ
180
Ýíòàëüïèÿ
ãàçîâ íà âûõîäå
J˝âý
Ïî
J-θ äèàãðàììå
êêàë/êã
843,29
Òåìïåðàòóðà
âîäû íà âõîäå
â ýêîíîìàéçåð
t´
Èç
çàäàíèÿ t´=t´ïâ
îÑ
80
Ýíòàëüïèÿ
âîäû íà âõîäå
â ýêîíîìàéçåð
i´
Ñîãëàñíî
ðàñ÷åòó òåïëîâîãî
áàëàíñà êîòëîàãðåãàòà
(òàáë.4)
êêàë/êã
80,524
Òåïëîâîñïðèÿòèå
ýêîíîìàéçåðà
ïî áàëàíñó
Qá
Qá=φ·(J´âý-J˝âý+∆αâý·J Ýíòàëüïèÿ
âîäû íà âûõîäå
èç ýêîíîìàéçåðà
i˝
i˝=
i´+Qá· Òåìïåðàòóðà
âîäû íà âûõîäå
èç ýêîíîìàéçåðà
t˝
Ïî
ïðèëîæåíèþ V ïðè
Ðê [6]
îÑ
194,13
Òåìïåðàòóðíûé
íàïîð íà âõîäå
ãàçîâ
∆t´
∆t´=θ´âý-t˝
îÑ
115,87
Òåìïåðàòóðíûé
íàïîð íà âûõîäå
∆t˝
∆t˝=θ˝âý-t'
îÑ
100
Ñðåäíèé
òåìïåðà-òóðíûé
íàïîð
∆tñð
∆tñð=0,5·(∆t´+∆t˝)
îÑ
107,935
Ñðåäíÿÿ
òåìïåðàòóðà
ãàçîâ
θ
θ=0,5·(θ´âý+θ˝âý)
îÑ
245
Ñðåäíÿÿ
òåìïåðàòóðà
âîäû
t
t=0,5·(t´+t˝)
îÑ
137,065
Îáúåì
ãàçîâ íà 1êã òîïëèâà
Vã
Ïî
òàáë.2 ðàñ÷åòà
íì3/êã
14,055
Ñå÷åíèå
äëÿ ïðîõîäà ãàçîâ
Fã
Fã= Êîýôôèöèåíò
òåïëîïåðåäà÷è
k kí
Cυ
Ïîíîìîãðàììå
XVI
[6]
Ïîâåðõíîñòü
íàãðåâà
Íâý
Íâý= ×èñëî
ðÿäîâ òðóá ïî õîäó
ãàçîâ
z2
z2= ×èñëî
ðÿäîâ òðóá, ïðèíÿòîå
ïî êîíñòðóêòèâíûì
ñîîáðàæåíèÿì
z2ê
Ïî
ïðèëîæåíèþ I [6]
øò
9
×èñëî
ðÿäîâ òðóá â îäíîé
êîëîíêå
z´2ê
z´2ê=0,5·z2ê
øò
4
Âûñîòà
êîëîíêè
h
h=s2·z´2ê+(500÷600)
ìì
1200
Øèðèíà
êîëîíêè
b
b=s1·z1
ìì
1350
Ïðèðàùåíèå
ýíòàëüïèè âîäû
∆i
∆i= 4. Îïðåäåëåíèå
íåâÿçêè òåïëîâîãî
áàëàíñà
Òàáëèöà
¹7. Îïðåäåëåíèå
ðàñ÷åòíîé íåâÿçêè
òåïëîâîãî áàëàíñà
Íàèìåíîâàíèå
âåëè÷èíû
Îáîçíà÷åíèå
Ðàñ÷åòíàÿ
ôîðìóëà, ñïîñîá
îïðåäåëåíèÿ
Ðàçìåðíîñòü
Ðàñ÷åò
Êîëè÷åñòâî
òåïëà, âîñïðèíÿòîå
íà 1êã òîïëèâà
ëó÷åâîñïðèíèìàþùèìè
ïîâåðõíîñòÿìè
òîïêè, îïðåäåëåííîå
èç óðàâíåíèÿ
áàëàíñà
Që
Èç
òàáë. ¹5
êêàë/êã
5529,22
Òî
æå, êèïÿòèëüíûìè
ïó÷êàìè
Qêï
Èç
òàáë. ¹6
êêàë/êã
3830,94
Òî
æå, ýêîíîìàéçåðîì
Qýê
Èç
òàáë. ¹7
êêàë/êã
629,365
Îáùåå
êîëè÷åñòâî ïîëåçíî
èñïîëüçîâàííîãî
òåïëà
Q1
Q1=Q Íåâÿçêà
òåïëîâîãî áàëàíñà
∆Q
∆Q=Q1-(Që+Qêï+Qýê)·(1- Îòíîñèòåëüíàÿ
âåëè÷èíà íåâÿçêè
δ1
δ1= Ïðèðàùåíèå
ýíòàëüïèè âîäû
â òîïêå
∆iò
Èç
òàáë. ¹5
êêàë/êã
316,886
Òî
æå, â êèïÿòèëüíûõ
ïó÷êàõ
∆iêï
Èç
òàáë. ¹6
êêàë/êã
219,555
Ïðèðàùåíèå
ýíòàëüïèè âîäû
â ýêîíîìàéçåðå
∆iýê
Èç
òàáë. ¹7
êêàë/êã
36,07
Ñóììà
ïðèðàùåíèé ýíòàëüïèé
∆i1
∆i1=∆iò+∆iêï+∆iýê
êêàë/êã
572,511
Íåâÿçêà
òåïëîâîãî áàëàíñà
∆i-∆i1
iïâ-∆i1
êêàë/êã
13,165
Îòíîñèòåëüíàÿ
âåëè÷èíà íåâÿçêè
δ2
δ2= 5. Ñâîäíàÿ
òàáëèöà òåïëîâîãî
ðàñ÷åòà êîòëîàãðåãàòà
Òàáëèöà
¹98. Ñâîäíàÿ òàáëèöà
òåïëîâîãî ðàñ÷åòà
êîòëîàãðåãàòà
Íàèìåíîâàíèå
âåëè÷èí
Ðàçìåðíîñòü
Íàèìåíîâàíèå
ãàçîõîäà
òîïêà
êèïÿòèëüíûå
ïó÷êè
ýêîíîìàéçåð
Òåìïåðàòóðà
ãàçîâ íà âõîäå
θ´
îÑ
-
1120
310
Òî
æå, íà âûõîäå θ˝
îÑ
1160
310
180
Ñðåäíÿÿ
òåìïåðàòóðà
ãàçîâ θ
îÑ
-
715
245
Ýíòàëüïèÿ
ãàçîâ íà âõîäå
J´
êêàë/êã
-
5347,17
1470,83
Òî
æå, íà âûõîäå J˝
êêàë/êã
5561,63
1470,83
843,29
Òåïëîâîñïðèÿòèå
Qá
êêàë/êã
-
3830,94
629,365
Òåìïåðàòóðà
âòîðè÷íîãî òåïëîíîñèòåëÿ
íà âõîäå t´
îÑ
-
-
80
Òî
æå, íà âûõîäå t˝
îÑ
-
-
194,13
Ñêîðîñòü
ãàçîâ ωã
ì/ñ
-
8,76
7
Ñêîðîñòü
âîçäóõà ωâ
ì/ñ
-
-
-
Çàêëþ÷åíèå
êîòåë
âîçäóõ òîïëèâî
ýêîíîìàéçåð
 äàííîé
êóðñîâîé ðàáîòå
áûë ïðîâåäåí ïîâåðî÷íî-êîíñòðóêòîðñêèé
ðàñ÷åò êîòåëüíîãî
àãðåãàòà è ýêîíîìàéçåðà.
Êóðñîâàÿ
ðàáîòà âûïîëíåíà
ñîãëàñíî çàäàíèþ
ñ èñïîëüçîâàíèåì
âñåé íåîáõîäèìîé
ñïðàâî÷íîé è
íîðìàòèâíîé
ëèòåðàòóðîé è
ìåòîäîâ ðàñ÷åòà. Äëÿ âûïîëíåíèÿ
òåïëîâîãî ðàñ÷åòà
ãàçîâûé òðàêò
êîòëîàãðåãàòà
ðàçäåëåí íà ðÿä
ñàìîñòîÿòåëüíûõ
ó÷àñòêîâ: òîïî÷íóþ
êàìåðó, êîíâåêòèâíûå
ïó÷êè, ýêîíîìàéçåð.
ÊÏÄ êîòåëüíîãî
àãðåãàòà ñîñòàâëÿåò
90,87 %. Ðàñ÷åòíûé ðàñõîä
òîïëèâà 1146,2 êã/÷.
Òåïëî ïîëåçíî
èñïîëüçóåìîå
â êîòëîàãðåãàòå
11,714 Ãêàë/÷.
 êà÷åñòâå
òîïëèâà â êîòåëüíîì
àãðåãàòå èñïîëüçóåòñÿ
ïðèðîäíûé ãàç,
ïîñòóïàþùèé
èç òðåòüåé íèòêè
ãàçîïðîâîäà Ñòàâðîïîëü-Ìîñêâà.
Òåïëîâûäåëåíèå
â òîïêå íà 1 ì2
ïîâåðõíîñòè
íàãðåâà 196862,4 êêàë/ì2÷. Òåïëî
ïåðåäàííîå èçëó÷åíèåì
â òîïêå ñîñòàâëÿåò
5529,22 êêàë/êã
òîïëèâà.Òåìïåðàòóðà
ãàçîâ íà âûõîäå
èç òîïêè 1160 °Ñ.
Òåïëîâîñïðèÿòèå
êèïÿòèëüíûõ ïó÷êîâ
3830,94
êêàë/êã, ñðåäíÿÿ
òåìïåðàòóðà ãàçîâ
715 °Ñ. Ïðè ðàñ÷åòå
áûëî íàéäåíî
òåïëîâîñïðèÿòèå
ïîâåðõíîñòè
íàãðåâà ïî óðàâíåíèþ
òåïëîïåðåäà÷è,
è ïî óðàâíåíèþ
áàëàíñà, ðàçëè÷èå
ìåæäó êîòîðûìè
ñîñòàâèëî 1,58%, ÷òî
â ïðåäåëàõ íîðìû
(<2%).
Ïîâåðõíîñòü
íàãðåâà óñòàíîâëåííàÿ
çà êîòëîì - ýêîíîìàéçåð
èç ÷óãóííûõ
ðåáðèñòûõ òðóá
äëèíîé òðóá 3000 ìì.
Êîëè÷åñòâî ðÿäîâ
òðóá â îäíîé êîëîíêå,
ïîëó÷åíîå â ðàñ÷åòå,
ðàâíî 9; ÷èñëî ðÿäîâ
òðóá ïî õîäó ãàçîâ,
ïðèíÿòîå ïî êîíñòðóêòèâíûì
ñîîáðàæåíèÿì,
òàêæå ðàâíî 9. Ñðåäíÿÿ
òåìïåðàòóðà ãàçîâ
çäåñü ñîñòàâëÿåò
245 °Ñ. Òåìïåðàòóðà
âîäû íà âõîäå
â ýêîíîìàéçåð
-
80 °Ñ. Òåìïåðàòóðà
âîäû íà âûõîäå
èç ýêîíîìàéçåðà
- 194,13 °Ñ.
Ïî îïðåäåë¸ííîìó
êîëè÷åñòâó ïîëåçíîãî
òåïëà, âîñïðèíèìàåìîãî
ðàçëè÷íûìè ïîâåðõíîñòÿìè
êîòåëüíîãî àãðåãàòà,
íàéäåíà òåïëîâàÿ
íåâÿçêà
δ1=2,05%. Òàêæå
îïðåäåëåíà îòíîñèòåëüíàÿ
âåëè÷èíà òåïëîâîé
íåâÿçêè ïî ýíòàëüïèè
δ2=2,3%.
Ïî ïîâåðî÷íî-êîíñòðóêòèâíîìó
ðàñ÷¸òó ñêîíñòðóèðîâàí
âîäÿíîé ýêîíîìàéçåð.
Âûïîëíåíà îáâÿçêà
êîòëà è ýêîíîìàéçåðà
ñ íàíåñåíèåì
íåîáõîäèìîé
àðìàòóðû (ïðåäîõðàíèòåëüíûå
êëàïàíû, âåíòèëè,
îáðàòíûå êëàïàíà,
ðåãóëèðóþùèå
êëàïàíû, çàäâèæêè,
âîçäóøíèê, ìàíîìåòð,
òåðìîìåòðû, âàíòóç).
Ñïèñîê ëèòåðàòóðû
1. Ãóñåâ
Þ.Ë. Îñíîâû ïðîåêòèðîâàíèÿ
êîòåëüíûõ óñòàíîâîê.
Èçäàíèå 2, ïåðåðàáîòàííîå
è äîïîëíåííîå.
Èçäàòåëüñòâî
ëèòåðàòóðû ïî
ñòðîèòåëüñòâó.
Ìîñêâà, 1973. - 248 ñ.
2. Ù¸ãîëåâ
Ì.Ì., Ãóñåâ Þ.Ë., Èâàíîâà
Ì.Ñ. Êîòåëüíûå
óñòàíîâêè. Èçäàíèå
2, ïðèðàáîòàííîå
è äîïîëíåííîå.
Èçäàòåëüñòâî
ëèòåðàòóðû ïî
ñòðîèòåëüñòâó.
- Ìîñêâà, 1972.
. Äåëÿãèí
Ã.Í., Ëåáåäåâ Â.È.,
Ïåðìÿêîâ Á.À. Òåïëîãåíåðèðóþùèå
óñòàíîâêè. - Ìîñêâà,
Ñòðîéèçäàò,
1986. - 560 ñ.
. ÑÍèÏ
II-35-76. Êîòåëüíûå óñòàíîâêè.
. Ìåòîäè÷åñêèå
óêàçàíèÿ äëÿ
ðàñ÷åòà êîòåëüíîãî
àãðåãàòà è ýêîíîìàéçåðà.
Ê êóðñîâîé ðàáîòå
ïî ÒÃÓ äëÿ ñòóäåíòîâ
ñïåöèàëüíîñòè
270109 - Òåïëîãàçîñíàáæåíèå
è âåíòèëÿöèÿ
/ Ñîñò.: À.Å. Ëàíöîâ,
Ã.Ì. Àõìåðîâà. Êàçàíü,
2007. - 26 ñ.
. Ðàñ÷åòíûå
íîðìàëè, ïðèëîæåíèÿ
è íîìîãðàììû
ê ïîâåðî÷íî-êîíñòðóêòîðñêîìó
è àýðîäèíàìè÷åñêîìó
ðàñ÷åòàì êîòåëüíîãî
àãðåãàòà è ýêîíîìàéçåðà
ê êóðñîâîé ðàáîòå
è êóðñîâîìó ïðîåêòó
ïî ÒÃÓ äëÿ ñòóäåíòîâ
ñïåöèàëüíîñòè
270109. / Ñîñò.: À.Å. Ëàíöîâ,
Ã.Ì. Àõìåðîâà.
- Êàçàíü, 2009. - 54 ñ.
. Ýñòåðêèí
Ð.È. Êîòåëüíûå
óñòàíîâêè. Ýíåðãîàòîìèçäàò.
- Ëåíèíãðàä, 1989. - 280
ñ.
Ðàçìåùåíî
íà Allbest.ru
∙10-3
-
∙10-3
250
=9.52нм3/кг
=7,6 нм3/кгV
=1,037 нм3/кг
=2,11
нм3/кг
=V
+0,0161·(
-1)·Vонм3/кг2,2187482,2266762,238568
+V
+V
+(
-1)·Vонм3/кг12,80441813,30476614,055288
=
-0,0824720,079370,075132
=
-0,173280,167360,15927
+
r
-0,2557520,246730,234402
лишь в
пределах, немного превышающих реально возможные пределы температур в газоходах.
Величина
представляет
собой разность двух соседних по горизонтали значений
при одном α.
Q
=Q
+Q![]()
=cтл·tтл, при
tтл=0
=0
и Q
=Q
ккал/кг10215
ух·Vо(с∙θ)хвккал/кг101,143
ух·Iхв)·
2=
·100 ккал/кг
-0,987
·100=
кг/час1146,222
, при
сжигании газа и мазута
м271,27
ψ'=
м
+р
),
+p
)+kn·µ,
--
-0,287
·
+Qвккал/кг11163,68
ккал/м2ч19686
ккал/м2ч97503
ккал/м3ч30332
ккал/кг316,88
Òî
æåøò22
Òî
æåøò13
Òî
æåøò22
Òî
æåøò15
·z
+z
·z
øò616
)êêàë/êã3830,94
ì3/ñåê15,33
![]()
0,005
îÑ279,733
r
=0,5·(ð´
+ð˝
),
è
ð˝
-ïàðöèàëüíîå
äàâëåíèå âîäÿíûõ
ïàðîâ íà âõîäå
è âûõîäå èç ïó÷êîâ
(òàáë.2)-0,17
50,49
![]()
Èç òàáë.2
ïðîåêòà r
=ð![]()
-0,07937
+r
-0,249
ì0,1836
9,438
![]()
43,0626
∆t´=θ´1êï-tsîÑ925,87
∆t˝=θ˝2êï-ts
îÑ
∆t=
îÑ391,3
êêàë/êã3770,46
Åñëè
Qá è QÒ îòëè÷àþòñÿ
ìåíüøå, ÷åì íà
2%, ðàñ÷åò ñ÷èòàåòñÿ
çàêîí÷åííûì,
â ïðîòèâíîì ñëó÷àå
ðàñ÷åò ïîâòîðÿåòñÿ
ñ èçìåíåíèåì
âåëè÷èíû θ˝2êï%1,58
êêàë/êã219,555
Îïèñàíèå âîäÿíîãî
ýêîíîìàéçåðà
)
êêàë/êã629,365
êêàë/êã116,594
ì/ñåê1,213
16,575
ì2403,233
øò9,98
êêàë/êã36,07
·ηêà/100êêàë/êã10219,967
)êêàë/êã230,442
%2,05
%2,3