Материал: Расчёт и проектирование фундаментов различного заложения

Внимание! Если размещение файла нарушает Ваши авторские права, то обязательно сообщите нам

Расчёт и проектирование фундаментов различного заложения

Содержание

Введение

. Анализ инженерно-геологических данных. Определение значения условного расчетного сопротивления грунта R0

. Расчет фундамента мелкого заложения

.1 Определение глубины заложения фундамента

.2 Определение размеров подошвы фундамента в плане

.3 Расчет осадки фундамента методом послойного суммирования

.4 Расчет осадки фундамента методом эквивалентного слоя (метод Цытовича)

.5 Расчет затухания осадки во времени

. Расчет свайного фундамента

.1 Выбор глубины заложения ростверка, несущего слоя грунта и конструкции сваи

.2 Определяем несущую способность и силы расчётного сопротивления сваи по материалу и грунту

.3 Определение приближённого веса ростверка и числа свай

.4 Конструирование ростверка

.5 Расчет осадки свайного фундамента

Список литературы

Введение

1.      Местоположение площадки

Изучаемая площадка расположена на пересечении ул.Урожайной и ул.Полевой в г.Уфе.

.        Климат

В климатическом отношении площадка относится ко II климатическому району. Средняя t0 января -14,90 С, средняя t0 июля +18,80 С, средняя годовая t0 +4,30 С. Число дней со снежным покровом составляет 140 дней. Холодный период длится с середины сентября до середины мая.

. Геоморфология рельефа

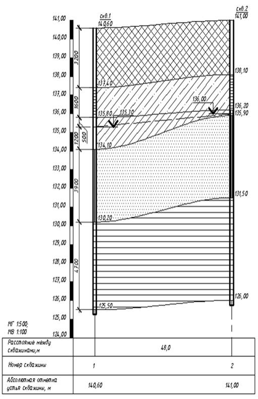
В геоморфологическом отношении площадка расположена в пределах среднерусской возвышенности (на абсолютной отметке поверхности земли 137,4).

. Геологическое строение

В геологическом строении площадки до изучаемой глубины 15-20 м принимают участие покровные и мореные отложения четвертичной системы. Представленные грунты: супесь твёрдая, суглинок тугопластичный, песок мелкий, глина полутвёрдая.

. Гидрогеологические условия

В процессе производства буровых работ подземные воды вскрыты скважинами на глубине 5,30 м от поверхности земли на абсолютной отметке 135,30 м. Максимально высокое положение уровня воды следует ожидать в весеннее время. Подземные воды являются слабоагрессивными.

. Инженерно-геологические условия

Определение физико-механических характеристик грунтов выполнялось в соответствии с требованиями нормативных документов. С учетом геологического строения, выделено 5 инженерно-геологических элементов:

.        Инженерно-геологических элемент 1:

Насыпной слой из почвы, шлака, бытовых и строительных отходов, мощностью 3,2 м.

Растительный слой состоит из почвы мощностью 0,3м.

.        Инженерно-геологических элемент 2:

Супеси желтовато-бурого цвета. Залегают на глубине 135,80 м, мощностью 1,60 м.

.        Инженерно-геологических элемент 3:

Суглинки темно-бурого цвета. Залегают на глубине 134,10 м, мощностью 1,70 м.

.        Инженерно-геологических элемент 4:

Пески желтовато-бурого цвета. Залегают на глубине 130,20 м, мощностью 3,90 м.

.        Инженерно-геологических элемент 5:

Глины темно-бурого цвета. Залегают на глубине 125,50 м, мощностью 4,70 м.

Рисунок 1. Геологический разрез.

Рисунок 2. Данные о физических свойствах грунтов.

1. Анализ инженерно-геологических данных. Определение значения условного расчётного сопротивления грунта R0

Для заданного варианта грунтовых условий производим оценку характеристик слоев грунта, с целью использования его в качестве естественного основания.

слой:

.        Число пластичности:

;

=0,189-0,152=0,037

Так как число пластичности Ip находится в интервале 0,01 < Ip ≤0,07, то делаем вывод, что 1 слой - супесь.

2.      Показатель текучести:

;

==-2,46

Так как показатель текучести IL находится в интервале IL<0, то делаем вывод, что 1 слой - супесь твердая.

3.      Коэффициент пористости:

е=(1+W)-1;

е=

4.      Расчетное сопротивление:

Таблица 1.

e

R0


IL=0

0,5

300


Вывод: 1 слой - супесь твердая с расчетным сопротивлением R0=300 кПа.

слой:

. Число пластичности:


=0,21-0,11=0,10

Так как число пластичности  находится в интервале 0,07 < <0,17 , то делаем вывод, что 2 слой - суглинок.

2.      Показатель текучести:


Так как показатель текучести  находится в интервале 0,25< IL<0,5 , то делаем вывод, что 2 слой - суглинок тугопластичный.

3.      Коэффициент пористости:

е=∙(1+W)-1;

е=

4.      Расчетное сопротивление:

Таблица 2.

e

R0


IL=0

IL=0,48

IL=1

0,5

300


250

0,62

270

240,24

208

0,7

250


180


y=300+ кПа=250+ кПа=270+ кПа

Вывод: 2 слой - суглинок тугопластичный с расчетным сопротивлением R0=240,24 кПа.

слой:

1.      Тип песчаных грунтов:

Частиц крупнее: 2,0 мм - 9,5% по весу

,5 мм - 23,4% по весу

,25 мм - 48,7% по весу

,10 мм - 88,3% по весу

,05 мм - 93% по весу

,01 мм - 96,2% по весу

,005 мм - 97,4% по весу

Менее 0,005 мм - 2,6% по весу

Делаем вывод, что 3 слой - песок мелкий.

.        Коэффициент пористости:

е=∙(1+W)-1;

е=

Так как коэффициент пористости е находится в интервале 0,60< е <0,75 , то делаем вывод, что песок средней плотности.

3.      Степень влажности:

Sr=

=

Так как степень влажности Sr находится в интервале 0,8< Sr <1 , то делаем вывод, что песок насыщенный водой.

Вывод: 3 слой - песок мелкий средней плотности насыщенный водой с расчётным сопротивлением R0=200 кПа.

слой:

. Число пластичности:


=0,461-0,205=0,256

Так как число пластичности  находится в интервале 0,17 < , то делаем вывод, что 4 слой - глина.

2.      Показатель текучести:


Так как показатель текучести  находится в интервале 0< IL<0,25 , то делаем вывод, что 4 слой - глина полутвёрдая.

3.      Коэффициент пористости:

е=

4.      Расчетное сопротивление:

Таблица 3.

e

R0


IL=0

IL=0,215

IL=1

0,6

500


300

0,73

370

340,975

235

0,8

300


200


y=500+ кПа=300+ кПа=370+ кПа

Вывод: 4 слой - глина полутвёрдая с расчетным сопротивлением R0=340,975 кПа.

Итог: В качестве основания для фундаментов наиболее благоприятным является 1 слой - супесь твёрдая, IL<0 и R0=300 кПа.

2. Расчёт фундамента мелкого заложения

фундамент заложение свая грунт

2.1 Определение глубины заложения фундамента

Расчет ведем в соответствии со СНиП 2.01.01 - 82 «Строительная климатология».

Дано:

г.Уфаw=2,1=150C

грунт - супесь твёрдая, IL<0.

Определяем нормативную глубину промерзания по формуле:

,

где - глубина промерзания: для супесей =0,28м;

- коэффициент, равный сумме абсолютных значений среднемесячных отрицательных температур воздуха в данном районе.

М = 14,9+13,7+6,7+5,1+11,2=51,6

Определяем расчетную глубину промерзания по формуле:

,

где кh - коэффициент, учитывающий влияние теплового режима сооружения на глубину промерзания грунтов у фундаментов, кh =0,5;

. Т.к. (2+df) >dwи грунт, залегающий под подошвой фундамента, - супесь c показателем текучести IL<0 , то глубина заложения подошвы фундамента не менее df.

Принимаем d не менее df.

Глубина заложения фундамента d=1,1 м.

Рисунок 2.

2.2 Определение размеров подошвы фундамента в плане

1.      Определяем необходимые размеры подошвы ленточного фундамента, при условии, что к нему приложена вертикальная сила N=150 кН.

В 1ом приближении находим площадь подошвы фундамента

- расчетная нагрузка по 2ой группе предельных состояний, приложенная к обрезу фундамента.0 - условное расчетное сопротивление грунта основания

γm - осредненное расчетное значение удельного веса грунта и материала фундамента.0=300 кПа

γm=20 кН/м3 - для зданий без подвала=1,1 м

0,54 м2

2.      Ширина подошвы.

 м

3.      Найдем расчетное сопротивление грунтов основания:


γc1, γc2 - коэффициенты условия работы

γc1=1,25 - зависит от вида грунта

γc2= - зависит от вида грунта и от отношения длины и высоты здания

к - коэффициент принимаемый равным 1, если характеристики определены опытным путём.

к=1

Мγ, Мq, Мс - коэффициенты, принимаемые в зависимости от угла внутреннего трения φ =230

Мγ =0,69, Мq =3,65, Мс =6,24.

кz - коэффициент, принимаемый равным 1, т. к.  < 10 м.

γ - îñðåäíåííîå çíà÷åíèå óäåëüíîãî âåñà ãðóíòîâ çàëåãàþùèõ íèæå ïодошвы фундамента.

γ' - тоже, но выше подошвы фундамента

γ=

γsb2= кН/м3

γsb3= кН/м3

γ= Кн/м3

γ' = γ=20,1 Êí/ì3

cII - расчетное значение удельного сцепления грунта, залегающего непосредственно под подошвой фундамента.1 - глубина заложения фундаментав - глубина пола подвала, принимаемая в зависимости от ширины подвала.II=12 кПа1=1,1 мв=0 м

 кПа

4.      Определяем площадь подошвы фундаменты при новом расчетном сопротивлением грунта.

 м2

 м

Подбираем фундамент.

Размеры фундаменты принимаем: b =800 мм, l=1180 мм, Vf=0.274 м3, h=300 мм

Выполняем расчет сопротивления для подобранного фундамента:

 кПа

5.      Проверка фундамента.

pII ==NII+NfII+NsII

fII -вес фундамента

fII =Vf ∙ γb , γb=25 кН/м3

fII =0,274∙25=6,85 кНsII -вес грунта над уступами фундамента

sII =Vs∙ γII'

sII =0,636*20,1=12,79 кН=150+6,85+12,79=169,64 кН

II = кПа

179,70 кПа < 224,07 кПа

Разница превышает 5 %-фундамент подобран неэкономично

Принимаем размеры фундамента =1м, l=0,78 м, Vf=0,17 м3 h=0.3 м

Выполняем расчет сопротивления для подобранного фундамента:

кПа

Произведем проверку подобранных размеров

II ==NII+NfII+NsII

fII -вес фундамента

fII =Vf ∙ γb , γb=25 кН/м3

fII =0,17∙25=4,25 кНsII -вес грунта над уступами фундамента

sII =Vs∙ γII'

sII =0,56*20,1=11,256 кН=150+4,25+11,256=165,506 кНII = кПа

,19 кПа < 227,73 кПа

Разница составляет 7 %, следовательно размеры фундамента подобраны верно. Окончательно принимаем фундамент ФЛ 10-8-2 с параметрами =1м, l=0,78 м, Vf=0,17 м3 h=0,3 м.