Материал: Расчет и конструирование элементов балочной клетки и колонны

Внимание! Если размещение файла нарушает Ваши авторские права, то обязательно сообщите нам

Расчет и конструирование элементов балочной клетки и колонны

1. Исходные данные для курсового проектирования

Размеры в плане: 15х6 м.

Шаг колонн в продольном направлении: 15 м.

Шаг колонн в поперечном направлении: 6 м.

Нормативная полезная нагрузка: gн=12 кН/м².

Коэффициент надежности по нагрузке: γf=1,2.

Отметка верха габарита помещения: +9,000.

Отметка настила: +

Отметка верха фундамента: -0,400.

Материал конструкций:

настил: сталь С235 с Ry=215 МПа;

балки настила: сталь С235 с Ry=215 МПа;

вспомогательные балки: сталь С235 с Ry=215 МПа;

главные балки: сталь С235 с Ry=215 МПа;

колонны: сталь С245 с Ry=240 МПа;

Материал фундаментов: бетон класса В25.

Опирание главной балки на колонну: этажное сопряжение

2. Конструктивные решения балочной площадки

Балочные клетки могут быть нормального или усложненного типа

(рис. 2.1 а,б):

а). Нормальный тип балочной клетки

б). Усложненный тип балочной клетки.

Рис. 2.1. Типы балочных клеток.

3. Расчет конструкции балочной площадки

Для расчета выбираем сталь: С235

(ВСт3кп21) по ГОСТ 27772-88

Модуль упругости: Е=2,06*104 МПа

Коэффициент поперечной деформации (Пуассона): ν=0.3

Удельный вес: γст=78,5 кН/см

.1 Расчет балочной клетки нормального типа

Расчет настила.

 

абн=lмн=1500 мм.

Отношение пролета настила к его толщине из условия заданного предельного прогиба:

где ;- заданное отношение пролета к его предельному прогибу (для настила n0=150);


Определяем толщину настила:

Принимаем толщину настила 10 мм.

Собственный вес 1м2 настила равен Рн=78,5 кг или 0,785 кН/м2.

Рис. 3.1. Плоский металлический настил: опирание настила на балки, расчетная схема.

Определяем силу, растягивающую настил (Рис. 3.1):


где γfg=1,2 - коэффициент надежности по нагрузке

Расчетная толщина углового шва, прикрепляющего настил к балкам, выполненного полуавтоматической сваркой определяется по формуле:


где βш=0.7 - коэффициент глубины проплавления

шва, принимается в зависимости вида

сварки и положения шва,

стали σу<580МПа; ш =l cм - длина шва; св уш=18кН/см2 -расчетное сопротивление

среза шва по таблице 5.1

СНиПа II - 23-81;

γc=l - коэффициент условия работы;


принимаем по таблице 5.4 (1)СНиПа К =4 мм.

Расчет балки настила.

Балку рассчитываем как свободно опертую, загруженную равномерной нагрузкой. Пролет равен шагу главных балок 6 м. Вес настила Рн=0,785 кН/м².

Определяем нормативную линейную равномерно распределенную нагрузку на балку настила:

Определяем расчетную линейную равномерно распределенную нагрузку на балку настила:

,

где γfз=1.05 - коэффициент надежности для собственного веса пастила; γfg=1,2 - коэффициент надежности по нагрузке


Расчетный изгибающий момент:

,

где = 6 м - длина балки настила


Определяем требуемый момент сопротивления балки:

,

где с1=1,12-коэффициент, принимаемый по прил.5 [3],

γc=1- коэффициент условий работы,у=22,0 кН/см2 расчетное сопротивление по пределу текучести для стали С235 при t=4-20мм


Принимаем по сортаменту двутавр №30 по ГОСТ 8239-89 с изм., имеющий: Ix=7080 см4, Wx=472 см³, вес g=36,5 кг/м, площадь сечения

А=46,5 см².


Условие Wx>Wтр удовлетворяется.

Проверка на прочность:

 

условие удовлетворяется.

Недонапряжение:

(22,0-19,4)/22,0*100%=11,8%>5%

Принимаем марку стали С235 с Rу=20,0 МПа. Тогда недонапряжение составит (20,0-19,4)/20,0*100%=3%-в пределах допустимого значения.

Проверка на жесткость:

Определяем расход металла на 1 м² перекрытия:

настил 0,01*7850=78,5 кг/м², балки настила g/a=36,5/1,5=24,3 кг/м².

Весь расход металла: 78,5+24,3=102,8 кг/м²=1,03 кН/м².

3.2 Расчет балочной клетки усложненного типа

Расчет настила.


абн=lмн=1500 ммвб=3000 мм

Отношение пролета настила к его толщине из условия заданного предельного прогиба:

где ;- заданное отношение пролета к его предельному прогибу (для настила n0=150);

Определяем толщину настила:

Принимаем толщину настила 10 мм.

Собственный вес 1м2 настила равен Рн=78,5 кг или 0,785 кН/м2.

Определяем силу, растягивающую настил (Рис. 3.1):


где γfg=1,2 - коэффициент надежности по нагрузке


Расчетная толщина углового шва, прикрепляющего настил к балкам,

выполненного полуавтоматической сваркой определяется по формуле:


где βш=0.7 - коэффициент глубины проплавления

шва, принимается в зависимости вида

сварки и положения шва,

стали σу<580МПа; ш =l cм - длина шва; св уш=18кН/см2 -расчетное сопротивление

среза шва по таблице 5.1

СНиПа II - 23-81;

γc=l - коэффициент условия работы;


принимаем по таблице 5.4 (1)СНиПу К =4 мм.

Расчет балки настила.

Балку рассчитываем как свободно опертую, загруженную равномерной нагрузкой. Пролет равен шагу второстепенных балок 3 м. Вес настила Рн=0,785 кН/м².

Определяем нормативную линейную равномерно распределенную нагрузку на балку настила:


Определяем расчетную линейную равномерно распределенную нагрузку на балку настила:


Расчетный изгибающий момент:

,

Определяем требуемый момент сопротивления балки:

,

где с1=1,12-коэффициент, принимаемый по прил.5 [3],

γc=1- коэффициент условий работы,у=22,0 кН/см2 расчетное сопротивление по пределу текучести для стали С235 при t=4-20мм


Принимаем по сортаменту двутавр №16 по ГОСТ 8239-89 с изм., имеющий: Ix=873 см4, Wx=109 см³, вес g=15,9 кг/м, площадь сечения А=20,2 см².

Условие Wx>Wтр удовлетворяется.

Проверка на прочность:

 условие удовлетворяется.

Недонапряжение:

(22,0-21,01)/22,0*100%=4,5%<5%

Проверка на жесткость:

Расчет вспомогательной балки.

Рис. 3.2. Расчетная схема загружения вспомогательной балки.

Нагрузку на вспомогательную балку от балок настила считаем равномерно распределенной. Определяем нормативную и расчетную нагрузку на нее:


Определяем расчетную линейную равномерно распределенную нагрузку на балку настила:


Определяем расчетный изгибающий момент:


Определяем требуемый момент сопротивления

,

Принимаем по сортаменту двутавр №40 по ГОСТ 8239-72 с изм., имеющий: Ix=19062см4, Wx=953 см³, вес g=57,0 кг/м, площадь сечения А=72,6 см².

Условие Wx>Wтр удовлетворяется.

Проверка на прочность:

 условие удовлетворяется.

Недонапряжение:

(22,0-19,4)/22,0*100%=11,8%>5

Принимаем марку стали С235 с Rу=195 МПа. Тогда недонапряжение составит (20,0-19,4)/20,0*100%=3,0%-в пределах допустимого значения.

Проверка на жесткость:


условие удовлетворяется.


Проверяем, требуется ли проверка общей устойчивости, исходя из условия:

,

где b и t-соответственно ширина и толщина сжатого пояса;расстояние между осями поясных листов;

lef-расстояние между точками закрепления сжатого пояса.


Фактическое отношение

Принятое сечение балки удовлетворяет условиям прочности, устойчивости и прогиба.

Определяем расход металла на 1 м² перекрытия:

настил 0,01*7850=78,5 кг/м², балки настила g/a=15,9/1,5=10,6 кг/м², вспомогательные балки gвб/авб=57,0/3=19,0 кг/м².

Весь расход металла: 78,5+10,6+19=108,1 кг/м²=1,081 кН/м².

.3 Сравнение вариантов

Полученные величины расхода стали на 1 м² площади балочной клетки сведены в таблицу 3.3.1:

Таблица 3.3.1

Расход стали на элементы (кг/м)

Вариант 1-нормальный тип БК

Эскиз сечения элемента

Вариант 2-усложненный тип БК

Эскиз сечения элемента

Металлический настил

78,5

 

78,5

 

Балки настила

24,3

 

10,6

 

Вспомогательные балки

 

 

19,0

 

Итого:

102,8

 

108,1

 


По расходу металла 1 вариант выгоднее.

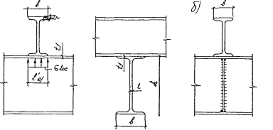
3.4 Расчет главной балки

Главные балки балочных клеток проектируют составными из листовой стали по ГОСТ 82-70*. Соединение листов осуществляется сваркой или заклёпками. Большинство используемых составных балок - сварные, клёпаные балки применяются в основном при тяжёлой подвижной нагрузке, так как в этих условиях они значительно надёжнее сварных. В обычных условиях сварные балки более экономичны.

Расчетная схема балки приведена на рис. 3.4.1.

Рис. 3.4. а). Расчетная схема главной балки.

б). Сечение главной балки.

Расчет главной балки ведется по наиболее оптимальной нагрузке на 1 м2 перекрытия, высчитанной по двум схемам балочных клеток, наиболее оптимальной получилась балочная клетка нормального типа с шагом балок настила lбн=1м и нагрузкой g =102,8 кг/м~=1,03 кН/м

Определяем нормативную и расчетную нагрузки на балку:

 

Определяем расчетный изгибающий момент в середине пролета:


Определяем поперечную силу на опоре:


Главную балку рассчитываем с учетом развития пластических деформаций. Определяем требуемый момент сопротивления балки, принимая коэффициент с1=1,12:


Определяем оптимальную высоту балки по формуле:


При этом предварительно задаем высоту балки

 и толщину стенки

 принимаем tw=11 мм.


Полученная высота и толщина стенки находятся в пределах рекомендуемых таблицей 7.2. (3)

Из условий обеспечения жесткости, определяем минимальную высоту балки:

Определяем минимальную высоту балки по формуле:


Строительную высоту балки определяем, исходя из максимально возможной заданной высоты перекрытия и его конструкции:


Так как hопт<hmin<hmax можно принять hmin или заменить сталь на менее прочную Сравнивая полученные высоты, принимаем высоту балки =130 см.

Проверяем принятую толщину стенки:

по эмпирической формуле


из условия работы стенки на срез

Чтобы не применять продольных ребер жесткости, толщину стенки определяем по формуле:


Сравнивая полученную расчетным путем толщину стенки с принятой, принимаем tw=10 мм и приходим к выводу, что она удовлетворяет условию прочности на действие касательных напряжений и не требует укрепления ее продольным ребром жесткости для обеспечения местной устойчивости.

Размеры горизонтальных поясных листов определяем, исходя из необходимой несущей способности балки. Для этого определяем требуемый момент инерции сечения балки: