Министерство сельского хозяйства Российской Федерации
федеральное государственное бюджетное образовательное
учреждение высшего профессионального образования
"ЧЕЛЯБИНСКАЯ ГОСУДАРСТВЕННАЯ
АГРОИНЖЕНЕРНАЯ АКАДЕМИЯ"
Факультет заочного образования
Кафедра "Тракторов и автомобилей"
КУРСОВАЯ РАБОТА
РАСЧЕТ ХАРАКТЕРИСТИК ТРАКТОРА И
АВТОМОБИЛЯ
Челябинск 2015
Содержание
Задание для выполнения курсовой работы
1. Расчет, построение и анализ тяговой характеристики трактора
1.1 Определение и анализ тяговой характеристики трактора
1.2 Построение внешней скоростной характеристики двигателя
1.3 Построение кривой буксования
1.4 Выбор и расчет скоростных режимов работы двигателя для определения параметров тяговой характеристики трактора
1.5 Определение данных для построения тяговой характеристики трактора
2. Расчет, построение и анализ динамической характеристики автомобиля
2.1 Определение коэффициента полезного действия трансмиссии автомобиля
2.2 Построение внешней скоростной характеристики двигателя
2.3 Методика расчета данных для построения динамической характеристики автомобиля
3. Определение углов продольной и поперечной статической
устойчивости трактора и автомобиля
Задание
для выполнения курсовой работы
Студенту 4 курса факультета заочного образования специальности "Агроинженерия: технические системы в агробизнесе"
Ведерникову Антону Павловичу шифр 11083
. Рассчитать, построить и дать анализ тяговой характеристики трактора Т-150, имеющего эксплуатационную массу 7700 кг и работающего на почвенном фоне стерня.
. Рассчитать, построить и дать анализ динамической характеристики автомобиля МАЗ-5335, имеющего полную массу, превышающую в 1,3 раз (а) его конструктивную массу.
. Определить и проанализировать статическую продольную и поперечную устойчивость трактора Т-150 и автомобиля МАЗ-5335.
трактор автомобиль тяговая динамическая
Кинематическая схема рассматриваемого трактора Т-150
приведена на Рис.1. Запишем в таблицу 1.1 цепи шестерен, передающих крутящий
момент на каждой передаче. Значения передаточного числа каждой цепи указаны в
приложении 7. Используя формулу, найдем КПД трансмиссии на шести выбранных
передачах:
,
где ц, к - КПД соответственно цилиндрической и конической пар шестерен; m - число пар цилиндрических шестерен и ЭПР, работающих в трансмиссии на данной передаче; г - КПД ведущего участка гусеничного движителя; - коэффициент, определяющий, какую часть номинального крутящего момента двигателя (Мдв. н) составляет момент холостого хода трансмиссии трактора.
Учитывая современный уровень технологии изготовления шестерен, подшипников и гусениц, а также номинальный тепловой режим трансмиссии тракторов и автомобилей, принимаем
ц = 0,990; hг = 0,850;к =
0,980; Е = 0,050.
Следовательно
Рисунок 1 - Кинематическая схема трансмиссии гусеничного трактора
Т-150
Таблица 1.1
Характеристика трансмиссии трактора по передачам
Передачи
Шестерни,
передающие крутящий момент
Передаточное
число
m
n
т
4
1-2-12-21-20-K
26.89
3
1
0,768
5
5-4-4-13-21-20-K
24.97
3
1
0,768
6
5-4-6-14-21-20-K
22.12
3
1
0,768
7
5-4-8-15-21-20-K
19.64
3
1
0,768
8
5-4-2-12-21-20-K
17.97
3
1
0,768
Для трактора со ступенчатой трансмиссией изменение нагрузки
на крюке и, следовательно, нагрузки на двигатель при неизменном положении
рычага управления всережимным регулятором топливного насоса высокого давления
(ТНВД) приводит к изменению частоты вращения коленчатого вала, которое
сопровождается изменением крутящего момента, мощности, часового и удельного
расходов топлива и других параметров.
Изменение энергетических и топливно-экономических показателей
двигателя в зависимости от частоты вращения коленчатого вала при неизменном
положении рычага управления всережимным регулятором (ТНВД) называется
скоростной характеристикой дизельного двигателя.
На рассматриваемом нами тракторе Т-150 устанавливается
дизельный двигатель марки СМД-60. Технические характеристики двигателя приведены
ниже.
Марка трактора
Марка двигателя
Число цилиндров
цилиндра, мм
Ход поршня, мм
Номинальная
эксплуата- ционная мощность, кВт
Номинальная
частота вращения вала, мин-1
Удельный эф.
расход топлива, л/кВтч
Т-150
СМД60
6v
130
115
118
2000
252
Для построения его скоростной характеристики в графическом
виде, занесем имеющиеся данные в таблицу 1.2 и произведем необходимые расчеты.
Таблица 1.2
Параметры внешней скоростной характеристики двигателя СМД при
работе с всережимным регулятором
Параметры и размерность
Частота
вращения коленвала, мин-1
nм
.
.
nн
.
.
nхх
n, мин-1
1400
1600
1800
2000
2050
2100
2140
Ne, кВт
99.1
109.5
115.9
118
77.2
34.3
0
Мк, Нм
676.2
654
615
563.5
360
156
0
ge, г/кВтч
277.2
265
257
252
272.8
304.8
∞
Gт, кг/ч
27.4
29
29.15
29.7
24.5
18.5
8.91
На оси абсцисс отмечаем характерные значения частоты вращения
коленвала двигателя:
nн - номинальная частота вращения;
nм - частота вращения при максимальном крутящем
моменте:
nм =1400;
nхх - максимальная частота вращения коленвала на
холостом ходу:
хх = (1 + р) nн = (1 +
0,07) 2000
где р - степень неравномерности всережимного
регулятора ТНВД (для большинства автотракторных дизелей р =
0,06.0,08). На регуляторном участке характеристики (от nхх до
nн) и на корректорном участке характеристики (от nн
до nм) намечаем по два промежуточных значения частоты
вращения, которые вписываем в таблицу 1.2.
Вычисляем крутящий момент двигателя, работающего на режиме
номинальной мощности:
н=9550 (118/2000) =563.5
после чего находим максимальный крутящий момент
МК. МАХ=563.5 (20+100) /100=676.2
где к - корректорный коэффициент запаса крутящего
момента (для большинства отечественных автотракторных дизелей к =
(15…20) %).
Графическое построение внешней скоростной характеристики
дизеля начинаем с того, что на шкале ординат в масштабе отмечаем три точки,
соответствующие Мк. хх = 0; Мк. н и Мк.
max (предварительно построив шкалу частоты вращения коленвала). На
регуляторном участке отмеченные точки соединяем прямой линией, а на
корректорном - выпуклой кривой (по лекалу).
Затем для выбранных значений nдв на
корректорном участке по графику определяем промежуточные значения Мк
и вписываем в таблицу 1.2 Далее находим значения Ne на
корректорном участке
и заносим в соответствующие ячейки таблицы 1.2. Построение
кривой изменения удельного эффективного расхода топлива ge начинаем
с точки, соответствующей режиму номинальной мощности двигателя. Удельный
эффективный расход топлива при максимальном крутящем моменте (gе. м)
обычно на (8.12) % больше, чем на режиме номинальной мощности. Учитывая
изложенное, строим точки gе. н, gе. м и
соединяем их вогнутой кривой (по лекалу). Значения промежуточных точек
вписываем в таблицу 1.2 и вычисляем часовой расход топлива Gт
для корректорного участка характеристики:
Часовой расход топлива Gт. хх при работе
двигателя без нагрузки с максимальной частотой вращения коленчатого вала не
превышает обычно (25.30) % расхода топлива на режиме номинальной мощности Gт.
н и изменяется на регуляторном участке по линейному закону. Построив
линию расхода топлива, вписываем в табл. 1.2 соответствующие значения Gт
для регуляторного участка характеристики, затем рассчитываем и строим
окончательно кривую gе, используя зависимость.
При тяговом расчете трактора принимается, что на заданном
почвенном фоне для каждого типа движителя величина буксования зависит от
удельной силы тяги Dкр, которая представляет собой отношение
силы тяги Ркр к сцепному весу Gсц трактора:
кр = Ркр / Gсц.
Соотношение между буксованием и удельной силой тяги приведено
в табл. 1.3. В реализации силы тяги участвует только сцепной вес трактора Gсц.
Для колесных тракторов со всеми ведущими колесами и для
гусеничных тракторов сцепной вес равен эксплуатационному весу трактора.
Таблица 1.3
Буксование и удельная сила тяги гусеничных тракторов
Буксование, %
0
2
3
5
10
20
40
70
100
Dкр
стерня
0
0,45
0,56
0,64
0,71
0,78
0,82
0,84
0,85
пашня
0
0,27
0,38
0,47
0,55
0,64
0,67
0,69
0,70
Используя данные таблицы, определяем силу тяги трактора при
заданных величинах удельной силы тяги и буксования по формуле
Ркр = Dкр Gсц,
кН.
Результаты расчета кривой буксования в табл.1.4 и на листе
миллиметровой бумаги формата А4.
Таблица 1.4
Характеристика кривой буксирования
Буксование
0
2
3
5
10
20
40
70
100
Dкр,
0
0,45
0,56
0,64
0,71
0,78
0,82
0,84
0,85
Ркр
0
34.65
43.12
49.28
54.67
60.06
63.14
64.68
65.45
Принимаем рассчитанные ранее значения частоты вращения
коленчатого вала двигателя n и записываем из табл.1.2 в соответствующие
ячейки таблицы 1.5 значения крутящего момента Мк, эффективной
мощности Ne и часового расхода топлива Gт
для принятых скоростных режимов.
Таблица 1.5
Расчетные параметры скоростной и тяговой характеристик
трактора по передачам
4
Рк, кН
39,34
38,05
35,78
32,78
20,94
9,08
0,00
Рf, кН
6,66
6,66
6,66
6,66
6,66
6,66
6,66
, %
1,94
1,86
1,73
1,55
0,85
0,14
∞
Ркр, кН
32,68
31,39
29,12
26,12
14,28
2,42
∞
Vт, м/с
1,94
2,22
2,50
2,77
2,84
2,91
2,97
Vд, м/с
1,90
2,18
2,45
2,73
2,82
2,91
2,98
Nкр, кВт
62, 19
68,32
71,40
71,30
40,24
7,02
∞
gкр, г/кВтч
440,60
401,08
383,77
384,31
680,86
3903,04
∞
5
Рк, кН
36,53
35,33
33,22
30,44
19,45
8,43
0,00
Рf, кН
6,66
6,66
6,66
6,66
6,66
6,66
6,66
, %
1,77
1,70
1,57
1,41
0,76
0,10
∞
Ркр, кН
29,87
28,67
26,56
23,78
12,79
1,77
∞
Vт, м/с
2,09
2,39
2,69 3,06
3,13
3, 19
Vд, м/с
2,05
2,35
2,64
2,94
3,04
3,13
3,21
Nкр, кВт
61,32
67,31
70,25
70,00
38,83
5,53
∞
gкр, г/кВтч
446,86
407,06
390,04
391,45
705,55
4951,49
∞
6
Рк, кН
32,36
31,30
29,43
26,97
17,23
7,47
0,00
Рf, кН
6,66
6,66
6,66
6,66
6,66
6,66
6,66
, %
1,52
1,46
1,35
1, 20
0,63
0,05
∞
Ркр, кН
25,70
24,64
22,77
20,31
10,57
0,81
∞
Vт, м/с
2,36
2,70
3,03
3,37
3,45
3,54
3,61
Vд, м/с
2,32
2,66
2,99
3,33
3,43
3,54
3,62
Nкр, кВт
59,70
65,46
68,14
67,61
36,28
2,85
∞
gкр, г/кВтч
458,92
418,61
402,14
405,25
755,31
9620,37
∞
7
Рк, кН
28,73
27,79
26,13
23,94
15,30
6,63
0,00
Рf, кН
6,66
6,66
6,66
6,66
6,66
6,66
6,66
d, %
1,31
1,25
1,15
1,02
0,51
0,00
∞
Ркр, кН
22,07
21,13
19,47
17,28
8,64
∞
∞
Vт, м/с
2,66
3,04
3,42
3,80
3,89
3,99
4,06
Vд, м/с
2,62
3,00
3,38
3,76
3,87
3,99
4,08
Nкр, кВт
57,88
63,35
65,75
64,93
33,43
∞
∞
gкр, г/кВтч
473,42
432,49
416,74
422,00
819,67
∞
∞
8
Рк, кН
26,29
25,42
23,91
21,91
14,00
6,06
0,00
Рf, кН
6,66
6,66
6,66
6,66
6,66
6,66
6,66
, %
1,16
1,11
1,02
0,90
0,43
∞
∞
Ркр, кН
19,63
18,76
17,25
15,25
7,34
∞
∞
Vт, м/с
2,90
3,32
3,73
4,15
4,25
4,36
4,44
Vд, м/с
2,87
3,28
3,70
4,11
4,23
4,36
4,46
Nкр, кВт
56,34
61,59
63,74
62,68
31,06
∞
∞
gкр, г/кВтч
486,36
444,91
429,85
437,14
882,26
∞
∞
Расчетные
данные
1400
1600
1800
2000
2050
2100
2140
676,2
654
615
563,5
360
156
0
99,1
109,5
115,9
118
77,2
34,3
0
27,4
29
29,15
29,7
24,5
18,5
8,91
Задаваясь принятыми частотами вращения коленвала двигателя n
и соответствующими этим частотам крутящими моментами Мк, определяем
для каждой из пяти выбранных передач и заносим в табл. 1.5 следующие параметры:
касательную силу тяги на ведущих колесах
силу сопротивления самопередвижению трактора
Рf = 10-3f Gэ g,
кН,
силу тяги трактора
Ркр = Рк - Рf,
кН,
теоретическую скорость движения трактора
действительную скорость движения трактора
где rк - радиус качения ведущих колес, м; f
- коэффициент сопротивления самопередвижению трактора; Gэ -
эксплуатационный вес трактора, кг; g = 9,81 мс-2 - ускорение
свободного падения; iт - общее передаточное число трансмиссии
на данной передаче; т - КПД трансмиссии на данной передаче,
тяговую (крюковую) мощность трактора
кр = Ркр Vд,
кВт,
удельный крюковой расход топлива
условный тяговый КПД трактора на передачах
где Nкр. max - максимальное значение
тяговой мощности на данной передаче; Nе. н - номинальная
(паспортная) мощность двигателя.
По данным табл. 1.5 на миллиметровой бумаге строим тяговую
характеристику трактора Т-150 на пяти передачах. Проведя плавные кривые,
касающиеся точек перегиба кривых тяговой мощности и действительной скорости
движения трактора на различных передачах, получаем потенциальную тяговую
характеристику трактора.
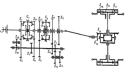
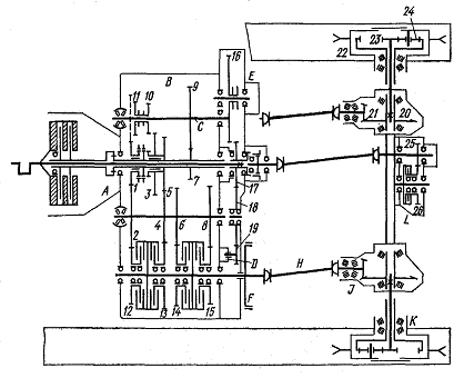
Кинематическая схема трансмиссии автомобиля МАЗ-5335
приведена на рис.2.1 Определим КПД трансмиссии на всех передачах:
где m - число пар цилиндрических шестерен и ЭПР,
передающих крутящий момент на данной передаче; кард - КПД карданной
передачи (кард = 0,98.0,99).
Рисунок 2.1 - Кинематическая схема трансмиссии автомобиля
МАЗ-5335
Результаты расчетов приведены в табл.2.1.
Таблица 2.1
Характеристика трансмиссии автомобиля по передачам
Передача
Шестерни,
передающие вращающий момент
m
iт
ηT
1
Z8-Z2,Z7-Z1;
Z15-Z14,Z17-Z16
2
33.60
0,89
2
Z10-Z2,Z5-Z1;
Z15-Z14,Z17-Z16
2
18.55
0,89
3
Z9-Z2,Z6-Z1;
Z15-Z14,Z17-Z16
2
9.86
0,89
4
Z1;
Z15-Z14,Z17-Z16
1
5.46
0,90
5
Z8-Z12-Z2,Z13-Z7-Z1; Z15-Z14,Z17-Z16
4
4.26
0,87
Построение внешней скоростной характеристики автомобильного
двигателя производится по нижеприведенным данным на листе миллиметровой бумаги.
Таблица 2.2
Параметры
Частота
вращения коленвала, мин-1
1000
1100
1300
1500
1700
1900
2100
Ne
55.9
73.5
90.4
105,1
115.4
127.2
132.4
Мк
533.8
638.1
664.1
669.1
648.3
639.3
602.1
Gт
14,2
18
21,8
24,8 31
32,7
Крутящий момент на валу двигателя при этом определяется по
формуле
где Ne - эффективная мощность двигателя, кВт;дв
- частота вращения коленчатого вала двигателя, об/мин.
На внешней скоростной характеристике двигателя выбираем семь
значений частот вращения коленчатого вала двигателя и соответствующие им
значения крутящего момента, которые указаны в таблице. Для каждого режима
работы двигателя на каждой передаче определяем:
касательная сила тяги
где
rд - динамический радиус качения колеса с учетом
деформации шин от осевой нагрузки (rд 0,8.0,9 rк),
значения rк для данного автомобиля берется из Приложения 6.
скорость движения автомобиля
сила аэродинамического сопротивления
где k - коэффициент обтекаемости, Нс2/м4;
F - площадь миделя (лобового сечения), м2.
избыточная сила тяги автомобиля
Ризб = Рк - Рw,
кН
динамический фактор автомобиля
где Ga - сила тяжести автомобиля с грузом,
кН.
Результаты расчетов по приведенным выше формулам заносим в
табл. 2.3.
Таблица 2.3
Расчетные параметры работы автомобиля по передачам
№№
Расчетные
параметры
Показатели работы
двигателя
1000
1100
1300
1500
1700
1900
2100
533,85
638,11
664,09
669,14
648,28
639,35
602,10
1
Рк, кН
33,26
39,75
41,37
41,69
40,39
39,83
37,51
Va, м/с
1,50
1,65
1,95
2,25
2,55
2,85
3,15
Pw, кН
0,006
0,008
0,011
0,014
0,019
0,023
0,028
(Рк - Pw), кН
33,25
39,75
41,36
41,67
40,37
39,81
37,48
D
0,380
0,455
0,473
0,477
0,462
0,455
0,429
2
Рк, кН
18,36
21,95
22,84
23,01
22,30
21,99
20,71
Va, м/с
2,72
2,99
3,53
4,08
4,62
5,16
5,71
Pw, кН
0,021
0,026
0,036
0,048
0,061
0,076
0,093
(Рк - Pw), кН
18,34
21,92
22,81
22,97
22,24
21,91
20,62
D
0,210
0,251
0,261
0,263
0,254
0,241
0,236
3
Рк, кН
9,76
11,67
12,14
12,23
11,85
11,69
11,01
Va, м/с
5,11
5,62
6,65
7,67
8,69
9,71
10,73
Pw, кН
0,075
0,090
0,126
0,168
0,216
0,270
0,330
(Рк - Pw), кН
9,69
11,58
12,01
12,06
11,64
11,42
10,68
D
0,111
0,132
0,137
0,138
0,133
0,131
0,122
4
Рк, кН
5,47
6,53
6,80
6,85
6,64
6,55
6,16
Va, м/с
9,23
10,15
12,00
13,85
15,69
17,54
19,38
Pw, кН
0,244
0,295
0,412
0,549
0,705
0,880
1,075
(Рк - Pw), кН
5,22
6,24
6,39
6,30
5,93
5,66
5,09
D
0,060
0,071
0,073
0,072
0,068
0,065
0,058
5
Рк, кН
4,12
4,93
5,13
5,17
5,01
4,94
4,65
Va, м/с
11,83
13,01
15,38
17,75
20,11
22,48
24,85
Pw, кН
0,401
0,485
0,677
0,901
1,158
1,446
1,767
(Рк - Pw), кН
3,72
4,44
4,45
4,27
3,85
3,49
2,88
D
0,043
0,051
0,051
0,049
0,044
0,040
0,033
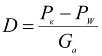
По данным табл. 2.3 строим график динамической характеристики
автомобиля.
Tgαп= (0.5Lгус+а0) /hц. т= (900+96) /773=1,29 αп=arctg1,29=52˚
Tgα?п= (0.5Lгус-а0) /hц. т= (900-96) /773=1,04 αп=arctg1,04=46˚
Где Lгус-база (между крайними опорными катками) =1800мм
hц. т-высота центра масс а-смещение центра масс
Tgβп=0,5 (В+в) / hц. т=0.5 (1435+390) /773=1,18
βп=arctg1,18=49,7˚
Где В-колея (по центру гусениц); в-ширина звена гусеницы
На подъеме и склоне определяются по формуле:
Tgαп=а/ hц. т=1850/900=2.06 αп=arctg2.06=64˚
Tgα?п= (L-a) / hц. т= (3950-1850)
/900=2,3 αп=arctg2,3=66˚
Где а-расстояние центра тяжести по горизонтали от задней оси=1850мм
L-база=3950
hц. т-высота центра масс=900
.4
Статический угол поперечного уклона автомобиля (по
опрокидыванию)
Определяется по формуле:
Tgβп=0.5B/ hц. т=0.5*1970/900=1.09 βп=arctg1,09=47˚
Где В-колея передних колес=1970
Литература
1.
Кычев В.Н., Бердов Е.И. Основы теории и анализ конструкций тракторов и
автомобилей. Курс лекций. - Челябинск: ООП ЧГАУ, 2004. - 140 с., ил.
.
Скотников В.А., Мащенский А.А., Солонский А.С. Основы теории и расчета трактора
и автомобиля. - М.: Агропромиздат, 1986. - 383 с., ил.
.
Гуськов В.В. Тракторы. Теория. - М.: Машиностроение, 1988. - 376 с., ил.
.
Чудаков Д.А. Основы теории и расчета трактора и автомобиля. - М.: Колос, 1972.
- 384 с., ил.
.
Тракторы и автомобили /Под. ред.В.А. Скотникова. - М.: Агропромиздат, 1986. -
383 с., ил
.
Стандарт предприятия. Проекты (работы) курсовые и дипломные. Общие требования к
оформлению. СТП ЧГАУ 2-2003. Челябинск, 2003.
1.2
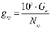
Построение внешней скоростной характеристики двигателя
, кВт
, кг/ч.
, г/кВтч.
1.3
Построение кривой буксования
1.4 Выбор и
расчет скоростных режимов работы двигателя для определения параметров тяговой
характеристики трактора
1.5
Определение данных для построения тяговой характеристики трактора
, кН,
, м/с,
, м/с,
, г/кВтч,
,
2. Расчет,
построение и анализ динамической характеристики автомобиля
2.1
Определение коэффициента полезного действия трансмиссии автомобиля
,
2.2
Построение внешней скоростной характеристики двигателя
, Н∙м
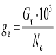
2.3 Методика
расчета данных для построения динамической характеристики автомобиля
, кН,
, м/с,
, кН,
,
3.
Определение углов продольной и поперечной статической устойчивости трактора и
автомобиля

3.1
Статистические углы продольной устойчивости гусеничных тракторов (по
опрокидыванию) на подъеме и склоне определяются по формулам:
3.2
Статический угол поперечного уклона гусеничного трактора (по опрокидыванию)
определяется по формуле
3.3
Статические углы продольной устойчивости автомобиля (на опрокидывание)