Министерство транспорта Российской Федерации
Федеральное агентство железнодорожного транспорта
Государственное образовательное учреждение высшего профессионального образования
Омский
государственный университет путей сообщения (ОмГУПС)
Контрольная работа
по
дисциплине «ТОЭ»
Студент гр.ДОТ-АТ-10324
Е.А. Гайвоненко
г. Омск 2013/2014
1. Расчет линейной электрической цепи при
несинусоидальном входном напряжении
Таблица №1
U0, В
Um, В
ω,
1/с
r1, Ом
r2, Ом
L1, мГн
C1, мкФ
L2, мГн
C2, мкФ
15
90
2000
10
10
10
20
15
20
Рис.1
Разложим заданное напряжение в ряд Фурье,
ограничившись пятью гармониками.
Построим в одной системе координат
временные графики гармоник напряжения, суммарную кривую и заданное напряжение.
гармоники напряжения:
Рис. 2
Определим действующее значение напряжения:
гармоника ток электрический мощность
Сопротивление цепи постоянному току:
Постоянная составляющая тока на
неразветвленном участке цепи:
Сопротивление цепи на частоте ω для первой
гармоники:
Комплексная амплитуда тока первой
гармоники на неразветвлённом участке цепи:
Ток первой гармоники на
неразветвленном участке цепи:
Аналогично произведем расчеты для
второй, третьей и четвёртой гармоник. Результаты сведем в табл.5
Таблица 2
1
гармоника
3
гармоника
5 гармоника
Ток третьей гармоники на неразветвленном участке
цепи:
Ток пятой гармоники на
неразветвленном участке цепи:
Ток на неразветвленном участке цепи:
Определим действующее значение
напряжения:
Активная мощность цепи:
где ß - начальная
фаза гармоники напряжения; Реактивная мощность цепи:
Полная мощность цепи:
Построим токи гармоник и суммарную
кривую тока, полученную в результате графического сложения отдельных гармоник.
Рис. 3
2. Расчет симметричной трёхфазной электрической
цепи
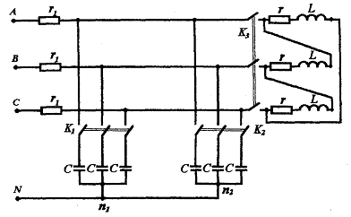
В соответствии с исходными данными, приведенными
в табл. 2., выбрать симметричную трёхфазную электрическую цепь, найти токи в
линии, составить баланс мощностей, построить векторную диаграмму токов и
напряжений. Параметры элементов схемы замещения и значение приложенного
напряжения принять в соответствии с данными в табл. 3.
Таблица 2
Последние
цифры шифра
Номер
рисунка
Положение
ключа
К1
К2
К3
24
2.15
З
З
Р
Таблица 3
Номер
предпоследней цифры шифра
2
380
3
9
15
12
30
Рис. 4
Рис. 5
Для симметричного источника,
соединенного звездой:
тогда Для расчетной схемы:
Токи в фазах В и С получаются путем
умножения токов фазы А на соответствующие фазные множители:
Активная, реактивная и полная
мощности симметричной нагрузки независимо от соединения:
где Рассчитаем падения напряжения на
всех элементах схемы замещения фазы А:
Построим векторную диаграмму.
Выбираем масштаб по току и по напряжению:
Рис. 3 Векторная диаграмма токов и
напряжений трёхфазной электрической цепи
. Расчет несимметричной трёхфазной
электрической цепи
В трехфазной несимметричной цепи
найдём ток в ветвях при ЭДС фазы А Таблица 4
Последние
цифры шифра
Номер
рисунка
Положение
ключа
К1
К2
К3
24
3.4.з
З
P
Р
Таблица 5
, Ом![]()
![]()
, А![]()
![]()
Сопротивление
элементов схемы замещения, Ом.
![]()
![]()
![]()
![]()
- сдвиг по фазе между фазным
напряжением и током.
Номера расчетной схемы замещения и
положения ключей приведены в табл.1. Параметры элементов схемы замещения
принимаем в соответствии с данными табл.2.
Сопротивление элементов схемы замещения, Ом.
ХL1
R
XL
XC
2
5
5
20
10
Рис. 4
Для симметричного источника,
соединенного звездой при ЭДС фазы А
ЭДС фаз В и С:
Напряжение смещения нейтрали:
Сопротивления фаз несимметричной
звезды:
Линейные токи:
Ток в нейтральном проводе:
Активная мощность цепи равна
суммарной мощности потерь в резисторах:
Реактивная мощность цепи:
Комплексная мощность источника:
Построим векторную диаграмму.
Рис. 5
4. Расчет переходных процессов в
цепях с одним накопителем энергии
Рис. 6
В цепи с одним накопителем энергии размыкание ключа происходит в момент t=0. Определим в переходном режиме законы изменения токов и напряжений, если в цепи действует источник:
1. постоянного тока.
· Установившийся режим до коммутации.
По полученным значениям далее записываем:
· Дифференциальные уравнение,
описывающие токи и напряжения в момент времени t=0.
Решение этой системы для каждой
неизвестной представляется в форме:
· Принужденные составляющие находим из установившегося режима, наступившем после переходного процесса.
По второму закону Кирхгофа запишем
алгебраическое уравнение:

· Получим характеристическое уравнение через входное сопротивление.
Входное комплексное сопротивление схемы для
послекоммутационного состояния
Так как характеристическое уравнение
имеет один корень, то свободные составляющие записываются в следующей форме:
· Определение постоянных. В результате
расчета, получим выражения для неизвестных:
Для определения неизвестных
постоянных А1, А2, определим начальные значения
По первому
правилу коммутации
Окончательно, после подстановки:
. Расчет переходного процесса в цепи
с двумя накопителями энергии
Определим независимые и зависимые начальные условия при наличии источников:
а) постоянных ЭДС(токов)
Рис. 7
1.
Установившийся режим до коммутации.
По полученным значениям далее
записываем:
2. Запишем систему алгебраических уравнений
для схемы при новом установившемся режиме с учетом правил коммутации:
б) синусоидальных ЭДС (токов)
1. Установившийся режим до коммутации.
Комплексная амплитуда тока
Комплексная амплитуда напряжения на
ёмкости:
Мгновенное значение тока:
Мгновенное значение напряжения на
ёмкости:
В момент коммутации (при t=0-)
2. Запишем систему алгебраических уравнений для схемы при новом установившемся режиме:
Найдем корни характеристического уравнения.
Получим характеристическое уравнение через входное сопротивление.
Входное комплексное сопротивление
схемы для после коммутационного состояния
В этом случае имеет место колебательный режим.