Материал: Расчет цикла парогазовой установки

Внимание! Если размещение файла нарушает Ваши авторские права, то обязательно сообщите нам

Расчет цикла парогазовой установки

Санкт-Петербургский Государственный Технологический Университет Растительных Полимеров

Кафедра тепловых установок и тепловых двигателей







Курсовая работа

на тему

“Расчет цикла парогазовой установки”

по дисциплине “Техническая термодинамика”


Работу выполнил: студент 4 курса

Беляев А.И.

Спец. 140-104

шифр: 094-861







Содержание

.Описание принципиальной схемы ПГУ

. Принципиальная схема ПГУ

.Исходные данные

.Расчёт тепловой схемы ПГУ

.1 Расчет параметров цикла ГРУ

.2 Определение расходов рабочих тел ПГУ

.3 Построение теплового процесса расширения пара в турбине

.4 Расчет регенеративной системы паровой турбины

.5 Определение мощности, развиваемой паровой турбиной

.6 Определение расхода охлаждающей воды в конденсаторе паровой  турбины

.7 Определение показателей эффективности

.Учебно - исследовательский раздел

.1 Влияние паровой регенерации на эффективность

.2 Исследование эффективности  при многоступенчатом сжатии  воздуха в компрессоре

. Влияние температуры газа перед турбиной на эффективность ПГУ

Список литературы

парогазовая установка турбина конденсатор

1.Описание принципиальной схемы ПГУ

Атмосферный воздух, сжатый в компрессоре, подаётся в высокопарный парогенератор, работающий на жидком или газообразном топливе, сжигаемом под давлением. Продукты сгорания топлива с требуемой температурой (700-1100°С) поступают в газовую турбину, в которой расширяются до атмосферного давления и затем, охладившись в горячей стороне газового подогревателя до температуры 120-160°С, выбрасываются в атмосферу.

Перегретый пар из ВПГ поступает в часть высокого давления (ЧВД) паровой турбины, в которой расширяется до промежуточного давления Р. Далее пар отводится из турбины в промежуточный пароперегреватель, где нагревается до первоначального значения температуры. Вновь перегретый пар возвращается в часть низкого давления (ЧНД) паровой турбины, в которой расширяется до давления в конденсаторе (КД).

Конденсат из конденсатора, под действием конденсатных насосов, прокачивается через систему регенеративных подогревателей, включающую в себя подогреватель низкого давления (ПНД) и деаэратор (Д).

Подогрев воды в них осуществляется паром, отбираемым из отборов турбины.

Подогретая таким образом питательная вода насосом (ПН) подаётся в холодную сторону газового подогревателя, где нагревается до температуры кипения и затем направляется в высоконапорный парогенератор.

2.Принципиальная схема ПГУ.(рис.1)

ВПГ - высоконапорный парогенератор; ГТ - газовая турбина; К - компрессор; ГП - газовый подогреватель; ЧВД, ЧНД - части высокого и низкого давления паровой турбины; КД - конденсатор; КН - конденсаторный насос; ПНД - подогреватель низкого давления; Д - деаэратор; ПН - питательный насос;

, 2(2d) - всасывание и нагнетание воздуха в компрессоре; 3,4(4d) - вход и выход газа в газовой турбине; 5 - выброс газа в атмосферу; 6,7(7d) - вход и выход пара в ЧНД; 8,9(9d) - вход и выход пара в ЧВД; 10 - выход основного потока конденсата из конденсатора; 11 - выход подогретого конденсата из ПНД; 12 - подача питательной воды в газовый подогреватель; 13 - подача питательной воды в ВПГ.

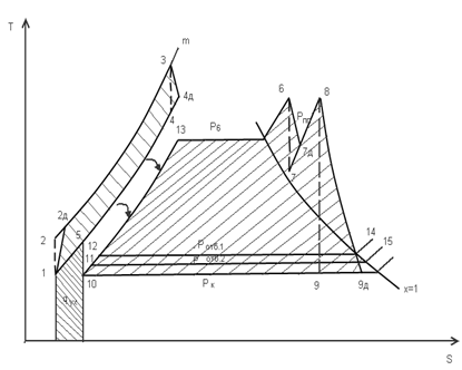
Т-S диаграмма цикла ПГУ и ВПГ.(Рис.2)



3.Исходные данные

схема парогазовой установки (см.рис.1);

полезная мощность газотурбинной установки - ;

температура перед газовой турбиной - t3= 805  ;

параметры воздуха перед компрессором - t1 =10  , Р1 =760 мм.рт.ст.;

параметры острого пара - t6 =415  , Р6 =4,2 МПа;

давление в отборах турбины и конденсатора - Ротб1=0,12 Мпа, Ротб2=0,075 Мпа, Рк=0,012 Мпа;

давление в промежуточном пароперегревателе - Рпп=1,45 Мпа;

внутренние относительные КПД газовой турбины - ηoiгт=0,88, ηoiпт=0,78, ηoiк=0,85;

теплота сгорания топлива =33000 кДж/кг;

4.Расчёт тепловой схемы ПГУ

.1 Расчет параметров цикла ГРУ

В качестве определяемого параметра цикла ГТУ при изобарном подводе теплоты принимают степень повышения давления πк при адиабатном сжатии в компрессоре. Полезную удельную работу цикла ГТУ ℓгту можно выразить как разность между действительной удельной работой газовой турбины ℓгтд и действительной удельной работой сжатия в компрессоре ℓкд:

ℓгту= ℓгтд - ℓкд.

Выразим каждую работу через её теоретическое значение: (1)

ℓгтд= ℓгт* ηoiгт; ℓкд= ℓк/ ηoiк.

Запишем выражение для внутреннего относительного КПД реального цикла ГТУ в следующем виде:

ηi = (2)

Как известно работа сжатия находится из равенства:

 (3)

Для действительных циклов ГТУ оптимальная степень сжатия определяется по формуле [1]:

 . (4)

Где коэффициенты m = (К-1)/К=(1,4-1)/1,4=0,286; .

При заданных значениях = 1078 К , =283 К , =0,88 ,= 0,85 (см. исходные данные) по выражению находим:

=(0,88*0,85*1078/283) 1/2*0,286 =6,3

Принимаем =6

Из соотношения  =  находим:

 =283 * 60,286 =472 К.

Давление в топке ВПГ составляет:

= *  =0,101*6=0,606 Мпа.


, т.е. = (5)

 =, (6)

 = . (7)

Из соотношений (6) и (7) следует

 =, (8)

Откуда =646К.

Давление 0,101 Мпа.

Значение действительных температур газа на выходе из компрессора и газовой турбины найдем из выражений внутреннего относительного КПД этих машин:

, (9)

 . (10)

Из выражений (9) и (10) найдем действительные значения температур газа на выходе из компрессора и газовой турбины.

(472-283)/0,85 + 283= 505 К

 =1078 - 0,88(1078-646)= 698 К

.2 Определение расходов рабочих тел ПГУ

Полезная мощность ГТУ может быть определена из уравнения

 . (11)

В выражении (11)  - теоретическая мощность, развиваемая газовой турбиной

, (12)

А  - теоретическая мощность, потребляемая компрессором

, (13)

Принимая, что , уравнение (11) перепишем в следующем виде:

 , (14)

Откуда  = 183кг/с.

Здесь значение теплоемкости =1,005 Дж/кгК=1,005 кДж/кгК.

Действительная мощность газовой турбины составляет:

 183*1,005(1078-646)*0,88=69569 кВт.

Действительная мощность, потребляемая компрессором:

= ==40894 кВт.

Расход питательной воды, соответствующий расходу острого пара , подаваемого на паровую турбину, определим из уравнения теплового баланса газового подогревателя с учетом действительных параметров газовой степени:

 (15)

Или

) =  (16)

Температура газа на выходе из газового подогревателя принимается равной 1200С(T5=393 К). При более низкой температуре  наблюдается сернистая коррозия поверхностей нагрева.

Энтальпия воды на выходе из смешивающего подогревателя (деаэратора)  определяется из условия, что питательная вода нагревается в нем до состояния насыщения при давлении греющего пара.

В тепловой схеме ПГУ принимается деаэратор атмосферного типа с давлением греющего пара 0,12 МПа. По таблицам находим 0С и  . Как известно из рис. 2 , питательная вода в газовом подогревателе нагревается до состояния насыщения при давлении 4,2 Мпа (точка 13). По таблицам водяного пара находим = 1102 кДж/кг и определяем расход.

==84,61 кг/с.

.3 Построение теплового процесса расширения пара в турбине

В цикле ПГУ применяется паровая турбина конденсационного типа с промежуточным перегревом пара, состоящая из части высокого и низкого давления (рис.1). Для определения параметров пара, необходимых в дальнейших расчетах, построим процесс расширения пара в турбине в h-S - диаграмме.

Процесс расширения пара в паровой турбине(Рис.3)


По параметрам пара перед турбиной  Мпа и  = 4150 С на h-S - диаграмму наносится точка 6. Из точки 6 проводится линия 6-7 изоэнтропного процесса расширения пара в ЧВД турбины до пересечения ее и изобарой промежуточного перегрева пара  МПа

Располагаемый теплоперепад ЧВД турбины определяется по разности энтальпий точек 6 и7:

=  3248-2964=284 кДж/кг (17)

Использованный теплоперепад ЧВД турбины с учетом внутреннего относительного КПД составляет:

= = 284*0,78= 222 кДж/кг (18)

Величина = 222 кДж/кг Откладывается от точки 6 на изоэнтропе 6-7 (отрезок 6А); через точку А проводится прямая, параллельная оси S, до пересечения с изобарой . Точка 7???? характеризует действительное состояние пара на выходе из ЧВД турбины. Прямая 6-7???? характеризует действительный (политропный) процесс расширения пара в ЧВД турбины. При этом энтальпия пара в конце расширения

  = 3248 - 222 = 3026 кДж/кг (19)

После ЧВД турбины (точка 7????) пар выводится во вторичный пароперегреватель, где нагревается изобарно до начальной температуры ( . На h-S диаграмме по параметрам пара

  = 1,45 МПа и 4150 С находится точка 8, характеризующая состояние пара перед ЧНД турбины. Дальнейшее построение теоретического и действительного процессов расширения пара в ЧНД аналогичного процессу расширения пара в ЧВД турбины.

Располагаемый теплоперепад ЧНД определяется из разности энтальпий точек 8-9:

=  3290 - 2348=942 кДж/кг

По аналогии с выражениями (18) и (19):

=942*0,78= 735 кДж/кг;

= 3290-735=2555 кДж/кг

На h-S диаграмме на пересечении действительного процесса расширения пара в ЧНД 8-9???? с изобарами пара, отбираемого из отборов турбины , , наносятся точки 14-15, характеризующие состояние пара в регенеративных отборах.

Определяется теплосодержание пара в отборах:

2846 кДж/кг;

2778 кДж/кг.

.4 Расчет регенеративной системы паровой турбины