Материал: Протоколы сети доступа - Гольдштейн

Внимание! Если размещение файла нарушает Ваши авторские права, то обязательно сообщите нам

30Глава 1

1.5.ВКЛЮЧЕНИЕ МАЛЫХ АТС ПО АБОНЕНТСКИМ

ЛИНИЯМ: ИСХОДЯЩИЙ ВЫЗОВ

Термин «абонент», применяется в предыдущих параграфах данной главы несколько упрощенно, может иметь значительно более сложный смысл. Наряду с наиболее часто встречающимся случаем — люди на обоих концах, желающие переговорить друг с другом, в роли оконечных абонентских устройств могут выступать аппараты факсимильной связи, телефонные автоответчики, персональные компьютеры со встроенными модемами, а также малые офисные АТС. Все эти устройства идентичны с точки зрения логики сигнализации по двухпроводным аналоговым абонентским линиям, но различаются характером и параметрами создаваемых ими потоков нагрузки, в том числе — длительностями занятия.

Последнее обстоятельство обуславливает рассматриваемые в этом и следующем параграфах специфические принципы включения таких устройств в районные АТС различных классов. В следующих главах этого тома рассмотрены более эффективные протоколы сигнализации для перспективной архитектуры сети абонентского доступа, предусматривающей, в частности, интеграцию трех видов абонентской нагрузки (речь, данные, видеоинформация) и трех видов передающей среды (медный кабель, оптоволокно и радиоканал). В этой главе рассмотрение ограничено только включением в РАТС малых АТС по аналоговым абонентским линиям.

Учрежденческие АТС (УАТС) представляют собой коммутационные станции различных типов и емкостей, предназначенные для организации внутрипроизводственной телефонной связи между абонентами предприятия или учреждения по сокращенной нумерации, а также для предоставления некоторым из этих абонентов (или всем абонентам) выхода на телефонную сеть общего пользования с набором специального индекса выхода, как правило — цифры 9.

По характеру их включения в телефонную сеть общего пользования (ТфОП) можно выделить следующие три группы УАТС:

а) УАТС большой емкости (свыше 6000 портов), включаемые в ТфОП на правах районной АТС городской телефонной сети;

б) УАТС средней емкости (от 100 до 6000 портов), включаемые в ближайшие районные АТС городской телефонной сети по межстанционным соединительным линиям на правах подстанций или выносных коммутационных модулей и самостоятельно под-

Аналоговые абонентские линии

31

держивающие функцию автоматического определения номера вызывающего абонента (АОН)

в) УАТС малой емкости (до 128 портов), включаемые в ближайшую районную АТС городской телефонной сети по двухпроводным аналоговым абонентским линиям этой РАТС.

Протоколы сигнализации для УАТС первых двух групп описаны в первом томе и главах 3—5 настоящего тома монографии. Что касается протоколов для последней группы УАТС, имеющей наивысшие показатели темпов внедрения в российских телефонных сетях, то они и составляют предмет рассмотрения этого и следующего параграфов. Быстрое распространение малых АТС с включением по аналоговым абонентским линиям 'связано с возрастанием платы за пользование абонентской линией сети общего пользования, развитием малого бизнеса в России, появлением широкого ассортимента сертифицированных малых АТС и т.п.

Пример включения малой АТС в районную АТС декадно-шаговой системы приведен на рис. 1.13, а в районную АТС координатной системы — на рис. 1.14.

Рис. 1.13. Включение малой АТС в декадно-шаговую АТС типа АТС-54

Наиболее существенным ограничением для включения малой АТС по абонентским линиям, налагаемым нормативными документами Министерства связи России, является ограничение нагрузки на абонентскую линию между малой АТС и районной АТС

www.kiev-security.org.ua BEST rus DOC FOR FULL SECURITY

www.kiev-security.org.ua

BEST rus DOC FOR FULL SECURITY

32

Глава 1

 

 

 

 

Рис. 1.14. Включение малой АТС в координатную АТС типа АТСК

величиной 0.15 Эрл при включении в координатную АТС и 0.155 Эрл при включении в декадно-шаговую АТС. Практическая реализация этого ограничения обеспечивается выбором правильного соотношения числа внутренних абонентов с правом выхода на сеть общего пользования и внешних абонентских линий к районной АТС. Еще одним таким средством может служить специальное программное обеспечение для ограничения исходящей нагрузки, но его востребованность заказчиками весьма сомнительна. Так как функция ограничения нагрузки с трудом поддается контролю, то в ряде нормативных документов просто ограничивается максимальная емкость малых АТС величиной 128 портов.

Эффективным практическим решением проблемы, наряду с ограничением емкости и/или внешней нагрузки малых АТС, может быть их включение в районную АТС по тем же правилам, что и линий уличных таксофонов (рис. 1.15). Для первого из представленных на рисунке двух вариантов такого включения (при нагрузке до 0.33 Эрл на линию) разрешается использование 9 линий в каждом 100-номерном абонентском модуле. Номера этих линий 11, 22, 33,44, 55, 66, 77, 88 и 00 (номер 99

обычно используется для тестового оборудования).

Резюмируя вышесказанное, нельзя не высказать предположение о том, что при введении повременной оплаты местных разговоров эта проблема практически исчезнет, более того, возникнет противоположная задача — увеличения, а не ограничения удельной нагрузки абонентских линий. А применяющиеся до той поры административные ограничительные меры, по мнению автора, следует использовать весьма умеренно, помня диалог из известной пьесы Евгения Шварца: «Меня так учили. — Всех учили. Но зачем ты оказался первым учеником, скотина этакая?».

Ниже представлены SDL-спецификации сигнализации при включении малых АТС по аналоговым абонентским линиям. При-

Аналоговые абонентские линии

33

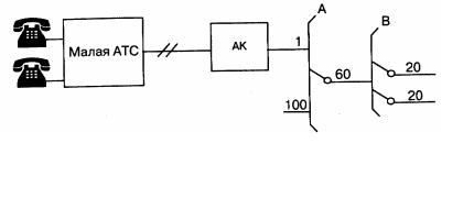
менительно к исходящей связи упрощенная схема включения малых АТС представлена на рис. 1.16.

Рис. 1.15. Включение малых АТС на правах таксофонов

Рис. 1.16. Включение малой АТС в РАТС: исходящий вызов

Приняты следующие значения для таймеров:

Т 1=50 мс — длительность импульса и длительность паузы (декадный код); Т2==650 мс — длительность межцифрового интервала (декадный код); Т3==500 мс — выдержка времени при освобождении перед новым занятием.

34 Глава 1

Строго говоря, вместо таймера Т 1=5 0 мс следовало бы использовать два таймера: Т 1.1 =40 медля импульса и Т 1.2==60 медля паузы, но для упрощения SDL-диаграммы на рис. 1.18 принято усредненное значение.

Для работы с SDL-диаграммой на рис. 1.17 желательно изучение главы 2 первого тома, в которой излагаются основы языка SDL. Для тех читателей, которые по каким-либо причинам не хотят или не могут сделать это, ниже приводится достаточно подробное описание весьма простого и очевидного процесса SU BLOC обработки исходящего вызова к районной АТС, который может быть использован и в качестве учебного примера SDL.

Рис. 1.17. Диаграмма взаимодействия процесса SU BLOC для исходящего вызова

В исходном состоянии процесс обработки исходящего вызова SUBLOC ожидает сообщения об исходящем вызове, т.е. о наличии абонента, набравшего индекс выхода на сеть общего пользования («9», «О» или другую заранее определенную цифру).

После появления этого сообщения от программного обеспечения (ПО) обработки вызова малой АТС выполняется задача по-