Материал: Производство вспученного перлита

Внимание! Если размещение файла нарушает Ваши авторские права, то обязательно сообщите нам

Производство вспученного перлита

Введение

технологический оборудование вспученный перлит

Рост и обновление основных фондов промышленности, развитие общественного производства, ускорение фондоотдачи, научно-технический прогресс и рост благосостояния населения в большой степени связаны с эффективностью капитального строительства. Повышение эффективности строительного производства обеспечивается его индустриализацией, поэтому в решении перечисленных важнейших народнохозяйственных задач велика роль ускоренно развивающейся промышленности строительных изделий и конструкций.

Основным материалом для возведения разнообразных строительных конструкций, в том числе из изделий заводского изготовления, в настоящее время и в обозримом будущем является бетон. Это связано с расширением понятия «бетон». Бетонов стало много: тяжёлый и лёгкий, конструкционный и теплоизоляционный, дорожный и гидротехнический, ячеистый и крупнопористый, жаростойкий и декоративный, защищающий от радиоактивных воздействий и от химической коррозии, керамзитобетон, шлакопемзобетон, аглопоритобетон, золобетон и т.д., причём название бетона часто зависит от названия используемого заполнителя, а свойства его в значительной мере определяются свойствами заполнителя.

Применение лёгких пористых заполнителей позволяет получать эффективные лёгкие бетоны для теплоизоляции, стеновых панелей, монолитных стен и разнообразных несущих конструкций. Замена обычных тяжёлых заполнителей пористыми позволяет существенно изменить свойства бетонов в желаемом направлении: уменьшить плотность, улучшить теплоизоляционные свойства и т.д. В то же время достаточная прочность ряда пористых заполнителей обеспечивает возможность получения на их основе конструкционных лёгких бетонов высокой прочности.

Запасы природных пористых заполнителей в нашей стране ограничены. Применение пористых заполнителей - отходов промышленности также носит локальный характер: вблизи предприятий выдающих такие отходы. Поэтому основным источником обеспечения потребности строительства и строительной индустрии пористыми заполнителями является промышленность искусственных пористых заполнителей.

Одним из эффективных, но малораспространённых, искусственных пористых заполнителей является вспученный перлит, технология производства которого рассмотрена в данной работе.

1.     
Общие положения. Характеристика сырья

Вспученный перлит - материал, получаемый вспучиванием при обжиге подготовленных зёрен из вулканических водосодержащих пород (перлит, обсидиан, витрофир и др.).

Перлитами называют природный материал, породу, представляющую из себя вулканическое стекло, в составе которого 70-75% SiO2; 12-14% AI2O3; 3-5% NaO, примерно столько же К2О, до 1% Fe2O3, CaO, МgО.

С геологической точки зрения возникновение перлита связано с тем, что на кромке потока лавы, в местах первичного соприкосновения магматических расплавов и земной поверхности, в результате быстрого охлаждения (закалки) лавы формируется вулканическое стекло - обсидиан. В дальнейшем подземные воды проникают сквозь обсидиан, происходит его гидратация и образование гидроксида обсидиана - перлита.

Для перлита характерна мелкая концентрически-скорлуповатая отдельность (перлитовая структура), по которой он распадается на округлые ядра (перлы), напоминающие жемчужины с характерным блеском. Среди других вулканических пород перлит отличается наличием конституционной воды (более 1%). Пористость может составлять 8-40%. Перлит может иметь черную, зеленую, красно-бурую, коричневую, белую окраску различных тонов. Разновидности перлита: обсидиановый (с примесями обсидиана), сферолитовый (с примесями полевого шпата), смолянокаменный (однородный по составу), стекловатый и другие. По текстурным признакам выделяют массивный, полосчатый, брекчиевидный и пемзовидный перлиты.

В перлите содержится около 1…2% (иногда больше) связанной воды. При обжиге (1000… 1250°С) перлит размягчается и под давлением паров высвобождаемой воды сильно вспучивается. Коэффициент вспучивания - до 10… 12. Чем он больше, тем меньше расход сырья на единицу объема продукции. Поэтому многие предприятия, производящие легкий вспученный перлит, работают на привозном сырье с умеренной себестоимостью продукции. Однако если коэффициент вспучивания меньше, удельные затраты на перевозку сырья увеличиваются и себестоимость продукции возрастает.

В соответствии с ГОСТ 10832-91 «Песок и щебень перлитовые вспученные» предусматриваются марки но насыпной плотности для песка 75… 500, для щебня - 200… 500. Прочность щебня при сдавливании в цилиндре для указанных марок должна быть не менее 0,1… 0,6 МП а. Вспученный перлит отличается от других пористых заполнителей высоким водопоглощением, которое тем больше, чем больше степень вспучивания. В стандарте водопоглощение щебня ограничивается: для марки 500 - не более 30%, для марки 400-50%, для марки 300-75%, для марки 250-100%, для марки 200-125% по массе.

В отличие от других пористых заполнителей мелкие фракции вспученного перлита легче крупных. Это объясняется особенностями вспучивания стекловидных пород по сравнению, например, с глинистыми. Так, при производстве керамзита мелкие глиняные гранулы (до 5 мм) часто совсем не вспучиваются, так как еще до размягчения теряют все образующиеся при обжиге газы. Перлитовая же стекловидная порода удерживает газы, и чем лучше она прогревается в мелких гранулах, тем интенсивнее вспучивается.

Особенности вспученного перлита:

·    Имея малую насыпную плотность в пределах 100 кг/м3, он применяется для изготовления теплоизоляционных материалов, обладающих хорошими акустическими свойствами.

· Штукатурные растворы с применением вспученного перлитового песка используется как эффективный утеплитель, при этом 3 см такого раствора могут заменить 15 см кирпича.

·    Используя перлитовый песок М-75-200 и различные вяжущие материалы (цемент, гипс, известь) можно получить объемную массу в сухом состоянии от 400 до 1000 кг/м3, коэффициент теплопроводности от 0,12 до 0,32 ккал/м*час*оС при прочности от 5 до 75 кг/см2.

·              Применяется перлитовый песок в качестве наполнителя и добавок при производстве огнестойких и антикоррозийных обмазок, гипсовых перегородок, в качестве заполнителя легких бетонов, в качестве теплоизоляционных засыпок при температуре изолируемых поверхностей от -200 до +875 оС.

·              Обладая высокой открытой пористостью (до 75%), он интенсивно поглощает жидкие вещества, в том числе и органические. Так 10 кг вспученного перлита в течении 3-5 минут впитывают около 100 кг жидкости (воды, нефти, мазута и других жидких углеводородов). Практически один объем вспученного перлита поглощает один объем жидкости. При этом воду он с легкостью отдает обратно. Это свойство позволяет применять перлитовый песок: В сельском хозяйстве при редких поливах, повышенной засушливости. При разливе нефти, мазута и других жидких углеводородов адсорбционным методом локализации разлива. При этом нефтепродукты из смеси легко выгорают. Оставшаяся сыпучая масса, состоящая из перлитового песка и коксового остатка, может использоваться повторно или запахивается на месте.

2. Номенклатура и характеристика продукции

Используется для тепловой изоляции при температуре изолируемой поверхности от -200 до 875°С, а также в качестве теплоизоляционного материала для кислородных и компрессорных комплексов, для производства перлито-битумных и перлитоцементных теплоизоляционных изделий; при гидропонном выращивании сельскохозяйственных культур; при удалении разливов нефтепродуктов с любых поверхностей.

Получается высокотемпературным обжигом водосодержащего вулканического стекла - перлита.

Коэффициент теплопроводности при 25+5 o С Вт/(м o С) не более 0,043

Температура вспучивания - 1000°С

Температура применения - от -200 до +875°С

Влажность не более 2% по массе

Зерновой состав

Фракция от 0,16 до 5,0 мм (группа рядовой)

Марка по насыпной плотности

(насыпная плотность от 50 до 75 кг/м3)

(насыпная плотность от 75 до 100 кг/м3)

Крупнейшими потребителями вспученного перлита в России являются металлургические предприятия. Более 20% этого материала потребляется металлургами.

Наибольшее применение вспученный перлит нашел в изоляции блоков разделения воздуха на кислород и азот. С 1975 года по 1986 все существующие в СССР блоки разделения были переведены на вспученный перлит.

В 80-е - 90-е вспученный перлит нашел широкое применение при разливке чугуна и стали. Так вспученный перлит насыпной плотностью до 100 кг/м 3 многими металлургическими заводами используется при изоляции зеркала расплава в ковшах, изложницах, литейных формах.

Вспученный перлитовый песок с размерами частиц до 5 мм упакованный в бумажные мешки забрасывается на зеркало расплава. Мешок при соприкосновении с расплавленным металлом сгорает, а вспученный перлитовый песок рассыпается по зеркалу расплава. Образованный теплоизоляционный слой препятствует быстрому охлаждению расплава. При этом примеси, шлаки, присутствующие в металле переходят в прибыльную часть, улучшая, тем самым, качество основного металла. Концентрация шлаков, примесей, газовой фазы в прибыльной части увеличивает выход годного металла на кг расплава.

Еще одним направлением использования вспученного перлита в металлургии является его применение в литьевых формующих смесях. Добавка вспученного перлита в литейные пески делает стенки форм менее теплопроводными. Это способствует медленному остыванию отливок, а, следовательно, более полному выходу примесей и шлаков в прибыльную удаляемую часть.

Часто для лучшего распределения вспученного перлита по литьевой форме используют заранее подготовленные перлито-графитовые смеси.

Применение теплоизоляционных покрытий на основе вспученного перлита при производстве отливок из стали в объеме до 45%, цветных сплавов до 30, чугуна до 10 обеспечивает значительную экономию металлов: стали - 2250 тыс. т. в год; чугуна - 150; цветных сплавов - 1,5 тыс. т. в год.

Традиционной областью применения вспученного перлита в металлургии являются футеровочные работы. В России выпускается целый ряд огнеупоров на основе вспученного перлита. Наиболее распространенным материалом этого класса является перлитошамот. Температура применения до +900°С. Среди огнеупоров этого класса перлиталь, перлитодиатомит, эпсоперлит.

3. Характеристика используемого сырья

В качестве сырья для производства вспученного перлита применяются различные вулканические водосодержащие горные породы: перлиты, обсидианы, витрофиры, липариты, туфоперлиты, а в отдельных случаях плотные пемзы и др.

Месторождения этих горных пород встречаются в Сибири, на Дальнем Востоке, в Армении, Азербайджане, в Казахстане, Украине и др. Большие запасы сосредоточены на территории Армении, которые ориентировочно оцениваются в следующих размерах: перлиты 400 млн. м3, обсидианы около 200 млн. м3.

Перспективными районами признаны Закарпатье, Северный Кавказ, Закавказье, Приморский край, Бурятия, Таджикистан, Иркутская и Читинская области. Природный перлит представляет собой кремнеземистое кислое вулканическое стекло с включением полевых шпатов, кварца, биотита и других минералов. Его объемный вес 1700-2290 кг/м3. Общее содержание кремнезема в перлите доходит до 76%. Химический состав перлитов, встречающихся в России, может быть охарактеризован следующими данными: SiO2 - 68,98-76,42%; Аl2O3 - 11,27-14,62; CaO+MgO - 0,62-5,12; Na2O+К2O - 3,1-10,56; Fe2O3+FeO - 0,45-3,8%; ППП - 0,26-5,12. Связанной воды содержится в пределах от 3 до 8%.

4. Выбор и обоснование технологической схемы

Технология производства вспученного перлита включает дробление исходной породы (до 1… 2 мм при производстве песка и до 5… 10 мм при производстве щебня) и сортировку. Перед обжигом сырье в ряде случаев рекомендуется подвергать предварительной термической обработке в сушильном барабане или малой вращающейся печи при температуре 250… 450°С в течение нескольких минут. При этом удаляется свободная и слабосвязанная вода, в дальнейшем зерна породы могут при обжиге выдержать более высокую температуру, не растрескиваясь. Остаточной, трудноудаляемой воды в зернах вполне достаточно для бурного вспучивания при температуре до 1250°С.

Для получения вспученного перлита используют вертикальные (шахтные) и вращающиеся печи, а также печи кипящего слоя. Выбор конструкции печи определяется размером обжигаемых зерен, требуемыми свойствами заполнителя и запланированной производительностью.

Технология производства вспученного перлитового щебня и песка предусматривает термическую обработку сырья во вращающихся печах. Легкие мелкие фракции песка вспучиваются в основном во взвешенном состоянии и уносятся из печи потоком отходящих газов (с последующим осаждением в циклонах). Более крупные фракции, не увлекаемые газовым потоком, вспучиваются на футеровке печи и выгружаются. Для ускорения нагрева материала используют принцип прямотока, т.е. факел горящего топлива и поток газов направляют не навстречу потоку обжигаемого материала, а в том же направлении - по наклону печи.

Для производства вспученного перлитового щебня и песка выбираем технологическую схему представленную на рисунке 1. Данная схема способствует разделению вспученного песка и щебня непосредственно на стадии обжига, за счёт того что мелкие частицы вспучиваются в потоке газов и вместе с ними уносятся в бункер готовой продукции. Крупные частицы, в свою очередь, вспучиваются за счёт прижатия к футеровке, и доходя до конца печи удаляются с помощью пневмотранспорта. Вспучивание мелких частиц в потоке газов становиться возможным за счёт предварительного подогрева сырья до 250-400°С. Следовательно, данная схема является оптимальной для производства вспученного перлитового песка и щебня, так как позволяет исключить процесс сортировки готовой продукции, обеспечивая заданную марку по плотности.


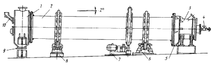
Технологическая схема производства перлитовых щебня и песка обжигом во вращающейся печи

- загрузочное устройство для сырья; 2 - элеватор ленточный; 3 - силос сырья; 4 - питатель тарельчатый; 5 - конвейер ленточный передвижной; 6 - элеватор ленточный; 7 - затвор реечный шиберный; 8 - питатель дисковый; 9 - печь термоподготовки СМТ-178; 10 - печь вспучивания вращающаяся СМТ - 179; 11 - дутьевой вентилятор; 12 - циклон; 13 - осадитель; 14 - сито-бурат; 15 - затвор-питатель; 16 - силосы готовой продукции; 17 - затвор челюстной; 18 - питатель дисковый (производство щебня); 19 - питатель ячейковый (производство песка).

Как показано на схеме, сырьё, поступая в загрузочное отверстие 1, подаётся по ленточному элеватору 2 в силос сырья 3. Затем, с помощью тарельчатого питателя 4, сырьё поступает последоательно на ленточный конвейер 5 и ленточный элеватор 6, проходя через шиберный затвор 7 и дисковый питатель 8 оно поступает в печь термоподготовки 9. С разгрузочной стороны печи в неё подаётся топливо (газ) и воздух. Такая подача топлива способствует постепенному нагреву сырья, исключая возможность преждевременного теплового удара.

Из печи термоподготовки сырьё поступает в печь спучивания 10. Воздух и топливо в печь подаётся со стороны загрузки, что способствует термическому удару, в следствии которого происходит вспучивание при температуре 1250°С.

Мелкие частицы выносятся из печи вместе с дымовыми газами и после очистки через затвор-питатель 15 попадают в приёмочный бункер 16. Крупные частицы по пневмотранспорту направляются в осадитель 13, а затем просеиваются в сито-бурате 14. Отсортированный продукт поступает в бункер готовой продукции 16.

Основным технологическим оборудованием при использовании данной схемы являются: печь термоподготовки СМТ - 178 и печь вспучивания вращающаяся СМТ - 179.

Печь термоподготовки СМТ - 178

- камера загрузки; 2 - футерованный барабан; 3 - топка; 4 - горелка; 5 - пересыпная течка; 6 - опорно-упорное устройство; 7 - привод; 8 - опорное устройство; 9 - шибер; 10 - загрузочная течка.

Печь термоподготовки СМТ - 178 показана на рисунке 3. Она состоит из футерованного барабана 2, камеры загрузки 1, привода 7, опорного 8 и опорно - упорного 6 устройств, топки 3, форсунки либо горелки 4.