Материал: Производство фенолформальдегидных смол

Внимание! Если размещение файла нарушает Ваши авторские права, то обязательно сообщите нам

Из сырого фаолита изготавливают:трубы, царги, цилиндрические сосуды, мешалки.

Из отвержденого фаолита изготавливают угольники, тройники, ванны.

. Трубы и изделия из текстофаолита

Выпускаемый в настоящее время фаолит в ряде случаев не может быть использован ввиду не достаточной механической прочности. Армирование или текстолизация фаолита тканью дает возможность получить материал со значительно улучшенными механическими свойствами.

Фаолитовые трубы получают обычным способом. Неотвержденное фаолитовое изделие плотно обматывают полосками ткани, смазанные бакелитовым лаком. Если не требуется повторного наложения фаолита, то в таком виде и производят отверждение текстофаолита.

Таким образом, получают трубы и царги различных диаметров, из которых впоследствии монтируют аппараты или выхлопные трубы.

Прочее

Для лакировки деревянных изделий применяют самоотверждающиеся лаки, которые также изготавливают из феноло-формальдегидных смол.

Резольными фенолоформальдегидными смолами можно также склеить дерево с деревом или с металлом. Сцепление получается очень прочным, и этот способ склеивания в настоящее время находит все более широкое применение, особенно в авиационной промышленности.

В промышленности склеивание смолами на основе фенола применяется при изготовлении клееной фанеры и древесноволокнистых пластиков. Кроме того, такие смолы успешно используются для изготовления щеток и кистей, а в электротехнике ими отлично склеивают стекло с металлом в лампах накаливания, люминесцентных лампах и радиолампах.

. Производство фенолформальдегидных смол

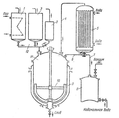
Получение фенолформальдегидных смол резольного типа зависит от условий и области их применения. Применяемые в фанерной промышленности типы фенольных смол получают по технологической схеме, показанной на рис. 1.

Рис. 1. Технологическая схема производства фенолформальдегидных смол: 1 - мерник фенола, 2 - мерник формалина, 3 - мерник катализатора, 4, 6, 7, 12 - трубопроводы, 5 - холодильник, 8 - вакуум-сборник, 9 - паровая рубашка, 10 - мешалка, 11 - реактор

Исходное сырье, предварительно проанализированное заводской лабораторией в соответствии с действующими ГОСТами и техническими условиями, дозируется весовыми или объемными мерниками. Конденсацию проводят в реакторах, снабженных мешалками, холодильниками и приборами (термометры, манометры, вакуумметры), позволяющими контролировать процесс. В общем виде процесс конденсации фенольных смол в щелочной среде происходит следующим образом. В рубашку 9 реактора пускают пар и нагревают реактор до 40-45 °С. В реактор 11 загружают расплавленный фенол или жидкие фенолы (фенольную фракцию, трикрезол и др.) из мерника 1 по трубопроводу 12, а затем при работающей мешалке 10 раствор едкого натра или другого щелочного катализатора из мерника 3. Перемешивание продолжают 20-40 мин. Затем включают холодильник 5 на обратное действие, т.е. конденсат может по трубопроводу 4, холодильнику 5 и трубопроводу 6 вернуться в реактор 11.

При работающей мешалке загружают воду и формалин из мерника 2.Смесь нагревают до тех пор, пока температура не достигнет 50-70 °С, а иногда и выше, после чего обогрев выключают. Так как процесс взаимодействия фенола с формальдегидом протекает с большим выделением тепла (реакция экзотермическая), для поддержания температуры в требуемых пределах периодически вводят в рубашку реактора холодную воду для охлаждения.

После выдержки реакционной смеси, которая соответствует периоду образования первичных продуктов и их частичной поликонденсации, для большинства смол температуру реакции повышают до кипения (96-98 °С).При этом следят, чтобы кипение реакционной массы было равномерным и не бурным. Интенсивность кипения регулируют периодической подачей в рубашку реактора пара или холодной воды.

В процессе кипения ускоряется поликонденсация первичных соединений, снижается содержание свободного фенола и формальдегида в смоле, нарастает ее вязкость. Последующие операции представляют собой различной продолжительности выдержки смолы при температуре 70-90 °С до получения требуемой вязкости. Затем в рубашку реактора подают холодную воду и охлаждают смолу до температуры 20-30 °С, после чего сливают ее в приемники. Для получения повышенной концентрации и вязкости смолу подвергают частичному обезвоживанию в вакууме. Для этого переключают холодильник на прямое действие по трубопроводам 4 и 7, включают вакуум-насос через вакуум-сборник 8. Вакуум-сушку смолы ведут при 70-75 °С и разрежении не менее 480-500 мм рт.ст.

По окончании вакуум-сушки включают обратный холодильник и охлаждают полученную смолу до 20-30 °С. По внешнему виду клеящие фенолформальдегидные смолы представляют собой прозрачные жидкости различной вязкости, от светло-янтарного до тёмно-вишнёвого цвета. Они обладают специфическим фенольным запахом. Предельно допустимая концентрация фенола в воздухе производственных помещений составляет 5 мг/куб.м.

. Вред для здоровья человека

.Фенолформальдегидная смола в древесных плитах

При производстве древесных плит, в качестве связующего вещества, как правило, используются фенолформальдегидные смолы.

При производстве древесных плит, в качестве связующего вещества, как правило, используются фенолформальдегидные смолы. Фенол формальдегид содержится также и в самой древесине, и в продукции из древесины.

Содержится и в самой древесине, и в продукции из древесины. Например, именно фенолформальдегид является "виновником" запаха книг, который мы чувствуем в библиотеке - большинству из нас он приятен.

Надо отметить, что фенолформальдегид содержится не только в древесных плитах, он является составляющим многих лако-красочных покрытий, утеплителей, клеев для различных покрытий, а также содержится в дыме сигарет, продуктах горения газовой плиты на кухне и т.д.

В высоких концентрациях фенолформальдегид опасен: он входит в число канцерогенов - веществ, воздействие которых на организм человека может привести к развитию опухолей. При "легком переборе" это приводит к аллергическим реакциям. Кроме того, фенолформальдегид имеет еще одну неприятную особенность: он очень плохо выводится из организма и имеет свойство накапливаться. Одним из последствий становится то, что легкие аллергические реакции затем переходят в астму. Касательно древесных плит МДФ, из которых производятся ламинированные полы, это особенно важно для детей - именно они любят играть, сидя на полу.

Как же тогда можно превысить предельно допустимые нормы эмиссиий фенолформальдегида? Любители книг при этом могут не беспокоиться - даже самым большим количеством книг, собранным в одном месте, этого не добиться. А вот если при производстве плиты превысить допустимое количество добавляемых смол - этого можно добиться запросто!

За счет большого количества смол плита получается тяжелая - то есть ее плотность будет достаточно высокой. Чтобы понимать, о чем идет речь - прочитайте статью Плотность плиты-основы: мифы и реальность. Продавцы будут, конечно, использовать это как основное конкурентное преимущество: дескать, а ну-ка, сравните - какая планка тяжелее? И правда - планка будет тяжелее, но только в этом случае Вы взвешиваете плиту не из волокон, как должно быть, а плиту из смолы. Такая плита никогда не "впишется" в строгие рамки максимального содержания фенол формальдегида, установленные в Европе.

Наиболее опасным в пожарном отношении является формалин. Он имеет температуру вспышки 62 °С. Кроме того, формальдегид легко полимеризуется, отлагаясь в трубах в виде параформа. Температура вспышки параформа 70 °С. Фенол горюч. Необходимо принимать во внимание, что некоторые из олигомеров склонны в процессе слива к самовозгоранию, в связи, с чем необходимо обеспечить соответствующие меры предосторожности.

Фенолформальдегидные олигомеры токсичны. Их пыль вызывает катары дыхательных путей и астмы. Поэтому ПДК пыли олигомеров в воздухе рабочей зоны производственных помещений должно составлять 6 мг/м3.

Фенол ядовит. Вызывает нарушение функций нервной системы. Пыль, пары и раствор фенола раздражают слизистые оболочки глаз, дыхательных путей, кожу. Предельно допустимая концентрация (ПДК) в воздухе рабочей зоны - 0,3 мг/м3. При работе с фенолом следует применять средства индивидуальной защиты от попадания продукта на кожные покровы и слизистые оболочки. Формальдегид внесен в список канцерогенных веществ, обладает токсичностью, негативно воздействует на генетический материал, репродуктивные органы, дыхательные пути, глаза, кожный покров. Оказывает сильное действие на центральную нервную систему.

Обеспечение чистоты воздуха в производственных помещениях должно осуществляться при помощи 10-30-кратного воздухообмена, устройством системы аспирации и постоянным контролем за его чистотой.

Охрана окружающей среды Исходное сырьё для производства фенолформальдегидной смолы относится к числу физиологически активных органических соединений. Фенол, попадая в сточные воды, поглощается растениями и переходит в организм животных и человека. Может накапливаться в печени, вызывая перерождение её клеток, разрушать почечный эпителий. Формальдегид обладает ярко выраженными канцерогенными свойствами, вызывая, в частности, рак носовой перегородки. Учитывая эти обстоятельства, следует принимать повышенные меры предосторожности при размещении и развитии этого производства и смежных с ним предприятий: это: а) тщательная очистка сточных фенольных вод; б) герметичность аппаратов и машин в технологической цепочке; в) максимальная автоматизация производства; г) размещение производства в отдалении от населённых пунктов; д) повышенные меры предосторожности при транспортировке готовой продукции.