Материал: Программа в среде LOGO! SoftComfort для автоматизации системы отопления с/х комплекса

Внимание! Если размещение файла нарушает Ваши авторские права, то обязательно сообщите нам

Программа в среде LOGO! SoftComfort для автоматизации системы отопления с/х комплекса

Введение

Наши предки много веков назад сделали открытие, которое измелило практически всё и стало началом развития человечества. Они научились добывать огонь. С этим открытием пришли огромные изменения в жизни человека: теперь он мог есть жареную пищу более вкусную, чем сырая, он мог передвигаться и в темное время суток, ведь огонь заменил ему солнце, он использовал огонь, чтобы расплавить металл и сделать себе оружие для охоты, можно сказать, что огонь для человека стал таким же необходимым компонентом в его жизни как воздух, вода или пища.

Но на этом человек не остановился и изобрел электричество. Это изобретение открыло двери в новое измерение, которое сулило небывалые возможности. В настоящее время от электричества работает практически всё: плита, холодильник, телевизор, компьютер, телефон и т.д. этот список я могу продолжать до бесконечности. Современный человек и дня не может прожить без электричества.

Но какими бы положительными качествами не обладали огонь и электричество у них есть один огромный недостаток - они могут убить человека или покалечить. Каждый ребенок знает, что со спичками играть нельзя, может возникнуть пожар, или пальчики нельзя совать в розетку, а то током ударить может.

Человека эти последствия применения огня и электричества не остановили, ведь он может сделать всё возможное, чтобы свести опасность использования огня и электричества к минимуму. Так была создана пожарная служба, которая в любое время суток придет на помощь и потушит пожар. Но к сожалению она не может предугадать где возникнет пожар, она может только устранять последствия. Пожар может возникнуть из-за любой мелочи, не потушенной сигареты или не выключенной плиты, а последствия могут быть намного трагичнее, гибель людей или дотла испепеленное здание.

Для того чтобы незамедлительно предотвратить пожар человек придумал пожарную сигнализацию (ПС). Как только она срабатывает, об этом тут же узнают пожарные службы и своевременно могут потушить пожар, а если это не значительное возгорание его могут потушить и с помощью огнетушителя. С изобретением ПС были спасены многие жизни и сохранены многие здания.

В свое курсовом проекте я буду осуществлять автоматизацию отопления с/х комплексов. Цель моего курсового проекта является поддержание необходимой температуры в помещениях.

1. Постановка задачи

Разработка автоматизаций системы отопления С/Х комплекса с помощью LOGO! Soft Comfort.

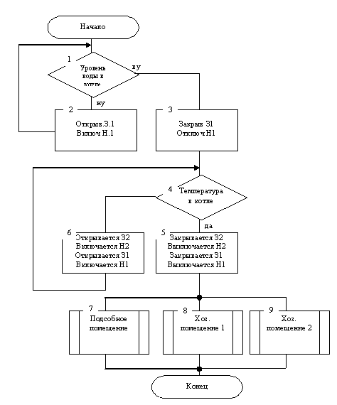
Вода в котле нагревается. При низком уровне (срабатывает датчик НУ), вода начинает закачиваться (открытие задвижки З1 и включение насоса Н1) из резервуара. Подача воды прекращается при достижении высшего уровня (срабатывание датчика ВУ).

Если температура в котле становится слишком высокой, то включается сброс воды в резервуар (открывается задвижка З2 и включается насос Н2) и подача воды в котел (открытие задвижки З1 и включение насоса Н1). При достижении нормальной температуры воды в котле (срабатывание датчика НТ), закрываются задвижки З1и З2 и отключаются насосы Н1 и Н2.

Так как в разных помещениях необходимо поддержание различных температурных режимов, в зависимости от предъявляемых требований, подключаем три датчика температуры (ТД) и три терморегулятора (РТ).

В соответствии с выставленной на терморегуляторах температурой, в соответствующих помещениях будет поддерживаться соответствующая температура. Для удобства регулирование температуры, терморегуляторы (РТ), можно перенести в рабочее помещение.

Рассмотрим процесс поддержания температуры на примере одного из помещений:

Подсобное помещение. Поддержание необходимой температуры происходит посредством прохождением горячей воды через радиаторы отопления (батареи). При нужной (заданной) температуре, выставленной на терморегуляторе (РТ), закрываются задвижки З3.1 и З3.2 и включается насос Н3. Как только температура в помещении оказывается ниже требуемой, задвижки З3.1 и З3.2 открываются, насос Н3 отключается и включается насос Н2. Таким образом вода высшей температуры из котла вытесняет более холодную воду из системы в резервуар. При достижении необходимой температуры в помещении, закрываются задвижки З3.1 и З3.2 и включается насос Н3, а насос Н2 выключается.

Поддержание необходимой температуры в остальных помещениях осуществляется аналогично.

Рисунок 1 - Схема автоматизаций системы отопления С/Х комплекса

2. Описание среды программирования

.1 Выбор среды разработки

Программированием в промышленном контроллере LOGO! подразумевает ввод схемы. Программа LOGO! является на самом деле ничем иным, как коммутационной схемой, представленной другим способом.

Программное обеспечение LOGO! Soft Comfort предоставляет наиболее широкие возможности по разработке, отладке и документированию программ логических модулей LOGO! Разработка программы может выполняться на языках LAD (Ladder Diagram) или FBD. Допускается использование символьных имен для переменных и функций, а также необходимый комментариев.

В отличие от программирования с клавиатуры обеспечивается наглядное представление всей программы, поддерживается множество сервисных функций, повышающих удобство разработки и редактирования программы.

Разработка, отладка и полное тестирование работы программы может осуществляться в автономном режиме без наличия реального модуля LOGO! Готовая программа может загружаться в логический модуль или записываться в модуль памяти, а также сохраняться на жестком диске компьютера.

-  Компактное, комфортабельное, экономичное и универсальное решение для построения простых устройств автоматического управления.

-  Простота монтажа и обслуживания, удобное и простое программирование.

-  "Все в одном": встроенный дисплей и клавиатура, программируемая логика, библиотеки встроенных функций, входы и выходы.

-  Программирование с клавиатуры без использования дополнительного программного обеспечения.

-  Использование дисплея и клавиатуры для решения простейших задач оперативного управления.

Логические модули LOGO! - это универсальные программируемые модули, предназначенные для построения простейших устройств автоматического управления. Они могут использоваться автономно или дополняться необходимым набором модулей расширения. Компактные размеры, относительно низкая стоимость, простота программирования, монтажа и эксплуатации позволяют получать на основе модулей LOGO! множество рентабельных решений для различных областей промышленного производства и автоматизации зданий.

.2 Характеристики блоков используемых в программе

Характеристика функциональных блоков представлена в таблице 1.

программа автоматизация температура блок

Таблица 1

Таблица функциональных блоков

Название блока

Графический вид

Характеристики

1

2

3

Input

Блок входа в LOGO

Analog input

Аналоговый вход




OR

Логический элемент ИЛИ

AND

Логический элемент И

 Latching Relay

Реле с блокировкой: На входе S осуществляется выход Q, на входе R выход Q отключается

Analog threshold trigger

Выход включается, если аналоговая величина превышает параметризуемый порог включения. Выход выключается, если аналоговая величина падает ниже параметризуемого порога выключения (гистерезис).

Output

Блок входа


2.3 Классификация сигналов

Перечень использованных сигналов представлен в таблице 2.

Таблица 2

Таблица использованных сигналов


Наименование

Датчики и исполнительные механизмы

Типы сигналов

Входные

сигнализирует о высоком уровне воды в котле

дискретный


НУ

сигнализирует о низком уровне воды в котле



ВТ

сигнализирует о высокой температуре воды в котле



НТ

сигнализирует о нормальной температуре воды в котле



ТД

Датчик температуры в помещении

аналоговый

Выходные

З1

Задвижка открывающая подачу воды в котел из резервуара

дискретный


З2

Задвижка открывающая сброс воды из котла в резервуар



З3.1,З3.2 З4.1,З4.2 З5.1,З5.2

Задвижки открывающие подачу воды в системы отопления помещения



Н1

Насос осуществляющий подачу воды в котел из резервуара



Н2

Насос осуществляющий сброс воды из котла в резервуар



Н3, Н4, Н5

Насосы осуществляющие циркуляцию воды в системе отоплений помещений



3. Алгоритм программы

Алгоритм технологического процесса представлен на рисунке 2. Здесь рассматривается котел.

Рисунок 2 - Алгоритм программы

Алгоритм программы помещений представлен на рисунке 3.

Рисунок 3 - Алгоритм технологического процесса

4. Аналог программы

4.1 Листинг программы

Листинг технологического процесса показан на рисунке 4.

Рисунок 4 - Листинг программы отопления С/Х комплекса

Заключение

В данной курсовой работе была составлена программа в среде LOGO! SoftComfort для автоматизации системы отопления с/х комплекса.

Работа была заключена в разработке программы, которая позволила осуществить автоматизацию отопления. Для реализации данного проекта мной были пройдены следующие этапы:

-  Для начала была осуществлена постановка задачи, где описывалось, что именно необходимо автоматизировать и какие элементы необходимо использовать.

-  Далее стоял выбор среды разработки, он был остановлен на ППП LOGO! SoftComfort. Причины по котором был сделан этот выбор описывались выше.

-  В следующем этапе были перечислены и описаны используемые функциональные блоки. А также произведена классификация сигналов, где определялось, каким будет сигнал дискретным или аналоговым.

-  Для упрощения и лучшего понимания программы была составлена блок - схема алгоритма. Она наглядно показывает последовательность реализации программы и расположения в ней функциональных блоков.

-  Конечным этапом было написание листинга программы, что является самым главным в проекте. Написание программы в среде LOGO! SoftComfort позволяет осуществить компьютерный вариант на модули и увидеть как данная программа будет осуществлена в жизни.

В ходе выполнения курсового проекта мной были улучшены навыки работы в среде LOGO! SoftComfort. Теперь мной могут быть реализованы и другие задачи по автоматизации, какого либо процесса.

Список используемых источников

1. Промышленные программно-аппаратные средства на отечественном рынке АСУТП. Гелль, П. Электронные устройства с программируемыми компонентами [Текст] : пер. с фр. / П. Гелль. - М. : ДМК Пресс, 2001. - 176 с.

2. Сичкоренко А.В. Лабораторно-практический комплекс (ЛПК) «LOGO!».КарГТУ, кафедра АПП.: 2005 - 118с.

. Г.Н.Горбачев, Е.Н. Чаплыгин. Промышленная электроника. Для студентов вузов/Под ред. В.А. Лабунцова. - М.: Энергоатомздат, 1988. - 320 с.: ил.