Материал: Проектирование пассивной оптической сети (PON) в микрорайоне г. Вологды

Внимание! Если размещение файла нарушает Ваши авторские права, то обязательно сообщите нам

Одной из главных потребностей, которую необходимо учесть, для чтобы гарантировать оптимальное функционирование сети - это контроль потерь оптической мощности. Другой важной потребностью является максимально возможное снижение значения обратных отражений (ORL). Это очень важно при передаче больших аналоговых видеосигналов, вырабатываемых с помощью узкополосного лазера. Обратные отражения приводят к деградации таких сигналов, что в конечном итоге отрицательно сказывается на качестве передачи видео. Принимая во внимание эти особенности и необходимые измерения для предотвращения их негативного воздействия считается еще более важной задачей, когда сеть использует старые кабели. Такие волокна, особенно при работе на длине волны 1550 нм, могут выдать более высокое затухание, чем ожидалось при проектировке.

Подводя итог вышесказанному, можно выделить два основных направления выполнения измерений ВОЛП при строительстве и вводе в эксплуатацию пассивных оптических сетей:

- Двунаправленное измерение оптических потерь (ORL)

-        Двунаправленное измерение оптических потерь между двумя конечными точками.

7.2 Измеритель мощности

Измеритель мощности для пассивных оптических сетей должен иметь функцию разделения длины волн и измерения неравномерного, скачкообразного неравномерного трафика. Измеритель мощности FPM-600 предоставялет возможность проводить тестирование пассивных оптических сетей на трех длинах волн (1310, 1490 и 1550 нм), в соответствии с рек. МСЭ-Т G.983.3 FPM-600 - высокоточный измеритель мощности имеет большой динамический диапазон и дает измерять уровни мощности до 26 дБм. FPM-600 откалиброван на 40 длинн волн и способен измерять мощность в любой заданной длине волны, калиброванный по интерполяции между точками. Поэтому, FPM-600 может быть использован для тестирования CWDM сетей и DWDM. Устройство также оснащено функцией измерения минимального и максимального уровня мощности, что позволяет определить конечные значения мощности излучения. Особенности устройства:

-     перезарежаемый аккумулятор;

-        кнопки и экран устройства имеют подсветку для использования в темноте;

-        обнаружения тоновых сигналов 270 Гц, 1 кГц и 2 кГц;

-        записи максимальных значений, автоматической длины волны и совместимость с устройствами 300-й, 600-й серии и FOT-930;

-        Имеет USB порт для подключения к ПК, а так же память на 1000 измерений;

-        Размеры: 19,0 х 10,0 х 6,2 см;

-        Вес: 0,48 кг;

8. ТЕСТИРОВАНИЕ PON ПРИ ВВОДЕ В ЭКСПЛУАТАЦИЮ

В идеале, мы должны провести тестирование пассивных оптических сетей после монтажа каждого сегмента. Например, после каждой прокладки оптических кабельных секций, должны быть сделаны между конечными точками рефлектометрический анализ и измерение ORL. После монтажа, сплиттера - измерение питающего волокна между патч паньлью станционного терминала (OLT) и выходными портами сплиттера. После установки конечных терминалов делаются измерения между каждым портом терминала и распределительной коммутационной панелью волокна. Такой же тест можно сделать между OLT (патч-панелью) и портом ONT теринала. Тогда вся оптическая линия будет протестрирована

При первой активации сети или установки новых абонентских оптических терминало (ONT) нужно будет выполнить следующие измерения:

Станционный оптический терминал (OLT). Оптические измерение мощности центрального узла станционного оптического терминала (OLT) нужно, для того чтобы гарантировать, что на абонентский оптический терминал(ONT), поступает достаточный уровень мощности. Это измерение требуется при первой активации, после этого данное измерение невозможно сделать без прерывания связи в целой сети. Чтобы выполнить данное измерение, оптическая мощность измеряется на выходе мультиплексора (соединяющего сигнал от станционного терминала и видеосигнал). Для этого можно использовать два решения:

Фильтрация. Измеритель мощности может измерять только общую оптическую мощность. Чтобы измерить мощности каждой длины волны по отдельности применяют оптические фильтры, одно измерение, одна длина волны.

Измерение с помощью измерителя мощности пассивных оптических сетей. Делящий длины волн измеритель пассивных оптических сетей, проводит измерения мощности для каждой волны одновременно. Чтобы оценить критерии Pass / Fail / Warning, вы можете установить пороговые значения для каждой длины волны.

После подключения основного волокна производят точно такие же измерения на коммутационной панели, а мощность измеряют на каждом выходе сплиттера.

Абонентские узлы ONT. После каждого раза, когда вы добавляете новый оптический терминал к сети нужно произвести измерения оптической мощности на входе и выходе. Точно так же как и с OLT можно использовать два подхода: измерения с помощью измерителя и фильтрацию. Тем не менее, из-за того, что фильтрация не предоставляет измерение обратного потока, в нашем случае является использование измерителя мощногости PON более предпочтительным.

Измеритель мощности подключается как непосредственно через устройство в линию между ONT и сплиттером. Этот прибор обеспечивает измерение мощности прямого потока на длине волны 1550 и 1490 нм и измерение обратного потока на длине 1310 нм. Разница между обычным измеретелем мощности, который может измерять среднюю мощность сигнала, с измерителем пассивных оптических сетей (PON), в том, что данное устройство позволяет измерять прерывистый / пульсирующий сигнал, и дает получить фактическое значение мощности.

Нужно значть, что сигнал передаваемый на длине 1310 нм в обратном направлении от абонентского оптического терминала, имеет прерывистый характер, а не непрерывный. Из-за этого уровень сигнала от оптического абонентского терминала должен быть измерен с помощью специального устройства.

Поиск и устранение неисправностей в PON. Устранение неполадок PON сети включает в себя: идентификацию источника и обнаружение неполадок и в оптической сети.

Большинство составляющих пассивных оптических сетей являются не активными (пассивными), огромное количество сетевых проблем, вызванны в связи с загрязнененим, поврежденем или не качественным соединением разъемов, а так же большим количеством изгибов ВОК. Очень важно место возникновения проблемы, они оказывают влияние не некоторые или все ONT в сети.

Например, если произошел обрыв в кабеле между станционным терминалом и первым сплиттером, проблему не сложно найти - все абонентские терминалы сети выходят из строя. Если есть дефект (макроизгибов или загрязнен разъем и т.д.) на участке разветвленной оптической сети неисправность выявится у терминалов, расположенных за неисправным участком. В этом случае, чтобы выявить проблему - очень не простая задача. Но и она может быть частично решена за счет ОNT.

Тем не менее, выявление неисправных участков при помощи "проблемных» оптических терминалов не сможет дать полное представление проблемы и более того, чтобы найти его источник. ONT только может показать на неисправность, но найти ее центр может только - измерители мощности пассивной оптической сети, измеряющие все сегменты проблемной области, дадут полное представление о распределении мощности по участкам PON.

9. Методические указания по работе с PON

Для проектирования трассы прокладки оптико-волоконной линии и осуществить правильный подбор кабеля, нужно учесть условия эксплуатации, технические характеристики кабеля.

Важные характеристики оптического кабеля:

Сдавливание оптического кабеля, позволяет определить силу, с которой можно сдавить оптико-волоконный кабель в поперечном направлении, есть одно условие, затухание в волокне будет в пределах нормы.

Так же изгиб ОК не мало важный фактор, который определяет допустимый радиус кривизны прокладки кабеля. Фактор изгиба стоит учитывать когда прокладка ОК идет, в трубах и канализации. Часто минимальный допустимый радиус изгиба, находится в рамках 15-20 диаметров от внешней оболочки ОК. Безответственный подход к данному фактору, может привести к нарушению целостности световодов в оптическом кабеле.

Скручивание - способность оболочки ОК, гарантировать безопасность ОВ при скручивании вокруг своей оси. Если кабель имеет броню из металла, разрешенный угол скручивания, меньше, чем у ОК без брони.

Безопасность попадания влаги, немало важный фактор для ОВ, особеено это касается прокладки кабеля на улице, или в плохих погодных условиях.

Особенности кабелей внутридомовой прокладки и внешней.

Самой главной особенностью внутридомового ОК, является огнеустойчивость. Оптический кабель не должен содержать в оболочке, то что может вызвать горение, задымление, и выделять токсичные примеси. Нужно заметить - это относится не только к внешней, но и к внутреннему строению кабеля.

Внешний оптический кабель сейчас имеет множество модификации, это можно объяснить различными условиями эксплуатации и способами установки оптического кабеля. Внешние кабели можно разбить на две конфигурации : которые прокладывают в грунт, и для использования в канализациях. Так же есть оптические кабеля, которые подходят для «воздушной» прокладки между столбами ЛЭП и.т.д. Воздушка должна иметь маленький вес, но должна иметь хорошую безопасность от воздействий внешних факторов. (Кабель не должен терять своих функций при перепадах температур).

Для кабелей прокладывающихся в канализацию, опасностью могут стать грызуны, спасение здесь заключается в броне, она может быть и не металической, иногда достаточно плотного слоя стекловолоконных нитей.

Заключение

В данной дипломной работе рассмотрены вопросы, связанные с построением сети PON в г. Вологде с использованием оборудования фирм Huawei и «Связьстройдеталь». Проект выполнен в соответствии с техническим заданием на дипломное проектирование.

В дипломном проекте был рассчитан участок сети PON для города Вологды. Была выбрана и описана подходящая топология сети, рассчитана магистральная сеть и распределительная сеть. В результате, благодаря с использованием оптического волокна, появилась возмоность предоставление абонентам новых пакетов услуг, таких как, IP-телефония и цифровое телевидение по одному оптоволоконному кабелю.

При расчёте экономической части проекта было выявлено, что при существующих тарифах срок окупаемости сети составит 1 год 4 месяца, что свидетельствует о высокой экономической привлекательности проекта.

СПИСОК ИСПОЛЬЗОВАННЫХ ИСТОЧНИКОВ

1.       Бройдо, В. Л. Вычислительные системы, сети и телекоммуникации: учебное пособие для вузов/ В. Л.- Бройдо. - Издание 2-е, исправленное и дополненное. - Санкт-Петербург: Питер, 2006. - 703 с.

.        Гончаров М. В. Введение в Интернет: учебное пособие/ М. В. Гончаров, Я. Л. Шрайберг. - Москва: Государственная публичная научно-ехническая библиотека России, 2001. - 49 с.

3.   Олифер В. Г. Компьютерные сети: Принципы, технологии, протоколы: учебное пособие для вузов / В. Г. Олифер, Н. А. Олифер. - Издание 3-е, исправленное и дополненное. - Санкт-Петербург: Питер, 2006. - 864 с.

4.       Пескова С. А. Сети и телекоммуникации : учебное пособие для вузов / С. А. Пескова, А. В. Кузин, А. Н. Волков. - Издание 2-е, исправленное и дополненное. - Москва: Академия, 2007. - 352 с.

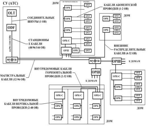
Приложение 1

Схема прокладки магистрали от АТС к зданию



Приложение 2

Схема прокладки кабеля к зданию



Приложение 3

Схема прокладки кабеля в здании