Материал: Проектирование летательных аппаратов с жидкостным реактивным двигателем и твердотопливным реактивным двигателем на максимальную дальность

Внимание! Если размещение файла нарушает Ваши авторские права, то обязательно сообщите нам

масса разгонного блока второй ступени:


масса топлива первой ступени:


масса топлива второй ступени:


масса конструкции ракеты с полезной нагрузкой и остатками топлива:


масса «сухой» ракеты:

 (1.38)

.9      Геометрические характеристики ракеты


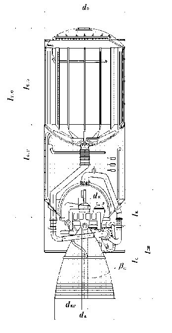
Основные геометрические величины, из которых формируется облик разгонного блока жидкостной ракеты, представлены на рисунке 1.2.

Рисунок 1.2 - Разгонный блок ракеты с ЖРД.

.        Калибр ракеты:

.        Диаметр критического сечения сопла камеры сгорания:

 (1.39)

где  - массовый секундный расход топлива, приходящийся на одну камеру.

Так как двигательная установка первой ступени четырехкамерной, то массовый расход одной камеры сгорания равен:



 (1.40)


тогда

3.      Диаметр выходного сечения сопла камеры сгорания:

 (1.41)

где

 (1.42)

Численные значения:

.        Диаметр камеры сгорания:

 (1.43)

.        Длина камеры сгорания:

 (1.44)

где  - приведенная длинна камеры сгорания.

Так как для ЖРД с дожиганием принимаем  то:


.        Длина сопла двигателя:

 (1.45)

поэтому

.        Длина двигателя ракеты:

 (1.46)

Тогда

8.      Длина бака горючего:


.        Длина бака окислителя:


10. Длина топливного отсека:

 (1.47)

Следовательно,

. Длина отсека с полезной нагрузкой:


где  - длина боевого блока, м (для ракет данного класса =1,5 м).

Так что,

12. Полная длина ракеты:

 (1.49)

По результатам выполненных расчетов конструктивно-компоновочная схема проектируемой ракеты представлена на рисунке 1.3.

Рисунок 1.3 - Конструктивно-компоновочная схема двухступенчатой ракеты с ЖРД

.10    Тяговые характеристики ракеты


Тяга двигателя:

- первой ступени (на Земле)

второй ступени (в пустоте)

Секундный массовый расход топлива:

двигателями первой ступени

двигателем второй ступени

Время работы двигателя:

 (1.50)

Для первой ступени:

для второй ступени:

.11    Исследование влияния давления в камере сгорания первой ступени на максимальную дальность


Исследование проводится путем последовательного получения решения обратной задачи для ряда значений давления в камере сгорания первой ступени, близких к рекомендуемым pк1 = 17…25 МПа.

График зависимости максимальной дальности полета ракеты от давления в камере сгорания первой ступени на рисунке 1.4 показывает, что оптимальным давлением в камере сгорания первой ступени для данной ракеты является pк1 = 20 МПа.

Таблица 2 - зависимость

1

2

3

4

5

6

7

8

9

, МПа171819202122232425










Lmax, км

9093,5

9106,9

9115

9118,3

9117

9111,5

9102,1

9088,9

9072,3


Рисунок 1.4 - График зависимости максимальной дальности полета ракеты от давления в камере сгорания первой ступени

2. Расчет баллистической ракеты с РДТТ

.1      Исходные данные


Спроектировать трехступенчатую ракету с РДТТ на максимальную дальность со следующими исходными данными:

- масса полезной нагрузки

стартовая масса ракеты

топливо - перхлорат аммония 80%, полибутадиен 20%.

.2      Выбор конструктивно-компоновочной схемы ракеты


Выбираем трехступенчатую ракету с последовательным соединением ступеней, каждая из которых выполнена в одном калибре. Первая и вторая ступени имеют моноблочную конструкцию. Ступени соединены цилиндрическими переходными отсеками. В передней части ракеты третьей ступени располагаются боевые блоки и система их разведения.

Двигатели всех ступеней имеют одно центральное частично утопленное поворотное сопло. На второй и третьей ступенях используются РДТТ с системой пантографов. C помощью поворотных сопел обеспечивается управление ракетой по тангажу и рысканью. Для управления по крену используются дополнительные ракетные двигатели. Двигатели всех ступеней работают до полного выгорания топлива. Точность стрельбы при этом обеспечивается текущей корректировкой траектории при помощи бортового вычислительного комплекса, прогнозирующего точность попадания.

Для изготовления зарядов используется смесевое топливо, состоящее из 80% перхлората аммония, 20% полибутадиена . Принимаем заряды щелевой формы. Заряд скреплен с корпусом клеящим составом, и его задний торец покрыт бронировкой.

2.3    Характеристики топлива и материалов


Основные характеристики топлива выбираем из таблицы [1]:

- стандартный расчетный удельный импульс

газовая постоянная

показатель адиабаты

температура горения

плотность топлива

скорость горения топлива

В качестве материалов для изготовления двигателей выбираем: конструкционный стеклопластик для корпуса с пределом прочности  и плотностью ; титановый сплав для сопла плотностью ; для защиты от тепловых воздействий ТЗП на основе совмещенного связующего с ; для бронировки заряда - покрытие на основе фенолоформальдегидной смолы высокой плотности .

.4      Выбор проектных параметров и программы движения ракеты


В соответствии с рекомендациями [1], принимаем следующие величины проектных параметров:

- давление в камере сгорания двигателя первой ступени  = 9 МПа,

давление в камере сгорания двигателя второй ступени  = 8 МПа,

давление в камере сгорания двигателя третьей ступени  = 7 МПа,

давление на срезе сопла двигателя первой ступени  = 0,06 МПа,

давление на срезе сопла двигателя второй ступени  = 0,02 МПа,

давление на срезе сопла двигателя третьей ступени  = 0,01 МПа.

2.5    Расчет удельных импульсов двигателей


Удельные импульсы двигателей при выбранных давлениях в камерах сгорания и на срезе сопел двигателей для расчетных режимов работы определяются по формуле:

=+, (2.1)

где = 0,96 - коэффициент, оценивающий влияние несовершенства процессов в камере сгорания на относительное уменьшение удельного расчетного импульса  (примем равным 0,96).

=м/с;

=м/с;

=м/с.

Температура горения рассчитывается по формуле:

=+; (2.2)

°К;

°К;

°К.

Удельные импульсы в пустоте определяются по формуле:

; (2.3)

м/с;

м/с;

м/с.

Удельный импульс на Земле для двигателя первой ступени ракеты можно вычислить по формуле:

; (2.4)

 м/с.

Коэффициент ''пустотного'' приращения:

. (2.5)

.6      Определение относительных масс топлива


Если предположить, что коэффициенты относительных масс у всех ступеней одинаковы:

==, (2.6)

то потребные массы ступеней образуют геометрическую прогрессию [1]:

. (2.7)

Отсюда следует, что стартовые массы ступеней трехступенчатой ракеты со стартовой массой  определятся соответственно по формулам:

, .

В результате получим:

 кг,

 кг.

Для определения калибра ракеты воспользуемся следующей зависимостью:

, (2.8)

где  - стартовая масса ракеты в тоннах.

Так что

 м.

Выберем калибр ракеты  = 1,85 м, и всю ракету выполним в одном калибре.