Материал: Проектирование и расчет тестомесильной машины

Внимание! Если размещение файла нарушает Ваши авторские права, то обязательно сообщите нам

Проектирование и расчет тестомесильной машины

Введение


Одним из важнейших направлений в хлебопекарной промышленности является увеличение мощности предприятий путем реконструкции старых заводов и оснащения их новой современной техникой. В настоящее время в данной отрасли существует множество проблем, центральной из которых является повышение эффективности.

Для повышения эффективности и прежде всего роста производительности труда играет снижение технологических потерь сырья и нормирование потребления электроэнергии, т.к. интенсивные методы хозяйствования неразрывно связаны с эффективным использованием производственных ресурсов, внедрением ресурсосберегающих технологий.

Одним из эффективных путей повышения качества хлебобулочных изделий является управление при их производстве биохимическими, микробиологическими, коллоидными и другими процессами.

Хлебопекарная промышленность является одной из наиболее материалоемких отраслей. Так удельный вес сырья в структуре себестоимости товарной продукции составляет около 85 %. На снижение материалоемкости изделий сказывается сокращение потерь сырья. Поэтому большое внимание должно уделяться совершенствованию технологического процесса, созданию и внедрению прогрессивных технологических схем, основанных на широком применении улучшителей, обогатителей и др.

На величину электропотребления влияет ряд противоположных факторов. С одной стороны в результате совершенствования технологических процессов и оборудования, снижения потерь, использование вторичных энергоресурсов и других мероприятий нормы расхода электроэнергии должны неуклонно снижаться. С другой стороны, рост электровооруженности труда, механизация и автоматизация производства, вытеснение ручного труда и улучшение его условий неизбежно ведут к росту энергопотребления. Таким образом, рациональное использование энергоресурсов необязательно выражается в снижении расхода энергопотребления, хотя сейчас еще имеется возможность сохранения тенденции к его снижению в целом по промышленности. Важно, чтобы фактические статьи расходов энергоресурсов были действительно оправданными. Иначе говоря, нормы расхода электроэнергии должны быть научно и технически обоснованными. [ 1 ]

Другой немаловажной проблемой хлебопекарной отрасли является повышение качества хлебобулочных изделий. Качество продукции хлебопекарного производства на прямую связано с качеством сельскохозяйственной продукции - зерна. За последние годы качество зерна, его вкусовые характеристики, пищевая ценность неустанно ухудшались. Это в первую очередь связано со снижением уровня культуры возделывания земли, что обусловлено нехваткой техники, удобрений, хороших специалистов и много другого. В сложившейся ситуации инженерно-техническому персоналу конкретных пищевых предприятий приходится искать оптимальные варианты обработки разнообразного по качеству сырья. Это в первую очередь связано с реконструкцией и модернизацией существующего оборудования.

В сложившейся в стране экономической обстановке хлебопекарному предприятию для выживания помимо всего прочего необходимо искать новые рынки сбыта своей продукции, чутко реагировать на постоянно изменяющийся потребительский спрос.

В данном дипломном проекте сделана попытка решения некоторых из освещенных в этом разделе проблем.

тестомесильный оборудование хлебопекарный

1. Анализ современных объектов аналогичного назначения

.1 Общая характеристика предприятий хлебопекарной промышленности

Совершенствование тестоприготовительного оборудования имеет решающее значение для повышения эффективности производства и, прежде всего для роста производительности труда в хлебопекарной промышленности, интенсификации технологических процессов, сокращению длительности производственных циклов и снижению технологических потерь сырья.

Оборудование хлебопекарного производства очень разнообразно. Оно отличается друг от друга производительностью, принципом действия, конструкцией [2, 19, 20].

Производительность всей линии определяется производительностью печи. Линия производства подового хлеба поточная и, работа всего оборудования соответствует производительности печи. Поэтому при модернизации необходим такой выбор оборудования или его элементов, при котором не нарушается выбранный режим работы.

.2 Особенности производства и потребления готовой продукции

В настоящее время в хлебопекарном производстве применяют два вида поточных линий, отличающихся по степени механизации. Выработка хлебобулочных изделий в ассортименте осуществляется на механизированных линиях, позволяющих в пределах ассортиментных групп переходить с производства одного вида продукции на производство другого. Основными процессами хлебопекарного производства являются замес и брожение рецептурной смеси-теста. При замесе перемешиваются компоненты, смесь подвергается механической обработке и насыщению пузырьками воздуха, происходит гидролитическое воздействие влаги на сухие компоненты смеси, формируется губчатый каркас теста. Брожение теста вызывается жизнедеятельностью дрожжей, молочно-кислых и других бактерий. При брожении в тесте протекают микробиологические и ферментативные процессы, изменяющие его физические свойства. Образуется капиллярно-пористая структура, удерживаемая эластично-пластичным скелетом, поры которого заполнены газом, состоящим из диоксида углерода, паров воды, спирта и других продуктов брожения. Происходит накопление ароматических и вкусовых веществ, определяющих потребительские свойства хлеба.

Продукция хлебопекарного производства выпускается в законченном товарном и потребительском виде. Срок хранения хлеба без специальной упаковки не превышает 1...2 суток, поэтому его производство организуют в местах непосредственного потребления. Для транспортирования подовый хлеб укладывают на деревянные лотки, размещают последние на стеллажах или тележках и перевозят специализированными автомобилями.

.3 Стадии технологического процесса производства хлеба

На рисунке 1 приводится технологическая схема производства подового хлеба.

Подготовка сырья к производству заключается в контрольном просеивании муки с отделением метало-примесей и подачей в производственные бункера. Перед этим соль растворяют, прессованные дрожжи разводят.

Замес теста заключается в смешивании муки с другими компонентами по рецептуре. Тесто замешивается в течении 7-8 минут, причем интенсивность замешивания влияет на процессы созревания теста. Тесто считается замешанным, если смочена водой вся мука и отсутствуют непромесы.

Рисунок 1 - схема технологическая

Различают три стадии замеса:

) смешивание сухих и жидких компонентов. Здесь происходит связывание воды крахмалом, белками и слизеподобными веществами;

) собственно замес;

) пластификация, которая сопровождается увеличением вязкости теста, начинаются процессы гидролиза крахмала, образуется клейковинная решетка, начинается процесс брожения.

В результате замеса образуется тесто, где вся мука находится в связанном состоянии.

Способ приготовления теста для подового хлеба заключается в следующем. Смешивают все компоненты теста сразу и подают его на брожение. Ингредиенты: соль, вода, дрожжи, мука.

Брожение длится 3-4 часа. Для брожения характерны следующие процессы:

продолжается гидролиз крахмала;

небольшой гидролиз белков;

процесс сбраживания собственных и несобственных сахаров муки;

накопление углекислоты и спирта вследствие анаэробного дыхания ;

молочно-кислое брожение, в результате чего образуется молочная кислота;

идет дальнейшее набухание белков и слизиподобных веществ, в результате чего тесто становится суше.

Тесто при брожении приобретает упруго-эластичную консистенцию.

Деление теста на куски проводят на тестоделителях. Деление совершается циклически в течении короткого времени. За это время протекает целый комплекс процессов:

поглощение части газа тестом или деление газовых пузырьков на более мелкие;

изменение свойств клейковинного скелета, в результате чего повышается газоудерживающая способность и снижается липкость теста.

Расстойка тестовых заготовок осуществляется в специальных камерах на люльках. В шкафу поддерживается температура воздуха 35-40 ºС и относительная влажность 75-85 %. В этих условиях не происходит подсыхания поверхности заготовок и нормально идет брожение теста, которое вызывает рост тестовых заготовок и повышение их пористости. Длительность расстойки тестовых заготовок колеблется от 20 до 120 минут в зависимости от температуры, массы и формы заготовок, рецептурного состава, влажности теста, активности бродильной микрофлоры и ферментативного комплекса муки.

Выпечка хлеба осуществляется в печах тоннельного типа, где загрузка осуществляется с одного конца, а выгрузка - с другого. В печах создается 3 режима выпечки.

Температура 108 ºС в зоне смешения и относительная влажность воздуха 80 %.

Такой режим обеспечивает предотвращение подрывов между верхней коркой и боковыми стенками, так как на первом этапе по мере прогрева заготовки брожение увеличивается, заготовка увеличивается в объеме, поэтому в течении первых 2-3 минут корочка образовываться не должна.

Температура 230-250 ºС.

Этот режим характеризуется понижением влажности, процессом образования корки, частичного отвода влаги через корочку в пекарную камеру. При этом по мере прогрева тестовой заготовки два градиента действуют противоположно направленно. Под действием температурного градиента влага устремляется к центру. При достижении на поверхности заготовки 100 % влага с поверхности отводится в пекарную камеру. В результате в ближайших слоях образуется влажностный градиент, происходит уменьшение влаги в заготовке на 3-4 %, что составляет упек изделия. В результате выпечки максимальная влажность будет у мякиша в центре, минимальная - у корочки.

Температура 170±10 ºС.

Оставшиеся несброженные сахара с образовавшимися аминокислотами образуют темноокрашенные вещества, определяющие аромат изделия. Интенсивность окрашивания будет зависеть от степени выброженности тестовой заготовки, т.е. останутся ли сахара для образования темноокрашенных веществ.

Охлаждение характеризуется перераспределением влаги от центра к корочке.

При хранении идет черствение хлеба, так как:

идет старение белков;

идет старение крахмала, в результате чего освобождается влага;

переход освободившейся влаги в окружающее пространство, в результате чего происходит плесневение изделия.

Черствение хлеба замедляется пониженной температурой хранения и контейнерным хранением.

расстойка - брожение сформированных тестовых заготовок. После расстойки тестовые заготовки могут подвергаться надрезке (батоны, городские булки и др.);

гидротермическая обработка тестовых заготовок и выпечка хлеба;

охлаждение, отбраковка и хранение хлеба [19].

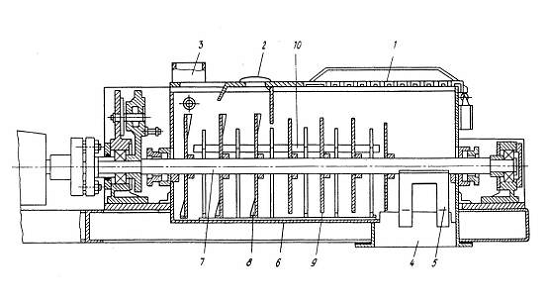
Рисунок 1.2 - Тестомесильная машина

.4 Назначение, классификация и современные конструкции тестомесильных машин

Тестомесильная машина представляет собой смонтированную машину А2-ХТН с месильным корытом Х-12. Предназначена для замеса теста из пшеничной муки 1 сорта и ржаной.

Данная тестомесильная машина относится к машинам непрерывного действия с лопастными месильными органами. Машина состоит из месильной емкости 11, в центре которой расположен месильный вал 6 с лопатками 7, расположенными под углом друг к другу. Сверху корпус закрывается откидной крышкой, с помощью поднятия или опускания крышки дозатора регулируется уровень муки. Тесто из машины выходит из патрубка 8 с помощью скребка неподвижного 9.

Машина работает следующим образом. Все компоненты малыми дозами от дозаторов подаются непрерывно в переднюю часть корыта, перемешиваются лопатками и проталкивают его вдоль корыта. По мере продвижения массы до патрубка 8 оно перемешивается и пластифицируется.

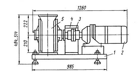
Нагнетатель теста марки И8-ХТА-12/3 Состоит из плиты 1, привода 2 с муфтой 3, насоса 5 и ограждения муфты 4 (рисунок 1.2).

- плита; 2 - привод; 3 - муфта; 4 - насос; 5 - ограждение

Рисунок 1.3 - Накопитель теста марки И8-ХТА-12/3

Насос состоит из бронзового корпуса, внутри которого вращается ротор с эксцентриком.

Привод состоит из мотор-редуктора марки МП-32-50-22,4КЗУ, который передает вращение валу ротора насоса через упругую муфту.

Плита, на которой смонтировано все оборудование, имеет выдвижные опоры, позволяющие регулировать высоту расположения фланца приемного патрубка нагнетателя относительно пола от 484 до 514 мм.

Включение в работу и остановка осуществляется с пульта управления тестомесильной машины.

Тестомесильная машина Т-512 (рисунок 1.4) предназначена для замеса теста из ржаной и пшеничной муки.

Тестомесильную машину Т-512 изготавливают в двух модификациях - с подкатными дежами и пятидежевой каруселью. Тестомесильная машина с подкатными дежами стоит из корпуса, шнека, кронштейна, дежи с кареткой, привода и основания.

Основным узлом тестомесильной машины является корпус, на консольной части которого размещается привод месильного органа, состоящий из электродвигателя и червячного редуктора, которые соединены клиноременной передачей. На выходной вал редуктора крепится цапфа месильного органа. На цапфу с помощью фторопластового шарикоподшипника посажена крышка. Три пружины 8, расположенные в гильзе 9, обеспечивают плотное закрывание дежи при замесе.

В корпусе установлен бак для воды с электрообогревом, представляет собой емкость с водомерным стеклом и термореле. В нижней части бака расположен ТЭН. К фланцу корпуса болтами крепится штанга, на другом конце которой расположена бронзовая гайка, входящая в зацепление с валом-винтом привода. Вращаясь, вал-винт осуществляет подъем и опускание корпуса и месильного органа, выполненного в виде ленточного шнека.

Дежа представляет собой цилиндрическую емкость с ручками, установочным поясом для размещения ее на кронштейнах.

Тестомесильная машина «Стандарт» (рисунок 1.5) предназначена для замеса теста из пшеничной и ржаной муки.

Машина «Стандарт» состоит из фундаментной плиты 4, корпуса 5, приводной головки 7, месильного органа 12, подкатной дежи и привода [19].

Фундаментная плита закрепляется на бетонном фундаментe на междуэтажном перекрытии четырьмя анкерными болтами.

, 10 - червячные редукторы; 2, 12 - электродвигатели; 3, 16 - конечные -выключатели; 4 - кронштейн в сборе; 5 - дежа; 6 - месильный орган; 7 - крышка; 8 -пружина; 9 -гильза; 11- клиноременная передача; 13 - ограждение в сборе; 14 - бак для воды; 15 - корпус; 17 -вал-винт; 18 - бронзовая гайка; 19 - колонна; 20 - основание.

Рисунок 1.4 - тестомесильная машина Т-512

Передняя часть фундаментной1 плиты предназначена для установки и крепления трехколесной тележки дежи. Для этого на плите установлены два чугунных кронштейна 1 и запорная планка 15. Кроме того, на плите расположен ножной рычаг 17 и упорный уголок 18, служащие для освобождения дежи с фундаментной плиты после окончания замешивания теста. Дежа закрепляется на плите автоматически действующим зажимным механизмом с педалью.