Материал: Проект участка сборки и ремонта двигателей авторемонтного предприятия на 1600 автомобилей ГАЗ-53А

Внимание! Если размещение файла нарушает Ваши авторские права, то обязательно сообщите нам

Стенд для сборки (разборки) редуктора заднего моста Р 640


Технические характеристики:

стационарный,

электромеханический,

габариты 850х650х985 мм,

масса 140 кг

питание 380 В.

Стенд для сборки коробок передач СР-033


Техническая характеристика стенда СР-033

Тип - стационарный

Габаритные размеры - 500х600х580мм

Масса- 22кг

.6 Расчет площади участка

Площадь участка сборки агрегатов определяем по формуле:


Где - площадь производственного участка

 - суммарная площадь всего оборудования

 - коэффициент плотности, принимаем равным 4. (Дюмин стр.245)

38*4=152 м

Выполняем компоновку участка сборки агрегатов. Площадь помещения участка сборки агрегатов составляет 152. Принимаем ширину помещения участка сборки агрегатов- 9м, тогда длина участка будет равна:

=152/9=17 м

Принимаю длину помещения 18 с учетом шага колон.

.7 Расчет потребности в энергоресурсах

В зависимости от назначения участка рассчитывают силовую, осветительную и электрическую энергию, энергию сжатого воздуха, пара и воды, идущих на производственные нужды.

Годовой расход силовой электроэнергии (в киловатт-часах) рассчитывают по формуле:


Где - суммарная мощность всех силовых электроприёмников на оборудовании

- коэффициент загрузки оборудования; 0,70÷0,75; Принимаю =0,7

- коэффициент спроса, учитывающий неодновременность работы оборудования; =0,3÷0,5; Принимаю =0,3

Получаем что:

=37*2050*0,7*0,3=15928 кВт. Ч

Годовой расход осветительной электроэнергии (в киловатт-часах) рассчитывают по формуле:


Где - норма расхода электроэнергии на 1м2 площади участка, Вт/м2;=18÷25 Вт/м2; Принимаю =20.

- годовое количество часов электрического освещения, ч; при односменной работе =800 ч, при двухсменной =2250 ч.

- площадь пола освещаемых помещений, м2.

Получаем что:

=20*2250*38=1710000 Вт=1710 кВт

Определяем годовой расход сжатого воздуха.

м

К- коэффициент запаса сжатого воздуха(K=1,2-1,4)удельный расход сжатого воздуха = 40 м/часчисло одноименных потребителей сжатого воздуха=20

-коэффициент использования потребителей =0,2-0,4

-коэффициент одновременности работы потребителей=0,9=1,2*40*20*0,2*0,9*2050=354650 м

Раздел 3. Технологическая часть

.1 Характеристика восстанавливаемой детали

К круглым стержням относятся детали, которые характеризуются круглой формой при длине, значительно превышающий диаметр детали. К круглым стержням относятся поршневые пальцы, оси привода сцепления валики привода, валики водяного насоса, шкворни, оси блока шестерен заднего хода, толкатели, валы коробок передач, карданные валы и крестовины карданов, валы и полуоси задних мостов, поворотные цапфы, валы рулевого управления, впускные и выпускные клапаны, коленчатые и распределительные валы. Для их изготовления применяют конструкционные среднеуглеродистые и легированные стали, высокопрочный чугун.

Круглые стержни очень разнообразны по форме и размерам, однако по технологическим признакам их разделяют на прямые круглые стержни, т.е. гладкие, и стержни с фасонной поверхностью, или ступенчатые.

Некоторые детали данного класса имеют присущие только их поверхностям признаки. Это наличие в коленчатом валу шатунных шеек, отстоящих от оси вала на определенном расстоянии и имеющих определенный угол развала кривошипов, наличия резьбового отверстия под храповик и центрового отверстия во фланце вала, наличие точных отверстий для крепления маховика к коленчатому валу.

Основными дефектами являются износы шеек под подшипники, шлицев и шестерен, шпоночных канавок, отверстий во фланцах, износы, задиры и кольцевые риски на прочих трущихся поверхностях.

.2 Назначение и условия работы восстанавливаемой детали

Коленчатый вал является высоконагруженной деталью двигателя. В процессе эксплуатации двигатель машины подвержен различным нагрузкам, в том числе и неблагоприятным, это пуск двигателя в холодных условиях, не качественное смазочное масло, работа в запыленных условиях и т. д.

Вследствие этих факторов трущиеся части коленчатого вала подвергаются повышенному износу, что в свою очередь приводит к появлению на этих поверхностях надиров, сколов, микротрещин, раковин, которые могут привести к поломке коленчатого вала и выходу из строя всего двигателя.

Чугунные коленчатые валы в автомобильных двигателях стали применять с 1960 года [3]. Высокопрочные чугуны по ГОСТ 7293-85 делятся на два класса: перлитные (ВЧ 45-0; ВЧ 50-1,5; ВЧ60-2) и ферритные (ВЧ 40-0; ВЧ 40-6). Большое применение нашли чугуны перлитного класса благодаря высокой прочности и износостойкости.

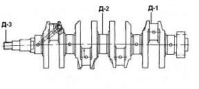
.3 Ремонтный чертеж детали

Деталь (сборочная единица) Вал коленчатый

№ детали (сборочной единицы) ВАЗ-2106


Материал: Высокопрочный чугун


Твердость: Коренных и шатунных шеек HR 53…..63

Позиция на эскизе

Возможный дефект

Способ установления дефекта и средства контроля

Размер, мм

Заключение




По рабочему чертежу

Допустимый размер


-

Обломы или трещины

Осмотр дефектоскопия

-

-

Браковать

1

Износ шатунных шеек

Скобы ГОСТ 2015-69 МК 50-75 мм



Обработать до ремонтного размера


Размеры по рабочему чертежу:


47,814




II ремонтного размера


47,564




III ремонтного размера


47,314




IV ремонтного размера


47,064




V ремонтного размера


46,814



2

Износ коренных шеек

Скобы ГОСТ 2015-69 МК 50-75 мм



Обработать до ремонтного размера


Размера по рабочему чертежу


50,775




II ремонтного размера


50,525




III ремонтного размера


50,275




IV ремонтного размера


50,025




V ремонтного размера



3

 Повреждение резьбы:

Метчик

Калибр М27х1,5


Восстановить


.4 Типовой технологический процесс восстанавливаемой детали

Схема типового технологического процесса следующая:

·        Исправление центровых отверстий

·        Исправление погнутости

·        Удаление поврежденной или изношенной резьбы

·        Наплавка шлицевых, резьбовых поверхностей, заварка шпоночных канавок

·        Наплавка шеек

·        Термическая обработка

·        Обработка наплавленных поверхностей

·        Предварительная обработка шеек

·        Термическая обработка

·        Правка

·        Обработка поверхностей под постановку ДРД

·        Обработка установленных ДРД

·        Подготовка поверхностей под гальваническое наращивание

·        Гальваническое наращивание поверхностей

·        Предварительная обработка гальванических покрытий

·        Чистовая обработка поверхностей

·        Балансировка

·        Полирование поверхностей

.5 Схема маршрута с выбором оборудования

Операция

Оборудование

Марка

Устранение поврежденной или изношенной резьбы

Токарный станок

1К62

Восстановление шатунных и коренных шеек

Кругло-шлифовальный станок

ШХ2-014


.6 Расчет режимов обработки

Восстановление коленчатого вала ВАЗ-2106:

)        Шлифовать шатунные шейки до ремонтного размера

Диаметр коренных шеек D=50,525 => d=50,275

Длина L=28 мм

Скорость резания V=7 м/мин

Число оборотов n=44 об/мин

Подача S=0,003 мм/об

Глубина резания t=0,25 мм

)        Шлифовать шатунные шейки до ремонтного размера

Диаметр шатунных шеек D=47,564 => d=47,314

Длина L=23 мм

Скорость резания V=7 м/мин

Число оборотов n=46 об/мин

Подача S=0,002 мм/об

Глубина резания t=0,25 мм

)        Восстановление резьбового отверстия

Резьбовое отверстие М27х1,5

Скорость резания V=2,2 м/мин

Число оборотов n=29 об/мин

Подача S=1,5 мм/об

.7 Нормирование работ

Шлифовка шатунных шеек:

Определяем основное время:

То=(t/n*S); мин

глубина резанья, ммчастота вращения, об/минподача, мм/об

То=(0,25/44*0,003)=2,7 мин

)        Определяем вспомогательное время:

Тв=Туст+Тобр+Тизм; мин

Туст- время установки (0,6 мин)

Тобр- время обработки (0,5 мин)

Тизм- время на замеры (0,4 мин)

Тв=0,6+0,5+0,4=1,5 мин

)        Определяем оперативное время:

Топ=То+Тв; мин

Топ=2,7+1,5=4,3 мин

)        Определяем дополнительное время

Тдоп=Топ*0,18; мин

Тдоп=4,3*0,18=0,8 мин

)        Определяем подготовительно-заключительное время:

Тпз=25 мин

)        Рассчитаем нормативное время:

Тн=То+Тв+Тдоп+ Тпз; мин

Тн=2,7+1,5+0,8+25=30 мин

На шлифовку одной коренной шейки потребовалось 30 мин. Рассчитаем время на шлифовку пяти коренных шеек:

Т=Тн*5=30*5=150 мин

Шлифовка коренных шеек:

)        Определяем основное время:

То=(t/n*S); мин

глубина резанья, мм, n-частота вращения, об/минподача, мм/об

То=(0,25/46*0,002)=3,8 мин

)        Определяем вспомогательное время:

Тв=Туст+Тобр+Тизм; мин

Туст- время установки (1,1 мин)

Тобр- время обработки (0,5 мин)

Тизм- время на замеры (0,4 мин)

Тв=1,1+0,5+0,4=2 мин

)        Определяем оперативное время:

Топ=То+Тв; мин

Топ=3,8+2=5,8мин

)        Определяем дополнительное время

Тдоп=Топ*0,18; мин

Тдоп=5,8*0,18=1,1 мин

)        Определяем подготовительно-заключительное время: Тпз=38 мин

)        Рассчитаем нормативное время:

Тн=То+Тв+Тдоп+ Тпз; мин

Тн=3,8+2+1,1+38=34,9 мин

На шлифовку одной шатунной шейки потребовалось 34,9 мин. Рассчитаем время на шлифовку четырех шатунных шеек:

Т=Тн*5=34,9*4=139,6 мин

Восстановление резьбового отверстия:

)        Определяем основное время:

То=(1,8*L/n*S); мин

длина, мм L=l+yчастота врашения, об/минподача, мм/об=40+14=54 мм

То=(1,8*54/29*1,5)=2,1 мин

)        Определяем вспомогательное время:

Тв=1,5 мин

)        Определяем оперативное время:

Топ=То+Тв; мин

Топ=2,1+1,5=3,6 мин

)        Определяем дополнительное время

Тдоп=Топ*0,13; мин

Тдоп=5,8*0,13=0,5 мин

)        Определяем подготовительно-заключительное время: Тпз=5 мин

)        Рассчитаем нормативное время:

Тн=То+Тв+Тдоп+ Тпз; мин

Тн=2,1+1,5+0,5+5=9,1 мин

Определим общее время затраченное на восстановление коленчатого вала:

Т=Т1+Т2+Т3=150+139,6+9,1=298,7 мин

Раздел 4. Охрана труда и производственная санитария

.1 Расчет вентиляции

Гаражи и мастерские с площадью более 50 м2 всегда должны быть оборудованы механической принудительной вентиляцией. Гаражи или мастерские с меньшей площадью могут быть оборудованы естественной вентиляцией с удалением отработанного воздуха через вытяжные каналы, площадь сечения этих каналов должна быть не меньше 0,2% от общей площади гаража или мастерской.

Необходимый воздухообмен в час

Минимальный воздухообмен может быть следующим

* на стоянке автомобилей кратность должна быть не менее 4 до 6

* на СТО или мастерских кратность может быть взята в пределах от 20 до 30

Приток воздуха в гараж может быть определен по следующей формуле:


Где  - необходимая подача воздуха м3

- Объём вентилируемого помещения

 - коэффициент кратность необходимого воздухообмена

Принимаю =5,5 Получаем что: