Материал: Проблемы средств сигнализации, централизации и блокировки (СЦБ)

Внимание! Если размещение файла нарушает Ваши авторские права, то обязательно сообщите нам

- Вариант S ................................................................................12,5

Усилие поворота на конце ЗБ в горизонтальной плоскости, кг, не менее:

- для ЗБ 4 м..................................................................................14

- для ЗБ 6 м .................................................................................24

- для ЗБ 8 м .................................................................................28

Масса противовеса, кг, не более

- для ЗБ 4 м..................................................................................70

- для ЗБ 6 м ..................................................................................98

- для ЗБ 8 м ...............................................................................126

Масса заградительного бруса, кг, не более ...............................37

Напряжение цепей управления, контроля и сигнализации, В ..................12

Номинальная частота срабатывания, цикл/мин............................................ 1

Количество циклов срабатывания (подъем-опускание ЗБ), не менее .1´106

Срок службы, лет........................................................................20

Масса электропривода, кг, не более .........................................100

Высота установки ША по оси вращения ЗБ над поверхностью

проезжей части дороги, м ................................................. 1 - 1,25

Конструкция шлагбаума представлена на рисунке 5.1. В его состав входят электропривод 1, установленный на фундаменте 3 с использованием тумбы-подставки 2, заградительный брус 4, закрепленный в раме 5 с устройством поворота 6, позволяющего повернуть ЗБ в горизонтальной плоскости на угол 90° в обе стороны при наезде транспортного средства и противовес 7.

Рисунок 5.1 Конструкция шлагбаума

Шлагбаум может быть оборудован светофором 8 со звуковым сигналом 9. Конструкция шлагбаума позволяет устанавливать светофоры и звуковые сигналы вместе со шлагбаумом или отдельно от него.

Контрольная система шлагбаума построена на базе микропереключателей общепромышленного назначения. Микропереключатели фиксируют крайние положения заградительного бруса.

Схема управления электродвигателем шлагбаума работает по принципу косвенного использования аппаратуры управления, установленной в релейном шкафу ШРУ-М и аппаратуры управления автоматической переездной сигнализации (АПС), а также щитка управления дежурного по переезду.

При опускании заградительного бруса его потенциальная энергия переходит в кинетическую, которую необходимо погасить в конце перевода, чтобы не допускать ударов об асфальтовое покрытие переезда и, как следствие, поломок заградительного бруса. Эту функцию выполняет гидрогаситель. Опускание заградительного бруса происходит равномерно и останавливается в конце перевода без покачивания.

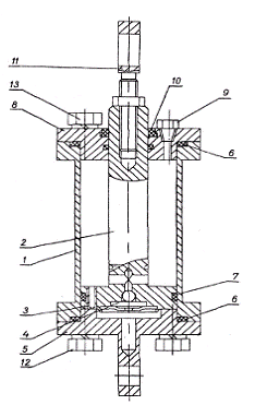
Гидрогаситель (рисунок 5.2) представляет собой поршневой телескопический демпфер двухстороннего неравнозначного действия.

Гидрогаситель состоит из цилиндра 1, в котором перемещается поршень 2 с клапаном 4 и с калиброванными отверстиями 3. Цилиндр в нижней и верхней части закрыт соответственно нижней 5 и верхней 8 крышками с помощью болтов 12, 13 и уплотнен резиновыми кольцами 6. В нижней крышке имеется ушко для шарнирного крепления гидрогасителя к корпусу электропривода, в верхней - отверстие для выхода штока поршня и его уплотнения 7, 10, а также отверстие с пробкой 9 для заполнения рабочей жидкостью цилиндра. В качестве рабочей жидкости используется тосол марки А-60 В шток поршня вворачивается вилка 11. В ней имеется проточка для крепления к рычагу главного вала.

Рисунок 5.2 Гидрогаситель

Принцип работы гидрогасителя заключается в перемещении жидкости из одной полости цилиндра в другую при движении поршня. Жидкость перетекает через специальные щели 3. При прохождении через них происходит вязкое трение и превращение механической (кинетической) энергии заградительного бруса в тепловую и передача ее в окружающую среду. Благодаря клапану 4, в разном направлении движения поршня диаметр щелей различен, различно и сопротивление движению заградительного бруса. Причем, сопротивление движению поршня зависит и от скорости движения бруса.

Заградительный брус в сборе с рамой и противовесом является единой подвижной конструкцией и, перемещаясь в вертикальной плоскости при помощи главного вала, осуществляют перекрытие и открытие проезжей части железнодорожного переезда.

Конструкция заградительного бруса в сборе с механизмом поворота при наезде автотранспорта и узлом фиксации в вертикальном положении при проведении профилактических работ с электроприводом на переезде хорошо видна из рисунка 5.1.

Заградительный брус представляет собой металлическую конструкцию круглого или коробчатого сечения, выполненную из листовой стали .

Противовесами служат стальные диски, закрепленные на раме с помощью винта.

Заградительный брус, рама с противовесом представляет конструкцию, центр масс которой вынесен относительно оси вращения, что создает в вертикальном положении бруса момент для его опускания.

Принцип заграждения переезда с помощью шлагбаума заключается в следующем. При вступлении поезда на участок приближения к переезду включается автоматическая переездная сигнализация. По истечении времени, необходимого для освобождения переезда от транспорта, схемой управления шлагбаумами отключается питание электромагнитной муфты, главный вал оттормаживается и, под действием несбалансированности ЗБ, главный вал поворачивается, а ЗБ опускается в горизонтальное положение. Амортизационное устройство обеспечивает плавную остановку ЗБ в конце перевода.

Как отмечалось, для гашения кинетической энергии и демпфирования крайних положений ЗБ в шлагбауме предусмотрен гидрогаситель, механическая характеристика которого позволяет автоматически поддерживать равномерную скорость опускания заградительного бруса.

После проследования поезда за пределы переезда, на электродвигатель подается электропитание и, вращаясь, электродвигатель поднимает ЗБ в вертикальное положение.

Отключение электропитания электродвигателя происходит, когда ЗБ принимает вертикальное положение, при этом электромагнитная муфта находится под током (напряжением) и удерживает ЗБ в этом положении.

В момент возвращения ЗБ в вертикальное положение при отключении электродвигателя, отключаются световые и звуковые сигналы.

Как можно заметить, безопасность такого способа заграждения железнодорожного переезда находится на весьма низком уровне, поскольку некоторые водители «проскакивают» огражденный переезд, объезжая по левой полосе движения опущенный шлагбаум.

Сегодня на эксплуатируемых пересечениях железных и автомобильных дорог помимо шлагбаумов внедряются и другие более эффективные технические средства, направленные на обеспечение безопасного и бесперебойного движения автотранспортных средств и подвижного состава железных дорог. Среди них несколько типов жесткого механического ограждения - вертикальные щиты-барьеры, поднимающиеся балки и тросы и т.п.. Однако подобные устройства не дают возможности транспортному средству, оказавшемуся на ж. д. путях в момент ограждения переезда, покинуть его, и столкновение с поездом в этом случае неизбежно.

5.2 Стационарные устройства заграждения переездов

С 1996 г. на железных дорогах СНГ началось постепенное оснащение охраняемых переездов стационарными устройствами заграждения УЗП.