Материал: Привод общего назначения

Внимание! Если размещение файла нарушает Ваши авторские права, то обязательно сообщите нам

Привод общего назначения

МИНОБРНАУКИ РОССИИ

ФЕДЕРАЛЬНОЕ ГОСУДАРСТВЕННОЕ БЮДЖЕТНОЕ ОБРАЗОВАТЕЛЬНОЕ УЧРЕЖДЕНИЕ ВЫСШЕГО ПРОФЕССИОНАЛЬНОГО ОБРАЗОВАНИЯ

«ОРЕНБУРГСКИЙ ГОСУДАРСТВЕННЫЙ УНИВЕРСИТЕТ»

Аэрокосмический институт

Кафедра деталей машин и прикладной механики




Расчетно-графическое задание

по дисциплине «Основы конструирования»

Привод общего назначения

Руководитель проекта

канд. техн. наук., доцент

Чирков Ю.А

Исполнитель

студент группы 12ИВТ(б)САП

Дубинин А.С.




Оренбург 2014

Техническое задание на курсовой проект по дисциплине «Основы конструирования»

Привод общего назначения

Исходные данные для расчета:

·   вращающий момент Т, на рабочем валу привода, Н×м - 500;

·   угловая скорость w рабочего вала привода, рад/c - 6;

·   режим работы - 0;

·   срок службы Lh , тыс. час - 20;

·   производство - мелкосерийное;

·   привод реверсивный;

Введение

Данный привод может быть использован в машинах и механизмах общемашиностроительного назначения. Привод состоит из электродвигателя, открытой ременной передачи и червячного редуктора. Рабочий вал электродвигателя соединяется с входным валом редуктора при помощи ременной открытой передачи.

Для передачи движения между различно расположенными параллельными валами электродвигателя и редуктора применяется ременная передача. Редуктор червячный однозаходный с нижним расположением червяка. В редукторе применяется картерный способ смазки: смазка зацепления осуществляется окунанием червяка в масляную ванну.

Условные обозначения величин приняты в соответствии с рекомендациями ISO R31 и государственных стандартов. При этом использована международная система (СИ) единиц величин, а внесистемная единица частоты вращения (мин-1) применяется лишь дополнительно к единице угловой скорости (рад/с). Размеры деталей передач выражаются в миллиметрах (мм), силы в ньютонах (Н), и соответственно напряжения в ньютонах, деленных на миллиметры в квадрате (Н/мм2), а моменты в ньютонах, умноженных на миллиметр (Н∙мм).

1. Кинематический расчет силового привода

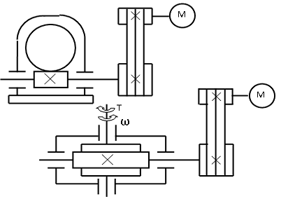
Перед выполнением кинематического расчета пронумеруем римскими цифрами валы привода (рисунок 1):

Рисунок 1 - Кинематическая схема расчета

Для рассматриваемых приводов рекомендуется выбирать трехфазные асинхронные двигатели с короткозамкнутым ротором, имеющие простую конструкцию, небольшую стоимость и достаточно высокую надежность. Эти двигатели характеризуются номинальной мощностью Рэд, кВт, синхронной и асинхронной частотами вращения ротора nс, мин-1 и nэд, мин-1, кратностью максимального и номинального вращающих моментов Тmax/Тном.

Синхронная частота вращения ротора (вала) электродвигателя:

                                                                                         (1)

где  - промышленная частота тока, Гц;

 - число пар полюсов электродвигателя.

Значения nc в зависимости от p при f =50 Гц приведены в таблице 1.

Таблица 1 − Синхронная частота вращения вала электродвигателя nc

р

1

2

3

4

5

6

nс, мин-1

3000

1500

1000

750

600

500 500 50


Как видно из вышеприведенной таблицы, с увеличением  уменьшается частота вращения электродвигателя.

В расчетах следует использовать асинхронную (фактическую) частоту вращения вала электродвигателя:

nэд = nс·(1−s)                                                                                 (2)

где s = (2÷10) % − электромагнитное скольжение электродвигателя.

Тогда nэд = (0,90...0,98)· nс.

Одним из основных узлов привода является редуктор − механизм, служащий для понижения угловой скорости и увеличения вращающего момента и состоящий из одной червячной передачи, смонтированной в едином закрытом корпусе.

.1 Выбор и проверка электродвигателя

Электродвигатель выбираем по требуемой мощности , Вт и требуемому диапазону возможных частот вращения его вала , об/мин .

.1.1 Требуемая мощность электродвигателя

                                                                                        (3)

где  − мощность на валу рабочего органа конвейера, Bт;

 − общий коэффициент полезного действия (КПД) привода:

                                                                              (4)

здесь - КПД открытой ременной передачи (см. таблицу 2);

 - КПД закрытой червячной передачи редуктора (см. таблицу 2);

 - КПД пары подшипников качения на рабочем валу привода (КПД передач указаны с учетом потерь в подшипниках, согласно примечаниям к таблице 2).

Тогда общий КПД привода равен произведению частных КПД составляющих привода:

                                                                   (5)

Таблица 2. Значение КПД механических передач, муфт, подшипников качения

Тип передачи

Закрытая

Открытая

Червячная, при числе заходов z = 2

0,70÷0,75

Ременная передача

0,95÷0,96

Одна пара подшипников качения

0,99÷0,995

Примечания

Примечание 1− Значения КПД передач указан с учетом потерь в опорах. Примечание 2 − Значения КПД муфт в расчетах принимать равным 1,0.


Мощность  - определяем по следующей формуле:

                                                                               (6)

1.1.2 Требуемая частота вращения электродвигателя

Частоту вращения вала электродвигателя находим из следующего диапазона частот вращения:

                                                                                (7)

где  - частота вращения рабочего вала привода:

                                                                        (8)

здесь - угловая скорость рабочего вала привода, задана в исходных данных для расчета;

 - диапазон возможных передаточных чисел привода:

                                                                              (9)

здесь  - диапазон возможных передаточных чисел открытой ременной передачи (см. таблицу 3);

 - диапазон возможных передаточных чисел червячной передачи редуктора (см. таблицу 3);

Тогда:

Отсюда:

Таблица 3 - Рекомендуемые значения передаточных чисел передач

Виды передач

Значения


минимальные

максимальные

предельные

Червячная закрытая

10

40

80

Ременная

2

5

6

1.1.3 Выбор электродвигателя

Исходя из полученных выше данных, выбираем трехфазный асинхронный короткозамкнутый электродвигатель переменного тока с техническими характеристиками, представленными в таблице 4, руководствуясь нижеследующим.

По параметру , установленному расчетом, выбираем номинальную мощность электродвигателя соблюдая условие:

                                                                                        (10)

где  - номинальная мощность двигателя, кВт.

Допускается перегрузка электродвигателя по мощности, но не более чем на 5%.

Выбранному по мощности электродвигателю соответствует вариант синхронной частоты вращения (nс) вала двигателя: nс = 1430 об/мин.

Для привода общего назначения, выбор синхронной частоты вращения вала электродвигателя производим по расчетным данным частоты вращения вала двигателя, структурной схемы привода и частоте вращения рабочего вала машины.

Частота вращения рабочего вала  влияет на общее передаточное число  привода − с увеличением . уменьшается  и наоборот. Значение  должно обеспечить рациональную разбивку общего передаточного числа между ступенями привода (без максимальных значений частных передаточных чисел).

Характеристики выбранного электродвигателя сведены в таблицу 4.

Таблица 4 − Технические характеристики электродвигателя

Тип двигателя

Исполнение

Число пар полюсов

Мощность, Рэд, кВт

Частота вращения nэд, об/мин

Диаметр вала d, мм


4A100L2

М100

4

5,5

2880

2,5

28


В зависимости от структурной схемы проектируемого привода уточняем исполнение электродвигателя, определяем размеры (рисунок 2).

Рисунок 2 - Электродвигатель 4A100L4

.2 Определение общего передаточного числа привода и разбивка его между отдельными ступенями

.2.1 Общее передаточное число привода

От правильности разбивки общего передаточного числа между ступенями зависят конструкция и габариты редуктора, удобство компоновки деталей в корпусе, степень использования материала деталей и способ смазки зацепления.

Общее необходимое передаточное число привода при известных характеристиках электродвигателя:

                                                                                           (11)

С другой стороны, для приводов общего назначения общее передаточное число можно выразить формулой:

                                                                                           (12)

где  - передаточное число редуктора;

 - передаточное число открытой передачи.

1.2.2 Разбивка общего передаточного числа по ступеням привода

                                                                                             (13)

Предварительно назначаем передаточное число ременной открытой передачи u =3 . После этого определяем передаточное число закрытой червячной передачи:


1.3 Определение частоты вращения валов привода


1.4 Определение угловых скоростей валов привода


1.5 Определение мощностей на валах привода


.6 Определение вращающих моментов на валах привода


Результаты кинематического расчета привода занести в таблицу 5, данные которой использовать в дальнейшем при расчете передач, валов, соединений, муфт и т.д.