Материал: Привод механизма арретирования от электродвигателя

Внимание! Если размещение файла нарушает Ваши авторские права, то обязательно сообщите нам

Привод механизма арретирования от электродвигателя

Министерство образования и науки РФ

Федеральное государственное бюджетное образовательное учреждение

высшего профессионального образования

Саратовский государственный технический университет имени Гагарина Ю.А.

Кафедра "Приборостроение"





Пояснительная записка к курсовой работе

по дисциплине "Основы проектирования приборов и систем"

на тему "Привод механизма арретирования от электродвигателя"

Реферат

Пояснительная записка 41 стр., 10 рисунков, 13 источников.

МЕХАНИЗМ АРРЕТИРОВАНИЯ, КУЛАЧОК, КОРОМЫСЛО, ЧЕРВЯЧНАЯ ПЕРЕДАЧА, ЭЛЕКТРОДВИГАТЕЛЬ.

Объектом исследования является привод механизма арретирования.

В данной пояснительной записке к курсовой работе по дисциплине "Основы проектирования приборов и систем" рассматривается разновидность привода механизма арретирования от электродвигателя. Описана конструкция привода механизма арретирования от электродвигателя, принцип действия. Проведены проверочные расчёты кулачкового механизма, зубчатой передач, пружины, контактной пары, вала. В кинематическом расчете производится определение передаточного отношения между червяком и червячным колесом. В силовом расчете определяется реакции опор у наиболее нагруженного вала. По опорным реакциям выбираются шарикоподшипники. В ходе расчётов производится и обосновывается выбор необходимых параметров.

привод арретирование электродвигатель передаточный

Содержание

Введение

. Теоретическая часть

.1 Обзор научно - технической и патентной литературы

.2 Описание конструкции. Принцип действия прибора и принцип работы привода механизма арретирования

. Расчетная часть

.1 Расчет кулачкового механизма

.2 Расчет профиля кулачка

.3 Выбор передаточного отношения

.4 Силовой расчет кулачка

.5 Расчет коромысла

.6 Расчет на прочность

.7 Расчет пружины

.8 Расчет червячной передачи

.9 Расчет червяка

.10 Расчет червячного колеса

.11 Силовой расчет червячной передачи

.12 Расчет контактной пары

.13 Расчет наиболее нагруженного вала и выбор подшипников

.14 Выбор подшипника

Заключение

Список использованных источников

Приложение

Введение


Гироскопические приборы и системы предназначены для управления движущимися объектами и представляют собой сложные устройства. В наличие этих систем входят различные чувствительные элементы, обладающие как гироскопическими, так и не гироскопическими свойствами. В состав подобных устройств входят вспомогательные механизмы в виде приводов следящих систем, имеющих достаточно сложную кинематику и разнообразные передачи. К ним относятся зубчатые передачи в виде приборных редукторов, шарнирно-рычажные механизмы, кулачковые, различные виды соединений деталей, опоры, упругие элементы и т.д.

Нежелательные движения гироскопа в нерабочем состоянии устраняются с помощью арретирующих устройств, фиксирующих положение чувствительного элемента относительно корпуса прибора.

При не вращающемся роторе чувствительный элемент прибора, установленного на сновании, движущемся с ускорением или подверженное вибрации, несмотря на тщательную балансировку, может совершать беспорядочные движения, ударяясь об элементы, ограничивающие его повороты. Эти удары приводят к разбалансировке прибора, повреждению токоподводящих и опорных устройств и другими вредными последствиями. В отдельных приборах арретирующих устройства используются для начальной установки оси гироскопа. Наибольшее распространение арретирующие устройства получили в гироскопических приборах, установленных на платформах, обладающих большой маневренностью. Основными требованиями, предъявляемыми к арретирующим устройствам, являются: большая точность начального арретирования осей прибора, малое время срабатывания, малый возмущающий момент, надежность работы.

1. Теоретическая часть


1.1 Обзор научно - технической и патентной литературы


Как описано в [1], изобретение относится к области электротехники, в частности к исполнительным электромагнитным механизмам систем автоматики. Предлагаемый электродвигатель содержит ротор с радиально намагниченными полюсными постоянными магнитами, число пар полюсов которого больше двух, и статор, включающий магнитопровод в виде полого цилиндра и размещенную на его внутренней поверхности симметричную трехфазную двухплоскостную однослойную обмотку с минимально необходимыми для сборки статора зазорами между боковыми поверхностями рабочих участков катушек. Рабочие участки катушек обмотки расположены вдоль оси электродвигателя, при этом число катушек в цепи фазы выбрано равным числу пар полюсных постоянных магнитов ротора. Технический результат, достигаемый при использовании настоящего изобретения, состоит в увеличении удельного электромагнитного момента электродвигателя путем повышения эффективности работы его статорной обмотки.

Рисунок 1. - Электродвигатель.

Как описано в [2], Изобретение относится к области электротехники, в частности к электромагнитным приводам исполнительных механизмов, и может быть использовано для поворота исполнительного механизма на заданный угол с фиксацией в крайних положениях. Электродвигатель содержит явнополюсный статор с обмоткой управления и ротор с полюсами из постоянных магнитов, расположенных на торцах и прилегающих к ним частях боковых поверхностей магнитопровода ротора. Между соседними магнитами полюса ротора, расположенными на торце и прилегающих к нему частях боковых поверхностей магнитопровода ротора, введены дополнительные магниты, полярность которых совпадает с полярностью полюса ротора. Технический результат: повышение эффективности работы магнитной системы электродвигателя и, как следствие, увеличение его удельного момента и быстродействия.

Рисунок 2. - Электродвигатель.

Как описано в [3], изобретение относится к машиностроению, в частности к механизмам преобразования возвратно-поступательного движения во вращательное. Кулачковый механизм содержит кулачок с профилированным пазом, толкатель в виде сферического тела и его направляющие. Сферическое тело установлено в профилированном пазу кулачка и между направляющими с возможностью качения вдоль них. Паз образован двумя профилированными эквидистантными поверхностями, находящимися друг от друга на расстоянии не менее диаметра сферического тела. Каждая поверхность сформирована образующей кривой, которая является эвольвентой окружности. Центр окружности лежит на оси вращения кулачка, а радиус окружности равен расстоянию между осью вращения кулачка и прямолинейной траекторией перемещения геометрического центра сферического тела. Технический результат состоит в обеспечении максимально возможного и не зависящего от угла поворота кулачка момента на его оси, увеличении КПД и уменьшении массогабаритных характеристик.

Рисунок 3. - Кулачковый механизм.

Как описано в [4], изобретение относится к области машиностроения, а именно к механизмам для преобразования вращательного движения в возвратно-поступательное и вращательное с заданными законами движения. Кулачковый пространственный механизм состоит из неподвижного цилиндрического, или конического, или гиперболоидного кулачка, вращающегося звена и толкателя с роликом. Кулачок оснащен сектором-направляющей и двумя натяжными звездочками, охватываемыми бесконечной втулочно-роликовой цепью. Вращающееся звено оснащено неподвижной штангой, звездочкой и большой звездочкой, входящей в зацепление с упомянутой бесконечной втулочно-роликовой цепью. Толкатель соединен со звездочкой с помощью подвижного соединения, а с роликом - с помощью установленного на штанге ползуна. Технический результат - увеличение количества оборотов толкателя вокруг своей продольной оси в заданных габаритах механизма.

1.2 Описание конструкции. Принцип действия прибора и принцип работы привода механизма арретирования


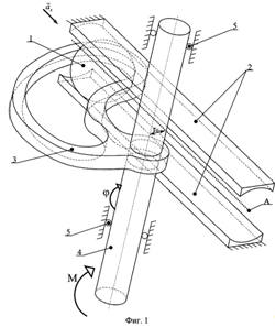
Привод представляет собой электромеханическую систему, состоящую из электродвигателя привода, кинематической передачи и элемента силового воздействия на гироскоп. Механизм предназначается для арретирования (исключения степеней свободы) или разарретирования гироскопа или гиростабилизатора.

Напряжение переменного тока 36 В 400 Гц подается на электродвигатель типа двухфазного индукционного двигателя, который через кинематическую передачу приводит во вращение коромысло.

Движение от электродвигателя через цилиндрическую трехступенчатую зубчатую передачу и червячную одноступенчатую передается на вал червячного колеса и кулачка, неподвижно установленных на вал, далее - на коромысло с муфтой. При определенном положении кулачка (соответствующем началу процесса разарретирования) коромысло резко срывается с профиля кулачка (под действием усилия пружины растяжения) и через муфту механизма арретирования приводит гироскоп (или платформу гиростабилизатора) в разарретированное положение.

Силовое замыкание кулачка и коромысла осуществляется с помощью пружины, закрепленной одним концом за коромысло, а другим - за кронштейн корпуса.

На валу кулачка установлены контактные устройства, предназначенные для коммутации электрических цепей управления электродвигателем.

Двухфазный индукционный двигатель имеет скорость вращения якоря в режиме холостого хода n= 13500 об/мин, а под нагрузкой n= 3…7 тыс. об/мин.

Условия эксплуатации

Температурный режим . Линейные перегрузки 4 единицы. Амплитуда и частота колебаний летательного аппарата 0,02 - 0,4 мм, 10-500 Гц. Смазка механизма разовая консистентными маслами. Эксплуатационный срок не менее 2000 часов.

1.  Наибольшая сила давления на кулачок 6 Н;

2.      Наибольший угол поворота коромысла 24 град.;

.        Скорость вращения кулачка 1,5 об/мин;

.        Рабочий угол кулачка 330град.;

.        Время разарретирования 3 сек.;

6.      Питание: переменный трехфазный ток напряжением 40В  2%, частотой 500 Гц  1%

2. Расчетная часть

.1 Расчет кулачкового механизма


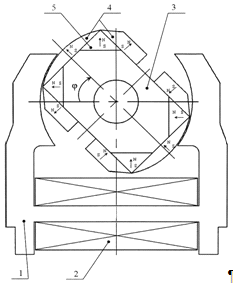
Кулачковый механизм - трехзвенный механизм, состоящий из двух подвижных звеньев, образующих со стойкой дне низшие пары V класса, а между собой - высшую пару IV класса. Ведущим звеном 1 чаще является кулачок, имеющий сложный профиль, форма которого определяется воспроизводимым законом движения ведомого звена 2, называемого толкателем. Кулачок в большинстве механизмов совершает непрерывное вращение, а толкатель возвратно- прямолинейное движение или возвратно - вращательное.

Рисунок 4. -Кулачковый механизм.

2.2 Расчет профиля кулачка


Для расчета профиля кулачка используем следующие данные:

закон движения кулачка - линейный;

рабочий угол кулачка- ;

наибольший угол поворота коромысла -;

Для построения профиля кулачка из конструктивных соображений выберем:

расстояние между центром вращения кулачка и коромысла: L =108 (мм);

длина коромысла: l =80 (мм);

наименьший радиус кулачка:  =30 (мм).

Рисунок 5. - Профиль кулачка.

Расчёт ведем по методу [5]

По формуле

(2.2.1)

Найдем угол :

 (2.2.2)

;(2.2.3)

Откуда ;

 ;

Рассчитаем наибольший радиус кулачка. Для этого применим следующую формулу:

;(2.2.4)

Тогда

(мм).

Определим изменение радиуса кулачка :

;(2.2.5)

.

Так как механизм движется по линейному закону , то зависимость радиуса кулачка от угла поворота примет вид:

,(2.2.6)

Где определяется следующим соотношением:


;(2.2.7)

;(2.2.8)

, (2.2.9)

Для построения (радиуса) профиля кулачка вычислим значение угла , эта процедура выполняется с помощью ЭВМ в программе "Turbo Pascal". Текст программы приведен в приложении.

2.3 Выбор передаточного отношения


По условию технического задания известно:

Скорость вращения кулачка: 1.5

Скорость вращения двигателя: 6000

Определим общее передаточное отношение :

 (2.2.9)

Так как кулачок расположен на одном валу с червячным колесом , следовательно



Обозначим передаточное отношение между червяком и червячным колесом , тогда

 (2.3.1)

Следовательно


Выберем  Это передаточное отношение легко регулировать червячной передачей.

Теперь рассчитаем скорость червяка:


Определим передаточное отношение редуктора, состоящего из 3 ступеней: