Тема «Подшипники качения»
§ 1. Назначение и классификация.
Подшипник – это опора, которая воспринимает нагрузки и допускает вращение вала (оси). Силы, которые воспринимаются подшипниками, называются реакциями в опорах. Различают подшипники скольжения и качения.
Классификация подшипников качения:
По форме тел качения:
шариковые;
роликовые:
а) с короткими цилиндрическими роликами;
б) с длинными цилиндрическими роликами;
в) игольчатые;
г) конические;
д) бочкообразные;

По типу воспринимаемых нагрузок:
радиальные;
радиально-упорные;
упорные;
По серии:
1 – особо легкая;
2 – легкая;
3 – средняя;
4 – тяжелая;
5 – легкая широкая;
6 – средняя широкая;

По классу точности:
0 – нормальный;
6 – повышенный;
5 – точный;
4 – особо точный;
2 – сверхточный;
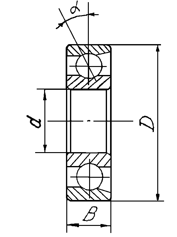
§ 2. Условные обозначения подшипников.

1,2 – внутренний диаметр подшипника, уменьшенный в 5 раз;
3 – серия подшипника;
4 – тип подшипника;
5 – конструктивные особенности подшипника;
6,7 – класс точности.
§.3. Основные типы подшипников качения.
0 – подшипник качения шариковый радиальный однорядный;
a – внутреннее кольцо подшипника;
b – тело качения (шарик);
с – сепаратор;
d – наружное кольцо.
c

b
d
а


1 – подшипник качения шариковый радиальный двухрядный сферический (такой подшипник может работать в условиях углового перекоса вала);


2 – подшипник качения роликовый радиальный с короткими цилиндрическими роликами;


3 – подшипник качения роликовый радиальный двухрядный сферический с бочкообразными роликами;


4 – подшипник качения шариковый радиально-упорный однорядный;


5 – подшипник качения роликовый конический радиально-упорный;


6 – подшипник качения шариковый упорный однорядный;


§4. Схемы установок валов с помощью подшипников качения.
Существует четыре схемы установки.
Схема «враспор»:

Схема «врастяжку»:

Схема с фиксирующей и плавающей опорами:

Схема с двумя плавающими опорами:

§ 5. Причины выхода из строя подшипников качения.
усталостное выкрашивание рабочих поверхностей колец и тел качения, связанное с циклическим изменением контактных напряжений при вращении колец и тел качения подшипника;
абразивный износ;
разрушение сепаратора;
вмятины на рабочих поверхностях, появляющиеся при ударах и больших перегрузках;
сколы бортов, раскалывание колец и тел качения, возникающие при недопустимых ударных нагрузках и перекосах колец.
§ 6. Методы расчета подшипников качения.
В зависимости от условий работы проводят следующие виды расчетов подшипников качения:
по динамической грузоподъемности (по сопротивлению контактной усталости) при частоте вращения кольца подшипника ≥ 10 об/мин;
по статической грузоподъемности (по максимальным контактным напряжениям) при частоте вращения менее 10 об/мин.
Расчет на статическую грузоподъемность:
С0 – статическая грузоподъемность, кН;
С – динамическая грузоподъемность, кН;
Р0 – эквивалентная нагрузка, кН;
X0, Y0 – коэффициенты радиальной и осевой реакций для статического нагружения;
QR, QA – радиальная и осевая реакции в опорах, кН.
,
![]()
Расчет на динамическую грузоподъемность:
Lh – расчетный срок службы, ч;
[Lh] – требуемый срок службы, ч;
Рэ – эквивалентная динамическая нагрузка, кН;
X, Y – коэффициенты радиальной и осевой динамической нагрузки;
V – коэффициент вращения (при вращении внутреннего кольца V = 1, при вращении наружного кольца V = 1,2);
КБ – коэффициент безопасности, учитывающий динамичность нагрузки и зависящий от величины кратковременной перегрузки (КБ = 1…3);
КТ – температурный коэффициент (при температуре до 100 С˚ КТ = 1, при большей температуре КТ > 1).
![]()
![]()
р = 3 – для шариковых подшипников;
р = 10/3 – для роликовых подшипников.
Примечание:
осевая
реакция = осевая сила от внешних нагрузок
+ S,
где
S = eQR – для радиально-упорных шарикоподшипников;
S = 0,83eQR – для роликовых подшипников.
а) схема «враспор»:

б) схема «врастяжку»:
