Материал: Организация технологического процесса ремонта двигателя

Внимание! Если размещение файла нарушает Ваши авторские права, то обязательно сообщите нам

Организация технологического процесса ремонта двигателя

Содержание

Введение

Раздел 1. Расчетно-технологическая часть

.1 Определение объема ремонтных работ

.2 Распределение трудоемкости по видам работ

.3 Расчет штата цеха

.4 Определяем количество основного оборудования и подбираем его по маркам

.5 Расчет площади и планировка производственного корпуса

.6 Разработка диагностирования газораспределительного механизма двигателя СМД-62

Раздел 2. Организационно-эксплуатационная часть

.1 Организация технологического процесса ремонта двигателя

.2 Организация технического контроля по ремонту двигателя

Раздел 3. Охрана труда и противопожарные мероприятия

.1 Мероприятия по охране труда и противопожарной защите проектируемого объекта

.2 Охрана окружающей среды

Раздел 4. Конструкторская часть проекта

.1 Назначение, устройство и правила эксплуатации приспособления

.2 Расчёт приспособления на прочность

Раздел 5. Экономическая часть

.1 Расчет себестоимости ремонта одного двигателя

.2 Расчет прямых затрат

.3 Расчет накладных затрат

.4 Расчет себестоимости ремонта двигателя

.5 Определяем экономическую эффективность ремонта одного двигателя

Литература

Введение

Увеличение выпуска автотранспортных средств, тракторов, автомобилей, автобусов, прицепов и полуприцепов, совершенствование их эксплуатационных качеств, предусматривает качество и эффективность выполнения работ по их техническому обслуживанию, способов ремонта и использование более сложного оборудования при диагностировании.

Для повышения производительности труда ремонтно-обслуживающего персонала и поддержание автотракторного парка в технически исправном состоянии необходимо механизировать и автоматизировать работы, при техническом обслуживании и ремонте. На автотранспортных предприятиях и станциях технического обслуживания тракторов и автомобилей внедряются прогрессивные технологические процессы снижающие трудоемкость и повышающие качество технического обслуживания и ремонта, они оснащаются также более современным ремонтным оборудованием.

В технологические процессы ТО внедряют технологическое диагностирование, что позволяет экономить средства на содержание тракторов и автомобилей за счет сокращения простоя на ТО и ремонт, выполнение действительно необходимых регулировочных и ремонтных операций, сокращение расхода запасных частей и топлива. Объективные методы оценки технологического состояния агрегатов и узлов тракторов и автомобилей помогают самостоятельно устранить повреждения, которое способно вызывать аварийную ситуацию, что повышает безопасность дорожного движения.

В связи с этим необходимо технологическое перевооружение и развитие производственно-технологической ремонтной базы. Существенное значение в решении этой задачи отводиться теория методики и практики проектирования автотранспортных и ремонтно-обслуживающих предприятий.

Современное сельскохозяйственное производство характеризуется укрупнение и качественным и изменением его материально-технической базы. На полях страны работает все больше мощных энергонасыщенных и высокопроизводительных машин, таких, как тракторы К-744, МТЗ-1523, John Deere, ТЕРРИОН, комбайны John Deere, Полесье, АКРОС, большегрузные автомобили и многое другое.

В этой связи особое значение приобретают вопросы эффективного использования техники.

Большие расходы на содержание техники, прежде всего, обусловлены низким качеством ее обслуживания и преждевременных ремонтов. Исследования показали, что более половины двигателей направляются на ремонт с недоиспользованным моторесурсом на 40-70 %.

Нет возможности определить износное состояние дизеля из-за недостатка средств диагностирования и отсутствие высококвалифицированных кадров. Механизаторы нередко делают заключение о необходимости постановки трактора на ремонт по принципу минимальной мощности и перерасхода топлива. Между тем срок службы однотипных машин далеко не одинаков, он зависит от разнообразия условий эксплуатации, режимов работы и качества деталей.

Огромный технико-экономический эффект дает внедрение технического диагностирования - одной из основных составных частей планово-предупредительной системы технического обслуживания и ремонта машин. Она позволит полнее использовать межремонтный ресурс машины, устранить необоснованную разборку механизмов, сократить простой машинотракторных агрегатов вследствие технических неисправностей, снизить трудоемкость ремонта и технического обслуживания, повысить мощность и экономичность самоходных машин, автомобилей.

Благодаря техническому диагностированию и увеличению объема ремонтных работ агрегатным методом сокращается количество капитальных ремонтов. Одновременно совершенствуются методы, а также средства диагностирования тех. обслуживания и ремонта.

Цель курсового проекта состоит в том, чтобы спроектировать цех по ремонту двигателей с разработкой диагностирования ГРМ двигателей. Для этого нужно определить объем ремонтных работ, рассчитать количество рабочих и оборудование, согласно технологического процесса. Разработать конструкторское приспособление, вопросы охраны труда и техники безопасности. Рассчитать себестоимость ремонта двигателя.

трактор двигатель ремонт себестоимость

Раздел 1. Расчетно-технологическая часть

В расчетно-технологической части проекта предлагается произвести расчет цеха по ремонту дизельной топливной аппаратуры с разработкой технологии.

1.1 Определение объема работ

Объем работ по определению складывается из объема работ ремонтных и объема работ дополнительных

Тобщ = Трем + Тдоп

 чел час

Трудоемкость ремонтных работ


Где  чел час

Т1 - трудоемкость ремонта дизельной топливной аппаратуры ЕМЗ=9.4 чел час

Т2 - трудоемкость ремонта дизельной топливной аппаратуры КамАЗ 740=8.2 чел час

Т3 - трудоемкость ремонта дизельной топливной аппаратуры Д 245=7.6 чел час

N1 - программа ремонта дизельной топливной аппаратуры ЕМЗ= 400 шт.

N2 - программа ремонта дизельной топливной аппаратуры КамАЗ 740 = 400 шт.

N3 - программа ремонта дизельной топливной аппаратуры Д 245 = 400 шт.

Трудоемкость дополнительных работ определяется как сумма трудоемкости на изготовление запасных частей (Тз.ч.), на изготовление инструмента (Ти), на на ремонт и обслуживание оборудования (Тобор).

Тдоп = Тз + Ти + Тобор

чел час

Трудоемкость на изготовление запасных частей составляет 10% от трудоемкости ремонтных рабочих:


 чел час

Трудоемкость на обслуживание и ремонт оборудования составляет 12% от трудоемкости ремонтных работ:


 чел час

Трудоемкость на изготовление инструмента составляет 5% от трудоемкости ремонтных работ:


 чел час

Таким образом, объем работ по цеху будет равен:


 чел час

Годовой план ремонта составляется по кварталам. В него входят проводимые в отдельных цехах все виды работ разборочные, моечные, сборочные, обкаточные работы и другие.

Годовой план цеха по ремонту топливной аппаратуры двигателя разбитый по кварталам для большей наглядности представляется в графической форме. Распределение объема проводится с участием занятости машин по периодам года. Из практики работ сельскохозяйственных предприятий видно, что загрузка 1 и 4 кварталов несколько больше чем 2 и 3 кварталов

Для построения графика по загрузке цеха по ремонту топливной аппаратуры двигателя используется прямоугольный график системы координат. По оси ординат откладывается в масштабе трудоемкость работы цеха по оси общее время работ по ремонту топливной аппаратуры двигателя в кварталах года. Графически показывается в виде прямоугольника, площадь которого соответствует общему объему

Таблица 1

Наименование работ

Годовая загрузка чел. час

Загрузка по кварталам




1

2

3

4

1

Трудоемкость топливной аппаратуры двигателя

10080

3000

2040

2040

3000

2

Трудоемкость дополнительных работ

2721

807

554

554

807


Итого:

12801

3807

2594

2594

3807


1.2 Распределение трудоемкости по видам работ

Распределение трудоемкости по видам работ осуществляется в процентном отношении от общей трудоемкости ремонтных работ;

Например:

Общая трудоемкость ремонта топливной аппаратуры двигателей равна 10080 чел. час, а сборочные работы составляют 24,9% от всех трудозатрат:

Тразбор = 10080 * 0,249 = 2509,92 чел. час

Ориентировочное распределение трудоемкости по видам работ берем из. (Л 1, стр. 85 табл. 59). Аналогично определяем далее трудозатраты по видам работ для изготовления инструмента, запасных частей, на обслуживание оборудование и выполнения внеплановых заказов.

Ориентировочное распределение дополнительной трудоемкости

выполняемых работ по видам берем из (Л1 стр. 86, табл. 61)

Полученные данные сводим в таблицу 2.

Распределение трудоемкости по видам работ

Таблица 2


Наименование  работ

Дополнительная трудоемкость

Основная трудоемкость

Общая трудоемкость чел.час



%

Тдоп чел.час

%

Тосн чел.час


1

Мойка

5

136,05

5

504

640,05

 

2

Разборка

28

761,88

28

2822,4

3584,28

 

3

Комплектовочно-дефектовочный

7

190,47

7

705,6

896,07

 

4

Сборка

40

1088,4

40

4032

5120,4

 

5

Механический участок

7

190,47

7

705,6

896,07

 

6

Станочный участок

7

190,47

7

705,6

896,07

 

7

Молярный

6

163,26

6

604,8

768,06

 


всего

100

2721

100

10080

12801

 


1.3 Расчет штата цеха

Потребность количества производственных рабочих, как общее, так и по видам работ определяется делением суммарной трудоемкости работ на действительный фонд времени рабочего по формуле:

Рп = Тс / Фдр

где Рп - число производственных рабочих

Тс - суммарная годовая трудоемкость общая или по видам работ чел.час

Фдр - действительный фонд времени рабочего в час

Действительный фонд рабочего времени при пяти дневной рабочей недели (в нормальных условиях) рассчитывают по формуле:

Фдр = (dк - dв - dп - dо) * t * к,

где dk, dв, dп, dо - число дней планируемого года (календарных, выходных, праздничных и отпускных)

t- продолжительность рабочей смены в часах

к - коэффициент учитывающий использование времени рабочей смены.

К= 0,95

dк= 365 дней

dв и dп =116 дней

dо= 24 дня

Таким образом, Фдр будет равен

Фдр = (365 - 104 - 12 - 24)*8*0,95= 1710 часов

Определяем фонд времени рабочего с вредными условиями труда.

Фвр = (365 - 104 - 12 - 36) * 8 * 0,95 = 1619 часов.

Потребное количество рабочих по специальностям определяем по трудоемкости работ соответствующих специальностей.

Рм = Тм /Фдр,

Рм=640,05/1710=0,37

Тм - трудоемкость моечных работ взятых из таблицы № 1

Фдр - действительный фонд времени рабочего для моечных работ:

Фдр - 1710 час.

Аналогично определяем количество рабочих занятых на других работах

Таблица 3

Наименование работ

Суммарная трудоемкость чел. час

Фонд времени рабочего

Количество рабочих




Расчет

Принят

Мойка

640,05

1710

0,37

-

Разборка

3584,28

1710

2,09

2

Дефектовка комплектовка

896,07

1710

0,52

-

Сборка

5120,4

1710

2,99

3

Механический участок

896,07

1619

0,55

-

Испытательный

896,07

1619

0,55

-

Молярный

768,06

1619

0,47

-

Итого

12801



8


Так как трудоемкость на некоторых участках мала, предлагаю объединить: моечный с молярным цехом и принять 1 человека, дефектовочно комплектовочный с механическим и испытательным принять 2 человек.

Определяем число обслуживающего персонала.

Численность вспомогательных рабочих определяется как 12% от общего числа производственных и вспомогательных рабочих вместе взятых

Рсп = Рп *0,12

Рсп= 8 * 0,12 = 0,96 чел.

Принимаем вспомогательных рабочих 1 человек.

Численность ИТР берется не более 10-12% от общего числа производственных и вспомогательных рабочих вместе взятых

Ритр = (Рп + Рвсп) * 0,12

Ритр= (8 + 1) * 0,11 = 0,99 чел

Принимаем ИТР = 1 чел.

Численность служащих должна составлять не более 8 % от численности производственных рабочих.

Рсп = Рп * 0,08

Рсп= 8 * 0,08 = 0,64 чел.

Принимаем Рсп = 1 чел.

Численность МОП берется не более 2 - 3 % от общего числа производственных и вспомогательных рабочих.

Рмоп = (Рп + Рвсп) * 0,02

Рмоп= (8 + 1) * 0,02 = 0,18 чел

Обязанности МОП возлагаем на служащего.

Определяем общую численность рабочих (производственных, вспомогательных, ИТР, МОП)

Робщ = Рп + Рвсп + Ритр + Рмоп = 8 + 1 + 1 + 1 =11 чел.

1.4 Определяем количество основного оборудования и подбираем его по маркам

Расчет количества оборудования производится аналогично расчету числа рабочих, но вместе действительного фонда времени рабочего используется фонд времени оборудования.

Фоб = (dк - dв - dп) * tсм * n * k,

где n - кол-во смен в мастерской. n = 1

dк, dв и dп - количество календарных, выходных и праздничных дней.

tсм - продолжительность смены равна 8 часам

К - коэффициент использования оборудования К = 0,93

Таким образом, фонд времени оборудования будет равен:

Фоб = (365 - 104 - 12) * 8 * 1 * 0,93 = 1852 час

Расчет количества оборудования производится по формуле;

Nоб = Туч / Фоб

Например: производим расчет количества оборудования для испытательного участка двигателей

Nоб = 896,07 / 1852 = 0,48 ед.

Принимаем Noб = 1 ед.

.5 Расчет площади и планировка производственного корпуса

Расчет площади участка производим по двум показателям.

. По числу производственных рабочих на данном участке:

Fуч = Руч * fуд,

где Руч - число производственных рабочих на данном участке ( берется из таблицы 3 проекта).

fуд - удельная площадь на 1 рабочего.

. По площади занимаемого оборудования на данном участке.

Fyч = Foб * К,

где Foб - суммарная площадь занимаемого оборудования на данном участке (берется из спецификации оборудования);

К - коэффициент учитывающий проходы между оборудованием.

Производим расчет испытательного участка по обеим формулам и для дальнейших расчетов берем большую площадь.

Определяем площадь по первому способу:

Fyч = 3 * 15 = 45

Определяем площадь по второму способу:

Fyч = 4,18* 5 = 20,9

Полученные данные сводим в таблицу 4.

Таблица 4

Наименование работ

Расчет площади по кол-ву рабочих

Расчет площади по оборудованию

Принимаемая площадь м2



Кол-во рабочих

Удельная площадь на рабочего

Расчетная площадь м2

Площадь занимаемая оборудованием

Коэффициент проходов

Расчетная площадь м2


1

Разборно-моечный


15



3,5



2

Сборочный участок

3

15

45

4,18

5

20,9

45

3

Дефектовочно-комплектовочный

1

15

15

3,2

3,5

11,2

15

9

Механический


12



3



11

Малярный





3,5




итого

8








Кроме производственной площади определяем площадь конторы и ботовых помещений (6% от производственной площади).

Склад (3%) и инструментальной кладовой (2%).

Определяем площадь конторы и бытовых помещений:

Fк быт = Fпр * 0,06 = 326 *0,06 = 19,56

Определяем площадь склада:

Fскл = Fпр * 0,03 = 326*0,03 = 9,78

Определяем площадь инструментальной кладовой:

Fин = Fпр * 0,02 = 326*0,02 = 6,52

Fинс = Fпр + Fк быт + Fскл + Fклад

Fинс = 326 + 20 + 10 + 7 = 363

Компоновка производственного здания начинается с выбора габаритов. Принимаем прямоугольную форму здания цеха с учетом реконструкции 400 . По выбранному размеру цеха принимаем масштаб 1:50, ширина - 12 метров, длинна - L = 400/12 = 33 метров.

1.6 Разработка диагностирования газораспределительного механизма двигателя СМД-62

Утопание клапанов в гнездах головки определяют по расстоянию между плоскостью торца стержня клапана и обработанной плоскостью головки со стороны клапанного механизма, измеряемому на дизеле при снятой крышке клапанной коробки.

Износ кулачков распределительного вала оценивают, зная высоту кулачков, которую определяют непосредственно на дизеле по величине перемещения клапанов с учетом зазора между их стержнями и бойками коромысел. Этот метод, в связи с наибольшей затратой труда, требует сложной аппаратуры.

Суммарный износ деталей механизма газораспределения (шестерни газораспределения, подшипников и кулачков распределительного вала) можно определить по смещению угла начала открытия впускного клапана первого цилиндра в сторону запаздывания.

Проверка и регулировка зазора клапанов газораспределения.

Зазоры в клапанном и декомпрессионном механизме проверяют щупом. Проверяют и если необходимо, подтягивают гайки крепления головки цилиндров, сняв крышки. Сначала проверяют затяжку тех гаек, к которым возможен доступ. Если гайки проворачиваются, снимают с головки валик с коромыслами и подтягивают динамометрическим ключом все гайки. Начинать подтягивать следует с середины головки, поочередно затягивая крест на крест гайки и равномерно удаляясь от середины к краям головки. Поставив снятые составные части на место (кроме крышек), проверяют и, если необходимо, устанавливают поршень первого цилиндра в ВМТ при такте сжатия. Прокручивая коленчатый вал, наблюдают за перемещением впускного клапана первого цилиндра.

После того как клапан начинает открываться, прокручивают коленчатый вал еще на один оборот.

У дизеля ЯМЗ - 240Б снимают крышку смотрового клапана с корпуса гасителей крупных колебаний и прокручивают коленчатый вал до совмещения риски с надписью " клапана " на корпусе гасителя крутильных колебаний с указателем ввернутым в переднюю крышку блока цилиндров. При этом все клапана цилиндров обозначенных цифрами под надписью "клапаны" будут закрыты.

Проверяют с помощью щупов регулируют зазоры между стержнями клапанов и бойками коромысел первого цилиндра.

В случае неравномерного износа опорных поверхностей и стержня клапана измерение теплового зазора щупами (с достаточной точностью) затруднено при несовпадении оси бойка коромысла с осью стержня клапана, а так же неодинаковых диаметрах опорных поверхностей бойка и стержня. Более точные результаты измерения дает устройство КИ - 9918 ГОСНИТИ, включающий индикатор часового типа ИЧ - 10, жестко закрепленный на неподвижном корпусе, подпружиненную неподвижную каретку, отжимной кулачок и тормозок. Что бы проверить зазор между стержнями клапана и бойками коромысла, устройство устанавливают на тарелку пружины клапана и зажимают с помощью тарелки, между тарелкой и коромыслом, приподняв тарелку вверх. При закрытом клапане нажимают на коромысло так, чтобы боек коснулся стержня клапана и совмещают нуль шкалы индикатора со стрелкой. После этого нажимают на коромысло в обратном направлении до момента соприкосновения регулировочного винта со штангой толкателя и по показанию индикатора определяем значение теплового зазора.

После проверки и регулировки зазоров клапанов и декомпрессионного механизма у первого цилиндра двигателя регулируют зазоры у других цилиндров в соответствии с порядком их работы каждый раз прокручивая коленчатый вал на пол оборота ( у дизелей Д - 240, А - 41). У дизелей СМД -62 зазоры клапанов проверяют попарно: у первого и четвертого, пятого и второго, третьего и шестого. Коленчатый вал прокручивают до совмещения риски с цифрами, обозначенными на маховике коленчатого вала, очередную группу цилиндров - проворачиваем на 2400 до совмещения меток с указателем на маховике.

Диагностирование газораспределительного механизма.

Проверка неплотностей прилегания клапанов газораспределения. Состояния клапанного гнезда определяют, при снятии форсунок, с помощью индикатора расхода топлива.

Для этого прокручивают коленчатый вал до прихода поршня первого цилиндра в ВМТ или в положение, соответствующие установочному углу опережения подачи топлива на такте сжатия.

Стопорят коленчатый вал, включив какую либо передачу. Отверстия под форсунки у всех клапанов, кроме проверяемого, закрывают пробками.

Выходной трубой индикатор подключают к крану ресивера. В отверстие для форсунки проверяемого цилиндра устанавливают наконечники индикатора. Поворотом дросселя и поворотом заслонки перекрываем выходную щель.

При закрытом распределительном кране включают компрессор и создают в цилиндре разрежение 0,06...0,07 мПа, а в ресивере давление 0,20...0,25 мПа. Затем плотно прикрывают впускной наконечник впускного трубопровода индикатор к выпускной трубе или впускному трубопроводу воздухоочистителя (при снятом фильтре грубой очистки воздуха). Регулятором устанавливают рабочие давление 0,2 мПа. После этого, открывают кран, включают подачу воздуха в проверяемый цилиндр.

Удерживая прибор в верхнем положении, определяют утечку воздуха через проверяемый клапан. Аналогично проверяют неплотности прилегания клапанов остальных цилиндров в соответствии с порядком их работы, каждый раз прокручивая коленчатый вал на пол оборота.

У дизелей СМД-62 неплотности клапанов проверяют в таком же порядке, что и тепловые зазоры. Если величина утечки воздуха хотя бы через один клапан превышает допустимое значение, необходимо снять головку цилиндров и притереть клапана к гнездам.

Техническое обслуживание механизма газораспределения.

В процессе эксплуатации двигателя периодически проверяют и регулируют зазоры клапанов. При уменьшении величины зазора увеличивается продолжительность открытия клапана.

Уменьшается компрессия в цилиндрах, снижается мощность. Увеличение зазора приводит к снижению мощности двигателя, ухудшения наполнения цилиндров, повышения расхода топлива и перегреву двигателя.

При этом возрастают ударные нагрузки на детали механизма газораспределения, что вызывает стук клапанов, которые отчетливо прослушиваются под крышкой головки цилиндров при работе двигателя на малых оборотах. Продолжительная работа двигателя с большим зазором в клапанах приводит к износу деталей и может вызвать изгиб клапанов. Следует иметь в виду, что увеличение зазора более опасно, чем некоторое их уменьшение. Величина зазора между стержнями клапана и бойками коромысла на холодном двигателе для впускного и выпускного клапанов должна быть в приделах 0,48...0,5 мм.

Зазоры рекомендуется проверять после первых 60ч работы, а затем через каждый 480 ч. работы.

Снимают клапанные крышки головки цилиндров и крышку лючка на корпусе маховика. Вращают коленчатый вал по часовой стрелке и наблюдают за коромыслами первого цилиндра. Когда выпускной, а затем и впускной клапаны откроются и закроются, нажимают на указатель ВМТ, расположенных на корпусе маховика, и продолжают прокручивать коленчатый вал до тех пор, пока указатель не войдет в лунку на маховике. В этом положении коленчатого вала поршень первого цилиндра будет находится в ВМТ такта сжатия, а метка на маховике подойдет к стрелке. Прикрепляют болтом стрелку, устанавливают ее конец против метки ВМТ на маховике. Провернув коленчатый вал еще на 45 градусов до совмещения стрелки с риской на маховике, обозначенной цифрами 1 и 4, проверяют если необходимо, регулируют зазоры в клапанах четвертого и первого цилиндров, зазор проверяют щупом.

При нормальной величине зазора щуп должен плотно входить между бойком коромысла и торцом стержня клапана. Если необходимо отрегулировать зазор ключом ослабляют контргайки и отверткой устанавливают регулировочный винт на коромысле клапана в положение, при котором щуп будет плотно входить в зазор. Удерживая отверткой винт в этом положении, затягивают ключом контргайку. После регулировки зазора штанга должна свободно вращаться.

Для регулировки зазора клапанов второго и пятого цилиндров прокручивают коленчатый вал по часовой стрелки на 240 градусов до совмещения стрелки с риской на маховике, обозначенной цифрой 2 и 5, проверяют и регулируют зазоры во втором и пятом цилиндрах и т.д.

Регулировка теплового зазора в клапаном механизме двигателя Д - 240 производится следующим образом. Находим место расположения первого цилиндра и устанавливаем его поршень в положение соответствующее концу такта сжатия и регулируем тепловой зазор в клапанах первого цилиндра, затем проворачиваем коленчатый вал на половину оборота и регулируем зазор в третьем цилиндре и так по порядку работы 1-3-4-2 величина зазора равна 0,3 мм., проворачивая каждый раз коленчатый вал на пол оборота.

Раздел 2. Организационно-эксплуатационная часть

2.1 Организация технологического процесса ремонта двигателя

Производственный процесс ремонтного предприятия - это совокупность действий, в результате которых восстанавливается годность отдельных деталей, сборочных единиц агрегатов или машин в целом. В производственный процесс входят ряд подготовительных и сопутствующих процессов (доставка к объекту ремонта, материально техническое снабжение, контроль сортировка деталей, контроль сборки и испытание основных технологических процессов).

Под основными технологическими процессами понимаются часть производственного процесса, в течении которого происходит последовательная смена состояний ремонтируемого объекта. К таким технологическим процессам ремонта относятся: разборка на агрегаты сборочные единицы и детали, восстановление годности деталей, сборка и обкатка.

Для расчета организации производственного процесса ремонта, необходимо следующие исходные данные:

а) Производственную программу ремонтного предприятия - т.е. номенклатуру ремонтного двигателя с указанием года выпуска, и характеристику физического состояния двигателя:

б) Технологические карты на восстановление деталей, сборочных единиц, агрегатов и машины в целом. Разработаны требования к годовой программе ремонтного предприятия с учетом средних отношений фактического состояния ремонтируемых объектов.

При наличии таких технологических карт за основу расчета организации производственного процесса применяются средние затраты времени, указанные в технологических картах, перечень оборудования и инструментов, последовательность операций отдельных технологических процессов.

При организации производственного процесса специализированного ремонтного предприятия должны соблюдать четыре следующих принципов:

. Пропорциональности т.е. количества рабочих, станков оборудования на отдельные работы должны быть пропорциональны трудоемкости каждого определенного вида ремонта;

. Ритмичность т.е. должно соблюдаться постоянство и равенство затрат времени на ремонт каждого двигателя;

. Параллельность т.е. отдельные процессы ремонта должны выполняться одновременно;

. Непрерывности т.е. процессы ремонта должны выполняться непрерывно (непрерывность является обобщающим показателем, характеризующим работу ремонтного предприятия и зависит от трех первых принципов, названых выше). Принцип непрерывности предусматривает последовательность выполнение всех операций во времени и пространстве.

.2 Организация технического контроля по ремонту двигателя

Процесс контроля качества технического обслуживания и ремонта машин включает в себя организацию и проведение входного контроля запасных частей, материалов и агрегатов, поступающих на ремонтное предприятие, контроль состояния технологического оборудования, приспособлений и инструмента. Кроме того в процессе контроля выявляют продукцию и производственные процессы, уровень и качество которых не соответствует современным требованиям, а также определяют и устраняют причины возникновения брака.

В зависимости от подчиненности контролеров организации предприятия различают три формы технического состояния:

. Зависимая форма контроля - характеризуется тем, что контролеры подчиняются непосредственно мастеру и начальнику производственного участка, заведующему мастерской.

. Полузависимая форма контроля характеризуется тем, что контролеры подчиняются начальнику ОТК, а начальник ОТК руководителю предприятия. Начальник ОТК назначается и освобождается от должности вышестоящей организацией.

. Независимая форма контроля - характеризуется тем, что контролер не подчинен администрации ремонтного предприятия, а находиться в подчинении вышестоящих организаций. Функции независимых контролеров выполняют представители гос. инспекции.

В зависимости от возможности использования проконтролированной продукции различают разрушающий и не разрушающий контроль.

Разрушающий контроль делает продукцию непригодной к дальнейшему использованию и связан со значительными затратами.

Не разрушающий контроль основан на использовании средств рентгеновской, ультразвуковой, техники, электроники и т.д.

В зависимости от объема контролируемого материала различают сплошной и выборочный контроль.

. Сплошной контроль рассчитан на проверку всех единиц продукции: этой проверки подвергаются ответственные детали, такие как коленчатый вал, поршни, шатуны и д.р.

. Выборочный контроль предусматривает проверку относительно наибольшего числа единиц продукции.

По числу контроля различают:

. Приемочный контроль - это выборочный контроль, основан на применении методов математической статистики для проверки соответствия качества продукции установленными требованиями.

. Контроль состояния технологического процесса - это выборочный контроль параметров производственной продукции (установленными требованиями), необходимый для технологического обеспечения требуемого уровня ее качества.

По применяемым решениям различают контроль активный и пассивный.

. Активный контроль - такой вид, когда применяются решения улучшения качества продукции.

. Пассивный контроль - в отличии от активного только фиксирует брак.

В зависимости от стадии производственного процесса различают;

. Входной контроль - проверяет запасные части, материалы, комплектующие изделия, поступающие на ремонтные предприятия.

. Послеоперационный контроль - проводится после каждой проведенной операции.

. Контроль качества готовой продукции заключается в проверки отремонтированных деталей и установленным в соответствии всех параметров, требований технического состояния.

По характеру контроля различают;

. Инспекционный контроль - это проверка проконтролированной продукции, из которой обнаружен брак.

. Летучий контроль - носит инспекционный характер, но проводиться внезапно в случайный момент времени.

В зависимости от средств получения информации о показателях качества различают визуальный и инструментальный.

Непрерывный контроль - определяется характером поступления продукции на контроль. Контроль партий - проверка определенных нарушений продукции.

Основными документами контроля качества продукции является ведомость дефектов, обслуживание и обкатка, испытание гарантийный талон, паспорт книга учета браков.

. Ведомость дефектов

Ее составляют при дефектовки деталей после разборки. Состоит ведомость из пяти частей. Подписывает ведомость заведующий мастерской, утверждает руководитель предприятия.

. Журнал обкатки и испытания.

В него заносят данные, полученные в процессе обкатки и испытания. Например: по двигателю записывают мощность, расход топлива, минимальную частоту вращения коленчатого вала на холостом ходу.

. Гарантийный талон.

Талон выписывают как на отремонтированную машину, так и на отремонтированный агрегат, В нем указывают наработку в моточасах, в течении которых ремонтное предприятие гарантирует безопасную работу машин ( агрегатов )

. Паспорт.

На все ремонтируемые агрегаты и машины заводят паспорт. Он содержит данные, полученные при испытаниях этих частей после ремонта.

Книга учета брака

В ней регистрируется вид и количество забракованной продукции, причины, брак и принятые меры по устранению этих причин.

Контроль качества технического обслуживания и ремонта машин и агрегатов в ремонтно-технических предприятиях возложен на инженера технического контроля. Он назначается и освобождается от должности вышестоящей организацией.

Начальник ОТК обязан создавать условия для бесперебойной работы контролеров, вести учет и анализ брака рассматривать поступающие рекомендации, информировать руководство о всех случая брака, оформлять гарантийный талон.

Инженер - контролер обязан:

проверять качество отремонтированных машин и агрегатов;

принимать участки в приемке в ремонт и выдачи из ремонта машин и агрегатов;

проверять качество поступающих запасных частей, инструмента и ремонтных материалов;

выявлять причины неисправностей и отказов машин на основании актов рекламаций.

Раздел 3. Охрана труда и противопожарные мероприятия

.1 Мероприятия по охране труда и противопожарной защите проектируемого объекта

Российское законодательство о труде регулирует трудовые отношения всех рабочих и служащих с администрацией предприятий и учреждений, содействует росту производительности труда, повышению эффективности производства, укреплению трудовой дисциплины.

Законодательство РФ, охраняя установленную продолжительность рабочего дня, не допускает проведения работ сверхурочно. Проведение таких работ допускается в исключительных, строго определенных случаях. Администрация хозяйства обязана провести необходимые мероприятия по созданию безопасных условиях труда, подготовить, оформить и утвердить инструкцию по технике безопасности на каждом рабочем месте. Рабочий персонал должен хорошо изучить устройство назначение и расположение трубопроводов, арматуры, контрольно-измерительных приборов, инструкцию по технике безопасности и сдать техминимум по обслуживанию и ремонту оборудования мастерских. К обслуживанию стендов допускается лица достигшие восемнадцатилетнего возраста, прошедшие производственное обучение и инструктаж по технике безопасности. Результаты аттестации оформляются протоколом, подписанным председателем и членами квалификационной комиссии. Отделение мастерской, рабочие места, прохода, подсобные помещения должны содержатся в чистоте, рабочие места должны быть освещены и снабжены исправными инструментами и приспособлениями.

Организация и осуществление мероприятий по техники безопасности в ремонтном предприятии должна проводится в соответствии с инструкцией по техники безопасности рабочих ремонтных предприятий. Руководство и ответственность за организацию работы по охране труда в ремонтных мастерских возложены на заведующего мастерской: на участках на руководителей участков.

Охрана труда базируется на системе мероприятий охватывающая три основных проблемы.

санитарную охрану труда, разрабатывающую мероприятия по борьбе с профессиональными вредностями;

техническую охрану труда, разрабатывающая мероприятия по борьбе с производственным травматизмом;

правовую охрану труда, разрабатывающую общие вопросы охраны труда как часть государственного регулирования трудового законодательства. Лица ответственные за охрану труда должны следить за тем, что бы по всем трем основным направлениям охраны труда разрабатывались и выполнялись мероприятия по улучшению условий труда, внедрению комплексной механизации работ, обеспечению исправного состояния оборудования, улучшению санитарно-гигиенических условий труда.

Противопожарное состояние мастерских обеспечивается и контролируется заведующим мастерской, который несет за это персональную ответственность. Для проведения предупредительной противопожарной работы и оказанию первой помощи при возникновении пожара должна быть организована добровольная пожарная дружина из числа рабочих предприятия. Заведующий мастерской проводит занятия с рабочими по правилам пожарной безопасности.

Мастерская должна быть обеспечена противопожарным инвентарем, и оборудованием, в число которых входит огнетушители, ящик с песком, ведра, багры. Инвентарь размещается на различных участках в пожароопасных местах.

Для размещения противопожарного инвентаря используются деревянные щиты, окрашенные в красный цвет.

Обращение с огнетушителем следует научиться до пожарной обстановке, Обязанности администрации по охране труда и техники безопасности. Для ознакомления рабочих с правилами техники безопасности проводятся следующие виды инструктажа; вводный, первичный (инструктаж на рабочем месте ), повседневный и периодический.

Вводный инструктаж проводится со всеми, только что, поступившие к работе на новом участке. Инструктаж на рабочем месте проводит руководитель участка или заведующий мастерской.

В мастерских должна осуществляться регистрация проводимых мероприятий по техники безопасности.

Руководители обязаны один или два раза в год проводить обучение рабочего персонала независимо от проведения инструктажа. Инструктаж ведется по темам, которые охватывают вопросы, связанные с выполненными работами: обращение с нефтепродуктами, работа с грузоподъемным устройствами и механизмами, газосварка и электросварка, пользование электроинструментами. Результаты занятий проверяются квалифицированной комиссией.

Сведения о проведении обучения заносятся в журнал регистрации обучения по техники безопасности.

Заведующий мастерской должен организовать кабинет или уголок по техники безопасности, снабженный литературой, содержащей правила по техники безопасности и производственной санитарии при проведении различных ремонтных работ, а также инструкции по технике безопасности по следующим видам; газоэлектросварочные работы, слесарно-сборочные, грузоподъемные, станочные, кузнечные, малярные и др. Для создания благоприятных условий работы необходимо разработать и осуществить ряд общих мероприятий по технике безопасности и производственной санитарии по облегчению и оздоровлению условий труда.

. Привести помещение мастерской в полное соответствие с действующими нормами и правилами техники безопасности.

. Оснастить оградительными устройствами все опасные зоны и категорически запретить работу на оборудовании не имеющим ограждений и защитных устройств.

. Уменьшить производительный шум.

. Обеспечить разборочные и сборочные участки съемниками и приспособлениями для монтажных работ, мерительным инструментом в полном соответствие с технологией.

. Проверить техническое состояние всех электросиловых установок, испытать заземление.

. Проверить надежность действия вентиляционных устройств, а также отсасывающих приспособлений на участках, где выделяется абразивная и механическая пыль.

. К работе на участке по ремонту двигателей допускаются лица достигшие 18 летнего возраста и имеющие соответствующую квалификацию и удостоверение.

. Строго соблюдать правила эксплуатации приборов, инструментов и приспособлений.

. У станков нужно иметь надежное заземление.

. Запрещается работать без спец. одежды и защитных очков.

.2 Охрана окружающей среды

Большинство ремонтных предприятий из природных ресурсов расходуют большое количество воздуха и воды. Последние частично утилизируются и возвращается в природную среду, но уже в виде выбросов в атмосферу загрязненных пылью и токсичными газами или содержащих механические примеси и вредные вещества.

Например, котельные, практически имеющиеся на многих ремонтных предприятиях, на сжигание 1 тонны угля, мазута или газа потребляют около 10 тонн атмосферного воздуха. После этого воздух практически в том же объеме, но со сниженным содержанием кислорода возвращается в атмосферу, обогащенный канцерогенной сажей, токсичным оксидом углерода, окислами азота и другими вредными веществами. Эти вещества загрязняют не только прилегающие территории, но и разносятся на большие расстояния. Оксид углерода и окислы азота, не распадаясь, могут сохранятся в воздухе до четырех суток.

При воздействии осадков они выпадают из атмосферы в виде кислотных дождей, уничтожающих культурные посевы, леса, растительность, отравляющих водоемы и нарушающих условия существования растительного и животного мира.

Выбросы ремонтных предприятий, прежде всего, могут влиять на загрязнения атмосферы приземного слоя промышленной площади предприятия, а так же могут оказывать негативное воздействие на людей, проживающих в примыкающих к нему зонах, так как многие ремонтные предприятия размещаются в жилых массивах, а их санитарно защитные зоны имеют не большие размеры (50 м).

Воздействие ремонтных предприятий на окружающую природную среду, прежде всего, может проявится в выбросах в атмосферу, сбросах сточных вод и складировании твердых отходов на полигонах.

Поэтому для предотвращения загрязнения окружающей среды вредными отходами производства предприятия должны использовать различные очистные сооружения, в которых осуществляется различные методы очистки отходов производства: фильтрование, флотация, осаждения вредных примесей, физико-химические методы, биологические. Для регенерации сточных вод используются брызгательно-охладительные бассейны, отстойники, поля фильтрации. Для снижения затрат воды на производство используется оборотная вода с предварительной регенерацией, срочных вод и складировании твердых отходов на полигонах. Современное сельское хозяйство развивается в ситуации, когда нарастает необходимость его дальнейшего развития и интенсификации, а одновременно этого путь влечет серьезные экологические последствия. Потребности растущего населения планеты в продуктах продовольствия и техническом сырье пока не могут быть удовлетворены полностью. Вместе с тем разрушается сообщества растений и животных, загрязняются почвы, вода. Рост производства сельскохозяйственной продукции происходит за счет более интенсивной эксплуатации используемой земельной площади, широкого применения химизации, новой техники. Труд земледельца и животновода по сути представляет собой использование природных ресурсов в интересах человека. Технологические цепи процессов получения сельскохозяйственной продукции, от этапа воспроизводства биологических ресурсов, до переработки в конечный продукту представляет сложный механизм многообразного воздействия на природу. Это диктует необходимость компетентности специалиста сельского хозяйства в вопросах рационального природопользование и охраны окружающей среды и налагает серьезную ответственность за принимаемые им решения. Задачи сельскохозяйственного производства специалист должен сочетать с комплексным осуществлением природоохранных мероприятий, активно и целеустремленно добиваться внедрения передовых эффективных методов организации производства, экономичных и экологических технологий и процессов.

Промышленные загрязнения окружающей среды подразделяются на следующие виды;

механические загрязнения атмосферы, загрязнения почвы и воды твердыми предметами и частицами.

химические образования выделение и скапливание газообразных, жидких и твердых химических соединений, вступающих во взаимодействие с окружающей средой;

физические, тепловые и световые выделения и вибрации, шум;

биологические поступления в окружающую среду различных организмов наносящих вред природе.

Ремонтные предприятия выделяют все выше перечисленные виды

загрязнений или накапливают их в процессе очистки машин и агрегатов при проведении различных технологических процессов ремонта.

В целях охраны окружающей среды от вредного воздействия промышленных отходов необходимо совместно с санитарно-эпидемиологическим надзором тщательно проработать вопросы нейтрализации, утилизации или захоронения вредных растворов кислот, щелочей, моющих веществ, гербицидов, и других материалов, применяемых при ремонте или образующихся при очистке и мойке машин. Отработанные смазочные материалы необходимо направлять на регенерацию или использовать для местных надобностей.

При выполнении таких же технологических процессов при ремонте, как окраска, обкатка и испытание двигателя, при применении эпоксидных смол должны быть предусмотрены устройство принудительной вентиляции с выпускными трубами достаточной высоты.

Для уменьшения загрязнения окружающей среды необходимо:

. Правильное сжигание топлива. При сжигании каменного угля необходима подача тяги или переход на газифицированное отопление.

. Строительство очистных сооружений: применяют методы очистки (механические, химические, электрические, комплексные)

. Совершенствование технологии производства, уменьшение выбросов в атмосферу и максимального использования отходов.

Ответственность за выполнение правил по охране окружающей среды несет руководитель предприятия, цеха, который в обязательном порядке обязан принимать меры предосторожности, чтобы не допустить загрязнение окружающей среды.

Человек и природа - одно целое ничто не существует отдельно. И наша задача беречь и охранять её.

Раздел 4. Конструкторская часть проекта

.1 Назначение, устройство и правила эксплуатации приспособления

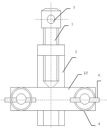
В качестве конструкторской разработки дипломным проектом предлагается устройство для развальцовки трубок.

Устройство состоит из обжима (2 и 5), винта (1), основания (3), фасонной гайки (4), воротка (6) и рукоятки (7).

Чтобы развальцевать трубку её зажимаем между обжимами 2 и 5, стягиваем фасонной гайкой 4, и вращая винт 1 за вороток 7, торец трубки развальцовывается за счет конусной поверхности винта 1. Операция повторяется несколько раз. Заусенцы обрабатываются напильником.

.2 Расчёт приспособления на прочность

При вворачивании винта в корпус, возникает возможность среза резьбы. Для того чтобы этого не произошло, при изготовлении съемника учитывается условие прочность резьбы.

Условие прочности резьбы на срез определяется по формуле:

,

где Q - Осевая сила приложенная к винту, Н;- число витков в корпусе;

Кп - коэффициент полноты резьбы, для метрической резьбы Кп = 0,75; - шаг резьбы, мм; - диаметр винта, мм; П-3,14

Мер - допустимое напряжение на срез, н/мм2;

 = 28 н/мм2.

н/

Расчет показал, что резьба при эксплуатации съемника выдержит.

Рис. 1.

- винт;

,5 - обжим;

- основание;

- гайка;

- вороток;

- рукоятка;

Раздел 5. Экономическая часть

.1 Расчет себестоимости ремонта одного двигателя

Себестоимость - это затраты в рублях на единицу ремонтируемой продукции.

Затраты определяется выражением:

Сп = 3п + Зн,

где Зп - сумма принятых затрат,

Зн - сумма накладных затрат.

К прямым затратам относятся основные и дополнительные затраты рабочих, затраты на запасные части и ремонтные материалы.

.2 Расчет прямых затрат

Прямые затраты определяются по формуле;

Зп = Зраб + Зз.ч + Зр.м,

где Зраб - заработная плата рабочим;

Зз.ч - затраты на запасные части;

Зрм - затраты на ремонтные материалы.

Определяется, исходя из объема работ, выполняемых в цехе и часовой тарифной ставки по соответствующему разряду;

Зраб = Тсум * Сч,

где Тсум = суммарная трудоемкость работ в цехе,

Сч - средняя часовая тарифная ставка слесаря четвертого разряда.

Сч = 32.44 руб.

Зраб = 19778 * 32.44=641 598 руб.

Кроме основной заработной платы определяется дополнительная заработная плата, которая применяется 25-100% от основной.

Здоп = Зраб * 60 / 100

Здоп = 384 959 руб.

Определяем оплату отпусков 10%

Зотп = (Зраб + Здоп ) * 10 / 100

Зотп = 1 02 656 руб.

Начисляем к общему фонду заработной платы

Социальное страхование - 3,2%

Медицинское страхование - 2,8%

От несчастных случаев - 0,2%

Пенсионный фонд - 20%

Зп.нач = (Зп.общ + Зп.доп + Зп.отп) * 0,262 = 295 854 руб.

Определяем начисления на общую заработную плату производственных рабочих с начислением;

Зп.с. = Зраб + Здоп + Зотп + Знач = 1 425 067 руб.

Зраб - заработная плата рабочих

Здоп - дополнительная оплата

Зотп - отпускная заработная плата

Знач - начисления

Они берутся в процентном отношении от отпускной цены ремонтируемого двигателя. Отпускная цена двигателя 60000 руб.

Стоимость запасных частей берется 40-50% от отпускной цены.

Ззч = Сотп * 50 Nр / 100

Ззч = 60000 * 50 * 350 / 100 = 10500000 руб.

Сот - отпускная цена

Nр - количество ремонтов.

Они составляют 5-8% от отпускной цены.

Зр.м = Сотп * 8/ 100 * Nр

Зр.м = 40000 * 8/ 100 * 350 = 1680000 руб.

Общая сумма прямых затрат;

Зп = Зп.осн + Ззч + Зр.м,

где Зп.осн - общая сумма заработной платы с начислениями,

Зз.ч - затраты на запасные части

Зр.м - затраты на ремонтные материалы

Зп = 13297560 руб.

.3 Расчет накладных затрат

К накладным расходам относят расходы, которые нельзя отнести к конкретному ремонтному объекту.

Для их расчета определяем стоимость производственных фондов. Стоимость здания определяется исходя из стоимости одного квадратного метра цена от 5 тыс. руб. до 12 тыс. руб.

Сзд = Гм * Сзд,

где Сзд - стоимость одного квадратного метра

Гм - площадь здания

Сзд = 400 * 6000 = 2400000 руб.

Стоимость оборудования определятся из расчета одного квадратного метра до1 500 руб.

Соб = 400 * 1500 = 600 000 руб.

Стоимость приспособления и инструмента определяется аналогично:

Спи = Гм * Сп

Спи = 400 * 500 = 200 000 руб. 6.3.Определяем заработную плату вспомогательных рабочих.

Звс.раб = Фвр * Сч * n,

где Фвр - фонд времени рабочего,

Сч - средняя часовая тарифная ставка по второму и третьему разряду,

n - количество вспомогательных рабочих

Звс.раб = 1710 * 27,16 * 1 = 46 444 руб.

Определяем заработную плату МОП и служащих которая производится по пятому разряду тарифной ставки:

Змоп = Др.м * Тст * Р,

где Др.м - количество рабочих месяцев,

Тст - тарифная ставка,

Р - количество работников,

Змоп = 11 * 2944 * 1 = 32 384 руб.

Определяем заработную плату ИТР, которая производится по 11-16 разряду тарифной ставки в зависимости от образования и стажа работы:

Зитр = 11 * 5376 * 1 = 59136 руб.

Общая заработная плата:

Зн.общ = Звс.раб + Змоп + Зитр = 137 964 руб.

Определяем дополнительную заработную плату в размере 25 - 100 % от общей заработной платы:

Зн.доп = Зн.общ * 50 / 100 = 68 982 руб.

Определяем оплату отпусков 10 %:

Зн.отп =Зн.общ * 10 / 100 = 20 695 руб.

Начисления к фонду заработной платы

Социальное страхование - 3,2%

Медицинское страхование - 2,8%

От несчастных случаев - 0,2%

Зн.нач = (Зн.общ + Зн.доп + Зн.отп) * 0,262 = 59 642 руб.

Определяем общую заработную плату ИТР, МОП служащих и вспомогательных рабочих с начислением:

Зн.осн = Зн.нач + Зн.доп + Зн.отп + Знач = 287 283 руб.

Определяем накладные расходы основных производственных фондов.

Все виды накладных расходов для удобства сводим в таблицу.

Таблица 5

Виды затрат

Показатели

Формула

Результаты расчета руб.

1

Амортизация здания

2 % от Сзд

2 * Сзд/100

48000

2

Амортизация оборудования

5 % от Соб

5 * Соб/100

30000

3

Амортизация приборов и инструмента

12 % от Спи

12*Спи/100

24 000

4

Текущий ремонт здания

5 % от Сзд

5 * Сзд/100

120000

5

Текущий ремонт оборудования

5 % от Соб

5 * Соб/100

30000

6

Текущий ремонт инструмента

1,5 % от Спч

1,5*Спч/100

3000

7

Содержания здания и оборудования

0,5 % от (Сзд + Соб)

0,5 *(Сзд+ Соб)/100

15000

8

Затраты на электроэнергию

Руст * Фоб * С

75*1852*3,7

831168

9

Прочие расходы

5 % от Соб

5 *Соб/100

30000

10

Сопф (всего)



1131168


Зн = Сопф + Зн.осн = 1 418 451 руб.

Сопф - итоговые данные накладных расходов основных производственных фондов (см таблицу - всего)

Зн.осн - заработная плата МОП, ИТР, служащих и вспомогательных рабочих с начислениями.

Себестоимость - это затраты на единицу времени ремонтируемой продукции.

Определяем себестоимость ремонта одного двигателя.

С = Зп + Зн / Nр,

где Зп - сумма прямых затрат

Зн - сумма накладных затрат

С = 42 046 руб.

.5 Определяем экономическую эффективность ремонта одного двигателя

Эк.эф = Сотп - Себ.рем,

Где Сотп - отпускная цена двигателя

Себ.рем - себестоимость одного ремонта двигателя

Эк.эф. = 60000 - 42 046 = 17 954 руб.

Экономическая эффективность от всей программы ремонта составляет:

Э к.эф = (Сотп - Себ.рем) * Nр,

где Nр - количество ремонтов

Эк.эф = (60000 - 42 046 ) * 350 = 6 283 900 руб.

Список используемой литературы

1.       Ульман И.Е. «ТО и ремонт машин»

2.       Бобриков Ф.А. «Курсовое и дипломное проектирование по ремонту машин»

.         Смелов А.Т. «Курсовое и дипломное проектирование по ремонту машин»

.         Левитинский Н.Г. «Организация ремонта и проектирование сельскохозяйственных ремонтных предприятий»

.         Познер Я.Д. «Организация ремонта машин в сельском хозяйстве»

.         Афанасьев А.А. «Оборудование и основа для ремонтных мастерских»

.         Матвеев В.А. «Техническое нормирование ремонтных работ».

.         Батурин А.Т. «Детали машин».