Материал: Определение количественных показателей надежности ремонтируемых изделий

Внимание! Если размещение файла нарушает Ваши авторские права, то обязательно сообщите нам

описание всех систем, входящих в состав изделия;

окончательные технико-экономические расчеты.

Технический проект после его согласования и утверждения служит основанием для разработки рабочей конструкторской документации.

Пятая стадия. Разработка рабочей конструкторской документации выполняется с целью формирования комплекта конструкторских документов, необходимых для технологической подготовки производства и организации процессов изготовления изделия в заданных объемах.

Основной целью ОКР на стадии разработки конструкторской документации для установившегося серийного или массового производства является поэтапное доведение конструкции изделия по результатам его изготовления, опытной проверки и технологической подготовки производства до соответствия требованиям технического задания и условиям установившегося выпуска изделий со стабильными показателями качества.

Комплект рабочих конструкторских документов, выполняемых на изделие, формируется по ГОСТ 2.102 в зависимости от его вида и стадии разработки. В него в общем случае входят следующие документы:

основные конструкторские документы (чертеж детали - для деталей; спецификация - для сборочных единиц, комплектов и комплексов), являющиеся для указанных видов изделий обязательными;

другие конструкторские документы, в том числе сборочный чертеж (для сборочных единиц обязателен), теоретический, габаритный и монтажный чертежи, схемы, таблицы, расчеты, ведомости (спецификаций, ссылочных документов, покупных изделий и согласования их применения, держателей подлинников), программа и методика испытаний, технические условия, патентный формуляр.

Широкое использование ЭВМ на всех стадиях проектирования необходимо, чтобы избавить конструктора от выполнения трудоемких расчетов, многофакторного анализа и большого объема графических работ.

1.6 Типы, виды и комплектность конструкторских документов на проектируемое оборудование


Описание конструкции проектируемого оборудования содержится в конструкторских документах.

Конструкторский документ (КД) в зависимости от его назначения отдельно или в совокупности с другими документами определяет состав и устройство изделия и содержит необходимые данные для разработки, изготовления, контроля, приемки, поставки, эксплуатации и ремонта изделия.

Виды конструкторских документов и характер содержащейся в них информации определяются видом изделия и стадиями разработки конструкторской документации.

В зависимости от содержания конструкторские документы подразделяются на два типа:

графические КД - документы, содержащие графическое изображение изделия и (или) его составных частей, устройства и принципа работы, внутренних и внешних связей его функциональных частей;

текстовые КД - документы, содержащие в основном текст - сплошной или разбитый на графы. Текстовые КД могут в виде иллюстраций содержать графический материал.

В зависимости от того, о скольких изделиях приведены сведения в конструкторском документе, они делятся на следующие:

единичный КД - документ, содержащий сведения об одном изделии;

групповой КД - документ, содержащий сведения об исполнениях нескольких изделий.

В зависимости от стадий разработки конструкторские документы подразделяются на проектные и рабочие.

Проектные документы разрабатываются при конструкторской проработке вариантов изделия с целью определения оптимального варианта технического решения и не предназначены для производства продукции.

Рабочие конструкторские документы предназначены для изготовления контроля, приемки, поставки изделия и использования его по прямому назначению в условиях эксплуатации и восстановления свойств при ремонте. В связи с этим рабочие конструкторские документы делятся на производственные, эксплуатационные и ремонтные.

В зависимости от способа выполнения и характера использования КД бывают следующие:

оригиналы - документы, выполненные на любом материале, предназначенные для изготовления по ним подлинников КД;

подлинники - документы, выполненные на любом материале, пригодном для многократного снятия с них копий, и оформленные подлинными установленными подписями. Если в качестве подлинника используется репрографическая копия, то подлинные подписи должны быть помещены на ней;

дубликаты - документы идентичные с подлинником, выполненные на любом материале, пригодном для многократного снятия с них копий, и заверенные подписью лица, ответственного за выпуск документов;

копии - документы идентичные с подлинником или дубликатом, предназначенные для использования при разработке, изготовлении, эксплуатации и ремонте изделия.

Номенклатура видов конструкторских документов, разрабатываемых на изделие в зависимости от стадии разработки и видов изделий, и их коды приведены в ГОСТ 2.102-68, ГОСТ 2.601-68, ГОСТ 2.602-68 и ГОСТ 2.701-84.

При определении комплектности конструкторских документов на изделие следует различать:

основной конструкторский документ;

основной комплект конструкторских документов;

полный комплект конструкторских документов.

Основной конструкторский документ в отдельности или в совокупности с другими записанными в нем конструкторскими документами полностью и однозначно определяет данное изделие и его состав. Основными конструкторскими документами являются:

чертеж детали - для деталей,

спецификация - для специфицированных изделий (комплексов, сборочных единиц, комплектов).

Изделие, примененное по конструкторским документам, записывается в документы других изделий, составной частью которых оно является, за обозначением своего основного конструкторского документа. Считается, что такое изделие применено по своему основному конструкторскому документу.

Обязательными для организации производства рабочими конструкторскими документами являются:

чертеж детали - для деталей;

спецификация - для комплексов и комплектов;

спецификация и сборочный чертеж - для сборочных единиц.

Основной комплект конструкторских документов изделия объединяет конструкторские документы, относящиеся ко всему изделию в целом. Таким образом, в основной комплект конструкторских документов могут входить не только оригинальные документы, т.е. впервые разработанные на данное изделие, но также заимствованные и групповые документы, распространяющиеся на данное изделие. Конструкторские документы составных частей в основной комплект конструкторских документов изделия не входят.

Сведения о документах основного комплекта приводятся:

для специфицированных изделий - в спецификации изделия в разделе "Документация",

для деталей - в технических требованиях чертежа детали и в разделе "Документация" спецификации изделия, составными частями которого они являются.

Полный комплект конструкторских документов изделия в общем случае составляется из документов основного комплекта КД на данное изделие и основных комплектов КД на все составные части данного изделия, примененные по своим основным КД, сведения о которых приведены в разделах "Сборочные единицы" и "Детали" спецификации данного изделия.

Обозначение изделий и конструкторских документов. Классификатор ЕСКД

Особенно актуальна задача корректного обозначения конструкторских документов в условиях широкого использования электронно-вычислительной техники. Для эффективного использования электронно-вычислительной техники необходим единый формализованный информационно-поисковый язык, создаваемый на основе использования Единой системы классификации и кодирования технико-экономической информации (ЕСКК).

Одним из элементов ЕСКК является система обозначения изделий и конструкторских документов машино - и приборостроения. Однако в действовавшем до последнего времени в промышленности стандарте (ГОСТ 5294-60 "Система чертежного хозяйства. Обозначение чертежей и других технических документов изделий основного производства") отсутствовало единство в обозначении изделий. Он допускал использование двух систем обозначения: предметной и обезличенной.

В предметной системе в обозначении содержится только информация о входимости составных частей изделия, к которой затем привязывается простая порядковая нумерация составных частей (сборочных единиц и деталей).

В обезличенной системе в обозначении отсутствует информация о входимости одной составной части изделия в другое и, в итоге, в законченное изделие. Здесь основным компонентом является классификационная характеристика, содержащая информацию о наиболее существенных характеристиках изделия (признаки классификации).

Отсутствие единства, а также распространение ГОСТ 5294-60 только на изделия основного производства привело к разработке множества локальных отраслевых, заводских и других классификаторов изделий, используемых в системах обозначений.

В таких условиях предприятия даже одной отрасли промышленности не могли эффективно пользоваться конструкторской документацией других предприятий без изменения ее обозначений, что вызывало дополнительные затраты.

При решении основных конструкторских задач приходится иметь дело с поиском и заимствованием конструкторских документов по. их обозначениям, что может быть успешно достигнуто при наличии, лишь единой системы обозначения изделий и документов и единого классификатора изделий.

Для исправления сложившегося положения Госстандарт совместно с промышленными министерствами и ведомствами разработал государственный стандарт на обезличенную классификационную систему обозначения изделий и конструкторских документов и Классификатор ЕСКД.

За основу разработки этих документов были приняты следующие принципиальные положения:

полный отказ от предметной системы, не обеспечивающей единства обозначения, ограничивающей возможности тематического поиска документов и изделий и препятствующей унификации, стандартизации и заимствованию изделий;

распространение единой системы обозначения на изделия основного и вспомогательного производства всех отраслей промышленности.

Разработанные ГОСТ 2.201-80 "ЕСКД. Обозначение изделий и конструкторских документов" и Классификатор ЕСКД обеспечивают:

и установление единой обезличенной классификационной системы обозначения изделий и конструкторских документов, позволяющей введение во всех отраслях промышленности единого порядка построения, оформления, учета, хранения и обращения этих документов;

возможность использования организациями и предприятиями при разработке, производстве, эксплуатации и ремонте изделий конструкторской документации, разработанной другими организациями и предприятиями, без ее переоформления;

внедрение в производство автоматизированного и облегчение ручного поиска изделий и конструкторских документов, разработку вторичных конструкторских и технологических документов с применением ЭВМ, внедрение систем автоматизированного проектирования (САПР) и подготовки производства;

использование классификационных группировок для выявления объектов и определения направлений стандартизации унификации изделий.

Решение этих задач даст возможность сократить сроки и трудоемкость разработки, освоения в производстве и изготовления изделий, сократить сроки и трудоемкость технологической подготовки производства, сократить номенклатуру изделий и запасных частей к ним, увеличить серийность их производства, внедрить вычислительную технику в сферу проектирования и управления производством, повысить мобилизационную готовность промышленности.

Система обозначения конструкторских документов

Каждому изделию в соответствии с ГОСТ 2.101-68 должно быть присвоено обозначение. Обозначение изделия является одновременно обозначением его основного конструкторского документа (чертежа детали или спецификации).

Обозначения изделиям присваиваются централизованно или децентрализованно.

Централизованное присвоение обозначений осуществляется организациями, которым это поручено министерством, ведомством, в пределах объединения, отрасли.

Децентрализованное присвоение обозначений осуществляют организации-разработчики.

Обозначения изделий и конструкторских документов записываются в другие документы без сокращений, за исключением, случаев, предусмотренных ГОСТ 2.113-75. Деталям, на которые не выпущены чертежи в соответствии с ГОСТ 2.109-73, присваиваются самостоятельные обозначения по общим правилам.

ГОСТ 2.201-80 устанавливает следующую структуру обозначения изделия и его основного конструкторского документа:


ХХХХ.


ХХХХХХ.


XXX

Код организации-разработчика



Код классификационной характеристики



Порядковый регистрационный номер




Четырехзначный символьный код организации-разработчика назначается по кодификатору организаций-разработчиков. При централизованном присвоении обозначения вместо кода организации-разработчика указывается код, выделенный для централизованного присвоения обозначения.

Код классификационной характеристики присваивается изделию и конструкторскому документу по Классификатору ЕСКД.

Порядковый регистрационный номер присваивается по классификационной характеристике от 001 до 999 в пределах кода организации-разработчика при децентрализованном присвоении обозначений, при централизованном - в пределах кода организации, выделенного для централизованного присвоения.

Обозначение неосновного конструкторского документа состоит из обозначения изделия и кода документа:

                                               ХХХХ. ХХХХХХ. XXXXXX

Обозначение изделия


Код классификационной характеристики



Код документа от обозначения изделия точкой не отделяется и должен содержать не более четырех знаков, включая номер части документа (при ее наличии). Структура кода документов установлена ГОСТ 2.102-68, ГОСТ 2.105-70, ГОСТ 2.601-68, ГОСТ 2.602-68 и ГОСТ 2.701-84. Например:

АБВГ. ХХХХХХ.002СБ - сборочный чертеж;

АБВГ. ХХХХХХ.002ТО10-техническое описание, 11-я часть;

АБВГ. ХХХХХХ.002ЭЗ - схема электрическая принципиальная;

АБВГ. ХХХХХХ.002ПЭЗ - перечень элементов к схеме электрической принципиальной;

АБВГ. ХХХХХХ.002Э4.2 - схема электрическая соединений блока питания, 3-я схема, выпущенная в виде самостоятельного документа схемы соединений.

2. Расчет параметров привода конвейера


2.1 Анализ кинематической схемы машинного агрегата


Задание к проекту (ТЗ1) представлено в Приложении 1

Движение от двигателя 1 через вал двигателя I передается на клиноременную передачу 2, ведомый шкив которой является входным валом II цилиндрического редуктора 3. Редуктор представляет собой цилиндрическую косозубую передачу. Ведомый тихоходный вал редукгора через цепную муфту 4 соединен с валом рабочей машины IV, на котором расположен барабан 5 ленточного конвейера.

2.2 Определение условий эксплуатации


Ленточный конвейер используется на складе для транспортировки готовой продукции к месту ручной погрузки.

Работа в 1 смену, продолжительность одной смены 12 часов, нагрузка равномерная, режим работы - нереверсированный.

2.3 Срок службы привода


Срок службы (ресурс) Lh, ч, определить по формуле

= 365*7*0,72*12*1*0,833 =18396 часов

где = 7 лет - срок службы привода, лет

 - коэффициент годового использования,

=  = 0,72

= 12 - продолжительность смены,

= 1 - число смен,

 - коэффициент сменного использования

= = 0,833

где  = 10 час - число часов работы в смену.

Таблица № 1

Эксплуатационные характеристики машинного агрегата

Место установки

  , чХарактер нагрузкиРежим работы






Склад

4380

1

12

18396

Спокойный

Нереверсир.

2.3 Выбор двигателя, кинематический расчет привода

Определение мощности и частоты вращения двигателя

требуемую мощность рабочей машины , кВт

= 1.1*0,6 = 0,66 кВт

коэффициент полезного действия (КПД) (см Приложение 2) привода:


где = 0,96 - коэффициент полезного действия ременной передачи

 = 0,97 - коэффициент полезного действия закрытой передачи

 =0,98 - коэффициент полезного действия подшипников качения (по кинематической схеме в редукторе две пары подшипников m = 1)

 =0,98 - коэффициент полезного действия подшипников муфты

Тогда = 0,96*0,97*0,995*0,98*0,98 = 0,8854

Тре буемая мощность  = = 0, 745 кВт

При условии  выбираем значение оптимальной номинальной мощности (см. Приложение 3)

Значению номинальной мощности  = 0,75 кВт соответствуют два двигателя с разными частотами вращения (см. таблицу № 2)

Двигатели серии 4А номинальной мощностью 0,75, кВт (Приложение 4)

Таблица № 2

Обозначение двигателя

Частота вращения n, об/мин



синхронная

номинальная

1

71А

3000

2955

2

71А

1000

840


Определение частоты вращения двигателя

Частота вращения рабочего вала:

=

Передаточное число привода (Приложение 5)

 = = 5,0*3 =15,0

Максимальное допустимое отклонение частоты вращения приводного вала рабочей машины

D=  об/мин,

где = 5 % - допускаемое отклонение скорости приводного вала рабочей машины (см. Приложение 1)

Допускаемая частота вращения приводного вала рабочей машины с учетом отклонения [] = 58,79 ±2,9 об/мин.

Полученная частота вращения рабочего вала составит:  = 56 об/мин

Отклонение составит: |58,79 - 56| = | - 2,7| <D= 2,9 об/мин, что позволяет нам выбрать двигатель 4А71А с номинальной частотой вращения 840 об/мин

Фактическое передаточное число привода = 15

Уточнённые передаточные числа закрытой (предварительно выбранные) и открытой передач в соответствии с выбранным вариантом разбивки передаточного числа привода:

=  = 3; =  = 5

Силовые и кинематические параметры привода.

Силовые (мощность и вращающий момент) и кинематические (частота вращения и угловая скорость) параметры привода рассчитываются по формулам (см. Приложение 1) и представлены в таблице № 3

Таблица 3

Силовые и кинематические параметры привода

Тип двигателя 4А71А

Параметр

Передача

Параметр

Вал


Закрытая

Открытая


Двигателя

редуктора

Приводной рабочей машины






быстроходный

тихоходный


Передат. число, u

 5

 3

Расчетная мощность Р, кВт

=0, 745 =0,722=0,708=0,715







Угл. скорость, =87,92=29,3=17,5==17,5





КПД 0,960,96Частота

вращения=840=280=168==168











Вращающий момент =8,47=24,39=115,9=111,3





2.4 Выбор материалов зубчатых передач и определение допускаемых напряжений

Выбор материала (Приложение 7)

Назначаем сталь 45 (для колеса и шестерни), причём для лучшей приработки зубьев твёрдость шестерни назначают больше твёрдости колеса. Разность средних твердостей рабочих поверхностей зубьев шестерни и колеса в передачах составляет

Для шестерни: твёрдость 220 HB,

предел прочности  = 700

предел выносливости  = 300

Для колеса: твёрдость 200 HB,

предел прочности  = 600

предел выносливости  = 260

Допускаемое контактное напряжение

Определяем допускаемые напряжения материала при расчетах на прочность отдельно для зубьев шестерни  и колеса в следующем в порядке:

для шестерни: =*

для колеса: =*

Определить коэффициент долговечности определяем по формуле:


где  - число циклов перемены напряжений за весь срок службы (наработка)

=18396*840= 15452640=15,4 * циклов

 

Lh = 18396 час - полный ресурс (срок службы привода), ч

= 840об/мин - соответственно частота вращения,

где  - число циклов перемены напряжений, соответствующее пределу выносливости,

для шестерни: =12,6 * циклов (методом линейной экстраполяции)

для колеса: =10,0 * циклов

Коэффициенты долговечности:

= 0,93 для шестерни

=0,96 для колеса

Допускаемое напряжение при базовом числе циклов перемены напряжений

=1,8*220+67 = 463

=1,8*200+67 = 427

Принимаем для шестерни и колеса =1, тогда

== 463

== 427

Принимаем наименьшее значение: = 427

Определение допускаемых напряжений изгиба

Проверочный расчет зубчатых передач на изгиб выполняется отдельно для зубьев шестерни и колеса по допускаемым напряжениям изгиба материала и , определяются в следующем порядке:

коэффициент долговечности

,

где  - число циклов перемены напряжений для всех сталей, соответствующее пределу выносливости,

 - число циклов перемены напряжений за весь срок службы (наработка). При твердости , ;

, . Если , то принимают ;

допускаемое напряжение на изгиб , соответствующее пределу изгибной выносливости при числе циклов перемены напряжений  (по табл.3.1).

допускаемое напряжение на изгиб для зубьев шестерни и колеса

можно определить также по следующей формуле:

.

 = 1,03*220 = 226,6

 = 1,03*200 = 206,0

Таблица № 4

Характеристики материалов зубчатой передачи

Элемент передачи              Марка стали      Термообработка              НВ          


 





Шестерня

Сталь 45

Улучшение

220

463,0

226,6

Колесо

Сталь 45

Нормализация

200

427,0

206,0

 

2.5 Расчет зубчатых передач редуктора


Межосевое расстояние , мм:

,

где  - вспомогательный коэффициент для косозубых передач,

 - коэффициент ширины венца колеса, равный 0,28…0,36 - для шестерни, расположенной симметрично относительно опор в проектируемых нестандартных одноступенчатых цилиндрических редукторах;

 = 15 - передаточное число редуктора (см. табл.2.4);

= 115,9 Нм вращающий момент на тихоходном валу редуктора,

= 427 - допускаемое контактное напряжение колеса

= 1 - коэффициент неравномерности нагрузки по длине зуба

== 113,3 мм

Принимаем = 113 мм

Определяем модуль зацепления , мм:


Где  делительный диаметр колеса, мм

== 188,3мм

 - вспомогательный коэффициент (для косозубых передач

= 0,28*113 = 31,64 мм - ширина венца колеса, мм;

= 206,0 - допускаемое напряжение изгиба материала колеса

==0,75

Принимаем =1,5

Угол наклона зубьев для косозубых передач:

. == 9,55°

Суммарное число зубьев шестерни  и колеса :

= (2* 113/ 1,5) *cos 9,55°= 148,5

Принимаем = 148

Уточнить действительную величину угла наклона зубьев для косозубых передач  = arcos ( (148*1,5) / (2*113)) = 10,795830°

Определить число зубьев шестерни: = 113/ (5+1) = 18,333

Принимаем = 18

Число зубьев колеса:  = 148 - 18 = 130

Фактическое передаточное число  и проверить его отклонение  от заданного :

= 95/18 = 5,2

= 100% = 4%

Фактическое межосевое расстояние и основные геометрические параметры косозубой передачи

== 112,9 мм

диаметр делительный -

шестерни = (1,5*18) /0,9863 = 27,37мм

колеса  = (1,5*130) /0,9863 = 197,70мм

диаметр вершин зубьев -

шестерни  = 27,37+ 2*1,5 = 30,37мм

колеса  =197,70 +2*1,5 = 200,7 мм

диаметр впадин зубьев -

шестерни  =27,37 - 4,8 = 22,57мм

колеса  = 197,7 - 4,8 = 192,9 мм

Таблица № 5. Параметры косозубой цилиндрической передачи, мм

Параметр

Шестерня

Колесо

 диаметр

делительный

27,37

197,7

вершины зубьев

30,37

200,7

впадин зубьев

22,57

192,7

Ширина венца

34,64

31,64


Проверочный расчет.

Межосевое расстояние:  = (27,37 + 197,7) /2 =112,53 мм

Диаметр заготовки шестерни:

= 30,37 +6 =36,37= 60 мм

Пригодность заготовок колес обеспечена наличием любых размеров заготовок

Контактные напряжения , Н/мм²:

= 17,5*197,7/2000 = 3,45 м/с - 9 степень точности

=1,141 коэффициент нагрузки, учитывающий распределение нагрузки между зубьями и зависит от окружной скорости; для косозубых передач определяется по графику в зависимости от окружной скорости колес, м/с, и степени точности передачи. (Приложение 14)

= 1,07 коэффициент распределения нагрузки по ширине венца, для косозубых передач определяется по графику в зависимости от окружной скорости колес, м/с, и степени точности передачи (см. Приложение 14)

= 17,5*197,7/2000 = 3,45 м/с - 9 степень точности

=1,05 - коэффициент динамической нагрузки значения

(см. Приложение 15)

= 461,3

В данном случае - перегрузка на 461,3 - 427,0 = 34,3 , что составляет

,3*100% / 427,0 = 8,0% при = 427,0 (см. таблицу №)

Требование выполнения - перегрузка не превышает 5 % выполним за счет увеличения  на 116 - 112,9 = 3,1 мм

Тогда имеем = 446,5

Требование выполнено - перегрузка на 446,5 - 427,0 = 19,5, что составляет

,5*100% / 427,0 = 4,5 % < 5% (норма) при = 427,0

Делаем пересчет:

Определяем модуль зацепления , мм:


Где  делительный диаметр колеса, мм

== = 193,33 мм

 - вспомогательный коэффициент (для косозубых передач

= 0,3*116 = 34,8 мм - ширина венца колеса, мм;

= 206,0 - допускаемое напряжение изгиба материала колеса

== 0,68

Принимаем = 1

Угол наклона зубьев для косозубых передач:

. == 5,77°

Суммарное число зубьев шестерни  и колеса :

= (2* 116/ 1) *cos 5,77°= 230,8 Принимаем = 230

Уточнить действительную величину угла наклона зубьев для косозубых передач

 = arcсos ( (230*1) / (2*116)) = arсcos 0,991379 =7,52°

Определяем число зубьев шестерни: = 230/ (5+1) = 38,3

Принимаем = 38

Число зубьев колеса:  = 230 - 38 = 192

Фактическое передаточное число  и проверить его отклонение  от заданного :

= 192/38 = 5,05

= 100% = 1,4 % < 4% (норма), следовательно

условие выполнено.

Фактическое межосевое расстояние и основные геометрические

параметры косозубой передачи

== 115,5 мм

диаметр делительный -

шестерни = (1*38) / 0,994933 = 38,19 мм

колеса  = (1*192) / 0,994933 = 192,9 мм

диаметр вершин зубьев -

шестерни  = 38,19 + 2*1,5 = 41,19 мм

колеса  =192,9+2*1,5 = 195,9 мм

диаметр впадин зубьев -

шестерни  =38,19 - 4,8 = 33,39 мм

колеса  = 192,9 - 4,8 = 188,10 мм

Проверка на изгиб косозубых колес выполняют по формуле


где

 = 1,0 - модуль зацепления, мм;

 = 31,64 мм - ширина зубчатого венца колеса,

 = 2* 115,9*1000/197,7 = 1172,4

Н - окружная сила в зацеплении

= 1 - коэффициент, учитывающий распределение нагрузки между зубьями,

зависит от степени точности косозубой передачи

=1 - коэффициент неравномерности нагрузки по длине зуба

 = 1,105 - коэффициент динамической нагрузки, зависящий от окружной скорости колес и степени точности передачи

= 4,422 и = 3,608 - коэффициенты формы зуба шестерни и колеса.

Определяются в зависимости от эквивалентного числа зубьев

шестерни =  = 18,76

колеса = = 135,49

 = 9,55° - угол наклона зубьев (см.4.1);

= 1 - (9,55°/140°) = 0,93 - коэффициент, учитывающий наклон зуба.

Определим

=137,38<=206,0

= 179,65 <=226,6

Условие прочности на изгиб косозубых колес выполняется.

2.6 Проектировочный расчет валов


Определение размеров одноступенчатых редукторов представлено в таблице № 6

Таблица № 6

Определение размеров одноступенчатых редукторов, мм

Ступень вала и ее параметры

Вал-шестерня цилиндрическая

Вал колеса

1-я - под элемент открытой передачи или полумуфту           = = 23,01 мм,

где  = 24,39 ,

= 30 мм - под шкив,

= 30 мм - под шестерню и полумуфту

2-я под уплотнение крышки с отверстием и подшипник       =23+2*2,2= 27,41мм

t=2,2мм бортик

= 90,45мм=27,41мм

= 34,26 мм


3 - я под шестерню, колесо              r =2мм - фаска подшипника f=1 - фаска ступицы  =27,41+2*3,2= 33,81мм

= 22,55 мм,

При =30,37мм,

=30,37мм=

=27,41+3,2*2=33,81мм


 

4-я под подшипник

 = 27,41мм, -для шариковых подшипников

Размер корпуса редуктора:

Длина а = +2* (D/2+ (8….10) +  *0,5 =115,5 + 2* (25/2 + 10) + 195,9/2 ≈260 мм

Ширина b =  + 2*В+ 4* (8….10) = 34,64+ 2*15+4*10 ≈104 мм

Высота с =2* (8…10) + = 20+ 195,9 ≈ 215 мм

*100*215мм

Таблица № 7 Выбор тип подшипника

Вал

Размеры ступеней, мм

Подшипники


Типо-размермм Грузоподъемность














Динамическая,r, кНСтатическая, Сro, кН










Быстр. ходн. ходный

23,01

30,37

33,81

27,41

205

25*52*15

14000

6950


30,00

90,45

30,00

90,45





Тихо ходн.


25,00


25,00

205

25*52*15

14000

6950



15


 15






2.7 Расчет параметров зубчатого колеса


Таблица № 8

Проектный расчет параметров зубчатой цилиндрической передачи

Межосевое расстояние, , мм115,5


Модуль зацепления, 1,0


 Угол наклона зубьев 7,52°


Вид зубьев

шестерни  4,422


колеса 3,608


Ширина зубчатого венца, мм

шестерни 37,64


колеса 34,8


Число зубьев

шестерни 38


колеса 192


Диаметр делительный окружности, мм

 шестерни 38, 19


 колеса 192,9


Диаметр окружности вершин, мм

 шестерни 41, 19


 колеса

195,9

Диаметр окружности впадин, мм

шестерни 33,39


колеса 188,1



Таблица №9

Проверочного расчета зубчатой цилиндрической передачи, Н/мм²

Параметры проверочного расчета

Допускаемое значение

Расчетное значение

Примечание, отклонение, %

Контакт. напряжение 427,0446,54,5




Напряжение изгиба,  226,6179,6520,7




Напряжение изгиба,  206,0137,3833,3





3. Определение количественных показателей надежности ремонтируемых изделий


Для оценки количественных показателей надежности ремонтируемых изделий используются следующие показатели:

. Параметры тока отказов


 - среднее количество отказов за период эксплуатации (в интервале)

 - количество изделий за испытание в этом интервале

 - среднее время эксплуатации в интервале

. Наработка на отказ

=

. Среднее время восстановления

. Коэффициент готовности

. Коэффициент технического использования

привод редуктор ремонт проектирование

Заключение


1. Согласно заданию был разработан привод - редуктор цилиндрический.

Масса редуктора

= 54,3 кг (см. Приложение 12)

2. Был выбран электродвигатель, рассчитаны зубчатые передачи, спроектированы и проверены на пригодность подшипники, разработан общий вид редуктора (Приложение 18), разработаны рабочий чертеж зубчатого колеса (Приложение 19).

. Электродвигатель был выбран исходя из потребной мощности и условий работы привода - 0,75 кВт.

. Форма и размеры деталей редуктора привода были определены конструктивными и технологическими соображениями, а также выбором материалов и заготовок.

Размеры редуктора: 260*100*215мм

Список использованной литературы


1. Дунаев П.Ф., Леликов О.П. Конструирование узлов и деталей машин: Учебное пособие - 4-е изд., исп. - М.: Высш. щк., 1985-415 с., ил.

. Левитский И.Г. Расчет клиноременной передачи: Методические указания по курсовому проектированию. Хабаровск, издательство ХГТУ, 1991.

. Чернавский С.А. и др. Курсовое проектирование деталей машин: Учебное пособие. М.: Машиностроение, 1979.

Приложения


Приложение 1

Задание к проекту (ТЗ1)

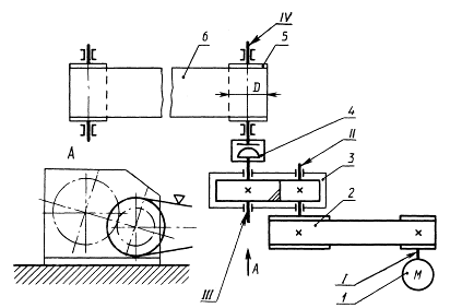
Рис. 1. Привод к ленточному конвейеру: 1 - двигатель, 2 - клиноременная передача, 3 - цилиндрический редуктор, 4 - упругая муфта с торообразной оболочкой, 5 - барабан, 6 - ленты конвейера. I, II, III, IV-валы, соответственно - двигателя, быстроходный и тихоходный редуктора, рабочей машины.

Наименование параметра

Исходные данные

Тяговая сила F, кН

1,1

Скорость ленты v, м/с

0,6

Диаметр барабана D, мм

195

Допускаемое откл. скорости, δ, %

5

Срок службы привода L, лет

7

Количество рабочих смен

1

Характер рабочей нагрузки

Спокойный

Режим работы

Нереверсированный



Приложение 2

Значения КПД механических передач (без учета потерь в подшипниках)

Тип передачи

закрытая

открытая

Зубчатая: цилиндрическая коническая Ременная: плоским ремнем клиновыми (поликлиновыми) ремнями

 0,96…0,97 0,95…0,97

 0,93…0,95 0,92…0,94 0,96…0,98 0,95…0,97

Примечания: 1. Ориентировочные значения КПД закрытых передач в масляной ванне приведены для колес, выполненных по 8-й степени точности, при более точном выполнении колес КПД может быть повышен на 1.1,5%; при меньшей точности - соответственно понижен.2. Потери в подшипниках на трение оцениваются следующими коэффициентами: для одной пары подшипников качения =0,99.0,995; для одной пары подшипников скольжения =0,98.0,99.

3. Потери в муфте принимаются ≈0,98.



Приложение 3

Рекомендуемые значения передаточных чисел

Закрытые зубчатые передачи (редукторы) одноступенчатые цилиндрические (ГОСТ 2185-66): 1-й ряд - 2,0; 2,5; 3,15; 4,0; 5,0; 6,3; 2-й ряд - 2,24; 2,8; 3,55; 4,5; 5,6; 7,1. Значение 1-го ряда следует предпочитать значениям 2-го ряда.

Цепные передачи: 2…4

Ременные передачи (все типы): 2…3



Приложение 4

Диапазон мощностей трехфазных асинхронных двигателей серии 4А, кВт

Синхронная частота вращения, об/мин

Тип двигателя


56B

63A, В

71А, В

80А, В

90L

3000 1500 1000 750

0,25

0,37; 0,55 0,25; 0,37 0,25

0,75; 1,1 0,55; 0,75 0,37; 0,55 0,25

1,5; 2,2 1,1; 1,5 0,75; 1,1 0,37;,55

3,0 2,2 1,5 0,75; 1,1


Синхронная частота вращения, об/мин

Тип двигателя


100S, L

112M, МА, МВ

132S

132M

160S

3000 1500 1000 750

4,0; 5,5 3,0; 4,0 2,2 1,5

7,5 5,5 3,0; 4,0 2,2; 3,0

- 7,5 5,5 4,0

- 7,5 5,5

- 7,5



Приложение 5

Рекомендуемые значения передаточных чисел

Закрытые зубчатые передачи (редукторы) одноступенчатые цилиндрические (ГОСТ 2185-66): 1-й ряд - 2,0; 2,5; 3,15; 4,0; 5,0; 6,3; 2-й ряд - 2,24; 2,8; 3,55; 4,5; 5,6; 7,1. Значение 1-го ряда следует предпочитать значениям 2-го ряда.

Цепные передачи: 2…4

Ременные передачи (все типы): 2…3



Приложение 6

Силовые и кинематические параметры привода

Тип двигателя…….

Параметр

Передача

Параметр

Вал


Закрытая

Открытая


 Двигателя

редуктора

Приводной рабочей машины






быстроходный

тихоходный


Передаточное число, u                                    Расчетная мощность Р, кВт           =




                                 Угл. скорость,





КПД Частота

вращения,=











Вращающий момент







Приложение 7

График соотношения твердостей, выраженных в единицах НВ и HRC


Выбор материала, термообработки и твердости

Параметр               Для передач с прямыми и непрямыми зубьями при малой мощности () и средней () Для передач с непрямыми зубьями при средней мощности

()


 


Шестерня

колесо

Шестерня

колесо

материал

Стали 35, 45, 35Л, 40Л, 40, 40Х, 40ХН, 35ХМ, 45Л

Стали 40Х, 40ХН, 35ХМ

термообработка

Нормализация/улучшение

Улучшение + закалка ТВЧ

Улучшение

твердость              

НВ1ср - НВ 2ср ~20…50

НВ1ср - НВ2ср≥70


 

Допускаемое напряжение при цикле перемены

1, 8НВср+6714HRCср+1701,8НВср+67




 

,03НВср370

При мм

1,03НВср




 




310 При мм



Приложение 8

Механические характеристики


Приложение 9

Значения числа циклов

Средняя твердость поверхностей зубьев

200250300350400450500550600











-2532384347525660










, млн. циклов1016,52536,4506887114143












Приложение 10

, мм1 - й ряд - 1,0; 1,5; 2; 2,5; 3; 4; 5; 6; 8; 10



2 - й ряд - 1,25; 1,75; 2,25; 2,75; 3,5; 4,5; 5,5; 7; 9



Приложение 12

Главный параметр одноступенчатых редукторов

Цилиндрические редукторы

Масса редуктора , кг45607085110140







Межосевое расстояние , мм100125140160180200









Приложение 13

Подшипники радиально-упорные однорядные


Приложение 14

Степени точности зубчатых передач

Степень точности

Окружные скорости, , м/с, вращения колес


Непрямозубых цилиндрических

6

До 30

7

До 15

8

До 10

9

До 4



Приложение 15

Значения коэффициентов и при

Степень точности

Коэффициент

Окружная скорость , м/с



1

2

4

6

8

10

7

1,021,031,051,061,071,08








1,031,061,111,161,221,27







8

1,011,021,041,061,071,08








1,031,061,111,171,231,29







9

1,011,031,051,071,091,12








1,041,071,141,211,281,35









Приложение 16

Графики определения


Приложение 17

Коэффициенты формы зубаи  












16

4,28

24

3,92

30

3,8

45

3,66

71

3,61

180

3,62

17

4,27

25

3,90

32

3,78

50

3,65

80

3,61

3,63


20

4,07

26

3,88

35

3,75

60

3,62

90

3,60



22

3,98

28

3,81

40

3,7

65

3,62

100

3,6





Приложение 18

Значение буртика t, величину фаски ступицы f и подшипника r

d

17…24

25…30

32…40

42…50

52…60

62…70

71…85

t

2

2,2

2,5

2,8

3

3,3

3,5

r

1,6

2

2,5

3

3

3,5

3,5

f

1

1

1,2

1,6

2

2

2,5


Приложение 19


Приложение 20