Материал: Оборудование, которое используется в литейных цехах для получения отливок

Внимание! Если размещение файла нарушает Ваши авторские права, то обязательно сообщите нам

Оборудование, которое используется в литейных цехах для получения отливок

Введение

В данном отчете будет рассмотрено оборудование, которое используется в литейных цехах для получения отливок.

Важнейшей задачей на производстве является обеспечение систематического роста производительности труда.

В литейных цехах эта задача решается двумя путями :

·        Применением новых технологических процессов

·        Механизацией литейного производства, являющейся основным средством уменьшения трудоемкости получения отливок, применяемым для наиболее широкой номенклатуры отливок. Кроме повышения производительности труда, механизация дает повышение точности и качества отливок и коренное улучшение условий труда.

.       
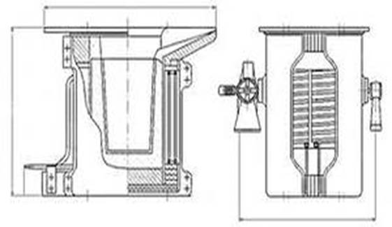
Лабораторный смеситель LWR-2

Предназначен для приготовления самотвердеющих и стержневых смесей.

Техническая характеристика

Габаритные размеры, мм

·        длина                                                        870

·        ширина                                                     680

·        высота                                                      1360

Масса ,кг                                                  210

Размер желоба ,мм

·        длина                                                       370

·        ширина                                                     220

·        высота                                                      300

Характеристика смесителя

Угол подъема                                                    450°

Ширина лопасти         ,мм                                         25

Угол лопасти                                                     120°

Оптимальное время смешивания зависит от типа изготовляемой смеси

Управление смесителя:

управление вручную - любое время смешивания;

автоматическое управление (до 5 минут).

Характеристика привода

·        тип электродвигателя                                                 380 В, 50 Гц

·        число оборотов э/д                                                     360 об/мин

·        мощность                                                                    1,5 кВт

Принцип работы

Смешивающее действие бегунов сводится к давлению катков на смесь, скольжению катков относительно днища чаши и к дополнительному перемешиванию смеси плужками.

Наезжая на смесь, находящуюся на дне чаши бегунов, катки своим весом давят на нее, смесь деформируется и частично выжимается из-под катков вперед и в стороны. При этом происходит взаимное перемещение зерен, и распределение составных частей в смеси становится более равномерным.

Рисунок 1.1 - Смешивающие бегуны:

,4-катки; 2,7- плужки; 3- окно в дне чаши; 5- кожух; 6- тяга; 8- вертикальный вал ; 9- рычаг; 10 -кривошип; 11-чаша.

.        Формовочная машина модели 271

Формовочная машина модели 271 предназначается для изготовления как нижних, так и верхних полуформ в опоках размером до 500×400×200 мм по односторонним модельным плитам. Чтобы получать формы целиком, работу ведут на двух рядом стоящих машинах.

Основной деталью машины является станина, в которой располагаются встряхивающий и прессовый механизмы. Последний дополняется откидывающейся в сторону траверсой 5 (рис.2.1).

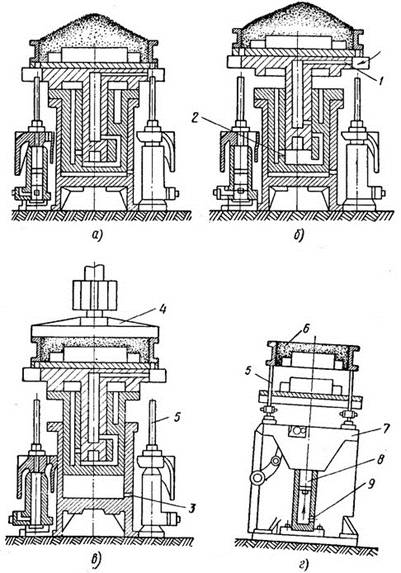
Работа механизмов машины видна на рис. 2.2. При включении встряхивания сжатый воздух вводят в канал 1, предусмотренный в столе машины. Поступая под встряхивающий поршень, сжатый воздух поднимает стол с модельной плитой и опокой (рис. 2.2, б). На заданной высоте подъема встряхивающий поршень открывает выхлопное отверстие 2, что приводит к резкому снижению давления под поршнем и падению стола с его ударом о торец цилиндра.

Допрессовка производится при впуске сжатого воздуха в отверстие 3 (рис. 2.2, в), благодаря чему осуществляется подъем стола. При этом верхние слои смеси в опоке дополнительно уплотняются при соприкосновении с прессовой колодкой, закрепленной на траверсе. Подъем штифтов 5 (рис. 2.2, г) происходит при подаче масла или сжатого воздуха в канал 9. Оказывая давление на поршень 8, связанный с траверсой 7, несущей штифты, масло или сжатый воздух обеспечивают извлечение модели из поднимаемой при этом готовой полуформы 6.

Рисунок 2.1 - Формовочная машина модели 271:

-станина; 2-резервуар для масла; 3-колонна; 4-упор; 5- траверса; 6-прессовая колодка; 7-стол;8 -воздухораспределитель; 9-коленный клапан; 10-штифты; 11- штифтоподъемный механизм.

Рис. 2.2. Кинематическая схема машины 271:

а - насыпка смеси в опоку, б - встряхивание, в - допрессовка, г - съем полуформы с модельной плиты штифтами;

- канал впуска воздуха во встряхивающий механизм, 2 - выхлопное отверстие, 3 - отверстие для впуска воздуха в прессовый механизм, 4 - траверса с прессовой колодкой, 5 - штифты, 6 - готовая полуформа, 7 - траверса штифтов, 8 - поршень механизма вытяжки штифтов, 9 - канал для впуска масла в цилиндр вытяжки.

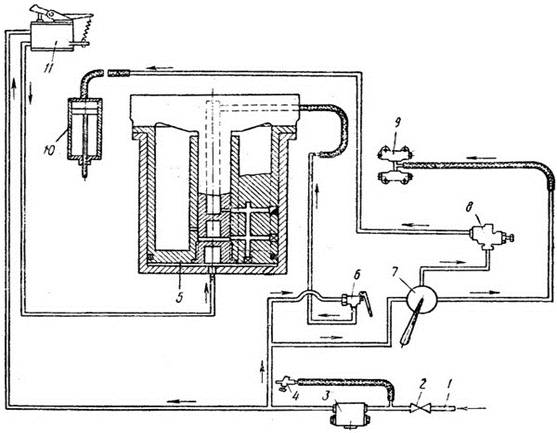
Из схемы управления (рис. 2.3) видно, что включение встряхивания производится коленным клапаном 6, допрессовка - автоматическим клапаном давления 11, штифтоподъемного механизма - цилиндром 10 (с использованием перепускного клапана 8), а вибраторов 9 - воздухораспределителем (воздухораспределительным клапаном) 7. Чередование подъема и падения стола осуществляется поршнем встряхивающего механизма, который открывает и закрывает отверстия впуска сжатого воздуха и выхлопа. Число ударов встряхивающего стола задается формовщиком - путем длительности нажатия им педали коленного клапана 6.

Производительность машины 271 при полной механизации формовочного участка около 80 съемов в час.

Рис. 2.3. Схема управления машины 271:

- подвод сжатого воздуха к машине, 2 - запорный вентиль. 3 - горизонтальный лубрикатор. 4 - обдувочное сопло, 5 - прессовый поршень, 6 - коленный клапан встряхивания, 7 - воздухораспределитель, 8 - перепускной клапан, 9 - вибраторы, 10 - цилиндр штифтоподъемного механизма, 11 - автоматический клапан давления.

.        Формовочная машина модели 2М265

Применяют для производства верхних полуформ по односторонним модельным плитам (рис.3.1).

Рисунок 3.1. - Формовочная машина модели 2М265:

- траверса;2-прессовая колодка;3-винтовая стойка;4-наполнителная рамка;5-опока;6-стол;7-механизм извлечения модели;8-встряхивающий поршень;9-прессовый поршень;10-пружины;11-станина;12-пневматический кран управления.

Принцип работы: при включении одновременно встряхивающего и прессового цилиндра прессовый поршень поднимает стол машины и выбирает расстояние между верхней кромкой формы и прессовой колодкой. Поэтому во время подъема стола прессовым поршнем успевает произойти некоторое количество ударов предварительного встряхивания.

.        Вакуумная индукционная печь ОКБ-863

Печь предназначена для плавки 150 кг металла при остаточном давлении 7×10-2 мм рт.ст. Печь состоит из водоохлаждаемого каркаса, снабженного патрубком для присоединения к откачке тигля. Печь закрывается плоской водоохлаждаемой крышкой, на которой смонтированы окна, устройство для замера температуры металла при отборе проб жидкого металла. Внутри камеры находится индуктор. Тигель набивной. Разливка металла производится при неподвижном кожухе путем наклона тигля поворотным механизмом ,находящийся вне печи.

Непосредственный контроль и запись температуры расплавленного металла осуществляется потенциометром ЭПП-0,5 а.

.        Электропечь сопротивления камерная

Предназначена для термической обработки большой номенклатуры изделий при температуре 1000 °С в воздушной атмосфере в условиях мелкосерийного, индивидуального и реального производств. Она позволяет производить нагрев изделий под закалку, отжиг, нормализацию и другие технологические процессы, требующие нагрев до 1000 °С.

Устройство и работа:

.        Установка терморегулятора автоматического потенциометра на необходимую температуру.

.        Включить автоматические выключатели «2ВА», «1ВА».

.        Универсальный переключатель «УП» установить в положение «А». При этом включении нагревателей загорается лампочка «1ЛК»

.        Открывается дверь и срабатывает конечный выключатель, при этом включается нагреватель и лампочка «1ЛК»

.        Загрузка изделия

Технологические характеристики печи СПО-4×8×2,5

Номинальная температура                                        1000 °С

Напряжение сети                                                        380 В

Число фаз                                                                   3

Число тепловых зон                                                   1

Масса садки                                                                220 кг

Мощность холостого хода                                         6,7 кВт

Размеры рабочего пространства                              800×400×250

Масса печи                                                                           2,7 т

Технические характеристики электропечи М-75

Номинальная мощность                                            15 кВт

Напряжение сети                                                                  380 В

Число фаз                                                                    3

Максимальная рабочая температура                       950°С

Время разогрева печи                                                         3 часа

Размеры рабочего пространства                              850×300×250

Атмосфера печи                                                          воздух

Вес печи                                                                      1,2 т

.        Установка высокочастотная плавильная типа ИСТ-0,01

Предназначена для плавки легированных и высокоуглеродистых сталей в цехах. Эксплуатируется в условиях в помещении категории 4 ГОСТ 1550-69.

Технические данные

Полезная емкость                                                       0,01 т

Мощность :по э/д                                                                 100 кВт

потребляемая                                          1,2 кВт

Число фаз: контура цепи                                            1

питающей сети                                         3

Частота тока: питающей сети                                    50 Гц

контура цепи                                            2400 Гц

Номинальные напряжения:

Питающей сети                                                 50 Гц

Контура цепи                                                    2400 Гц

Температура нагрева металла                                            1600 °С

Масса металлоконструкции печи                              0,3 т

Общая масса                                                              0,34 т

Рисунок 6.1- Установка высокочастотная плавильного типа ИСТ-0,01

литейный отливка формовочный печь

7.      Высокочастотная плавильная установка типа ИСТ-0,4

Назначение: предназначена для плавки черных и цветных металлов. Состоит из: шкаф управления-1,выпрямитель-1,автоматический выключатель-1,конденсатор ЭСВ-1000-2 -30.

Работа на установке

·        Осмотреть тигель и убедиться в исправности печи

·        Загрузить шихту

·        Расплавить шихту при котором по приборам величины тока, напряжения и мощности

·        После, печь наклоняют для разлива, струя металла должна быть равномерной

·        Производится очистка печи

Технические характеристики

Мощность                                                                   690 кВт

Напряжение                                                                750 В

Номинальный ток на выходе                                              1300 А

Частота                                                                       50Гц

Емкость тигля                                                    до     400 кг

Расход воды на охлаждение                                      4,7 м3/ч

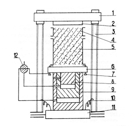
.        Машина разрыва для статических испытаний металлов Р-10

Машина разрывная испытательная с предельной нагрузкой 100 кг по ГОСТ 7855-74, предназначена для статических испытаний на растяжение образцов металлов и сплавов по ГОСТ 1497-73, ГОСТ 12004-81. Можно проводить испытания на сжатие, изгиб по ГОСТ 14013-89.

Технические характеристики

Наибольшая предельная нагрузка                                     100 кг

Допустимая погрешность                                          12%

Высота рабочего пространства                                 1416×940×2486

Габаритные размеры                                                 2,31×13

Масса                                                                          1260 кг

Выводы

Рассмотрели всё представленное оборудование в литейном цеху, их технологические характеристики. Подробно изучили конструкцию, принцип работы. Сделали вывод, что большое значение имеет автоматизация и механизация основных участков литейных цехов - это дает возможность получать более точные отливки.

Список использованной литературы

1. П.Н.Аксенов «Оборудование литейных цехов»/ П.Н.Аксенов/ М:. Машиностроение, 1976 .-509 с.

. Паспортные данные

. И.Б. Зайгеров «Оборудование литейных цехов»/ И.Б. Зайгеров/, Машиностроение, 1980 - 500 с.