Материал: нефтепродукты гост

Внимание! Если размещение файла нарушает Ваши авторские права, то обязательно сообщите нам

СПБГУАП группа 4736 Контакты https://new.guap.ru/i02/contacts

9

 

 

 

R A

 

 

 

 

/ 5

/ 4

6

' (

 

 

 

 

 

 

 

 

 

 

 

 

S =O@M <?

L : EM

M@L

L@M

UL@=OMV

UL : L@EMLV

UL@LMLV

UL@LLMV

#$%

% & '%$(

($

%$(

=L : OM

L : 9LL

9M

L@M

UL@=LL : L@OMLV

UL : 9@LV

UL@9MLV

UL@LLMV

%$) & *+$(

% & ,$#

($'

%$(

OL : 9KL

L : =LL

=M

9@L

UL@OLL : 9@KLLV

UL : =@LLLV

UL@=MLV

UL@L9LV

*$) & #+$'

% & %)$%

($(

$%

OL : =ML

L : ELL

=M

9@L

UL@OLL : =@MLLV

UL : E@LLLV

UL@=MLV

UL@L9LV

*$) & (($%

% & '%+$%

($(

$%

=LL : EOM

L : ILL

ML

9@M

U=@LLL : E@OMLV

UL : I@LLLV

UL@MLLV

UL@L9MV

%)$% & ' $(

% & )%#$%

($%

$(

EML "H

L : OLL

ML

=@M

UE@MLLV

UL : O@LLLV

UL@MLLLV

UL@L=MV

-" '(*$%

L : ONM@L

M9@L

=@M

; ? " "2

G ? U

" "H 9KL > V ? 9 _ H "@ " ? <

? " 2 [ @ "H L@E > L :

EM > L@P > L : 9LL > 2

> ? : " " PL L : EL > 2 . / 0 0 . %$+ 1-2 )%(

/ 3 4 0 / 0 0 " . / 0 0 5 0$ 6 .3 0 .3 7

0 0 7 0 0 8 9 3 8 "

.< / " )!" 40 )6, =! 0 , 3 )+ 48 6),)! ,-

" " A " ?

"A 2 ? L : 9 `a2

> ? : S A A H

"B < 2 S

@ ? < H ? "A ? 2

.> )!" " 1 "

R " A @ ? " " =M "H

A ? H "2 ? < UEO@K ±L@9V `a2 S

" < < EO `a2

.? 30)0 3

2M29 S " H " EO@K `a < W[J9=

Y; ILL " <B A T

 

S @ `a 2 2 2 2 2 2 2 2 2 2 2 2 2 2 2 2 2 2 2 2 2 2 2 2 2 2 2 2 2 2 2 2 2 2 2 2 2 2 2 2

EI:I=

> 2 2 2 2 2 2 2 2 2 2 2 2 2 2 2 2 2 2 2 2 2 2 2 2 2 2 2 2 2 2 2 2 2 2 2 2 2 2 2 2 2 2 2 2 2 2 2 2 2

Y B

b @ `a 2 2 2 2 2 2 2 2 2 2 2 2 2 2 2 2 2 2 2 2 2 2 2 2 2 2 2 2 2 2 2 2 2 2 2 2 2 2 2 2 2 2 2 2 2

L@9

" @ `a2 2 2 2 2 2 2 2 2 2 2 2 2 2 2 2 2 2 2 2 2 2 2 2 2 2 2 2 2 2 2 2

L@M

b F ? ? " 9 `a 2 2 2 2 2 2 2 2 2 2 2 2 2 2 2 2 2 2 2 2 2 2 2 2 2 2

U EK `aV

> H H "@ `a@ 2 2 2 2 2 2 2 2 2 2 2 2 2 2 2 2 2 2 2 2 2 2 2 2 2 2 2 2 2 2 2 2 2

L@9

c H @ <B 2 2 2 2 2 2 2 2 2 2 2 2 2 2 2 2 2 2 2 2 2 2 2 2

9LL `a

Y B @ 2 2 2 2 2 2 2 2 2 2 2 2 2 2 2 2 2 2 2 2 2 2 2 2 2 2 2 2 2 2 2 2 2 2 2 2

=OM±M

S @ 2 2 2 2 2 2 2 2 2 2 2 2 2 2 2 2 2 2 2 2 2 2 2 2 2 2 2 2 2 2 2 2 2 2 2 2 2 2 2 2

N : O

S @ 2 2 2 2 2 2 2 2 2 2 2 2 2 2 2 2 2 2 2 2 2 2 2 2 2 2 2 2 2 2 2 2 2 2 2

=M : EM

S @ 2 2 2 2 2 2 2 2 2 2 2 2 2 2 2 2 2 2 2 2 2 2 2 2 2 2 2 2 2 2 2 2 2

[ M@

 

 

EI@I `a@ 2 2 2 2 2 2

9EM : 9ML

I= `a@ 2 2 2 2 2 2 2

=9M : =EI

" @ @ 2

NL

S H @ 2 2 2 2 2 2 2 2 2 2 2 2 2 2 2 2 2 2 2 2 2 2 2 2

K : 9L

9=

 

СПБГУАП группа 4736 Контакты https://new.guap.ru/i02/contacts

 

 

S H @ 2 2 2 2 2 2 2 2 2 2 2 2 2 2 2 2 2 2 2 2 2 2 2 2 2

I : O

H

 

@ 2 2 2 2 2 2 2 2 2 2 2 2 2 2 2 2 2 2 2 2 2 2 2 2 2 2 2 2 2 2 2 2 2 2 2 2 2 2 2 2

99= : 99N

0 0 / / 2 :) ; '!"

2M2= S < @ " 2M292

.@ 9 48 0 )0 3

> < " @ "

2 d " 9 L@9 > 2

/ / 0 0$3 5< / /e: 5 5

3 0 0 ( & # 00$ 3 / %%% 00$ 5 5 . 5 8 / /

3 0 0 % 3 *%% & #%% 00 / 0 8 7 3 00 / 3 4 0 /

0 0 "

.' 3 1)3 ) )8 A39( )8

R "H 9KL >

2

> WXYZG[WG R

U V

'' ( 18( '( +' ) 9 9 1( + 8+1 )6 3 ' () = 5 ) *

R29 ; ? ?

;A R292 Y " ? " R2= :

R29I2

R2= " ? J

9 @ " J

L@LM > @ <B 2

R2E H A " J

" M

9 : 9@9 2

R2I R H NJ

2

R2M > " " J

"B J

"A 2 Y "

@ ? " D A

? @ 2 2 2

R2N " J

A 2

R2O <B

H J

E @ ONL 2

R2K > ? F A

9LL : 9IL > 2

R2P c

Y B \ H J

@ <? <B J

@ @ @ " J

" " @ " 9= 9N @ ? " B DFF " J

2

R29L YA <B U 2EV2 R299 R U 2IV2

R29= U 2MV2

R29E " U 2NV2

R29I > U 2OV2

7

( ! (

!

(

8

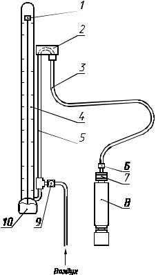
R29 : ;A

9E

СПБГУАП группа 4736 Контакты https://new.guap.ru/i02/contacts

> WXYZG[WG ;

U V

10 ( '( 0

.% 34 73 !) )3)= )

S ? H

"A 2 > ? @ A < A " "

A ? ? "A

2

> " " " " " F " J

" < 2 G

? < "A ;2= : ;2P@ " "

2 [ H " " D 2

R " ? < "

" 2 Y " @ D J

@ " "2

.# 6, =! B5 " 1 "

U ;29V ? A <B @ J

" O@N " P@M H @ @

)

" , +-

5 0.) 9! 8

;2O2 Y "

2 S " " <B A H ? 2 ;\

" P@M ? "@ ? "

@ " " " 2

.< ) 8 34 73)1)8

S < "B "A

< "@ " <B <B @ < 9 @ "A

? " 2

9I

СПБГУАП группа 4736 Контакты https://new.guap.ru/i02/contacts

c " " < @ <B J

2 c " " < : U "A

? AV@ "A @ " B < B " 2

.> ) ! " !," 7 3 ) )13 (+

; " H @

? @ ? 2 R H A 2 Y

? ? " @

@ ? <@ ? " A " " 2

; " @

" 2 @ ? <@

? " A " "2

.? 34 4 3 ( 3 9 34 !," ) 1)3 73)1

> " "A J < ? " " " 2

< " "@ << fMg2 > "

" < @ " 2 ^ < 2 ^ <

OL:KL_? " < 2 < < <2 >

? A " "A F A F 2 [ U <? ? @ "A O29V A " 2

.@ ) 8 34 !," ) 1)3 73)1 ( 34 )A) 7

c " " @ " < ? " " "A

A B A 2 G " @ < A <B

@ ;2O2 > " < "

U;2KV 2 > ? " @ ?

2

.' 3)+ !93 7),-() 0 )6, =! B5 8 1

> " L 9 `a

@ A <B < < U;2=V2

> < " < ? "

? @ ? " ? < ? 2

> < " @ ? " " " J

@ 2 ^ < @ ? " " @ A

" 2 ^ 2 ^ < OL:KL_" " < 2 c

< < <2

.C 3)+ !93 4 " )!)8

> < < " " < "2 R "

" " " 2 > H ?

F @ < A 2 ^ " < " A 2 > " < " " @

? " @ @ " 2 < @ ? " "

? 2 ^ " < "

? "A @ " <

" 2

Y < < @ ? " " " OL:KL _2 G ? " "

@ " < A @ "@ ? " H 2 [

? " < < < <2 "H

"A F "A U;[ V2

.D 3)+ !93 )E

> < " 2

S < " @ ? " " " "

< @ < 2 Y \ @ " \ @

< ? 2 ^ " < "T ? " @

<< ? 2 [ < 2

< ? ? @ ? " " OL:KL_2 G

" @ ? " " @ " < A

" H 2 " ? " < @ < < <2

9M