Материал: Меры и средства защиты при проведении электрогазосварочных работ

Внимание! Если размещение файла нарушает Ваши авторские права, то обязательно сообщите нам

Меры и средства защиты при проведении электрогазосварочных работ

Федеральное агентство по образованию

Государственное образовательное учреждение высшего профессионального образования

Нижегородский государственный технический университет

им. Р.Е. Алексеева







Пояснительная записка

к курсовому проекту по дисциплине

«Производственная безопасность»

на тему

«Меры и средства защиты при проведении электрогазосварочных работ»

Руководитель

Г. В. Пачурин

Студент

Жафяров И. А.



Нижний Новгород 2013 г.

Введение

Актуальность исследования. Как известно, роль металла в жизни человека переоценить трудно. Металл характеризуется высокой твердостью, долговечностью и технологичностью в обработке. Он способен выдерживать такие нагрузки, которые выводят из строя большинство других материалов. Поэтому обработка металлов, их резка и сварка интересуют человечество очень давно. Сварка позволила создать принципиально новые конструкции машин, внести коренные изменения в технологические процессы, связанные с обработкой металлов. Сварка в среде защитных газов позволила выполнять эту операцию с металлами, которые обычным способом сваривать невозможно. Автоматизация процессов сварки резко повысила производительность труда и качество сварных соединений.

Однако ручная сварка не собирается сдавать свои позиции, особенно в строительных и ремонтно-строительных работах, а также в условиях малых мастерских. Возросший интерес к сварке объясняется появлением различных малых и больших фирм, в мастерских которых выполняют достаточно значительный объем сварочных работ.

Цель работы - изучение мер и средств обеспечения безопасности при проведении электрогазосварочных работ.

Основные задачи работы:

·   выявление опасных факторов при проведении электрогазосварочных работ;

·   определение основных мер и средств безопасности при проведении электрогазосварочных работ.

Предметом исследования являются меры безопасности и средства защиты при проведении электрогазосварочных работ.

В качестве объекта исследования приняты процессы, сопровождающиеся опасными факторами, протекающие проведение электрогазосварочных работ.

. Общие сведения о технологическом процессе и производственно оборудовании

Под сваркой понимают образование искусственных условий для получения неразъемных деталей посредством создания межатомных связей между их поверхностями при помощи общего или местного нагрева, пластического деформирования или этих двух действий одновременно. Для этого элементарные частицы свариваемых деталей сближаются между собой настолько, что между ними начинают действовать межатомные связи, сопровождающиеся сложными физическими и химическими процессами и обеспечивающие механическую прочность соединения.

Основные физические процессы, лежащие в основе различных способов сварки, заключаются:

в местном расплавлении материала свариваемых заготовок (деталей) и последующем сплавлении, кристаллизации расплавленного металла с образованием общих для соединяемых заготовок кристаллических решеток;

в создании условий, благоприятных для адгезии (схватывания) поверхностей свариваемых заготовок путем очищения контактируемых поверхностей от оксидов, загрязнений, нагрева и совместного пластического деформирования;

в создании условий, благоприятных для взаимной диффузии атомов в поверхностных слоях контактирующих материалов, находящихся в твердом состоянии;

в объединении частей молекулярных цепей при сварке пластмасс.

Сваркой соединяют однородные и разнородные металлы и их сплавы, металлы с некоторыми неметаллическими материалами (керамикой, графитом, стеклом и др.), а также пластмассы.

Существует свыше 60 различных способов сварки, отличающихся друг от друга способами нагрева заготовок, источниками энергии, наличием или отсутствием расплавления материала свариваемых заготовок, применением присадочных материалов или плавящихся электродов, совместного пластического деформирования, диффузии и т. д.

Классифицируют различные способы сварки по большому числу признаков.

С учетом природы физических процессов, обеспечивающих получение неразъемных соединений, различные способы сварки принято подразделять на 2 основные группы: термические (или способы сварки плавлением) и термомеханические, сочетающие применение нагрева заготовок с механическим воздействием (давлением).

Термомеханическая сварка основана на сближении свариваемых поверхностей до образования межатомных связей путем схватывания (адгезии) или путем диффузии. Для возникновения адгезионных связей необходимы высокие давления, повышенные гомологические температуры, а также отсутствие оксидных пленок, наличие чистых поверхностей контактирующих металлов (материалов). Поскольку для такого сближения контактируемых поверхностей и создания высоких давлений необходимы большие удельные силы, в месте адгезионного соединения поверхностей свариваемых заготовок обычно происходит пластическая деформация.

Для легкоплавких пластичных металлов (алюминия, меди, кадмия, свинца, золота, серебра, цинка) благоприятные для схватывания условия могут достигаться при пластической деформации уже при комнатной температуре окружающей среды. Поэтому сварку деталей из этих материалов зачастую выполняют без предварительного нагрева заготовок. Такой способ получения неразъемных соединений местной пластической деформацией без предварительного нагрева заготовок называют холодной сваркой (рис. 1) или механической сваркой [12].

Высокопрочные и тугоплавкие металлы, в том числе и стали, требуют для создания благоприятных для схватывания условий предварительного подогрева заготовок непосредственно перед их пластическим деформированием (осаживанием). Такие способы получения неразъемных соединений относят к термомеханической сварке.

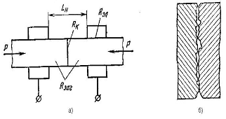
При сварке взрывом благоприятные для схватывания свариваемых поверхностей условия создаются с помощью энергии направленного взрыва.

Одна из соединяемых заготовок (4) кладется на жесткое основание, а другая (3) располагается к ней на минимальном расстоянии  под углом (рис.2) [12].

Рис. 1. Схема холодной сварки: 1 - свариваемые заготовки4 2 - зачищенные поверхности свариваемых заготовок; 3 - поверхности пуансонов; 4 - пуансоны; 5 - выступы пуансонов

Рис. 2. Принципиальная схема сварки взрывом

На заготовку 3 наносится слой взрывчатого вещества 2 толщиной H и с краю заготовки 3, отстоящего от заготовки 4 на наименьшем расстоянии , устанавливают детонатор 1 [12]. При срабатывании детонатора детонация взрывчатого вещества сообщает пластине 3 импульс тепловой и кинетической энергии со скоростью несколько тысяч метров в секунду. Край пластины 3 ударяется о заготовку 4. Соударение пластин вызывает нагрев и пластическое течение металла в поверхностных слоях заготовок, создавая условия, благоприятные для схватывания поверхностей. Вследствие этого часть пластины 3 приваривается к пластине 4, а участок пластины непосредственно перед приваренной частью изгибается под углом . По мере сгорания взрывчатого вещества деформированный участок перемещается ко второму краю заготовки 4 [11].

Продолжительность сварки взрывом не превышает нескольких микросекунд. Под влиянием больших скоростей деформации происходит значительное повышение предела текучести материала заготовок в деформированной области. Поэтому прочность соединений, полученных сваркой взрывом, оказывается выше прочности соединяемых материалов.

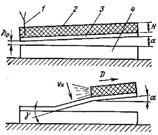
Диффузионная сварка также относится к классу термомеханических способов сварки, но она основана на принципиально другом физическом явлении: диффузии. Диффузия представляет собой взаимное проникновение вещества свариваемых заготовок, обусловленное тепловым движением ионов, атомов, молекул и различной концентрацией химических элементов. Перенос вещества посредством диффузии происходит в направлении убывания концентрации диффундирующих элементов.

Свариваемые заготовки 3 (рис. 3) [12] предварительно нагревают, например индуктором ТВЧ 4, питаемым по проводам 6 от высокочастотного генератора. Создание вакуума осуществляется с помощью отсоса воздуха по трубопроводу 5 вакуумным насосом. Нагрев контактных поверхностей заготовок примерно до температуры рекристаллизации более легкоплавкого металла вызывает испарение адсорбированных и масляных пленок и способствует очищению контактируемых поверхностей и резко повышает скорость диффузионных процессов. Заготовки сжимаются под небольшим давлением (от 1 до 20 МПа) под действием груза 1 и выдерживаются в течение некоторого времени (обычно от 5 до 20 минут), достаточного для протекания диффузии.

Отсутствие припоев, электродов, флюсов позволяет получить качественное и чистое соединение без изменения физико-механических свойств. Диффузионная сварка связана с использованием сложной и дорогой аппаратуры и применяется в космической и авиационной промышленности, для сварки ответственных деталей вакуумных приборов, инструментов и др.

Основные способы термомеханической сварки: электрическая контактная, трением, ультразвуковая.

Электрическая контактная сварка осуществляется с помощью нагрева свариваемых заготовок в месте контакта и пластической деформации контактируемых поверхностей, в ходе которой формируется сварное соединение.

Электрическую контактную сварку классифицируют по типу сварного соединения и по роду тока. По типу сварного соединения электрическая контактная сварка может быть стыковой (рис.4.) [12], точечной или шовной. По роду тока различают электрическую контактную сварку переменным током, импульсами постоянного тока, аккумулированной энергией.

Рис. 3. Схема диффузионной сварки: 1 - груз; 2 - охлаждение вакуумной камеры; 3 - заготовки; 4 - нагревательное устройство; 5 - трубопровод к вакуумному насосу; 6 - провод к высокочастотному генератору

Рис. 4. Схема контактной сварки (а) и физического контакта свариваемых деталей

В зависимости от температуры нагревания стыка различают электрическую контактную стыковую сварку сопротивлением или оплавлением.

К термическому классу относятся способы сварки, осуществляемые плавлением с использованием тепловой энергии (дуговая, плазменная, электрошлаковая, электронно-лучевая, лазерная, газовая и др.).

Различают способы сварки неплавящимся (вольфрамовым или угольным) или плавящимся (металлическим) электродом, расплавлением только основного металла 3 либо с применением присадочного металла 4 или металла плавящегося электрода, дугой, горящей между электродом и заготовкой, между двумя неплавящимися электродами (косвенной дугой), трехфазной дугой, горящей между двумя электродами и заготовкой (рис. 5).

Рис. 5. Схемы дуговой сварки

По степени автоматизации различают ручную сварку, полуавтоматическую и автоматическую. В зависимости от источников получения тепловой энергии термическую сварку подразделяют на дуговую, электрошлаковую, плазменную, газовую. В зависимости от степени защиты различают сварку незащищенной дугой, сварку под флюсом, в атмосфере защитных газов, в вакууме. По материалу и функциональному назначению электродов различают сварку плавящимся и неплавящимся электродом. По роду применяемого электрического тока: на постоянном или переменном токе, при непрерывной подаче тока или импульсами тока, в зависимости от знаков электрического заряда на электродах при постоянном токе: при прямой и обратной полярности. В зависимости от формы сварного соединения: стыковую, точечную, шовную сварку [5].

Сварку плавлением выполняют сварочной проволокой, плавящимися и неплавящимися электродами, электродами со специальным покрытием. При этом для защиты сварочной ванны используют различные флюсы и защитные газы. Правильный выбор сварочных материалов становится залогом качественной сварки.

В качестве электродного материала для сварочных работ используют несколько десятков марок и диаметров стальной проволоки, каждая из которых предназначена для определенного вида работ. Для низкоуглеродистых, легированных и высоколегированных сталей существуют свои виды проволоки, отличающиеся по химическому составу. Чтобы правильно ориентироваться в этом разнообразии, надо научиться различать маркировку проволоки.

Ответственные конструкции, к сварке которых предъявляют повышенные требования, варят порошковыми проволоками со специально подобранным составом, соответствующим свариваемому металлу.

Маркируется порошковая проволока индексом «ПП», после чего проставляют буквенный и цифровой символы, указывающие ее тип. К примеру, для сварки без дополнительной защиты используют порошковые проволоки типа ПП-АН1, ПП-АНЗ, ПП- 2ДСК. Для сварки в среде углекислого газа используют проволоку ПП-АН9 и ПП-АН10.

Использование порошковой проволоки способствует увеличению глубины проплавления металла и снижению выгорания легирующих элементов из сварочной ванны. Для сварки под слоем флюса больших поверхностей иногда применяют порошковую ленту, которая отличается от проволоки своей формой. Электроды для ручной дуговой сварки изготавливают в виде стержней, выполненных из холоднотянутой калиброванной сварочной проволоки, на которую методом опрессовки под давлением наносят слой защитного покрытия. Роль покрытия заключается в металлургической обработке сварочной ванны, защите ее от атмосферного воздействия и обеспечении более устойчивого горения дуги. Для обеспечения устойчивого горения дуги в покрытия вводят вещества, содержащие элементы с низким потенциалом ионизации (соли щелочных металлов). С целью повышения производительности сварки в покрытия добавляют железный порошок, содержание которого может достигать до 60% массы покрытия.

Выпускаемые промышленным способом электроды в зависимости от допустимого пространственного положения сварки могут делиться на четыре группы:

электроды, которыми можно варить во всех положениях шва;

электроды, предназначенные для всех положений, кроме вертикального сверху вниз;

для нижнего, горизонтального на вертикальной плоскости и вертикального снизу вверх;

Неплавящиеся электроды применяют для возбуждения и поддержания сварочной дуги, но сами они сварочную ванну не наполняют.

Графитовые электроды имеют высокую электропроводность, стойкие против окисления при значительных положительных температурах.

Вольфрамовые электроды могут быть изготовлены из чистого вольфрама или с добавлением активизирующих присадок, которые обеспечивают более устойчивое горение дуги, повышают стойкость электрода при увеличенной плотности тока.