Материал: Математический маятник

Внимание! Если размещение файла нарушает Ваши авторские права, то обязательно сообщите нам

Математический маятник














Лабораторная работа

Математический маятник


Цель работы: Определить ускорение свободного падения тела, измеряя период колебания математического маятника. Вычислить погрешность измерений и расчетов.

Приборы и материалы:

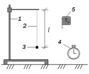
Рис. 1. Экспериментальная установка:

- штатив; 2 - длина маятника l; 3 - шарик; 4 - секундомер;

Теоретическая часть

Математический маятник - это (модель) идеализированная система, состоящая из материальной точки массой m, подвешенной на длинной нерастяжимой нити l, и совершающая колебания около положения равновесия

Период колебаний маятника - это время, в течение которого маятник совершает одно полное колебание и возвращается в исходную точку.

Формула ускорения свободного падения:


Формула периода колебаний:



Ход работы

Расчетная формула:

;

где: g̅ - среднее значение ускорения свободного падения;

l - длина маятника;

T̅ - среднее значение периода колебаний маятника;


где: n - среднее значение ускорения свободного падения;

Таблица расчетов

ti, c

t̅, c

Δtсист, c

l, м

T̅, м

n

g̅, м/с2

Δg, м/с2

E, %

Δl, м

1

18,78

18,62

0,005

0,85

1,86

10

0,35

3,6

0,5*10-3

2

18,62










3

18,15










4

18,77










5

18,77











g̅ = 4 * 3,142*(0,85/1,862) = 9,69 м/с2;

Расчет погрешностей прямых измерений.

Если измерение однократно, то погрешность:

Δl = ω/2 = 1 мм/2 = 0,5 * 10-3м;

где ω - минимальная цена деления прибора.

Если измерение многократное, то погрешность складывается из случайной и систематической.

;

Δtсист = ω/2 = 0,01/2 = 0,005 с

Δtсл= ϐ*tpn = 0,121*2,8= 0,34 c

Δtсл= 0,34 c

Δtсист ≤ Δtсл; Δt = Δtсист

где tpn коэффициент определяем по таблице,

р - вероятность 0,5 - 0,99.

tpn = 2,8 с

р = 0,95 N5;

N - число опытов;

ϐ - среднее квадратное отклонение / погрешность;

= 0,121


Где: EL - относительная погрешность длины;

EТ - относительная погрешность периода колебаний маятника;

EL = Δl/ l = 0,5*10-3/0.85 = 0,00058T = Δt/ t = 0,34/18,62 = 0,018



E = 0,35/9,69 *100% = 3,6%

Вывод: В ходе лабораторной работы я определил ускорение свободного падения тела, измерил период колебания математического маятника. Вычислил погрешность измерений и расчетов.