Материал: ЛР_ПЭ_БЖД

Внимание! Если размещение файла нарушает Ваши авторские права, то обязательно сообщите нам

Fф = E×S×Kз×Z,

где Е - нормируемая освещенность, (лк); K3 - коэффициент запаса, учитывающий старение ламп, запыленность и загрязненность светильников (обычно K3 = 1,3 - для ламп накаливания и K3 = 1,5 - для люминесцентных ламп); Z - коэффициент неравномерности освещения (обычно Z ~ 1,1 - 1,2).

Отражающие свойства поверхностей помещения можно учесть с помощью коэффициента отражения светового потока р. В случае равномерно диффузного отражения, когда отраженный световой поток рассеивается с одинаковой яркостью во всех направлениях, яркость участка равномерно диффузно отражающей поверхности равна

Вотр = Е×р/π,

где Е - освещенность поверхности.

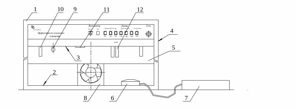
Лабораторная установка состоит из макета производственного помещения, оборудованного различными источниками искусственного освещения, и люксметра-пульсаметра для измерения освещенности и коэффициента ее пульсации (рис.1). Макет состоит из алюминиевого каркаса 1, пола 2, потолка 3, боковых стенок 4, задней и передней стенок 5. Задняя и боковые стенки съемные и могут устанавливаться любой из двух сторон внутрь макета. Одна сторона стенок окрашена в светлые тона, другая - в темные тона, при этом нижняя окрашенная половина стенки темнее верхней. Передняя стенка 5 жестко вмонтирована в каркас и выполнена из тонированного прозрачного стекла.

Рис.1. Макет производственного помещения

В передней нижней части каркаса 1 предусмотрено окно для установки измерительной головки 6 люксметра-пульсаметра 7 внутрь каркаса. На полу 2 размещен вентилятор 8 для наблюдения стробоскопического эффекта и охлаждения ламп в процессе работы. На потолке 3 размещены семь патронов, в которых установлены две лампы накаливания 9, три люминесцентные лампы 10 типа КЛ9, галогенная лампа 11 и люминесцентная лампа 12 типа СКЛЭН с высокочастотным преобразователем. Вертикальная проекция ламп отмечена на полу 2 цифрами, соответствующими номерам ламп на лицевой панели макета.

Включение электропитания установки производится автоматом защиты, находящимся на задней панели каркаса, и регистрируется сигнальной лампой, расположенной на передней панели каркаса. На передней панели каркаса находятся органы управления и контроля: лампа индикации включения напряжения сети, переключатель для включения вентилятора, ручка регулирования частоты вращения вентилятора, переключатели для включения ламп. Электропитание ламп накаливания и люминесцентных ламп осуществляется от разных фаз. Схема позволяет включать отдельно каждую лампу с помощью соответствующих переключателей, расположенных на передней панели каркаса. На задней панели каркаса находятся автомат защиты сети и сдвоенная розетка с напряжением 220 В для подключения измерительных приборов.

Люксметр-пульсаметр содержит корпус 1 (рис.2), на лицевой панели которого расположен стрелочный индикатор 2, переключатель 3 режима измерения (освещенность Е - коэффициент пульсации Kп), переключатель 4 диапазона измерения (30; 100) и переключатель 5 включения напряжения сети со встроенным индикатором. На боковой стенке корпуса 1 закреплены сетевой шнур 6 с вилкой и держатель 7 предохранителя. В качестве приемника светового потока используется измерительная головка 8 с насадками 9. При выключенном питании прибор работает как люксметр и позволяет измерять освещенность

Рис.2. Внешний вид люксметра-пульсаметра

в диапазоне от 5 до 100000 лк. Выбор диапазона определяется насадками. В положении 100 переключателя 4 диапазона измерения с насадками К и М измеряется освещенность до 1000 лк, с насадками К и Р - до 10000 лк и с насадками К и Т - до 100000 лк. В положении 30 переключателя диапазона измерения с этими же насадками измеряется освещенность до 300, 3000 и 30000 лк соответственно. Прибор позволяет также измерять коэффициент пульсации освещенности в диапазоне от 0 до 30% или от 0 до 100% в зависимости от положения переключателя диапазона измерения. Следует обратить внимание на то, чтобы измерение коэффициента пульсации производилось при тех же насадках, что и измерение освещенности.

Методика выполнения работы

1. Установить стенки макета производственного помещения таким образом, чтобы стороны, окрашенные в темные тона, были обращены внутрь помещения.

  1. Включить установку с помощью автомата защиты, находящегося на задней панели каркаса.

  2. Включить люминесцентные лампы КЛ9.

  3. Произвести измерение освещенности с помощью люксметра-пульсаметра не менее чем в пяти точках макета производственного помещения (в центре и углах пола), результаты занести в форму табл.1, определить среднее значение освещенности Еср.

  4. Установить стенки макета производственного помещения таким образом, чтобы стороны, окрашенные в светлые тона, были обращены внутрь помещения.

  5. Произвести измерение освещенности не менее чем в пяти точках макета производственного помещения, результаты занести в форму табл.1, определить среднее значение освещенности Еср.

7. Сравнить полученные в результате измерений по п.п. 4 и 6 значения освещенности с допустимыми значениями освещенности, приведенными в планшете (разряд зрительных работ принять по указанию преподавателя).

8. По результатам измерений освещенности для варианта с темной и светлой окраской стен вычислить фактический световой поток Fф по формуле (2).

9. Вычислить коэффициент использования осветительной установки η для варианта с темной и светлой окраской стен по формуле (1). Суммарный световой поток Fл выбрать по номинальной мощности для каждого типа ламп по табл.2.

10. Повторить действия п. п. 1 - 9 для других типов ламп.

11. Сравнить коэффициенты использования осветительной установки, полученные для случаев с использованием различных источников света и различной окраски стен.

12. С помощью люксметра-пульсаметра измерить коэффициент пульсаций освещенности сначала при включении одной лампы накаливания, а затем при включении одной люминесцентной лампы типа КЛ9. Сравнить полученные значения.

Форма таблицы 1

Результаты экспериментов

Измеряемые параметры

Тип ламп*

1

2

3

4

Окраска боковых стенок**

С

Т

С

Т

С

Т

С

Т

Освещенность в точках:

1

2

3

4

5

Среднее значение

Допустимая освещенность

Фактический световой поток

Суммарный световой поток

Коэффициент использования осветительной установки

Коэффициент пульсации освещенности при количестве ламп

1

2

3

*Типы ламп: 1 - люминесцентная КЛ9; 2 - люминесцентная СКЛЭН; 3 - накаливания; 4 - галогенная.

**Окраска боковых стенок: С - светлые тона; Т - темные тона.

13. Измерить и сравнить между собой коэффициенты пульсации освещенности при включении сначала одной, затем - двух и, наконец, трех люминесцентных ламп типа КЛ9. (Следует учесть, что люминесцентные лампы включены в три различные фазы трехфазной сети, поэтому измерительную головку люксметра-пульсаметра необходимо располагать в геометрическом центре системы включенных ламп.)

Таблица 2

Характеристики источников искусственного освещения

Тип ламп

Номинальная мощность, Вт

Номинальный световой поток, лм

Накаливания

60

730

Накаливания криптоновая

60

800

Люминесцентная КЛ 9

9

600 (465)*

Люминесцентная СКЛЭН

11

700

Галогенная

50

850

*После минимальной продолжительности горения (2000 часов)

14. Включить люминесцентную лампу типа КЛ9 в центре установки и вентилятор. Вращая ручку “Частота”, регулирующую скорость вращения лопастей вентилятора, подобрать такую частоту, при которой возникает стробоскопический эффект (лопасти кажутся неподвижными).

15. Выключить стенд. Составить отчет по работе.

Требования к отчету

Отчет должен содержать:

  1. название и цель работы;

  2. результаты эксперимента в виде таблицы;

  3. анализ результатов эксперимента;

  4. заключение о качестве освещения.

Контрольные вопросы

  1. Требования к искусственному освещению.

  2. Основные светотехнические характеристики.

  3. Классификация искусственного освещения.

  4. Характеристика источников искусственного освещения.

  5. Нормирование искусственного освещения.

  6. Расчет искусственного освещения с помощью коэффициента использования осветительной установки.

Литература

  1. Безопасность жизнедеятельности. Учебник для вузов / С.В. Белов, А.В. Ильницкая, А.Ф. Козьяков и др. / Под ред. С.В. Белова. - М.: Высшая школа, 1999. - 448 с.

  2. СНиП 23-05-95. Естественное и искусственное освещение. - М.: Стройиздат, 1996.

Лабораторная работа № 6 Исследование средств защиты от инфракрасного излучения

Цель работы: определение интенсивности инфракрасного излучения на рабочем месте и разработка методов и средств защиты работающих от его воздействия.

Продолжительность работы - 2 часа.

Оборудование и приборы

  1. Электрокамин ЭКПС-1,0/220.

  2. Пылесос “Тайфун 1200”.

  3. Измеритель плотности теплового потока ИПП-2М.

  4. Экраны теплового потока.

  5. Лабораторный стол с линейной шкалой.

Теоретические сведения

Источником инфракрасного излучения (ИК) является любое нагретое тело, температура которого определяет интенсивность и спектр излучаемой электромагнитной энергии. Длина волны с максимальной энергией теплового излучения определяется по формуле

lmах = 2,9×103 / T [мкм], (1)

где T - абсолютная температура излучающего тела, К.

Инфракрасное излучение подразделяется на три области:

- коротковолновая (λ = 0,7 - 1,4 мкм);

- средневолновая (λ = 1,4 - 3,0 мкм);

- длинноволновая (λ = 3,0 мкм - 1,0 мм).

Электрические волны инфракрасного диапазона оказывают в основном тепловое воздействие на организм человека. При этом необходимо учитывать: интенсивность и длину волны c максимальной энергией; площадь излучаемой поверхности; длительность облучения за рабочий день и продолжительность непрерывного воздействия; интенсивность физического труда и подвижность воздуха на рабочем месте; качество спецодежды; индивидуальные особенности работающего.

Лучи коротковолнового диапазона с длиной волны l ≤ 1,4 мкм обладают способностью проникать в ткань человеческого организма на несколько сантиметров. Такое ИК излучение легко проникает через кожу и черепную коробку в мозговую ткань и может воздействовать на клетки головного мозга, вызывая его тяжелые поражения, симптомами которого являются рвота, головокружение, расширение кровеносных сосудов кожи, падение кровеносного давления, нарушение кровообращения и дыхания, судороги, иногда потеря сознания. При облучении коротковолновыми ИК лучами наблюдается также повышение температуры легких, почек, мышц и других органов. В крови, лимфе, спинномозговой жидкости появляются специфические биологически активные вещества, наблюдается нарушение обменных процессов, изменяется функциональное состояние центральной нервной системы.

Лучи средневолнового диапазона с длиной волны l = 1,4 - 3,0 мкм задерживаются в поверхностных слоях кожи на глубине 0,1 - 0,2 мм. Поэтому их физиологическое воздействие на организм проявляется главным образом в повышении температуры кожи и нагреве организма.

Наиболее интенсивный нагрев кожной поверхности человека происходит при ИК излучении с l > 3 мкм. Под его воздействием нарушается деятельность сердечно-сосудистой и дыхательной систем, а также тепловой баланс организма, что может привести к тепловому удару.

Интенсивность теплового излучения регламентируется, исходя из субъективного ощущения человеком энергии облучения. Согласно ГОСТ 12.1.005-88 интенсивность теплового облучения работающих от нагретых поверхностей технологического оборудования и осветительных приборов не должна превышать: 35 Вт/м2 при облучении более 50% поверхности тела; 70 Вт/м2 при облучении от 25 до 50% поверхности тела; 100 Вт/м2 при облучении не более 25% поверхности тела. От открытых источников (нагретые металл и стекло, открытое пламя) интенсивность теплового облучения не должна превышать 140 Вт/м2 при облучении не более 25% поверхности тела и обязательном использовании средств индивидуальной защиты, в том числе средств защиты лица и глаз.

Нормы ограничивают также температуру нагретых поверхностей оборудования в рабочей зоне, которая не должна превышать 45 ºС. Температура поверхности оборудования, внутри которого температура близка к 100 ºС, должна быть не выше 35 ºС.

Интенсивность (плотность потока) инфракрасного излучения q определяется по формуле

q = 0,78×S×(T4×10–8 – 110) / r2, Вт/м2 (2)

где S - площадь излучающей поверхности, м ; T - температура излучающей поверхности, К; r - расстояние от источника излучения, м.

К основным видам защиты от инфракрасного излучения относятся:

1) защита временем;

2) защита расстоянием;

3) экранирование, теплоизоляция или охлаждение горячих поверхностей;

4) увеличение теплоотдачи тела человека;

5) индивидуальные средства защиты;

6) устранение источника тепловыделения.

Защита временем предусматривает ограничения времени пребывания рабочего в зоне действия излучения. Безопасное время пребывания человека в зоне действия ИК излучения зависит от его интенсивности (плотности потока) и определяется по табл.1.

Таблица 1