,
де
m – число n-бітових блоків,
– j-й
біт в i-му
блоці,
,
– операція XOR.
Роботу хеш-функції проілюстровано на рис. 16
Рисунок
16
3 Застосування пароля для підтвердження істинності користувача
Традиційно кожен законний користувач комп’ютерної системи одержує ідентифікаційний номер і/або пароль. На початку сеансу роботи з терміналом користувач називає системі свій ідентифікаційний номер (логін) після чого система запитує пароль користувача.
Найпростіший
метод
підтвердження істинності з використанням
пароля
заснований
на порівнянні пароля
,
що зазначається користувачем, з вихідним
значенням
,
що зберігається в комп’ютерному центрі
(рис. 17). Оскільки пароль повинен
зберігатися в таємниці, його варто
шифрувати перед пересиланням по
незахищеному каналу. Якщо значення
й
збігаються, то пароль
вважається дійсним, а користувач -
законним. Якщо зловмисник, довідається
пароль та ідентифікаційний номер
законного користувача, він одержить
доступ у систему з повноваженнями
законного користувача.

Рисунок 17 – Схема аутентифікації за допомогою пароля
Іноді
одержувач не повинен розкривати вихідну
відкриту форму пароля. У цьому випадку
відправник повинен пересилати замість
відкритої форми пароля відображення
пароля, одержане з використанням
однобічної функції
.
Це перетворення повинно гарантувати
неможливість розкриття зловмисником
пароля за його відображенням, оскільки
зловмисник натикається на нерозв’язну
числову задачу.
Наприклад,
функція
може бути визначена таким чином:
,
де
- пароль відправника;
- ідентифікатор відправника;
-
процедура шифрування, яка виконується
з використанням пароля
як ключа.
Такі
функції особливо зручні, якщо довжина
пароля й довжина ключа однакові. У цьому
випадку підтвердження істинності за
допомогою пароля складається з пересилання
одержувачу відображення
і
порівняння його з попередньо обчисленим
і збереженим еквівалентом
На
практиці паролі складаються тільки з
декількох букв, щоб дати можливість
користувачам запам’ятати їх. Короткі
паролі уразливі у випадку атаки повного
перебору всіх варіантів. Для того щоб
запобігти такій атаці, функцію
визначають інакше, а саме:
де
й
– відповідно ключ та ідентифікатор
відправника.
Очевидно,
значення
обчислюється заздалегідь і зберігається
у вигляді
в ідентифікаційній таблиці одержувача
(рис. 18). Підтвердження істинності
складається з порівняння двох відображень
пароля
та
і визнання пароля
,
якщо ці відображення однакові. Звичайно,
кожний, хто одержить доступ до
ідентифікаційної таблиці, може незаконно
змінити її вміст, не боючись, що ці дії
будуть виявлені.

Рисунок 18 – Схема аутентифікації за допомогою пароля з використанням ідентифікаційної таблиці
4 Взаємна перевірка істинності користувачів
Звичайно, сторони, що вступають в інформаційний обмін, мають потребу у взаємній перевірці істинності (аутентифікації) один одного. Цей процес взаємної аутентифікації виконують на початку сеансу зв’язку.
Для перевірки істинності застосовують такі способи:
механізм запиту-відповіді;
механізм оцінки часу ("часовий штемпель").
Механізм
запиту-відповіді
полягає
в
такому.
Якщо
користувач
хоче
бути
впевненим,
що
повідомлення,
які він одержує від
користувача
В,
не
є
помилковими,
він
додає до повідомлень, що посилаються
користувачу В,
непередбачений
елемент
– запит
Х
(наприклад,
деяке
випадкове
число).
При
відповіді
користувач
B
повинен
виконати
над
цим
елементом
певну операцію,
наприклад,
обчислити
деяку
функцію
.
Це
неможливо
здійснити
заздалегідь,
тому
що
користувачу
невідомо,
яке
випадкове
число
Х
прийде
в
запиті.
Одержавши
відповідь
із
результатом
дій
В,
користувач
А
може
бути
впевнений,
що
В
– справжній. Недоліком
цього
методу
є
можливість
встановлення
закономірності
між
запитом
і
відповіддю.
Механізм оцінки часу реалізується через реєстрацію часу для кожного повідомлення. У цьому випадку кожен користувач мережі може визначити, наскільки "застаріло" повідомлення, що прийшло, і вирішити не приймати його, оскільки воно може бути помилковим.
В обох випадках для захисту механізму контролю варто застосовувати шифрування, щоб бути впевненим, що відповідь послана не зловмисником.
При використанні оцінок часу виникає проблема припустимого тимчасового інтервалу затримки для підтвердження істинності сеансу. Адже повідомлення з "тимчасовою печаткою" у принципі не може бути передане миттєво. Крім того, комп’ютерні годинники одержувача й відправника не можуть бути абсолютно синхронізовані. Тому важко визначити, яке запізнювання "печатки" є підозрілим.
Для взаємної перевірки істинності, як правило, використовують процедуру рукостискання. Ця процедура базується на зазначених вище механізмах контролю і полягає у взаємній перевірці ключів, які використовуються сторонами. Інакше кажучи, сторони визнають один одного законними партнерами, якщо доведуть один одному, що мають правильні ключі. Процедуру рукостискання звичайно застосовують у комп’ютерних мережах при організації сеансу зв’язку між користувачами, користувачем і хост- комп’ютером, між хост-комп’ютерами і т. ін. Розглянемо як приклад процедуру рукостискання для двох користувачів А і В.
Припустимо,
що застосовується
симетрична
криптосистема.
Користувачі
А
і В
використовують однаковий таємний
ключ
.
Уся
процедура показана на рис. 19.
Користувач
ініціює
процедуру
рукостискання,
відправляючи
користувачеві
свій
ідентифікатор
у
відкритій
формі.
Користувач
,
одержавши
ідентифікатор
,
знаходить
у
базі
даних
таємний
ключ
і
вводить
його
у
свою
криптосистему.
Тим
часом
користувач
генерує
випадкову
послідовність
за
допомогою
псевдовипадкового
генератора
й
відправляє
її
користувачеві
у
вигляді
криптограми![]()
Користувач
розшифровує
цю
криптограму
й
розкриває
вихідний
вид
послідовності
S.
Потім
користувачі
і
перетворюють
послідовність
,
використовуючи
відкриту
однобічну
функцію
(·).
Користувач
шифрує
повідомлення
й
відправляє
цю
криптограму
користувачеві
.
Користувач
розшифровує
цю
криптограму
й
порівнює
отримане
повідомлення
з
вихідним
.
Якщо
ці
повідомлення
однакові,
користувач
визнає
дійсність
користувача
.
Очевидно, користувач B перевіряє істинність користувача A таким самим способом. Обидві ці процедури утворюють процедуру рукостискання, що,як правило, виконується на самому початку будь-якого сеансу зв’язку між будь-якими двома сторонами в комп’ютерних мережах.

Рисунок 19 – Схема процедури рукостискання (користувач A перевіряє дійсність користувача В)
Перевага моделі рукостискання полягає в тому, що жоден з учасників сеансу зв’язку не одержує ніякої секретної інформації під час процедури підтвердження істинності.
5 Проблема аутентифікації даних і електронний цифровий підпис
Метою аутентифікації електронних документів є захист документів від можливих видів злочинних дій, до яких відносять:
активне перехоплення – порушник, що підключився до мережі, перехоплює документи (файли) і змінює їх;
маскарад – абонент C посилає документ абоненту B від імені абонента A;
ренегатство – абонент A заявляє, що не посилав повідомлення абоненту B, хоча насправді послав;
підміна – абонент B змінює або формує новий документ і заявляє, що одержав його від абонента A;
повтор – абонент C повторює раніше переданий документ, що абонент A посилав абонентові В.
Ці види злочинних дій можуть завдати істотної шкоди банківським і комерційним структурам, державним підприємствам та організаціям, приватним особам, що застосовують у своїй діяльності комп’ютерні інформаційні технології.
Після того, як з’єднання встановлене, необхідно забезпечити виконання вимог захисту при обміні повідомленнями:
1) одержувач повинен бути впевнений у істинності джерела даних;
2) одержувач повинен бути впевнений у істинності переданих даних;
3) відправник повинен бути впевнений у доставці даних одержувачу;
4) відправник повинен бути впевнений у істинності доставлених даних.
Для виконання вимог 1-2 засобом захисту є цифровий підпис. Для виконання вимог 3-4 відправник повинен одержати за допомогою пошти повідомлення, що засвідчує вручення (certified mail). Засобами захисту в такій процедурі є цифровий підпис повідомлення, що підтверджує доставку повідомлення, яке у свою чергу є доказом пересилання вихідного повідомлення.
Якщо ці чотири вимоги реалізовані в криптосистемі, то гарантується захист даних при передачі каналом зв’язку і забезпечується функція захисту, яку називають функцією підтвердження (незаперечності) передачі. У цьому випадку відправник не може заперечувати ні факту посилки повідомлення, ні його змісту, а одержувач не може заперечувати ні факту одержання повідомлення, ні істинності його змісту.
При обробці документів в електронній формі зовсім непридатні традиційні способи встановлення істинності по рукописному підпису й відбитках пальців на паперовому документі. Принципово новим рішенням є електронний цифровий підпис (ЕЦП).
Електронний цифровий підпис використовується для аутентифікації текстів, що передаються по телекомунікаційних каналах. Функціонально ЕЦП аналогічний звичайному рукописному підпису і володіє її основними перевагами:
засвідчує, що підписаний текст виходить від особи, яка поставила підпис;
не дає особі, яка відправила повідомлення, можливості відмовитися від зобов’язань, пов’язаних з підписаним текстом;
гарантує цілісність підписаного тексту.
Цифровий підпис являє собою відносно невелику кількість додаткової цифрової інформації, яка передається разом з текстом, що підписується.
Система ЕЦП враховує дві процедури:
процедуру підписання;
процедуру перевірки підпису.
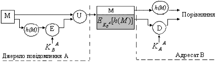
У процедурі підписання використовується таємний ключ відправника повідомлення, у процедурі перевірки підпису - відкритий ключ відправника (рис 20 ).

Рисунок 20 – Схема реалізації ЕЦП
При
формуванні
ЕЦП
відправник
насамперед
обчислює
хеш-функцію
тексту
,
який необхідно підписати. Дайджест
являє
собою
один
короткий
блок
інформації,
що характеризує
весь
текст
у
цілому.
Потім
дайджест m
шифрується
таємним
ключем
відправника
.
Шифрований дайджест і є ЕЦП
для
даного
тексту
М.
При
перевірці
ЕЦП
одержувач
повідомлення
знову
обчислює
хеш-функцію
прийнятого
тексту
,
після
чого
за
допомогою
відкритого
ключа
відправника
перевіряє,
чи
відповідає отриманий
підпис
обчисленому
значенню
m
хеш-функції.