Лабораторна робота № 19
Тема: Моделювання спеціалізованого процесора обробки сигналів на основі кубічних базисних сплайнів з використанням можливостей середовища Matlab| і Simulink.|
Мета роботи. Вивчення методів апроксимації функціональних залежностей кубічними базисними сплайнами, створення структури спеціалізованого процесора на основі кубічних базисних сплайнів і його Simulink-моделі|.
Теоретична частина
Під сплайном (від англ|. spline| — планка, рейка) зазвичай розуміють кусочно-задану функцію, співпадаючу з функціями більш простій природи на кожному елементі розбиття своєї області визначення.
Класичний сплайн однієї змінної будується так: область визначення розбивається на кінцеве число відрізань, на кожному з яких сплайн співпадає з деяким поліномом алгебри. Максимальний ступінь з використаних поліномів називається ступенем сплайна. Різниця між ступенем сплайна і гладкістю, що вийшла, називається дефектом сплайна. Наприклад, безперервна ламана є сплайн ступеня 1 і дефекту 1.
Сплайни мають численні застосування, як в математичній теорії, так і в різноманітних обчислювальних застосуваннях. Зокрема, сплайни два змінних інтенсивно використовуються для завдання поверхонь в різних системах комп'ютерного моделювання.
Методи сплайн-апроксимації| служать універсальним інструментом моделювання функцій і в порівнянні з іншими математичними методами при рівних з ними інформаційних і апаратних витратах забезпечують велику точність обчислень.
Сплайн методи найбільш ефективні у випадках дискретного завдання початкових даних. На відрізку [а, b] розглянемо сітку Δ:
Δ:
|||
Поліноміальний сплайн
довільного ступеня т
дефекту d
(d - ціле|
число, 1< d<
m) з
вузлами на сітці Δ
визначається [59, 60, 140]
як функція
|
(1)
![]()
Похідна від сплайна порядку (m - d +l) може бути розривною на [a, b]. Тому говорять про різні порядки гладкості сплайнів: першому, другому і так далі.
У технічних застосуваннях найбільш споживаними є сплайни невисокого ступеня, зокрема параболічні і кубічні.
Найбільш прості аналітичні вирази для В - сплайнів виходять для випадків рівномірного завдання сіток. Приведемо ці вирази для базисних елементів третього ступеня.
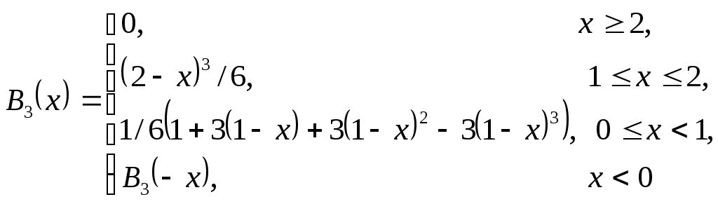
(2)
Для сплайнів 3-го ступеня існує локальні формули, локальна формула для трьох точок (3-точкова формула) має наступний вигляд:
;
(3)
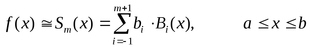
Будь-який сплайн Sm| (х) ступеня т дефекту 1, що інтерполює задану функцію f(x) може бути єдиним чином представлений В - сплайнами у вигляді суми:
(4)|
де bi - коефіцієнти. Згідно формулі (4) значення інтерпольованої функції в довільній точці заданого інтервалу визначається значеннями лише m+1| доданків - парних творів базисних функцій на постійні коефіцієнти. Наприклад, кубічні В-сплайни вимагають чотирьох базисних доданків.
Значення функції обчислюється за формулою
(5)
Решта базисних сплайнів на цьому підінтервалі рівна нулю і, отже, в освіті суми не беруть участь.

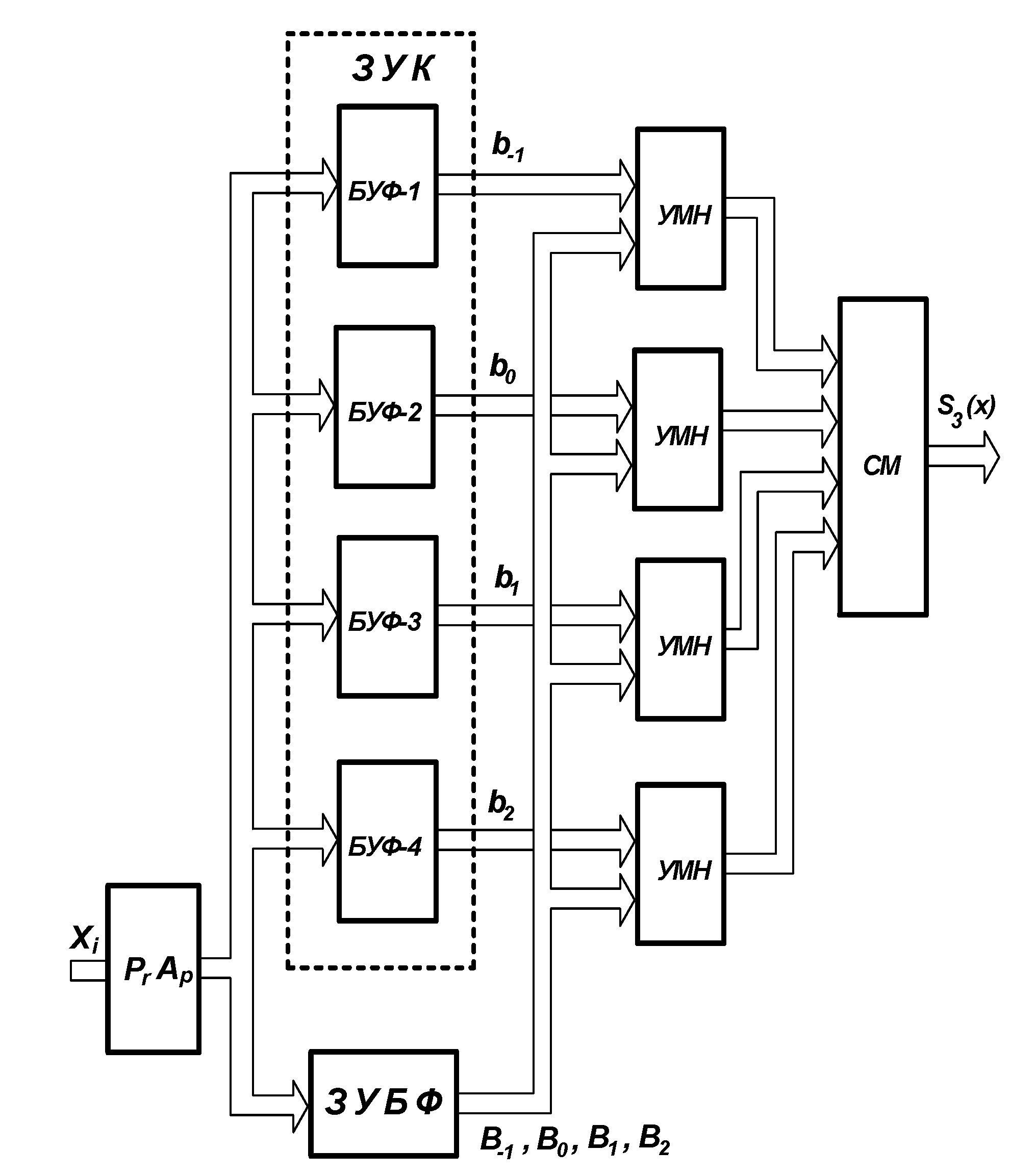
Мал.1. Таблично-алгоритмічна обчислювальна структура для реалізації апроксимації функцій кубічними базисними сплайнами.
Завдання до роботи:
Побудувати Simulink| – модель спеціалізованого процесора обробки сигналів на основі кубічних базисних сплайнів.
Як вхідний сигнал використовувати сигнал, отриманий в результаті виконання лабораторної роботи №18.
Методичні вказівки:
При побудові Simulink-модели| слід використовувати наступні блоки:
1. Signal| From| Workspace| - сигнал з робочої області. Імпорт сигналу з робочого простору MATLAB|
Розташування: у бібліотеці джерел обробки сигналів (Library|: Signal| Processing| Sources|)
Вид:
Блок From| Workspace| служить для отримання даних з робочого простору. Як параметри задаються формат матриці даних (за умовчанням [Т, U]) і еталонний час Sample| time| (за умовчанням 0). Крім того, є список для завдання кінцевого значення шляхом:
Interpolate| data| - екстраполяції даних;
Setting| to| zero| - установки на нуль;
Hold| final| data| value| - затримки останнього значення даних, що буває потрібно для його уявлення реєструючими блоками;
Cyclic| Repetition| - циклічного повторення.
При включенні прапорця Interpolate| data| проводиться інтерполяція даних на проміжку часу до tfinal|, а для значень часу, великих tfinal|, виконується екстраполяція по останніх відліках даних (при знятті прапорця сигнал на вказаних інтервалах обнуляється). У матриці джерела From| Workspace| відліки часу займають перший стовпець, а не рядок.
2. Product
- Умножение и деление скалярных и
нескалярных величин.
Розташування:
у бібліотеці математичних операцій
(Library: Math
Operations)
Вигляд:
Разом з множенням скалярних сигналів може використовуватися і для обчислення твору векторів і матриць. За умовчанням значення параметрів:
Множення: поелементно (.*)
Кількість входів: 2
У вікні параметрів цього блоку можна задати число його входів, тобто блок можна використовувати і при числі співмножників більше 2. Блок Product| призначений не тільки для множення, але і для ділення. При цьому операції задаються подібно до того, як це було описано для блоку підсумовування/віднімання із застосуванням знаків множення * або ділення / у шаблоні.
3. Sum| - Сума, складання, віднімання елементів
Розташування: у бібліотеці математичних операцій (Library|: Math| Operations|)
Вигляд:
Блок виконує складання або віднімання величин або сигналів, поданих на його входи. Цей блок може проводити операції складання або віднімання над скаляром, вектором або матрицею входів.
XY Graph - Блок XY отображает график в координатных плоскостях XY из его входов в окне MATLAB. Розташування: у бібліотеці даних (Library: Sinks)
Вид:
Блок має два скалярні входи. На вхід Y подається сигнал однієї тимчасової залежності, а на вхід X – інший. Фазовий портрет двох тимчасових залежностей (наприклад, напруги і струму в електричному ланцюзі) будується у вигляді параметрично заданого графіка.
На відміну від осцилографа, віртуальний графічний пристрій має входи по осях X і Y, що дозволяє будувати графіки функцій в полярній системі координат, фігури Ліссажу, фазові портрети і так далі Установка параметра Simple| Time| рівним –1 дозволяє отримувати синусоїду з достатньо великим числом крапок. При цьому її графік виходить плавним.
Clock| - забезпечує час моделювання. Розташування: у бібліотеці Джерела (Library|: Sources|)
Вигляд:
Джерело поточного часу Clock| служить для генерації чисел, які є значеннями поточного часу моделювання на кожному кроці моделювання. Цей блок використовується для інших блоків, які використовують час моделювання. Для контролю цього часу може використовуватися цифровий індикатор – Display|. Параметром джерела є крок Decimation|, з яким міняються відліки часу. Прапорець Display| time| задає відображення часу в блоці джерела.
To Workspace - Запись данных в рабочее пространство
Розташування: у бібліотеці
даних (Library:
Sinks)
Вид:
Блок записує вказану матрицю (але без рядка відліків часу) в робочий простір. У вікні параметрів блоку To| Workspace| задається формат запису: структура Structure|, структура з часом Structure| with| time| і масив Array|.
Приклад виконання:

Мал.2. Simulink| – модель спеціалізованого процесора обробки сигналів на основі кубічних базисних сплайнів.
Simulink| – модель спецпроцесора відновлення сигналів на основі кубічних базисних сплайнів (мал.2) складається з восьми пристрою даних (Signal| From| Workspace|), що запам'ятовує, четерех| помножувачів (Product|), одного суматора (Sum|), блок візуалізації отриманих сигналів (XY| Graph|).

Мал.3. Отримані графіки Simulink| – модель спеціалізованого процесора обробки сигналів на основі кубічних базисних сплайнів.
Контрольні питання:
Що таке сплайн?
Що називається ступенем сплайна?
Що називається дефектом сплайна?
Що такий спеціалізований процесор?
Поясните обчислювальну структуру реалізації апроксимації функцій кубічними базисними сплайнами.
Опишіть модель спецпроцесора відновлення сигналів на основі кубічних базисних сплайнів.
Які блоки Simulink| були використані для реалізації даної моделі?