Материал: курсовая пути сообщения

Внимание! Если размещение файла нарушает Ваши авторские права, то обязательно сообщите нам

3.6 Вывод по третьему разделу

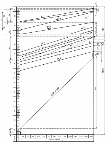
В данном разделе по среднесетевым нормам периодичности реконструкции пути и капитальных ремонтов для пути 2 класса, группы II относящихся к линии 2 класса специализации П был определен нормативный срок службы пути 700 млн. т бр. Определена ремонтная схема и периодичность промежуточных видов ремонтно-путевых работ между капитальными ремонтами с 2021 по 2051 гг.. Построен график производства основных работ на фронте работ в «окно» 1400 м, продолжительностью .

Рисунок 3.2 - График производства основных работ в «окно»

Таблица 3.1 – Условные обозначения, принятые на рисунке 3.2

Условное обозначение

Название

Оформление закрытия перегона, снятие напряжения в контактной сети, следование рабочих поездов от станции к месту работ

Зарядка машины ЩОМ-1200

ЩОМ-1200

Очистка балластной призмы машиной ЩОМ-1200

      МСР .

Материальная секция путеразборочного поезда

Разболчивание стыков при помощи электрогаечного ключа ЭК-1

         Р .

Демонтаж рельсошпальной решетки путеукладочным краном УК-25/9-18

Планировка поверхности балластного слоя землеройной техникой

         У .

Укладка рельсошпальной решетки путеукладочным краном УК-25/9-18

Подготовка и укладка рельсовых рубок на отводе

Сболчивание стыков при помощи электрогаечного ключа ЭК-1

Рихтовка пути с постановкой на ось, поправка шпал по меткам

Материальная секция путеукладочного поезда

Выгрузка балласта из хоппер-дозаторов

Приведение машины ВПР-02 в рабочее и транспортное положения

Сплошная выправка пути с рихтовкой двумя машинами ВПР-02

      ДСП .

Стабилизация пути динамическим стабилизатором ДСП

Планировка пути быстроходным планировщиком ПБ

Открытие перегона для движения поездов

4 Организация снегоборьбы на станции

4.1 Определение объема снега, подлежащего уборке

Для определения объема снега, подлежащего уборке, предварительно определяется полезная длина путей , м, нечетного станционного парка типа «Трапеция с равной длиной путей» (рисунок 4.1).

Рисунок 4.1 – Схема нечетного станционного парка типа «Трапеция с равной длиной путей»

Формулы для расчета полезной длины станционных путей приведены в таблице 4.1.

Таблица 4.1 – Формулы расчета полезной длины станционных путей

Номер пути

Полезная длина

ІI

LII = Lz

І

LI = Lz

3

L3 = Lz - E

5

L5 = Lz -E

7

L7 = Lz

где Lz – длина крайнего станционного пути, Lz = 1150 м;

Е – расстояние между предельными столбиками, м, определяется по формуле

(4.1)

где M – расстояние между осями станционных путей, м;

– марка крестовины.

Объем снега с учетом его уплотнения при погрузке в снегоуборочный поезд определяется по формуле

(4.2)

где Wi – объем снега, убираемого с i-го пути, м3;

Li – полезная длина станционного пути, м;

ni – количество стрелочных переводов на i-м пути;

Lп – приведенная длина стрелочного перевода, м (в курсовой работе можно принять 75 м, при этом необходимо при очистке стрелочного перевода по прямому пути принимать длину 50 м, а при очистке бокового пути – 25 м);

h – заданная толщина слоя снега, м;

ky – коэффициент уплотнения снега, принимается от 0,4 до 0,5.

Общий объем снега, подлежащий уборке со станционного парка, составит

(4.3)

где N – число путей в парке.

4.2 Определение продолжительности очистки станции от снега

Продолжительность одного рейса снегоуборочной машины определяется по формуле

(4.4)

где Т­р – продолжительность одного рейса, мин;

t1 – время согласования и подготовки маршрута, t1 = 5 мин;

t2 – время следования к месту работ, мин;

t3 – установка рабочих органов, t3 = 5 мин;

t4 – время загрузки машины снегом, мин;

t5 – время подготовки маршрута под разгрузку, t5 = 5 мин;

t6 – время следования к месту разгрузки, t6 = t2;

t7 – время выгрузки снега со снегоуборочной машины.

Значения составляющих Тр, кроме уже известных, определяются по формулам

(4.5)

, (4.6)

где Lв – расстояние от места погрузки снега до места его выгрузки, км;

– средняя транспортная скорость, = 20 км/ч;

Q – емкость снегоуборочного поезда, м3;

kз – коэффициент заполнения поезда снегом, kз = 0,9 (тогда фактическая полная загрузка поезда = 0,9 м3);

П – паспортная производительность щеточного питателя, м3/мин.

При выгрузке снега ротором ПСС-1

(4.7)

Емкость снегоуборочного поезда Q в общем случае определяется по формуле

(4.8)

где Qгол – емкость головной машины, м3;

Qпр – емкость промежуточного полувагона, м3;

n – число промежуточных полувагонов (в курсовой работе принимается n = 2);

Qкон – емкость концевого полувагона, м3.

Минимальное число рейсов снегоуборочного поезда, необходимое для полной очистки станционного парка от снега, составит

(4.9)

где – число рейсов снегоуборочного поезда.

Фактическая продолжительность очистки станционного парка от снега определится по графику, в зависимости от принятой технологии загрузки, и будет не менее определенной по формуле

(4.10)

Емкость снегоуборочного поезда с головной машиной ПСС-1 составит

Минимальное число рейсов снегоуборочного поезда, необходимое для полной очистки станционного парка от снега

Время следования снегоуборочного поезда к месту работ

Время загрузки снегоуборочного поезда снегом

Время, необходимое на выгрузку снега

Продолжительность одного рейса снегоуборочной машины

Расчетная производительность составит

По результатам расчетов приведена ведомость механизированного выполнения снегоуборочных работ на станции (таблица 4.2) и график работы снегоуборочного поезда, приведенные на рисунке Б.1 приложения Б.

Таблица 4.2 – Ведомость механизированного выполнения снегоуборочных работ

Наименование парка

Очередность очистки

Номер пути

Полезная

длина, м

Ширина междупутья, м

Полный объем убираемого

снега, м3

Способ уборки снега

Расчетное

число рейсов

Время работы снегоуборочного поезда

А

первая

II

5,0

ПСС-1

2,4

168

I

5,0

2,3

158

3

5,0

2,15

149

5

5,0

2,15

149

7

5,0

810

2,0

138

Итого

11

759