Материал: Курсовая по ОНИД

Внимание! Если размещение файла нарушает Ваши авторские права, то обязательно сообщите нам

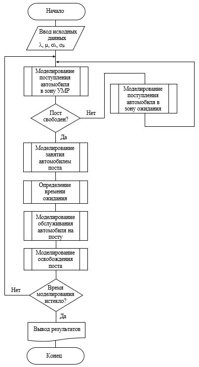
2 Алгоритмизация модели и системы

2.1 Построение логической схемы работы зоны умр

Целесообразно построить модель по блочному принципу, где каждый блок описывает некоторые достаточно простые процессы: занятие очереди, ожидание обслуживания, занятие поста, моделирование обслуживания на каком-либо посту и т.д. Причем очередность расположения блоков должна увязываться с технологическим процессом. На этом этапе целесообразно задать принятые математические соотношения в явном виде: формулы, связи, коэффициенты, параметры и т.д.

Рисунок 2.1 - Схема алгоритма моделирования работы зоны УМР

2.2 Получение математических соотношений для описания функционирования системы

Из анализа уравнения Эрланго для систем массового обслуживания с ожиданием при установившемся режиме работы, вероятности нахождения системы в состоянии:

, при а ≤ к ≤ n

(2.1)

при 1 ≤ s ≤ m

- новая переменная.

Уравнения (2.2) получают путём анализа уравнения Эрландо, при котором определяется закономерность поведения вероятностей.

Вероятность отказа в обслуживании наступит при занятии всех постов и всех мест в очереди.

(2.2)

Вероятность обслуживания будет равна:

(2.3)

Относительная пропускная способность будет равна:

(2.4)

2.3 Выбор вычислительных средств для моделирования

Решение поставленной задачи обеспечивает персональный компьютер, оснащённый процессором AMD Athlon(tm) ǁ X3 445 Processor c установленной памятью 8,00 ГБ, 64-разрядной операционной системой, операционной системой Windows 7, монитором VGA.

В связи с использованием процессора с высокой тактовой частотой используем модулятор DOSbox.

Вводим команды:

mount с: с:\sim

с:

simsim

После чего модулятор DOSbox запускает программу simsim и проводим серию экспериментов.

3 Регрессионный анализ работы системы

3.1 Результаты вычислительного эксперимента

Регрессионный анализ необходим для получения математических соотношений между используемыми м модели параметрами или факторами и показателями эффективности работы системы. Необходимое число опытов N для полно-факторного эксперимента

(3.1)

где V – число уровней варьирования, V = 2;

n – число значимых факторов, n = 2

Составленная матрица спектра плана приведена в таблице 3.1.

Таблица 3.1 – План эксперимента

N

X0

X1(λ)

X2(μ)

1

+

-

-

2

+

+

-

3

+

-

+

4

+

+

+

Построим матрицу спектра плана. Для получения и изменим суточную программу соответственно .

Для получения значений и изменим число рабочих, одновременно работающих на посту (соответственно 1 и 3 человека).

Результаты расчёта сведём в таблицу 3.2.

Таблица 3.2 – Переменные модели

-1

0

+1

λ

0,396739

0,521739

0,646739

μ

0,328947

0,649351

0,961538

0,079348

0,104348

0,129348

0,065789

0,12987

0,192308

В соответствии с матрицей спектра плана проводим эксперимент с использованием программы «simsim.exe». Накопители, используемые в модели, не ограничиваем по ёмкости и времени ожидания. В качестве основных критериев эффективности, принимаем среднее время нахождения в системе, среднее число занятых каналов, среднее время ожидания в очереди.

При этом время моделирования Тм рассчитывалось по формуле:

(3.2)

Tм = = 407 ч

В результате проведения опыта получили некоторые значения функции отклика. Представим их в таблице 3.3.

Таблица 3.3 – Матрица спектра плана и функции отклика для каждого опыта

N

X0

X1(λ)

X2(μ)

X3(λ ∙μ)

q

Xз

1

1

0,396739

0,328947

0,130506

0,879

0,928

2

1

0,646739

0,328947

0,212743

0,529

0,937

3

1

0,396739

0,961538

0,38148

1

0,332

4

1

0,646739

0,961538

0,621865

0,998

0,592

Результаты эксперимента представим в таблице 3.4.

Таблица 3.4 - Результаты эксперимента

Критерии моделирования

Обозначение

Единицы измерения

1

2

3

4

Абсолютная пропускная способность

А

авт/ч

0,678

0,631

0,764

1,275

Относительная пропускная способность,

q

авт/ч

0,879

0,529

1

0,998

Вероятность обслуживания

Робсл

---

0,879

0,529

1

0,998

Число обслуженных автомобилей

Nобс

авт.

276

257

311

519

Среднее время пребывания в системе

tср

ч

39,383

93,763

0,632

0,925

Среднее время ожидания в очереди

tож

ч

38,093

92,925

0,097

0,362

Среднее число занятых каналов

Xз

---

0,928

0,937

0,332

0,592

Среднее число заявок в очереди

Xо

---

29,321

110,899

0,057

0,393

Среднее число заявок в системе

Xс

---

30,249

11,836

0,390

0,985

3.2 Оценка значимости коэффициентов уравнения регрессии

Общий вид уравнения регрессии

(3.3)

где b0, b1, b2, b3 - коэффициенты линейного уравнения регрессии.

Коэффициенты регрессии вычислим по формуле:

(3.4)

где Х  матрица спектра плана;

ХТ  транспонированная матрица спектра плана;

Y  матрица результатов эксперимента.

Таким образом, последовательно перемножая обратную матрицу (ХТ Х)-1 на транспонированную матрицу ХТ и на матрицу результатов Y, можно определить значения коэффициентов b0, b1,…, bj,…, bn.

Для нахождения относительной пропускной способности коэффициенты регрессии будут равны

X=

1

0,396739

0,328947

0,130506

1

0,646739

0,328947

0,212743

1

0,396739

0,961538

0,38148

1

0,646739

0,961538

0,621865


XT=

1

1

1

1

0,396739

0,646739

0,396739

0,646739

0,328947

0,328947

0,961538

0,961538

0,130506

0,212743

0,38148

0,621865