Материал: Котельные и котельные установки

Внимание! Если размещение файла нарушает Ваши авторские права, то обязательно сообщите нам

Конструктивная схема котлов типа ДКВР паропроизводительностью 2,5, 4, 6,5,10 и 20 т/ч одинакова независимо от используемого топлива и применяемого топочного устройства (рис.2).

Перед котельным пучком котлов производительностью до 10 т/ч расположена топочная камера, которая для уменьшения потерь с уносом и химическим недожогом делится кирпичной шамотной перегородкой на две части: собственно топку и камеру догорания. Между первым и вторым рядами труб котельного пучка устанавливается шамотная перегородка,

Рис. 2. Парогенератор ДКВР-20-13: 1 - газомазутная горелка; 2 - боковые экраны; 3 - выносной циклон; 4 - короб взрывного предохранительного клапана; 5 - задний топочный блок; 6 - конвективная поверхность нагрева (конвективный блок); 7 - изоляция верхнего барабана; 8 - нижний барабан; 9 - задний экран.

отделяющая кипятильный пучок от камеры догорания. Таким образом, первый ряд труб котельного пучка - задний экран камеры догорания. Внутри котельного пучка чугунная перегородка делит его на первый и второй газоходы. Выход газов из камеры догорания и из котла асимметричен. При наличии пароперегревателя часть кипятильных труб не устанавливается, пароперегреватель размещается в первом газоходе после второго и третьего ряда кипятильных труб. Вода в трубы фронтовых экранов котлов производительностью до 10 т/ч поступает одновременно из верхнего и нижнего барабанов. В котлах с короткими верхними барабанами применено двухступенчатое испарение и установлены выносные циклоны.

Питание боковых экранов водой осуществляется из нижних коллекторов, куда вода поступает по опускным трубам из верхнего барабана и одновременно по соединительным трубам из нижнего барабана. Такая схема подвода воды в коллекторы повышает надежность работы котла при пониженном уровне воды и способствует уменьшению отложений шлама в верхнем барабане.

В котлах без пароперегревателей при отсутствии особых требований к качеству пара и содержании котловой воды до 3000мг/л, а также в котлах с пароперегревателем при солесодержании котловой воды до 1500мг/л применяется сепарационное устройство, состоящее из жалюзи и дырчатых листов.

Барабаны котлов типа ДКВР на 1,3 и 2,3 МПа изготавливаются из низколегированной стали 16 ГС и имеют одинаковые диаметры 1000 мм, толщина стенки барабанов котлов с рабочим давлением 1,3МПа - 13мм, котлов с рабочим давлением 2,3МПа - 20мм. Бараны котлов оснащены лазовыми затворами, расположенными на задних днищах барабанов.

На котлах паропроизводительностью 6,5 и 10 т/ч с одноступенчатым испарением, работающих с давлением 1,3 и 2,3 МПа, лазовые затворы устанавливаются также и на передних днищах верхних барабанов.

По нижней образующей верхних барабанов всех котлов устанавливаются две легкоплавкие пробки, предназначенные для предупреждении перегрева стенок барабана под давлением. Сплав металла, которым заливают пробки, начинает плавиться при упуске воды из барабана и повышении температур его стенки до 280-320°С. Шум пароводяной смеси, выходящей через образующееся в пробке отверстие при расплавлении сплава, является сигналом персоналу для принятия экстренных мер к остановке котла. Завод-изготовитель применяет в легкоплавких пробках сплав следующего состава: свинец С2 или СЗ по ГОСТ 3778-56 - 90%: олово О1 или О2 по ГОС'Т860-60 - 10%. Колебания температуры плавления сплава допускается в пределах 240 - 310С.

Ввод питательной воды выполнен в верхний барабан, в водяном пространстве которого, она распределяется по питательной трубе. Для непрерывной продувки на верхнем барабане устанавливается штуцер, на котором смонтирована регулирующая и запорная арматура. В нижнем барабане устанавливаются перфорированная труба для периодической продувки и трубы для прогрева котла паром при растопке.

Камеры котлов типа ДКВР изготавливаются из труб диаметром 219х8мм для котлов с рабочим давлением 1,3МПа. Конвективные пучки выполняются с коридорным расположением труб. Камеры, экранные и конвективные трубы котлов типа ДКВР изготавливаются из углеродистой стали марок 10 и 20.

Пароперегреватели котлов унифицированы по профилю и отличаются друг от друга для котлов разной производительности числом параллельных змеевиков. Располагают пароперегреватели в первом газоходе. Для изготовления пароперегревателей применяются трубы диаметром 32х3мм из стали 10. Камеры пароперегревателей выполняются из труб диаметром 133х5 мм для котлов с рабочим давлением 1,3 и 2,3 МПа. Входные концы труб пароперегревателя крепятся в верхнем барабане вальцовкой, выходные концы труб приваривают к камере (коллектору) перегретого пара. При рабочем давлении 1,3 и 2,3 МПа пароперегреватели выполняются одноходовыми по пару без пароохладителя. Температура перегрева пара при сжигании различных топлив может колебаться не выше 25 ˚С.

Очистка наружных поверхностей нагрева от загрязнений в котлах осуществляется обдувкой насыщенным или перегретым паром с давлением перед соплами 0,7-1,7 МПа, допускается применять для этих целей сжатый воздух. Для обдувки применяют стационарные обдувочные приборы и переносные, используемые для отчистки экранов и пучков труб от золовых отложений через обдувочные лючки.

Котлы ДКВР-10-13 высокой компоновки опорной рамы не имеют. Температурные перемещения элементов котла относительно неподвижной опоры, которой является передняя опора нижнего барабана, обеспечиваются подвижными опорами камер боковых экранов и нижнего барабана.

В котлах паропроизводительностью 10 т/ч камеры фронтового и заднего экранов крепятся кронштейнами к обвязочному каркасу, камеры боковых экранов крепятся к специальным опорам. Во всех котлах верхние барабаны не имеют специальных опор, нагрузка от них через трубы конвективного пучка и экранов воспринимается опорами нижнею барабана и коллекторов.

Котлы типа ДКВР не имеют силового каркаса, в них применяется обвязочный каркас, который в котлах с облегчённой обмуровкой используется для крепления обшивки.

В блочно - транспортабельных котлах паропроизводительностью 10 т/ч на давление 1,3, 2,3, 3,9 МПа с короткими верхними барабанами применимо двухступенчатое испарение с установкой во второй ступени выносных циклов. Применение циклов позволяет уменьшить процент продувки и улучшить качество пара при работе на питательной воде с повышенным солесодержанием. В конвективный пучок вода поступает из верхнего барабана через обогреваемые трубы последних рядов труб самого пучка и через нижний барабан. Вода из выносных циклов поступает в нижние коллекторы экранов, а пар - в верхний барабан, где очищается вместе с паром первой ступени испарения, проходя через жалюзи и (дырчатый) перфорированный лист. Устойчивость работы циркуляционных контуров боковых экранов обеспечивается применением рециркуляционных труб диаметром 51мм.

Эти котлы предназначены не только для отопительпо-производственных целей и при давлении 39 атм. могут быть использованы в небольших энергетических установках.

Для всей серии котлов экраны и котельные пучки выполняются из стальных бесшовных труб диаметром 51 мм и толщиной стенки 2,5 мм. Боковые экраны выполнены с шагом 80 мм, в котлах с фронтовым и задним экраном шаг труб принят 130 мм. В кипятильных пучках трубы расположены в коридорном порядке с шагом 100 мм вдоль оси и 110 мм поперек оси котлов.

Ширина конвективного пучка котлов производительностью 2,5 и 4 т/ч - 2180 мм производительностью 6,5 и 10 т/ч - 2810 мм

При сжигании мазута и газа значительно меньше избытка воздуха, чем при сжигании твердого топлива, поэтому уменьшаются объемы продуктов сгорания, проходящих через котел, что позволяет повысить паропроизводительность котлов на 40-50%. Однако при этом должны быть выполнены условия, препятствующие повышению температуры стенки барабанов. В частности, необходимо обеспечивать тщательную подготовку питательной воды (для снижения накипеобразования) и надежно изолировать обогреваемую поверхность верхних барабанов в топке и камере догорания.

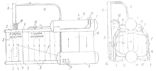
Последнее мероприятие в условиях высоких температур часто желательного эффекта не дает. Поэтому сокращение длины барабана, а гласное, то, что его стали размещать вне топочной камеры в сочетании с выносными циклонами, сделало работу котлов более надежной; появились котлы с укороченными барабанами и полностью экранированными топочными устройствами. На рисунке 3 показана циркуляционная схема котла ДКВР-10 с укороченным верхним барабаном (в низкой компоновке), выносными циклонами, экранными поверхностями и включением их в общую систему циркуляции котла.

 

Рис. 3. Общая схема циркуляции котла ДКВР - 10

котельная теплоснабжение топочный

Верхний барабан 1 в области топочной камеры заменен двумя коллекторами 2 экранов 3. Во II ступень испарении выделены передние части обоих боковых экранов путем установки в верхних 2 и нижних коллекторах 4 перегородок 5. Питание экранов II ступени испарения осуществляется из двух выносных циклонов 6 через опускные трубы 7, соединенные с нижними коллекторами 4 экранов 3. Подпитка циклонов ведется из нижнего барабана 8 по трубам 9. Пароводяная смесь из труб экранов поступает в переднюю часть верхних коллекторов 2, откуда по трубам 10 направляется в выносные циклоны 6. После отделения воды пар отводится по трубам 11 в барабан 1, а вода идет в опускные грубы циклонов. Питание экранов 1 ступени испарения происходит через трубы 12, приваренные к нижнему барабану и нижним коллекторам экранов. Пароводяная смесь из экранов этой ступени испарения отводится по трубам 13 в верхний барабан. Из-за небольшой высоты контуров у всех экранов обеих ступеней испарения имеются рециркуляционные трубы 14.

Питательными трубами кипятильного пучка 15 служат последние обогреваемые ряды. Пар отбирается через штуцер 16. Питательная вода поступает в барабан по трубам 17. Непрерывная продувка котла осуществляется только из циклонов; периодическая же - из верхнего и нижнего барабанов, сборных экранных коллекторов и из низа выносных циклонов.

Заключение

Проектирование и сооружение котельных должны вестись в соответствии с действующими правилами и нормативными документами, утвержденными Госстроем РФ.

Работа котельных установок должна быть надежной, экономичной и безопасной для обслуживающего персонала. Для выполнения этих требований котельные установки эксплуатируются в соответствии с правилами устройства и безопасной эксплуатации паровых котлов и рабочими инструкциями, составленными на основе правил Госгортехнадзора с учетом местных условий и особенностей оборудования.

Котел должен быть оборудован необходимым количеством контрольно-измерительных приборов, автоматической системой регулирования важнейших параметров котла, защитными устройствами, блокировкой и сигнализацией.

Список литературы

1. Гусев Ю.Л. Основы проектирования котельных установок. (Учебное пособие). 2-е изд. - М.: Стройиздат, 1973 г. - 248 с.

. Днепров Ю.В., Смирнов Д.Н., Файнштейн М.С. Монтаж котельных установок малой и средней мощности. 4-е изд. - М.: Высшая школа, 1985 г. - 272 с.

. Матвеев Г.А., Хазен М.М. Теплотехника. - М.: Высшая школа, 1981 г. - 480 с.

. Паршин А.А., Митор В.В. Тепловые схемы котлов. - Недра, 1987 г. - 224 с.

. СП 89.13330. 2012. Котельные установки. Актуализированная редакция СНиП II-35-76. - М.: Минрегион России, 2012 - 93 с.

. СП 124.13330.2012. Тепловые сети. Актуализированная редакция СНиП 41-02-2003. - М.: Минрегион России, 2012 - 65 c.