Материал: Изучение тепловых условий работы короткой цилиндрической оправки трехвалкового раскатного стана

Внимание! Если размещение файла нарушает Ваши авторские права, то обязательно сообщите нам

Изучение тепловых условий работы короткой цилиндрической оправки трехвалкового раскатного стана

Введение


Одной из наиболее важных операций при производстве бесшовных труб является раскатка полой гильзы в черновую трубу. Раскатку производят на трубопрокатных агрегатах с автоматическими (станами тандем), непрерывными, пилигримовыми, раскатными станами винтовой прокатки, реечными, планетарными станами.

Существующий технологический процесс производства труб на ТПА с трехвалковым раскатным станом отличается разнообразием оборудования, технологическими режимами.

Трубопрокатный агрегат с трехвалковым раскатным станом позволяет производить точные трубы для машиностроения и нефтяной отрасли.

Однако существующие ограничения по сортаменту (D/S<12), длине производимых труб, обуславливают необходимость совершенствование производства труб на ТПА с трехвалковым раскатным станом.

Кроме того существенной проблемой при производстве труб на этих агрегатах является низкая стойкость и высокая стоимость рабочего инструмента - оправок раскатного стана.

Одной из причин выхода из строя оправок раскатного стана является тепловое воздействие на рабочий инструмент теплового поля, что также делает актуальным данную тему для разработки мероприятий увеличивающих износостойкость оправок.


1. Разработка технологического процесса производства бесшовных труб на ТПА с трехвалковым раскатным станом

.1      Сравнительный анализ способов производства бесшовных труб

В настоящее время в России одной из главных задач, является повышение качества и объемов выпускаемой продукции при существенном сокращении производственных издержек. Уровень развития трубного производства в мире характеризуется большим разнообразием применяемых способов и технологий для производства бесшовных труб. Наибольшее распространение при производстве бесшовных труб получили горячая и холодная прокатка.

Независимо от способа производства горячедеформированных труб, технологическая схема включает следующие общие операции: нагрев исходной заготовки, прошивка исходной заготовки в гильзу, раскатка гильзы в черновую трубу, редуцирование или калибрование. При этом перед каждой последующей операции при необходимости возможно осуществление подогрева[1-6].

Одной из главных операций производства бесшовных труб является раскатка - получение из полой гильзы черновой трубы. Для осуществления данной операции применяют продольную, периодическую или винтовую прокатку на трубопрокатных раскатных станах различной конструкции, проталкивание стаканов через уменьшающиеся в диаметре калибры с роликовыми обоймами.

Именно способ раскатки гильзы в трубу характеризует тип трубопрокатного агрегата. Для раскатки гильз в черновую трубу применяют трубопрокатные агрегаты с автоматическими (станами тандем), непрерывными, пилигримовыми, раскатными станами винтовой прокатки, реечными, планетарными станами[1-6].

Трубопрокатные агрегаты с автомат-станом являются наиболее распространенными при производстве бесшовных труб. В настоящее время на ТПА с автоматическим станом освоено производство бесшовных труб из углеродистых, жаропрочных, коррозионностойких, средне- и высоколегированных сталей и сплавов. Так же в большом объеме выпускаются трубы нефтяного сортамента, для машиностроения. Общий объем производства на ТПА с автомат-станом составляет свыше 30% всех горячекатаных труб.

На трубопрокатных агрегатах с автомат-станом для получения из гильзы готовой трубы применяют продольную прокатку в круглом калибре на неподвижной короткой оправке.

Трубопрокатные агрегаты с автоматическим станом отличаются довольно высокой маневренностью относительно высокой производительностью при удовлетворительном качестве труб, возможностью изготовления труб широкого сортамента (по размерам и материалу), сравнительной несложностью прокатного инструмента, гибкостью технологического процесса, возможно остью прокатки небольших партий труб.

На этих агрегатах прокатывают бесшовные трубы диаметром от 40 до 426 мм с толщиной стенки от 3 до 50 мм и более.

Недостатками процесса прокатки в круглом калибре на короткой оправке считаются незначительное обжатие по толщине стенки и неудовлетворительное качество внутренней поверхности труб из-за особенностей работы неподвижной оправки («скворешины» и поперечные рванины на внутренней поверхности, продольные риски, раковины и отпечатки, «шов» и «бунт», разностенность). Кроме того станы уступают по производительности непрерывным [7].

На современных трубопрокатных агрегатах с непрерывным станом производят бесшовные трубы диаметром от 16 до 426 мм с толщиной стенки 2,0-25 мм из углеродистых, низко- и высоколегированных сталей. На трубопрокатных агрегатах с непрерывным станом для раскатки гильзы в трубу применяют продольную непрерывную прокатку в 7-9 клетях с круглыми и овальными калибрами на длинной оправке: свободной (плавающей), подвижной удерживаемой (перемещающейся с заданной скоростью) и частично удерживаемой (прокатка на подвижной удерживаемой оправке с последующей прокаткой на свободной оправке).

Отличительный признак непрерывной прокатки - одновременная деформация трубы в нескольких последовательно расположенных клетях. Клети непрерывного стана оказываются взаимосвязанными друг с другом через прокатываемую трубу и оправку. Основное достоинство процесса - возможность прокатки черновых труб значительной длины (до 33 м) с большой скоростью (до 6,5 м/с), что обеспечивает высокую производительность установки. К преимуществам ТПА данного типа следует отнести также благоприятные условия деформации металла в непрерывном стане, минимальные технологические отходы и расположение оборудования, удобное для автоматизации технологических операций.

Основными же недостатками данного процесса производства бесшовных труб являются разностенность, а также различные дефекты на внутренней поверхности труб (внутренние плены, трещины и риски на внутренней поверхности). К тому же оборудование и инструмент для прокатки труб большого диаметра громоздки и дороги [1-6, 8].

Для осуществления операции раскатки на трубопрокатных агрегатах с пилигримовым станом применяют периодическую прокатку гильзы на длинной оправке в круглом калибре переменного по длине очага деформации сечения. Прокатка осуществляется поочередными подачами порций металла в валки при помощи подающего аппарата.

На этих агрегатах непосредственно из слитка прокатывают трубы диаметром 48-650 мм со стенкой толщиной 2,5-50 мм и более.

На ТПА с пилигримовым станом достигаются наибольшие значения вытяжки (более 30). Основное преимущество агрегатов такого типа заключается в возможности производить непосредственно из слитков трубы широкого сортамента, в том числе толстостенные (котельные, утяжеленные бурильные), профильные (квадратные штанги), ступенчатые, которые не производят на других агрегатах. К тому же стоимость труб, полученных на них, наиболее низкая.

Такие станы целесообразно применять для изготовления труб диаметром 194-530 мм (D/S = 3-47) при средних объемах производства. При изготовлении толстостенных труб диаметром 324-530 мм пилигримовым установкам альтернативы нет [1-7].

Однако пилигримовые станы не обеспечивают высокого качества наружной и внутренней поверхности, не удовлетворяют требованиям к точности прокатываемых труб, производительность их наиболее низкая.

Для производства толстостенных труб повышенной точности диаметром 38-200 мм со стенкой толщиной 3-50 мм и выше применяют винтовую прокатку гильз на длинной оправке в трехвалковом раскатном стане. Значимость этих ТПА определяется тем, что трубы, получаемые на таких агрегатах, имеют высокую точность: допуски по толщине стенки и наружному диаметру в 2-2,5 раза более жесткие: по толщине стенки ±6%; по диаметру ±0,5%.

Трубопрокатные агрегаты с трехвалковым раскатным станом производят толстостенные трубы, используемые для изготовления деталей машин, поэтому высокая точность труб позволяет иметь минимальные припуски на последующую механическую обработку, это дает возможность использовать для производства труб поточные линии с применением станков-автоматов. Именно эти обстоятельства обусловили широкое использование агрегатов с раскатным станом винтовой прокатки для изготовления подшипниковых труб.

Другим важным преимуществом агрегата с раскатным станом винтовой прокатки является его высокая маневренность - возможность несложной и быстрой перестройки всех станов на прокатку труб другого размера. При смене сортамента прокатываемых труб нет необходимости в замене клетей с круглыми калибрами станов продольной прокатки, так как на рассматриваемых ТПА подобные станы обычно отсутствуют. Изменение наружного диаметра прокатываемых труб достигается сближением или разведением рабочих валков, изменение толщины стенки - подбором диаметра оправки раскатного стана и расстояния между валками. Валки заменяют лишь по мере их износа или при значительном изменении сортамента труб, когда нужны валки другого номинального диаметра.

Наличие трех косорасположенных валков раскатного стана, имеющих специальную калибровку, обеспечивает значительные деформации металла. А применение в составе такого агрегата системы косовалковых станов (прошивного и раскатного) позволяет легко переходить на прокатку труб любого диаметра в пределах сортамента стана без расширения парка валков.

Наиболее эффективно использование этих станов для изготовления труб с отношением диаметра к толщине стенки в пределах 4-12. Несмотря на различные попытки расширения возможностей станов получать тонкостенные трубы (D/S > 12) на них не удается, так как при прокатке концов труб (особенно задних) в трехвалковых станах развивается интенсивная поперечная деформация и образуются треугольные концевые раструбы, не позволяющие стабильно осуществлять раскатку.

Раскатные станы характеризуются малой производительностью (7-8% от общего производства труб). Наиболее часто встречающиеся виды брака: наружные винтовые порезы, внутренние риски, разностенность.

В настоящее время известны две схемы агрегатов, в которых раскатка гильзы выполняется на станах винтовой прокатки. Наиболее распространенными являются агрегаты с трехвалковыми станами (станами Ассела). В зарубежной практике (США) применяют агрегаты, в которых раскатка осуществляется в двухвалковых станах с направляющими дисками (станы Дишера).

Агрегаты со станами Дишера не получили широкого применения в России из-за сложности конструкции.

Технологическая схема производства труб на ТПА с трехвалковым раскатным станом (рисунок 1) состоит из следующих операций: подготовка заготовки к прокатки; нагрев заготовки в кольцевой печи; прошивка заготовки; раскатка гильзы в трубу на длинной оправке в раскатном стане; извлечение оправки; подогрев труб в специальной печи; калибрование труб в двух- или трехвалковом стане. Так же в некоторых агрегатах устанавливают многоклетьевые редукционные станы, для расширения сортамента прокатываемых труб малого диаметра [1].

Рисунок 1 - Схема технологического производства на ТПА с трехвалковом раскатном стане

бесшовный труба прокатка оправка

В мировой практике агрегаты с реечным станом получили достаточно широкое распространение для производства труб конструкционных, котельных, трубопроводных в основном малых диаметров от 21 до 133 мм с толщиной стенки 2,5-8,0 мм. Трубы, полученные на агрегатах с реечным станом, используют в качестве заготовок для производства прецизионных и холоднотянутых труб, так как они имеют качественную наружную и внутреннюю поверхности и сравнительно тонкие стенки[1-7].

Реечные станы обеспечивают достаточную точность размеров сечения трубы и по производительности уступают только непрерывным станам. К их достоинствам также относится простота технологии. Нет необходимости в тщательной регулировке скоростей валков, так как вытяжка происходит в холостых роликовых обоймах. Реечный стан менее металлоемок, однако сортамент таких ТПА значительно уже.

Одним из недостатков реечного стана является высокая стоимость длинных оправок (дорнов). Значительную сложность представляет операция прошивки на прессе, которая определяет длину и массу получаемой гильзы и трубы[8].

Планетарно-косоволковые станы отличаются от традиционных станов винтовой прокатки тем, что в них вращается сама рабочая клеть с валками грибовидной формы, обкатывающимися вокруг трубы. Раскатка труб происходит на длинной оправке.

На таких агрегатах производят трубы как тонко-, так и толстостенные с отношением D/S равным 3-30 диаметром до 450 мм и разностенностью + 5 мм. Также возможно получать трубы длинной до 100 м при непрерывном процессе. Агрегаты данного типа экономичны даже при небольших партиях труб, обеспечивает широкий сортамент размеров и материалов[1-6].

Тем не менее агрегаты с планетарными станами не получили распространения из-за сложности конструкции и технологии раскатки, малой износостойкости валков по сравнению с валковыми станами винтовой прокатки.

1.2 Общая характеристика оборудования и конструкция раскатных станов винтовой прокатки


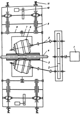
Главная линия трехвалкового раскатного стана может располагаться как со стороны входа, так и со стороны выхода трубы. Она состоит из рабочей клети с гребневыми валками и привода - индивидуального или группового (рисунок 2). Для более удобного конструктивного расположения шпиндельных соединений со стороны привода вводят угол раскатки, который обычно не превышает 7°. Перестройка стана на прокатку труб большего или меньшего диаметра производится радиальным перемещением барабанов.

- двигатель главного привода; 2 - шестеренная клеть; 3 - шпиндель; 4 - оправка; 5 - гильза; 6 - рабочий валок; 7 - кассета рабочего валка; 8 - промежуточный вал; 9 - нажимное устройство; 10 - привод механизма сведения и разведения валков; 11 - пружина

Рисунок 2 - Схема трехвалкового раскатного стана

В трехвалковых раскатных станах нет технологического инструмента, сдерживающегося тангенциальную раскатку. Поэтому в таких станах получают толстостенные гильзы с практически предельным отклонением диаметра к толщине стенки, равным 10...11. При D/S > 11 на концевых частях трубы появляются раструбы, которые осложняют процесс прокатки.

Рабочие клети трехвалковых раскатных станов принципиально различаются только способом установки валов и регулировании угла подачи. В станах более старой конструкции величину угла подачи изменяют при замене подушек валков. Каждый комплект подушек предназначен для определенного угла подачи, например: 3 или 6°. В станах новой конструкции угол подачи регулируется плавно [2].

На рисунке 3 представлена трехвалковая клеть раскатного стана. Станина клети современного стана состоит из двух частей, причем крышку с одним верхним барабаном откидывают, когда необходимо сделать перевалку. Перемещение барабанов с валками на сближение или разведение осуществляется нажимными винтами. Каждый винт выполнен со сквозными центральными отверстиями, через которые проходят подпружиненные уравновешивающие тяги для прижима барабанов к нажимным винтам.

Рисунок 3 - Трехвалковая клеть раскатного стана с механизмами перемещения валков и уравновешивания верхнего барабана

Механизм привода нажимных винтов может быть групповым или индивидуальным. Групповой привод сложнее - он имеет распределительный и конические редукторы, синхронизирующие валы, расцепные муфты. Его недостатком является невысокое быстродействие. В случае применения индивидуального привода эти недостатки устраняются, однако настройка стана значительно осложняется, так как легко теряется соосность фактической оси прокатки и оси рабочей клети.