Материал: Исследование режимов нагрузки сухих силовых трансформаторов

Внимание! Если размещение файла нарушает Ваши авторские права, то обязательно сообщите нам

Исследование режимов нагрузки сухих силовых трансформаторов













Лабораторная работа

Тема:

Исследование режимов нагрузки сухих силовых трансформаторов


Цель работы:

Опытное определение токов нагрузки сухих силовых трансформаторов, освоение методики и практики расчетов их необходимой номинальной мощности, сокращение срока службы и температуры наиболее нагретой точки для различных режимов нагрузки.

Выполнение работы

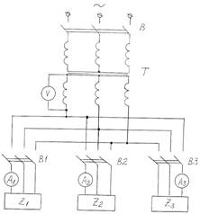
Рис. 1. Схема измерений нагрузок трансформатора

Таблица 1

Паспортные данные электроизмерительных приборов

№ п/п

Наименование

Тип

Система

Шкала прибора

Цена деления

1

Амперметр

Э30

Эл. динамическая

0-600 А

20 А

2

Амперметр

Э30

Эл. динамическая

0-400 А

20 А

3

Амперметр

Э378

Эл. динамическая

0-100 А

5 А

4

Вольтметр

Э30

Эл. динамическая

0-250 В

10 В


Проведем опыт короткого замыкания для каждого элемента цепи и запишем данные в таблицу.

Таблица 2

Результаты измерений

U2ф, В

I2.1, А

I2.2, А

I2.3, А

Θ, ͦ С

220

480

280

83

24

Рис. 2. График нагрузки

Произведем вычисления для определения необходимых предохранителей и занесем данные в таблицу.

Таблица 3

Результаты вычислений

Режим систематических нагрузок

Режим аварийных перегрузок

II, А

III, А

K1

K2

I2, А

S, кВА

Sн, кВА

I, А

II, А

III, А

K2

L, н.с

Ѳh, оС

550

930

0,68

1,15

808,8

533,8

630

955

930

1027

1

1.1

1,32

107

Режим систематических нагрузок

Определим величину тока первой ступени:

II = I2.1=480 A

III= I2.1+I2.2 =480+280=760 A

Определим точки с координатами для нахождения вторичного тока трансформатора:

трансформатор ток мощность нагрузка

K’2=K’1=1 (1; 1.58) T2 (0.63; 1)

Определим координаты точки пересечения прямой постоянного наклона с кривой, соответствующей продолжительности нагрузки 2 час.

K1 = 0,83

К2 = 1,31

По полученным значениям получаем необходимый вторичный ток трансформатора:

I2==

Выбираем трансформатор 400 кВА.

Режим аварийных нагрузок

Определим номинальный вторичный ток трансформатора:

I=

Определим параметры суточного ступенчатого графика нагрузки относительно номинального тока трансформатора:

К1=

К1=

По таблице 4 для распределительного трансформатора с охлаждением ONAN для заданного значения ta2=4 по найденным значениям К1 и К2 определяем относительную скорость износа V и превышение температуры наиболее нагретой точки ΔѲh для температуры охлаждающей среды 20 оС.

V = 0,25 н.с.

ΔѲh = 100,5оС

Относительное суточное сокращение срока службы:

L =

KV = 1 - коэффициент, учитывающий фактическую температуру охлаждающей среды

Таблица 4

Распределительные трансформаторы с охлаждением ONAN, tа2 = 4 ч.


Допустимые нагрузки и соответствующее суточное сокращение срока службы

Температура наиболее нагретой точки:

Ѳh = ΔѲh + Ѳа = 87+20 = 107оС

Так как, полученная температура наиболее нагретой точки не превышает 150оС - такой режим допустим.

Вывод:

В ходе выполнения лабораторной работы опытным путем определили токи нагрузки сухих силовых трансформаторов, освоили методику и практику расчетов их необходимой номинальной мощности, сокращение срока службы и температуры наиболее нагретой точки для различных режимов нагрузки.