Материал: Исследование подстанции 35/6 кВ №516 Лугинецкого нефтяного месторождения

Внимание! Если размещение файла нарушает Ваши авторские права, то обязательно сообщите нам

Исследование подстанции 35/6 кВ №516 Лугинецкого нефтяного месторождения

Содержание

Введение

. Краткое описание объекта модернизации

.1 Назначение подстанции

.2 Основные потребители электроэнергии подстанции 35/6 кВ № 516 Лугинецкого НМР

.2.1 Буровые установки

.2.2 Погружные центробежные электронасосы

.2.3 Объекты поддержания пластового давления

.2.4 Установки предварительной сепарации воды

.2.5 Цех подготовки и перекачки нефти

. Описание существующего исполнения подстанции

.1 Основное электрооборудования подстанции

.2 Описание коммутационного оборудования подстанции

.3 Релейная защита и автоматика

.3.1 Защита трансформаторов ПС

.3.2 Расчет продольной дифференциальной защиты трансформаторов

.3.3 Расчет максимальной токовой защиты трансформаторов

. Выбор направления модернизации оборудования подстанции

.1 Общие сведения о вакуумных выключателях

.2 Вакуумные выключатели серии BB/TEL-10

.2.1 Устройство выключателя BB/TEL

.2.2 Принцип работы вакуумного выключателя BB/TEL

. Расчет параметров рабочих и аварийных режимов подстанции

. Производственная и экологическая безопасность

.1 Анализ опасных и вредных производственных факторов

.2 Производственный шум и борьба с ним

.3 Электробезопасность на подстанции

.4 Мероприятия по обеспечению пожаробезопасности

.5 Защита электрооборудования подстанции от атмосферных и внутренних перенапряжений

.6 Расчет защитного заземления

.7 Освещение

. Экономический анализ проекта

.1 Капитальные вложения на установку вакуумного выключателя BB/TEL

.2 Капитальные вложения на установку масляного выключателя ВММ-10

Заключение

Литература

Введение

Электрическая энергия является основой жизнедеятельности человека. Ее применение составляет неотъемлемую часть во всех отраслях промышленной деятельности. Поэтому выработка, передача, распределение и потребление электроэнергии должны производиться с максимальной надежностью и экономичностью.

Промышленные предприятия являются основными потребителями электрической энергии. На долю потребления приходится около 70% вырабатываемой электроэнергии страны. Одним из высоко-энергопотребляемых объектов является нефтяная промышленность.

Современный нефтяной промысел имеет большое и сложное электрохозяйство. Глубинонасосная добыча нефти, закачка воды в пласты для поддержания пластового давления, водоснабжение, перекачка нефти и газа по внутрипромысловым трубопроводам полностью электрифицированы. Около 60% глубокого бурения осуществляется буровыми установками, имеющими электропривод.

Нефтяная промышленность России является одним из производителей и поставщиков энергоресурсов, сама относится к крупным потребителям электроэнергии. Электроэнергия стала преобладающим видом энергии почти во всех основных производственных процессах нефтяной промышленности.

При проектировании и эксплуатации любой электрической системы необходимо учитывать возможность возникновения в ней повреждений и ненормальных режимов работы, в результате коммутации, которые могут привести к возникновению в системе аварий, сопровождающихся недоотпуском электроэнергии потребителям, а также недопустимым ухудшением ее качества или разрушением оборудования. В результате промышленной эксплуатации коммутирующего оборудования возникла необходимость в его замене на более надежное, для предотвращения возникновения аварий в результате коммутаций.

На данный момент, наиболее надежными коммутирующими устройствами на напряжение до 35 кВ являются вакуумные выключатели. Они обеспечивают наиболее качественные коммутационные переключения по сравнению с маслеными, элегазовыми, электромеханическими выключателями.

Объектом модернизации данного проекта является подстанция 35/6 №516 Лугинецкого нефтяного месторождения.

1. Краткое описание объекта модернизации

.1 Назначение подстанции

Питание потребителей нефтяной промышленности электрической энергией осуществляется от сетей энергосистем или от собственных местных электрических станций. Установки с большой установленной мощностью электрифицированных механизмов, например перекачивающие насосные станции магистральных трубопроводов, комплекс установок нефтяных промыслов - как правило, питаются от энергосистем. [1]

Основным источником электроэнергии Лугинецкого НМР является ОЭС Сибири мощностью 490 мВт напряжением 500, 220 кВт. Прием электроэнергии осуществляется по двум ЛЭП 220 кВ, приходящим на ОРУ 220 кВ ПС Парабель 220/110/35 кВ. Далее напряжение понижается до 110 кВ и по ЛЭП 110 кВ электроэнергия поступает на ОРУ 110 кВ ПС «Лугинецкая» 110/35/6 кВ. Основное назначение подстанции - снабжение электроэнергией нефтедобывающего оборудования Западно-Лугинецкого НМР. Внешнее электроснабжение нефтяных месторождений (НМР) осуществляется сетями 35/6 кВ от ПС №516. Сети 35/6 кВ распределяют электроэнергию непосредственно на месторождения нефти. Перечень электропотребителей и питающие их подстанции перечислены в таблице 1.

.2 Основные потребители электроэнергии подстанции 35/6 кВ № 516 Лугинецкого НМР

Электрооборудование буровых установок, насосных и компрессорных станций, установок подготовки и перекачки нефти, электрического освещения, механических и авторемонтных мастерских составляет основу электроприемников отрасли.

Таблица 1 - Энергопотребители и подстанции питающие их

Наименование потребителя

№ ТП

Наименование ПС 6/0,4 кВ.

Тип ПС

Западно-Лугинецкое НМР

97 100 89 99 98 101 90 б/н 91 92

«Нефтеналив» «К-186» «К-183» «ГСМ» «БПО» «АБК» «К-184» «НЭН» «УПН» «К-181»

КТПН (1х40) кВА КТПН (1х400) кВА КТПН (1х160) кВА КТПН (1х63) кВА КТПН (1х250) кВА КТПН (1х250) кВА КТПН (1х400) кВА КТПН (1х1000) кВА КТПН (1х630) кВА КТПН (1х160) кВА

КТП

15 16 17 18 19 20 21 22

«К-15» «К-18» «К-17» «К-87» «К-86» «К-16» «К-88» «К-89»

КТПН (1х400) кВА КТПН (1х400) кВА КТПН (1х250) кВА КТПН (1х400) кВА КТПН (1х250) кВА КТПН (1х400) кВА КТПН (1х400) кВА КТПН (1х250) кВА


Основными потребителями электроэнергии подстанции 35/6 кВ №516 Лугинецкого НМР являются:

         буровые установки;

         механизмы непосредственной добычи нефти;

         блочные кустовые насосные станции (БКНС) с двигателями единой мощности 800, 1250, 1600 кВт;

         установки предварительной сепарации (сброса) воды (УПСВ) с электродвигателем до 1000 В и выше;

         центральный пункт подготовки нефти (ЦППН);

         дожимные насосные станции (ДНС) с электродвигателями единой мощности (100÷800 кВт);

         кусты эксплуатационных скважин с электродвигателем напряжением до 1000 В;

         промышленные зоны и жилые поселки.

Электроприемники установок по добыче, подготовке и транспортировке нефти относятся к потребителям I и II категорий надежности и имеют следующие особенности:

         рассредоточенность по большой территории;

         электроснабжение от протяженных и разветвленных сетей;

         большое число синхронных двигателей;

         повышенные требования к надежности электроснабжения.

.2.1 Буровые установки

В составе электрооборудования буровой установки имеются основные механизмы (лебедка, ротор, буровой насос) и вспомогательные (компрессоры сжатого воздуха, вибросито, кран-балка, водяной насос, автомат спуско-подъёма). Число основных и вспомогательных механизмов и их электровооружённость определяется классом и назначением буровой установки. Буровая установка питается от сетей энергосистемы через высоковольтное комплектное распределительное устройство (КРУ). Для привода буровой лебедки используют асинхронный двигатель с тиристорным регулятором скольжения, для привода каждого бурового насоса - асинхронный двигатель типа МН, регулируемый по схеме вентильного каскада.

Для питания механизмов непосредственной добычи нефти из скважин устанавливают кустовые подстанции 6/0,4 кВ одно и двух трансформаторные, с возможностью резервирования питания по высокой стороне 6 кВ от разных фидеров. К оборудованию непосредственной добычи нефти из скважин относятся:

         глубинонасосная установка (плунжерные насосы одинарного действия) с электродвигателем, установленным на поверхности земли, от которого движение к насосу передается при помощи станка-качалки посредством колонны штанг - это так называемая эксплуатация скважин штанговыми глубинными насосами (ШГН) (рисунок 1.1) или станками-качалками;

         насосные установки с электродвигателем, расположенным у насоса - это так называемые бесштанговые насосные установки; к ним относятся погружные центробежные электронасосы (ЭЦН) (рисунок 1.2).

Рисунок 1.1 - Схема глубинно-насосной установки: 1 - плунжерный глубинный насос; 2 - плунжер; 3 - насосные трубы; 4 - штанга; 5 - полированный шток; 6 - головка балансира; 7 - балансир; 8 - шатун; 9 - кривошипный противовес; 10 - редуктор; 11 - клиноременная передача; 12 - электродвигатель; 13 - балансирный противовес.

Штанговая насосная установка состоит из скважинной части (плунжерный насос, штанги и трубы) и наземного оборудования (станок-качалка и электропривод). Скважинный насос одинарного действия с проходным плунжером, спускаемым на глубину до 4 километров, при помощи длинной колонны штанг соединяют с головкой балансира станка-качалки. Станок-качалка преобразует вращательное движение кривошипного вала редуктора в возвратно-поступательное движение точки подвеса штанг. Ременная передача связывает вал редуктора станка и вал приводного электродвигателя.

Для привода станков-качалок в основном применяют короткозамкнутый асинхронный двигатель в закрытом обдуваемом исполнении с повышенным пусковым моментом серии АОП2, у которых Мп/Мн = 1,8-2 при кратности пускового тока 5,5-7.

.2.2 Погружные центробежные электронасосы

ЭЦН - это многоступенчатые центробежные насосы с числом ступеней в одном блоке до 120, приводимые во вращение погружным электродвигателем специальной конструкции (ПЭД). ЭЦН опускается в скважину под расчетный динамический уровень обычно на 150 - 300 м. Жидкость подается по насосно-компрессорным трубам (НКТ), к внешней стороне которых прикреплен специальными поясками электрокабель. В насосном агрегате между самим насосом и электродвигателем имеется промежуточное звено, называемое протектором или гидрозащитой.

Рисунок 1.2 - Схема погружного центробежного насоса: 1 - маслозаполненный электродвигатель ПЭД; 2 - звено гидрозащиты или протектор; 3 - приемная сетка насоса для забора жидкости; 4 - многоступенчатый центробежный насос ЭЦН; 5 - НКТ; 6 - бронированный трехжильный электрокабель; 7 - пояски для крепления кабеля к НКТ; 8 - устьевая арматура; 9 - барабан для намотки кабеля при спускоподъемных работах и хранения некоторого запаса кабеля; 10 - трансформатор или автотрансформатор; 11 - станция управления с автоматикой; 12 - компенсатор.

Для привода ЭЦН используют электрический двигатель типа ПЭД. Он представляет собой асинхронный двигатель трехфазного тока с короткозамкнутым ротором в маслонаполненном исполнении, рассчитанный для работы при температуре пластовой жидкости. Корпус ПЭД имеет цилиндрическую форму с малыми радиальными размерами, обусловленными диаметрами эксплуатационных колонн скважин, вследствие чего их длина достигает 6 метров и более. Электродвигатель питается с поверхности электроэнергией, подводимой по кабелю от повышающего автотрансформатора или трансформатора через станцию управления, в которой сосредоточена вся контрольно-измерительная аппаратура и автоматика.

.2.3 Объекты поддержания пластового давления

К объектам поддержания пластового давления относятся кустовые насосные станции для закачки воды в нефтяной пласт, водозаборы чистой воды, установки по очистке сточных вод.

Заводнение нефтяных пластов - сложный и длительный процесс с использованием больших объемов воды. В связи с этим, первостепенное значение имеет водоснабжение системы заводнения. Проблема водоснабжения при заводнении сводится к следующему:

         выбору надежного источника водоснабжения, бесперебойно обеспечивающего необходимым количеством воды на весь период осуществления процесса заводнения месторождения;

         определению необходимого количества воды для закачки в пласты и разработке технологии ее очистки.

Основные требования, предъявляемые к водозаборным сооружениям, следующие: постоянная и достаточная мощность, высокое и устойчивое качество воды в течение года, близость к району заводнения, простота технического решения забора воды и его строительства, а также экономичность по размерам капитальных затрат и эксплуатационным расходам.

Нагнетание очищенной воды в продуктивный горизонт осуществляется кустовыми насосными станциями (KHC), и дожимными насосными станциями (ДНС). Число KHC и ДНС, их расположения на месторождении, а также мощности устанавливаемых насосов определяются на основе проекта разработки залежи и технико-экономических расчетов. Обычно KHC и ДНС размещают вблизи нагнетательных скважин во избежание больших гидравлических потерь при закачке воды.

БКНС позволяют при минимальных монтажных затратах быстро и оперативно вводить их в эксплуатацию, проводить наращивание новых мощностей по закачке воды в продуктивные пласты и проводить реконструкцию без каких-либо нарушений в работе и без остановки существующих насосных агрегатов. На БКНС устанавливаются насосные агрегаты с приводом синхронным или асинхронным. Синхронные мощностью Р=1600 кВт (марка двигателя СТД), асинхронные мощностью Р=1250 кВт.

.2.4 Установки предварительной сепарации воды

Извлекаемая из нефтяных скважин жидкость содержит в большом количестве воду. Обводненная нефть представляет собой водонефтяную эмульсию, образующуюся в результате перемешивания воды и нефти в процессе извлечения жидкости из скважины и прохождения ее по системе сбора.

Водонефтяные эмульсии содержат большое количество минеральных солей, растворенных в воде, входящей в состав этих эмульсий. В некоторых случаях нефти содержат и кристаллические соли, которые образуются при промысловой обработке нефти и отделении ее от газа после извлечения из скважины. В получаемой из скважины нефти содержатся также механические примеси, в частности, мельчайшие частицы глины и песка.

Чтобы исключить действие воды, солей и механических примесей нефти на аппаратуру нефтеперерабатывающих заводов, а также улучшить условия работы сооружений и установок транспорта и хранения нефти, перед выдачей с промыслов нефть подвергают обезвоживанию и обессоливанию на специальных установках - электрогидраторах двух видов: шаровых и горизонтальных. Процесс обезвоживания заключается в том, что элементарные частицы водонефтяной эмульсии, попадая в переменное электрическое поле, получают электрические заряды - отрицательные или положительные, в зависимости от заряда ближайшего электрода.

Отрицательные частицы начинают двигаться к положительному электроду, а положительные - к отрицательному. При этом частицы меняют свое направление с частотой, соответствующей частоте приложенного напряжения, и нефтяная пленка, обволакивающая частицу, разрушается, а частицы воды, освобожденные от пленки, соединяясь в крупные капли, оседают на дно и выводятся наружу из дегидратора. Обезвоженная нефть поднимается вверх и откачивается насосами. Процесс обессоливания заключается в том, что соли, содержащиеся в нефти, вымываются водой и выводятся весте с ней в виде соляного раствора. Если содержащейся воды в нефти недостаточно, то ее добавляют в необходимом количестве, а образовавшаяся водонефтяная эмульсия разрушается в электрическом поле электрогидратора.

1.2.5 Цех подготовки и перекачки нефти

ЦППН расположен на территории центрального пункта сбора Лугинецкого месторождения и предназначен для сбора сырой нефти, ее сепарации от газа, обезвоживания, обессоливания с более высокими по сравнению с УПСВ степенями очистки нефти от примесей. ЦППН включает в себя: производство сбора, хранения и внутрипроизводственной транспортировки нефти; производство внешней транспортировки нефти; производство технологической подготовки нефти

2. Описание существующего исполнения подстанции

Трансформаторная подстанция 35/6 кВ №516 Лугинецкого НМР представляет собой двухтрансформаторную подстанцию с мощностью каждого из них 6300 кВА. Конструктивно состоит из двух секций (соединенных через секционный выключатель) с соединенными шинными мостами на стороне НН (рисунок 2.1).

Рисунок 2.1 - Оперативная схема подстанции 35/6 кВ №516 Лугинецкого НМР

Питание подстанции 35/6 кВ №516 поступает от ПС 110/35/6 кВ «Лугинецкая» по двум воздушным линиям. По шинам напряжение поступает на понижающие трансформаторы, где понижается с 35 до 6 кВ и далее идет на шинные мосты первой и второй секции, где и распределяется по нагрузкам.

При напряжении 6 кВ энергия подается к буровым установкам, компрессорным станциям, насосным системам перекачки нефти, водяным насосным системам поддержания пластового давления, трансформаторным подстанциям 6/0,4 кВ, питающим электрооборудование скважин насосной эксплуатации.

На буровых установках напряжение питания основных двигателей (ротор, лебедка, буровые насосы) 6 кВ, а двигатели вспомогательных механизмов питаются при напряжении 0,38 кВ через понижающие трансформаторы 6/0,4 кВ. [6]

.1 Основное электрооборудования подстанции

На подстанции 35/6 №516 Лугинецкого НМР установлено следующее оборудование:

-        силовые масляные трансформаторы;

-        защитно-коммутационная аппаратура;

-        распределительные устройства высокого напряжения;

-        щиты учета электроэнергии;

-        измерительное оборудование.

В качестве понижающих трансформаторов на подстанции установлены масляные трансформаторы ТМН-6300-35/6 У1 (рисунок 2.2).

Регулировка напряжения в силовом трансформаторе ТМН-6300 - 9 (девять) ступеней с диапазоном регулирования ±4х2,5% от номинала. Тип регулирования - РПН (регулировка под нагрузкой) типа РНТА 35/125 или аналогичного.

В силовых трансформаторах ТМН предусмотрена возможность автоматического регулирования напряжения без отключения его от сети. Переключение трансформатора ТМН-6300 на другой диапазон может производиться как в автоматическом режиме, так и в ручном. Трансформаторы данного типа комплектуются встроенными трансформаторами тока по 2 штуки на каждую фазу стороны ВН. Трансформаторы имеют регулятор напряжения типа РНТА 35/125, позволяющий изменять коэффициент трансформации в автоматическом режиме под нагрузкой. [5]

Рисунок 2.2 - Понижающий масляный трехфазный трансформатор ТМН-6300-35/6 У1: 1 - бак; 2 - воздухоосушитель; 3 - масло-указатель; 4,5 - вводы высшего и низшего напряжений; 6 - ртутный термометр; 7 - переключатель; 8 - предохранитель; 9 - термосифонный фильтр.

Основные электрические характеристики силовых трансформаторов ТМН-6300-35/6 У1 следующие:

-        номинальная мощность 6300 кВА;

-        высшее/низшее номинальные напряжения 35/6 кВ;

-        напряжение короткого замыкания 7,5%;

-        потери активной мощности холостого хода 8 кВт

-        потери активной мощности короткого замыкания 46,5 кВт;

-        ток холостого хода трансформатора 0,8%.

В качестве защитно-коммутационной аппаратуры на вводе в РУВН установлены:

         разъединители напряжения для наружной установки РДЗ-35/1000-УХЛ1;

         разъединители напряжения для внутренней установки РЛНД-10-400;

         высоковольтные масляные выключатели С-35М-630-10. [2]

Разъединители предназначены для отсоединения отдельных элементов оборудования и участков электрической системы от источников напряжения. В распределительных устройствах разъединители служат главным образом для снятия напряжения с элементов установки, подлежащих осмотру, ремонту, а также для изменения коммутационной схемы распределительного устройства.

Разъединители создают видимое место разрыва электрической цепи. Контакты разъединителей не имеют дугогасительных устройств, поэтому разъединители могут включать ненагруженные цепи и отсоединять цепи, предварительно разомкнутые выключателем. Допускается отключать обычными разъединителями малые токи, в частности при напряжении до 10 кВ отключать ток нагрузки до 15 А, включать и отключать без нагрузки трансформаторы напряжения, цепь тока холостого хода трансформаторов мощностью не выше 750 кВА и ток замыкания на землю до 10 А.

Для предотвращения ошибочных операций с разъединителями их блокируют с выключателями таким образом, что включение и отключение разъединителя оказываются возможными только при отключенном выключателе. [1]

Для организации учета электроэнергии и измерений установлено следующее оборудование:

         измерительный трансформатор напряжения TJP 7.1 «ABB» на вводе РУВН;

         измерительный трансформатор тока TPU 7x «АВВ» на вводе РУВН;

         трансформаторы тока на отходящих линиях ТПФМ-10-0,5.

.2 Описание коммутационного оборудования подстанции

Выключатель С-35 состоит из трех полюсов, каждый из которых собран на отдельной крышке. Полюса соединены между собой в один общий комплект межполюсными муфтами. На каркасе выключателя С-35М-630-10 укреплен герметичный шкаф с приводом. Выключатель управляется электромагнитным приводом ПЭМУ-500 или пружинным приводом ПП-67.

Выключатели типа C - 35 относятся к многообъемным масляным выключателям - баковым. Выключатели этого типа выпускались с номинальным током 630А и током отключения 10 кА. Выключатели предназначены для коммутации высоковольтных цепей трехфазного переменного тока в номинальном режиме работы электроустановки, а также для их автоматического отключения при коротких замыканиях и перегрузках, возникающих при аварийных режимах. [3]

Выключатели предназначены для работы в окружающей среде не взрыво- и не пожароопасной, не содержащей агрессивных газов и паров в концентрациях, разрушающих металлы и изоляцию и не насыщенной токопроводящей пылью и водяными парами в концентрациях, препятствующих нормальной работе выключателя. Коммутационный ресурс - 4 отключенных коротких замыкания. Механический ресурс - 50 циклов. Конструктивное исполнение и габаритные размеры масляного выключателя показаны на рисунке 2.3.

Выключатель - трехполюсный, каждый полюс которого собран на отдельной крышке и помещен в отдельный бак. Все полюсы механически связаны между собой, смонтированы на общем сварном каркасе и управляются одним приводом. В каждом полюсе выключателя крышка является основанием, к которому крепятся все остальные узлы (рисунок 2.4). Крышки полюсов соединены между собой в один комплект при помощи междуполюсных муфт.

Рисунок 2.3 - Общий вид масляного выключателя С-35М-630-10: I - для последующего соединения с пружинным приводом; II - кинематическая схема соединения выключателя с приводом: a - вал выключателя, h - вал привода; III - соединенного с пружинным приводом ПП-67: 1 - кожух; 2 - кронштейн; 3 - шкаф привода; 4 - подшипник вала привода.

Для отвода продуктов разложения масла, образующихся в процессе гашения дуги, и для предохранения баков от повреждения высоким давлением к торцам крышек присоединены газоотводы, совмещенные с предохранительным клапаном. [3]

К крышкам полюсов подвешиваются баки, в которых установлена внутрибаковая изоляция. В нижней части бака, под дном, установлено устройство для подогрева масла, которое включается при температуре окружающего воздуха от минус 15°С и ниже. Баки заполняются маслом через отверстие в крышке механизма, закрываемое пробкой с резьбой М27. Баки снабжены маслоуказателями и маслоспускными устройствами.

Рисунок 2.4 - Общий вид полюса выключателя С-35М-630-10: 1 - масловыпускатель; 2 - бак; 3 - внутрибаковая изоляция; 4 - ввод; 5 - трансформатор тока; 6 - штанга механизма; 7 - колодка; 8 - неподвижный контакт; 9 - дугогасительная камера; 10 - устройство для подогрева.

Под крышкой каждого полюса установлен приводной механизм, состоящий из системы рычагов. Механизм обеспечивает прямолинейное движение изоляционной штанги, несущей подвижную дугогасительную камеру. Для обеспечения прямолинейности движения нижнего конца штанги последняя пропущена через направляющий бакелитовый цилиндр, закрепленный на коробке механизма. В цилиндрах имеются масляные буферы, смягчающие удары движущихся частей при отключении. Через отверстия в крышках пропущены вводы конденсаторного типа. В зависимости от заказа вводы изготовляются с длиной пути утечки внешней изоляции категории А (нормальное исполнение) или категории Б (усиленное исполнение) согласно ГОСТ 9920-89.

На верхний конец ввода навинчен медный наконечник со стальным колпаком. Для присоединения внешней ошиновки наконечник имеет резьбу М30 и снабжен двумя контргайками. К нижнему концу ввода при помощи контактной колодки крепится неподвижный Г-образный контакт. Для обеспечения дугостойкости и повышения коммутационного ресурса на контактах имеются металлокерамические наконечники.

К нижней части штанги крепится подвижная дугогасительная камера (рисунок 2.5), которая состоит из двух одинаковых корпусов, соединенных между собой стяжными болтами. [3]

Рисунок 2.5 - Подвижная дугогасительная камера: 1 - корпус; 2 - корпус камеры; 3 - контактная пружина; 4 - токоведущая перемычка

Внутренняя полость корпуса в камере облицована дугостойким изоляционным материалом. В выхлопных отверстиях, расположенных в верхней части с боков камеры, установлены втулки из дугостойкого изоляционного материала.

Внутри камеры имеется подвижный контакт, выполненный в форме перемычки, который опирается на четыре контактные пружины. Пружины являются буфером, смягчающим удар контакта камеры о неподвижные контакты при включении, и обеспечивают необходимое контактное нажатие во время работы выключателя. Подвижный и неподвижный контакты снабжены металлокерамическими напайками.

Технические характеристики масляного выключателя С-35М-630-10:

         номинальное напряжение 35 кВ;

         номинальный ток 630 А;

         номинальный ток отключения 10 кА;

         время отключения выключателя, с:)       с электромагнитным приводом ПЭМУ-500 - 0,08)        с пружинным приводом ПП-67 - 0,12

         габаритные размеры (LхBхH), мм, не более:) с категорией вводов А - 1910х1200х1940)        с категорией вводов Б - 1910х1200х2030

         масса выключателя с маслом, (без масла) - 1250 кг, (850 кг.)

Выключатель С-35 относится к жидкостным трехполюсным высоковольтным выключателям с большим объёмом дугогасящей жидкости - трансформаторного масла. Выключатель является быстродействующим выключателем бакового типа, снабженным дугогасительными устройствами в виде камер масляного дутья. Принцип работы выключателя основан на гашении электрической дуги потоком газомасляной смеси, образующейся в результате интенсивного разложения трансформаторного масла под действием высокой температуры дуги. Этот поток получает определенное направление в камере масляного дутья, находящейся в зоне горения дуги. [3]

Управление выключателем осуществляется дистанционно. Операция включения выключателя осуществляется за счет энергии магнитного поля в электромагнитном приводе. Отключение выключателя осуществляется за счёт энергии, запасённой отключающими пружинами во время операции включения.

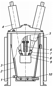
В качестве защитно-коммутационной аппаратуры на отходящих линиях установлены масляные выключатели ВММ-10-400-10-У2.

Основные технические данные:

         номинальное напряжение, 10 кВ;

         наибольшее напряжение, 12 кВ;

         номинальный ток 400 А;

         номинальный ток отключения, 10 кА;

         номинальный ток включения, кА:)         действующее значение периодической составляющей 10;)       амплитудное значение 25.

         предельный сквозной ток, кА:)      начальное действующее значение периодической составляющей 10;)         амплитудное значение 25.

         ток термической устойчивости для промежутка времени 4 с, 10 кА.

Выключатель ВММ-10 (рисунок 2.6) состоит из следующих основных частей: рамы 1 со встроенным пружинным приводом, являющейся основанием выключателя, в нижней части которой имеются четыре отверстия Ml2 для крепления выключателя на выкатной тележке КРУ; отключающих устройств защиты типов РТМ, РТВ, ЭО нп, ЭО тт и РНВ с техническими данными, аналогичными выключателю ВМПП-10; трех полюсов 2, каждый из которых крепится к раме при помощи фланца 4: изолированных тяг 3, передающих движение от пружинного привода через вал выключателя к механизмам перемещения подвижных стержней полюсов; двух болтов 6 для подсоединения шин заземления. Со стороны привода рама закрыта металлической крышкой 5, в которой имеются окна для пульта ручного управления и указателя положения выключателя, для счетчика количества операций отключения, для выхода рычага ручной заводки рабочих пружин, для указателя положения рабочих пружин привода, для выхода рычага блокировочного штыря. [3]

Рисунок 2.6 - Выключатель ВММ-10-400-10-У2

Полюс выключателя а состоит из изоляционного цилиндра 19, на котором закреплен подшипник 26 с механизмом перемещения подвижного стержня.

Механизм перемещения состоит из двух рычагов: наружного 25 и внутреннего 17, жестко закрепленных на общем валу 22. Наружный рычаг посредством изоляционной тяги 3 связан с валом выключателя, а внутренний двумя серьгами 16 шарнирно связан с подвижным стержнем 11. Вал 22 механизма установлен на подшипниках скольжения 24. Для предотвращения продувов и выброса масла при отключениях подшипник 26 ставится на клей, а вал 22 имеет уплотнение 23. В верхнее отверстие подшипника 26 ввернуто маслоулавливающее устройство 21.

При отключении выключателя образовавшаяся газо-масляная смесь из цилиндра через отверстия в корпусе клапана под давлением попадает в маслоуловитель, где происходит отделение масла от газов. Газы через отверстия в крышке выходят в атмосферу, а отделившееся масло через отверстия клапана стекает обратно в цилиндр полюса. Отверстие в подшипнике при снятом маслоулавливающем устройстве служит для заливки трансформаторного масла в полюсы. В верхней части цилиндра 19 на завинченную в него гайку 20 крепится винтами стойка 18. [3]

На нижнем конце стойки установлен токосъемный контакт 15, ламели 13 которого поджаты к подвижному стержню 11 пружиной 14 и закрыты колпаком 12. На верхней части стойки имеются два резьбовых отверстия М10 для подсоединения токоведущих шин или первичных подвижных контактов КРУ. Нижний конец подвижного стержня снабжен контактом 8, облицованным дугостойкой металлокерамикой. В нижнюю часть цилиндра 19 завернуто основание 7, на котором расположен неподвижный контакт розеточного типа. Ламели контакта, облицованные металлокерамикой, крепятся на гибких связях к граням основания 7. На наружной части основания 7 имеются четыре резьбовых отверстия для подсоединения токоведущих шин или первичных подвижных разъединяющих контакта.

Внутри цилиндра 19 над розеточным контактом устанавливается дугогасительная камера 10, которая через распорный цилиндр 9 поджимается основанием 7 в бурт цилиндра 19. Дугогасительная камера поперечного масляного дутья состоит из пяти изоляционных дисков. Камера имеет центральное отверстие для прохода подвижного стержня 11. В нижней части камеры изоляционные диски образуют две поперечные, расположенные одна над другой дутьевые щели, связанные двумя вертикальными каналами с надкамерным пространством. В верхней части камеры имеются два масляных кармана.

Для наблюдения за уровнем масла в полюсе на наружной стороне цилиндра установлен маслоуказатель 27, представляющий собой прозрачную трубку с двумя предельными рисками. Верхний конец трубки прикрыт колпачком. Для предотвращения выброса масла при коммутациях из полюса через маслоуказатель, в нем установлен обратный клапан. [3]

Достоинствами маломасляных выключателей являются:

         небольшое количество масла;

         относительно малая масса

         возможность создания серии выключателей на разное напряжение с применением унифицированных узлов;

         относительно невысокая стоимость.

Недостатки маломасляных выключателей:

         взрыво- и пожароопасность;

         невозможность осуществления быстродействующего АПВ;

         необходимость периодического контроля, доливки, относительно частой замены масла в дугогасительных бачках;

         трудность установки встроенных трансформаторов тока;

         относительно малая отключающая способность;

         малый электромеханический ресурс.

Установленные на подстанции 35/6 кВ №516 Лугинецкого НМР электромеханические коммутационные устройства имеют ряд технических недостатков и в настоящее время устарели, поэтому требуют замены, на более новые и технологичные коммутирующие устройства.

.3 Релейная защита и автоматика

.3.1 Защита трансформаторов ПС

Согласно ПУЭ в трансформаторах предусмотрены устройства релейной защиты от следующих видов повреждений и ненормальных режимов работы:

         многофазных замыканий в обмотках и на выводах;

         однофазных замыканий на землю в обмотке, присоединенной к сети с глухозаземленной нейтралью;

         межвитковых замыканий в обмотках;

         токов в обмотках, обусловленных внешними КЗ;

         токов в обмотках, обусловленных перегрузкой;

         защита от понижения уровня масла.

Для трансформаторов предусмотрена газовая защита от повреждений внутри кожуха, сопровождаемых выделением газа и от понижения уровня масла. Для защиты от повреждений на выводах, а также от внутренних повреждений предусмотрена продольная дифференциальная токовая защита без выдержки времени.

Продольная дифференциальная токовая защита осуществляется применением специальных реле тока, отстроенных от бросков тока намагничивания, переходных токов и установившихся токов небаланса. Защита быть выполнена так, что в зону ее действия входит соединение трансформатора со сборными шинами. На понижающем трансформаторе в качестве защиты от токов, обусловленных внешними многофазными КЗ, предусмотрена максимальная токовая защита с комбинированным пуском напряжения.

.3.2 Расчет продольной дифференциальной защиты трансформаторов

Для защиты от повреждений на выводах и от внутренних повреждений трансформатора применяем устройства продольной дифференциальной токовой защиты, действующей без выдержки времени на отключение поврежденного трансформатора. Трансформаторы тока для продольной дифференциальной токовой защиты устанавливаются со всех сторон трансформатора.

Первичный ток на стороне защищаемого трансформатора определяется по формуле:

 (2.1)

 - номинальная мощность трансформатора, кВА;

 - номинальное напряжение трансформатора на соответствующей стороне, кВ;


Коэффициент схемы включения реле защиты:

На стороне ВН:

На стороне НН:

Расчетный коэффициент трансформации трансформаторов тока определяется по формуле:

 (2.2)

где  - номинальный вторичный ток трансформаторов тока, А;

Принятые коэффициенты трансформации трансформаторов тока ВН и НН:

; .

Продольная дифференциальная токовая защита осуществляется с применением реле тока отстроенных от бросков тока намагничивания, переходных токов и установившихся токов небаланса. Для этого используется реле с торможением типа ДЗТ-11. Дифференциальная защита с реле ДЗТ-11 выполняется так, чтобы при внутренних повреждениях трансформатора торможение было минимальным или совсем отсутствовало. Поэтому тормозная обмотка реле обычно подключается к трансформаторам тока, установленным на стороне низшего напряжения трансформатора.

Первичный ток срабатывания защиты из условия отстройки от броска тока намагничивания определяется по формуле:

 (2.3)

Расчетный ток срабатывания реле, приведенный к стороне ВН определяется по формуле:

 (2.4)

Число витков рабочей обмотки реле, включаемых в плечо защиты со стороны ВН:

Расчетное:

 (2.5)

Принятое:

Число витков рабочей обмотки реле, включаемых в плечо защиты со стороны НН:

Расчетное:

 (2.6)

Принятое:

Число витков тормозной обмотки реле, включаемых в плечо защиты со стороны НН:

Расчетное:

 (2.7)

где ;

 - относительная погрешность, обусловленная РПН, принимается равной половине суммарного диапазона регулирования напряжения;

a - угол наклона касательной к тормозной характеристике реле типа ДЗТ-11;

;

Принятое:

Минимальное значение тока в реле при трёхфазном КЗ на выводах НН:

На среднем ответвлении РПН:

 (2.8)

где - минимальное значение тока на стороне ВН при КЗ на стороне НН, соответствующее требованиям чувствительности на среднем ответвлении РПН.

Чувствительность дифференциальной защиты проверяется при КЗ на выводах с учетом влияния регулирования напряжения (РПН) на ток, протекающий в реле.

Минимальное значение коэффициента чувствительности защиты при трёхфазном КЗ на выводах НН:

На среднем ответвлении РПН:

 (2.9)


2.3.2 Расчет максимальной токовой защиты трансформаторов

Защиту от токов внешних многофазных КЗ выполнена в виде:

1) максимальной токовой защиты с пуском напряжения, устанавливаемой на стороне низшего напряжения (НН) защищаемого трансформатора.

) максимальной токовой защиты, устанавливаемой на стороне высшего напряжения (ВН) защищаемого трансформатора;

Защита от токов перегрузки устанавлена на стороне ВН в виде максимальной токовой защиты с действием на сигнал с выдержкой времени.

Защита от многофазных КЗ и от токов перегрузки выполнена на реле типа РТ-40.

) Ток срабатывания реле максимальной токовой защиты с комбинированным пуском напряжения от внешних КЗ с включением реле тока на стороне НН трансформатора:

  (2.10)

где  - номинальный ток трансформатора на стороне НН, где включены соответствующие реле тока, А;

 - коэффициент схемы включения реле защиты на стороне НН;

 - коэффициент отстройки;

 - коэффициент возврата реле РТ-40;

 - коэффициент трансформации трансформатора тока НН;

Напряжение срабатывания максимальной токовой защиты с комбинированным пуском напряжения от внешних КЗ:

 (2.11)

где  - номинальное напряжение трансформатора на стороне НН, где включено реле напряжения;

Напряжение срабатывания реле напряжения вторичных цепей:

) Ток срабатывания реле максимальной токовой защиты от внешних КЗ на стороне ВН трансформатора:

 (2.12)

где  - номинальный ток трансформатора на стороне ВН, где включены соответствующие реле тока, А;

 - коэффициент схемы включения реле защиты на стороне НН;

 - коэффициент отстройки;

 - коэффициент возврата реле РТ-40;

 - коэффициент трансформации трансформатора тока ВН;

3) Ток срабатывания реле максимальной токовой защиты от перегрузки на стороне ВН трансформатора:

 (2.13)

где  - номинальный ток трансформатора на стороне ВН, где включены соответствующие реле тока, А;

 - коэффициент схемы включения реле защиты на стороне НН;

 - коэффициент отстройки;

 - коэффициент возврата реле РТ-40;

 - коэффициент трансформации трансформатора тока ВН;

Токи срабатывания реле токовых защит трансформатора сведены в таблицу 2.

Таблица 2 - Токи срабатывания реле токовых защит трансформатора

Тип защиты

Расчетная формула

Значение коэффициентов

Номиналь ный ток трансформатора ВН, НН

Ток и напряжение срабатывания реле







Максимальная токовая защита с комбинированным пуском напряжения от внешних КЗ на стороне НН трансформатора с включением реле тока

11,20,85


















Максимальная токовая защита трансформатора от перегрузки на стороне ВН

1,050,85






Максимальная токовая защита трансформатора от внешних КЗ на стороне ВН

1,20,85







3. Выбор направления модернизации оборудования подстанции

.1 Общие сведения о вакуумных выключателях

Одним из самых ответственных элементов шкафов КРУ являются коммутационные аппараты. При этом коммутационные аппараты (в большинстве случаев это масляные выключатели) в большей степени подвержены износу.

В настоящее время вакуумные выключатели получают всё более широкое применение в разных сферах деятельности предприятий. Стратегически правильным вариантом решения проблемы обеспечения надежности коммутационных аппаратов напряжением 6 -35 кВ является полномасштабное комплексное техническое перевооружение, основанное на современных технологиях, внедрении высоконадежных вакуумных выключателей нового поколения, эффективного формирования для этого источников финансирования и использования инвестиционных средств. При этом выключатели должны применяться мало обслуживаемые, и по возможности, не требующие проведения любых плановых ремонтов на протяжении всего срока эксплуатации.

Конструктивные преимущества вакуумных выключателей по сравнению с другими типами выключателей (в дальнейшем будем их называть “традиционные выключатели”) способствуют повышению эффективности функционирования энергообъектов, снижению затрат на эксплуатацию распределительных сетей, электростанций и подстанций. [4]

Эксплуатационные преимущества вакуумных выключателей обеспечивают:

-        надежную работу без ремонта до обработки установленного ресурса по механической и коммутационной износостойкости;

-        обоснованное упрощение и облегчение конструкций и схем энергообъектов при обязательном повышении их элементной надежности;

-        минимум продолжительности отключения потребителей;

-        низкий уровень коммутационных перенапряжений;

-        оптимизацию резервных запасов электрооборудования по условиям надежности и риска возникновения отказа;

-        электрическую и экологическую безопасность функционирования энергообъектов;

-        минимум обслуживания и переход к новой стратегии ремонтов по техническому состоянию.

Вакуумный выключатель - это принципиально другая техника. Если в старых выключателях масло является изолирующей и гасящей средой, то в новых - вакуум. Масло горит, со временем теряет изоляционные качества и разлагается под действием дуги при отключении рабочего тока и тока короткого замыкания. Ремонт, замена масла и подгоревших частей выключателя при большом их количестве всегда сопряжены с загрязнением помещений и пожарной опасностью. Вакуумные выключатели такого недостатка лишены.

.2 Вакуумные выключатели серии BB/TEL-10

Современные вакуумные выключатели BB/TEL производства «Таврида Электрик» позволяют обеспечивать надежную и безопасную коммутацию цепей в системах электроснабжения потребителей. Компанией разработаны различные решения для замены коммутационного аппарата на выключатель ВВ/TEL-10:

-        типовые комплекты адаптации (ТКА) - наборы элементов (типовой комплект металлоконструкции (ТКМ) для установки выключателя ВВ/TEL-10 без доработки деталей по месту;

-        ошиновка с сечением, выбранным с учетом эффективной работы и теплообмена;

-        комплект установки модуля управления (КУБ), включающий изоляторы, метизы, жгуты и провода для подключения выключателя в цепи защит и автоматики), позволяющие в полном объеме осуществить замену изношенного коммутационного аппарата на выключатель ВВ/TEL-10.

Высокий показатель наработки на отказ (4500 лет для коммутационного модуля ISM15) и оперативная работа сервисных центров «Тавриды Электрик» позволяют отказаться от необходимости содержания ЗИП - запаса. Гарантийный срок эксплуатации ВВ/TEL-10 составляет 7 лет и в ряде случаев может быть расширен до 10 лет (монтаж оборудования силами технико-коммерческих центров «Тавриды Электрик»). Коммутационный ресурс ВВ/TEL-10 может достигать 150 000 циклов В-О, что гарантирует работоспособность аппаратов в течение всего срока службы и подтверждает их надежность.

Полное время отключения ВВ/TEL-10 достигает 30 мс, что вдвое меньше по сравнению с традиционными выключателями с пружинным приводом. Такое быстродействие (при совместной работе с дуговыми защитами) и организация оперирования распределительным устройством дают дополнительный уровень безопасности для персонала в случае развития аварии (дуговое замыкание). Также в составе типовых комплектов адаптации и на выкатных элементах имеются унифицированные узлы блокировок от ошибочных действий персонала и узлы аварийного отключения ВВ/TEL-10. Кроме того, выключатели ВВ/TEL-10 имеют возможность ручного включения, в случае отсутствия оперативного питания на подстанции, с помощью мобильного блока механического включения (заряжает цепи включения выключателя посредством вращения рукоятки генератора). Обслуживающий персонал имеет возможность подключить блок механического включения к КРУ и отойти в сторону на расстояние до 3 м, для того чтобы произвести включение (при включении отключенной подстанции велик риск включения на короткое замыкание). [4]

Широкий диапазон рабочих температур (от - 45 до +55 °С) позволяет применять ВВ/TEL-10 в составе удаленных подстанций в холодных климатических поясах без дополнительного обогрева. Стойкость к механическим воздействиям, соответствующая группе М6, и защищенность от внешних воздействий позволяют эксплуатировать выключатели ВВ/TEL-10 вблизи мощных двигателей и таких объектов, как шахты, шагающие экскаваторы и пр. Сокращение расходов на эксплуатацию. Выключатели ВВ/TEL-10 благодаря своей конструкции не требуют проведения средних и капитальных ремонтов (замена узлов и регулировка) в течение всего срока службы (30 лет). Энергосбережение. При подготовке ВВ/TEL-10 к включению потребление мощности из сети оперативного питания составляет порядка 63 В·А, а в установившемся режиме - 11 В·А. Значение переходного сопротивления в полюсе ВВ/TEL-10 начинается с 18 мкОм. Такие показатели позволяют уменьшить энергопотребление и потери электроэнергии, а также оптимизировать затраты на организацию оперативного питания на подстанции.

В качестве отличительных достоинств вакуумных выключателей, обеспечивающих им преимущества перед традиционными выключателями на средний класс напряжений, можно отметить следующее:

а) высокая надежность:

К показателям надежности элементов схем электрических соединений относят частоту отказов, время восстановления, частоту и длительность капитального и текущего ремонтов.

При прочих равных условиях, то есть, если даже принять в расчет, что частота отказов и время восстановления после аварии равны для вакуумных и традиционных выключателей, то частота и длительность ремонта последних несомненно выше.

Например, для маломасляного выключателя ВК-10, масло необходимо заменить после 10 операций отключения тока 20 кА. После совершения выключателем 2000 циклов операций включения и отключения, необходимо проводить техническое обслуживание привода. После совершения выключателем 3000 циклов операций включения-отключения (ВО) необходимо проводить капитальный ремонт. А средний ремонт выключателя должен производиться не реже одного раза в 4 года.

Вакуумные выключатели (ВВ) являются практически необслуживаемыми. Осмотр и периодические проверки ВВ рекомендуется проводить один раз в 3-5 лет. Во время этих проверок необходимо провести высоковольтные испытания вакуумной дугогасительной камеры и изоляции выключателя, а также проверить переходное сопротивление контактов.

Этот пункт напрямую вытекает из предыдущего. Низкие эксплуатационные затраты определяются отсутствием необходимости содержания масляного и компрессорного хозяйств, кроме того вакуумная дугогасительная камера (ВДК) не требует пополнения дугогасящей среды. Высокая коммутационная износостойкость позволяет значительно сократить расходы по обслуживанию ВВ, а также перерывы в электроснабжении, связанные с выполнением регламентных работ. [4]

в) высокий коммутационный и механический ресурс:

Число отключений номинальных токов, допускаемое без ревизий и ремонта ВДК, достигает 50 тысяч, а номинальных токов отключения (токов короткого замыкания) - от 20 до 200 в зависимости от типа ВДК и значения тока. Как уже было ранее отмечено, при эксплуатации маломасляных выключателей необходимо производить ревизию после 1000-2000 отключений номинального тока или 3-12 отключений номинального тока отключения.

Высокий механический ресурс ВВ обусловлен в первую очередь тем, что ход контактов ВДК составляет от 6 до10 мм на напряжения 6-10 кВ. Для масляных и электромагнитных выключателей на эти же напряжения ход контактов достигает 100-200 мм, а следовательно, применяется более сложная конструкция привода, требующая больших затрат энергии на включение и отключение выключателя, что приводит к необходимости постоянного ухода и проверок состояния деталей привода, что также повышает эксплуатационные расходы на содержание выключателя.

Высокий коммутационный и механический ресурс позволяют применять ВВ в схемах с частыми коммутациями: для трансформаторов сталеплавильных печей; для коммутаций насосов, компрессоров и т.д.

г) безопасность эксплуатации и экологичность:

Для ВВ характерны малая энергия привода, малые динамические нагрузки и отсутствие выброса газов и масла. Масса и габариты ВВ значительно ниже массы и габаритов традиционных выключателей при одинаковых номинальных параметрах тока и напряжения. Все это обеспечивает бесшумность работы и предотвращает загрязнение окружающей среды.

Герметичное исполнение ВДК и отсутствие среды, поддерживающей горение, обеспечивает высокую пожаро- и взрывобезопасность и возможность работы в агрессивных средах.

Благодаря своим преимуществам вакуумные выключатели все шире применяются как при строительстве новых комплектных распределительных устройств, так и для замены морально и физически устаревших традиционных выключателей при реконструкции комплектных распределительных устройств, находящихся в эксплуатации./TEL - это коммутационный аппарат нового поколения, в основе принципа действия которого лежит гашение возникающей при размыкании контактов электрической дуги в глубоком вакууме, а фиксация контактов вакуумных дугогасительных камер (ВДК) в замкнутом положении осуществляется за счет остаточной индукции приводных электромагнитов («магнитная защелка»).

Отличительная особенность конструкции вакуумных выключателей серии BB/TEL по сравнению с традиционными коммутационными аппаратами заключается в использовании принципа соосности электромагнита привода и вакуумной дугогасительной камеры в каждом полюсе выключателя, которые механически соединены между собой общим валом. [4]

Оригинальность конструкции выключателей BB/TEL позволила достичь следующих преимуществ по сравнению с другими коммутационными аппаратами:

         высокий механический и коммутационный ресурс;

         малые габариты и вес;

         небольшое потребление энергии по цепям управления;

         возможность управления по цепям постоянного, выпрямленного и переменного оперативного тока;

         простота встраивания в различные типы КРУ и КСО и удобство организации необходимых блокировок;

         отсутствие необходимости ремонта в течение всего срока службы; [4]

Достоинства:

-        простота конструкции;

-        высокая степень надежности;

-        высокая коммутационная износостойкость;

-        малые размеры, пожаро- и взрывобезопасность;

-        отсутствие шума при операциях;

-        отсутствие загрязнения окружающей среды;

-        малые эксплуатационные расходы.

Недостатки:

-        сравнительно небольшие номинальные токи и токи отключения;

-        возможность коммутационных перенапряжений при отключении малых индуктивных токов;

-        относительно высокая стоимость.

Благодаря своим преимуществам вакуумные выключатели BB/TEL широко применяются во вновь разрабатываемых комплектных распределительных устройствах (КРУ, КСО, КРН), а также для реконструкции ячеек КРУ, находящихся в эксплуатации и имеющих в своем составе на момент реконструкции выключатели других конструкций, которые устарели морально и физически.

На сегодняшний день разработано более 60 типовых проектов адаптации вакуумных выключателей ВВ/TEL. При этом достигнута полная взаимозаменяемость с маломасляными выключателями прежних лет выпуска по главным и вспомогательным цепям.

.2.1 Устройство выключателя BB/TEL

В выключателях применяется современная конструкция ВДК с аксиальным магнитным полем. Дуга в таком поле находится все время в диффузионном состоянии, что существенно уменьшает износ, который не превышает 1 мм после исчерпания коммутационного ресурса.

Выключатели состоят из трех полюсов, установленных на металлическом корпусе, в котором размещаются электромагнитные приводы каждого полюса с магнитной защелкой, удерживающей выключатель неограниченно долго во включенном положении после прерывания тока в катушке электромагнита привода.

В основу его конструкции заложен принцип соосности электромагнита привода и вакуумной дугогасительной камеры в каждом полюсе выключателя. Такая компоновка выключателя позволяет существенно упростить кинематическую схему, отказаться от нагруженных узлов трения, что в свою очередь позволяет изготовить выключатель с механическим ресурсом 50 тыс. операций В - О, не требующий обслуживания в течение всего срока службы. [4]

Основные узлы выключателей на ток до 1000 А размещаются в закрытом изоляционном корпусе круглого сечения, выполненном из механически прочного и дугостойкого материала, защищающего элементы полюса от механических повреждений и воздействий электрической дуги тока КЗ.

Крепление выключателей к металлическим элементам КРУ и КСО осуществляется посредством болтов М10, резьбовые отверстия для которых имеются на боковых сторонах металлического корпуса. Выключатели могут работать в любом пространственном положении.

Выключатели на номинальный ток 1600 А конструктивно отличаются от выключателей на 630-1000 А устройством изоляционных корпусов, способом установки в них ВДК и способом крепления выключателей.

Изоляционные корпусы прямоугольного сечения открыты снизу и сверху для вентиляции воздуха и охлаждения токоведущих частей. С передней и задней сторон к корпусам крепятся изоляционные листы толщиной 10 мм для придания им необходимой жесткости. На противоположной стороне токоведущих выводов круглого сечения в полимерной части выключателя имеются закладные металлические втулки (6 шт.) с отверстиями под болт М16, с помощью которых выключатели устанавливаются на вертикальное металлическое основание приводом вниз или вверх. [4]

Разрез полюса выключателя представлен на рисунке 3.1. В состав полюса входят следующие основные элементы: ВДК 2 с неподвижным 1 и подвижным 3 контактами и сильфоном, гибкий токосъем, тяговый изолятор 5, токоведущие выводы и электромагнитный привод. Привод состоит из кольцевого электромагнита 13, якоря 12, катушки 11, пружин отключения 9 и дополнительного поджатия 10, тяги 15 устройства ручного отключения. Катушки электромагнита включены в цепь управления параллельно и используются для включения и отключения выключателя. [4]

Рисунок 3.1 - конструкция выключателя BB/TEL

Полюса механически связаны между собой промежуточным валом 8, на котором установлен кулачок для управления вспомогательными контактами, используемыми во внешних цепях (управления, сигнализации и др.). Выключатели, предназначенные для частых коммутационных операций, содержат в своей конструкции усиленный привод и камеру ВДК, которые не влияют на габаритные и присоединительные размеры. [4]

.2.2 Принцип работы вакуумного выключателя BB/TEL

Гашение дуги переменного тока осуществляется в вакуумной дугогасительной камере (ВДК) при разведении контактов в глубоком вакууме (остаточное давление порядка 10-6мм рт. ст.). Носителями заряда при горении дуги являются пары металла. Из-за практического отсутствия среды в межконтактном промежутке, конденсация паров металла в момент перехода тока через естественный ноль осуществляется за чрезвычайно малое время (10-5с), после чего происходит быстрое восстановление электрической прочности ВДК. Электрическая прочность вакуума составляет порядка 30 кВ/мм, что гарантирует отключение тока при расхождении контактов более 1 мм. [4]

В отключенном положении подвижные части полюса удерживаются силой отключающей пружины 9 независимо от пространственного положения выключателя. Включение и отключение выключателя производится от блока управления (БУ), который является неотъемлемой частью ВВ.

При подаче команды включения БУ подает напряжение на катушку 11 электромагнита. Протекающий при этом ток создаёт магнитный поток в зазоре между якорем 12 и кольцевым магнитом 13, под действием которого якорь втягивается внутрь электромагнита и через тяговый изолятор 5, сжимая пружину отключения 9 и воздействуя на подвижный контакт 3, замыкает контакты ВДК.

Скорость замыкания контактов составляет около 1 м/с. Она является оптимальной для процесса включения и предупреждения дребезга контактов при включении.

Замыкание подвижного контакта с неподвижным происходит в момент, когда между якорем и верхней крышкой электромагнита остается зазор 2 мм. Проходя это расстояние, якорь сжимает пружину поджатия 10 и создает необходимое контактное нажатие. После замыкания магнитной системы якорь встает на магнитную защелку и удерживается в этом положении неограниченно долго за счет остаточной индукции кольцевого электромагнита 13. Общий ход якоря 8 мм, ход подвижного контакта 6 мм.

Запас по усилию удержания (сила, необходимая для отрыва якоря от верхней крышки электромагнита, приложенная вдоль оси привода), составляет 450-500 Н для одного полюса выключателя.

В случае обрыва цепи катушки электромагнита одного из полюсов выключатель не фиксируется во включенном положении и отключается, тем самым предупреждается работа выключателя в неполнофазном режиме.

В процессе включения ВВ якорь через кинематическую связь поворачивает вал 8 и установленный на нем кулачок, который управляет контактами вспомогательных цепей (микропереключателями).

Длительность подачи напряжения на катушку электромагнита устанавливается блоком управления и составляет 60 - 80 мс в зависимости от типа БУ. Она выбрана с запасом, поэтому момент размыкания геркона или микропереключателя в цепи управления включением не влияет на включающую способность привода и не требует наладки и проверки эксплуатационным персоналом.

Источником электрической энергии для включения ВВ служат предварительно заряженные малогабаритные конденсаторы, устанавливаемые в БУ (BU) или в блоке питания БП(ВР). [4]

При подаче команды отключения БУ подает на катушку электромагнита напряжение противоположной полярности и определенной длительности. При этом электромагнит частично размагничивается и якорь 12 снимается с магнитной защелки. Под действием пружины отключения и пружины дополнительного поджатия якорь разгоняется и наносит удар по тяговому изолятору, соединенному с подвижным контактом 3 вакуумной камеры. Ударное усилие, создаваемое якорем электромагнита, превышает 2000 Н, что позволяет отключать выключатель даже при наличии точечной сварки контактов, которая может иметь место при включении ВВ.

После удара подвижный контакт приобретает высокую стартовую скорость, необходимую для успешного отключения тока КЗ, и под действием отключающей пружины совместно с другими подвижными частями занимает конечное отключенное положение. [4]

Ручное отключение осуществляется путем воздействия на кнопку ручного отключения, которая через толкатель 15, шарнирно связанный с валом 8, воздействует через вал привода на якоря электромагнитов и разрывает магнитную систему. Кнопка ручного отключения, связанная с валом 8, может служить указателем положения выключателя.

Усилие на кнопке отключения при ударном воздействии составляет 200 - 250 Н.

Наличие в схеме управления выключателями батареи малогабаритных конденсаторов позволяет осуществлять автономное включение ВВ на обесточенной подстанции с помощью двух стандартных элементов питания 9 В, подключая их к низковольтному входу БУ. Имеющийся в БУ или блоке питания преобразователь повышает напряжение питания до необходимого и заряжает в течение короткого времени (менее 1 мин) батарею конденсаторов, после чего выключатель готов к выполнению операции "В" или "ВО".

Управление выключателем осуществляется от предварительно заряженной конденсаторной батареи путем разряда ее на катушки электромагнитов. На этом принципе построен конденсаторный привод, которым укомплектован выключатель.

Конденсаторный привод BB/TEL является связующим звеном (интерфейсом) между вакуумным выключателем серии BB/TEL и устройствами РЗиА.

Модернизация может производиться:

         на выкатном элементе КРУ путем замены старого выключателя и установки выключателя BB/TEL при помощи комплекта адаптации;

         в ячейках КСО путем замены старого выключателя и установки BB/TEL с помощью комплекта адаптации;

         в шкафах КРУ путем полной замены выкатного элемента. [4]

4. Расчет рабочих и аварийных режимов подстанции

Поскольку перспективный по нефтедобыче район начинает осваиваться, то необходимо обеспечить качественное электроснабжение в динамике роста электронагрузок. В связи с этим возникает задача разработки мероприятий по обеспечению пропускной способности существующих сетей 6 кВ. В связи с этим требуется выполнить расчет режимов с целью оценки намеченной динамики развития электроснабжения, которая моделируется в форме роста электрических нагрузок на ПС 35/6 кВ №516.

Текущая загрузка подстанций 6 кВ нефтяных месторождений представлена в таблице 4.1 в виде токов на секциях шин 6/0,4 кВ, но для расчета режимов данную нагрузку необходимо представить в виде нагрузок активной и реактивной мощности.

Для нахождения активной и реактивной мощностей используем расчеты:

 (4.1)

где - номинальный ток трансформатора, А;

- номинальная мощность трансформатора, кВА;

- номинальное напряжение, кВ;

 (4.2)

где  - коэффициент загрузки по току;

- ток замеров, А;

 (4.3)

где  - мощность нагрузки;

 (4.4)

где  - активная мощность, кВт;

 (4.5)

где  - реактивная мощность, кВАр.

В таблице 4.1 представлены зимние замеры, которые будем считать максимальными. Минимальные замеры (летние) отличаются от максимальных на 5-10 процентов (не более) вследствие того, что нагрузка на нефтяных нефтепромыслах практически постоянна. Отличие заключается в том, что в зимнее время увеличение нагрузки происходит вследствие увеличения потребления электроэнергии на обогрев оборудования, производственных и жилых помещений, техники т.д. Отличие максимальных и минимальных нагрузок будем считать 5 процентов.

Таблица 4.1 - Замеры токов нагрузок потребителей

Подстанция

№ скважины

Тип технологической установки

Мощность, кВт

Ток нагрузок, А

КТПН 6/0,4 №97

-

ДНС

12

10

КТПН 6/0,4 №100

186

ЭЦНА 5 ЭЦНА 5

56 63

85 96

КТПН 6/0,4 №89

183

ЭЦНА 5

56

91

КТПН 6/0,4 №99

-

Столовая

25

50

КТПН 6/0,4 №98

-

КУУН

63

112

КТПН 6/0,4 №101

-

Котельная

56

98

КТПН 6/0,4 №90

184

ЭЦНА 5 ЭЦНА 5

45 56

62 85

КТПН 6/0,4 № б/н

-

НЭН

250

150

КТПН 6/0,4 №91

-

УПН

150

120

КТПН 6/0,4 №92

181

ЭЦНА 5

63

98

КТПН 6/0,4 №15

15

ЭЦНА 5 ЭЦНА 5

45 45

54 57

КТПН 6/0,4 №16

18

ЭЦНА 5 ЭЦНА 5

56 45

87 58

КТПН 6/0,4 №17

17

ЭЦНА 5

70

107

КТПН 6/0,4 №18

87

ЭЦНА 5 ЭЦНА 5

63 56

94 85

КТПН 6/0,4 №19

86

ЭЦНА 5

63

97

КТПН 6/0,4 №20

16

ЭЦНА 5 ЭЦНА 5

56 45

78 54

КТПН 6/0,4 №21

88

ЭЦНА 5 ЭЦНА 5

56 56

90 88

КТПН 6/0,4 №22

89

ЭЦНА 5

63

97


Таблица 4.2 - Активные и реактивные мощности минимальных и максимальных нагрузок

Наименование Подстанции

 кВт кВАр кВт кВАр





max

max

Min

Min

КТПН 6/0,4 №97

12

4,8

11,40

4,56

КТПН 6/0,4 №100

119

47,6

113,05

45,22

КТПН 6/0,4 №89

56

22,4

53,20

21,28

КТПН 6/0,4 №99

25

10

23,75

9,5

КТПН 6/0,4 №98

63

25,2

59,85

23,94

КТПН 6/0,4 №101

56

22,4

53,20

21,28

КТПН 6/0,4 №90

101

40,4

95,95

38,38

КТПН 6/0,4 № б/н

250

100

237,50

95

КТПН 6/0,4 №91

150

60

142,50

57

КТПН 6/0,4 №92

63

25,2

59,85

23,94

КТПН 6/0,4 №15

90

36

85,50

34,2

КТПН 6/0,4 №16

101

40,4

95,95

38,38

КТПН 6/0,4 №17

70

28

66,50

26,6

КТПН 6/0,4 №18

119

47,6

113,05

45,22

КТПН 6/0,4 №19

63

25,2

59,85

23,94

КТПН 6/0,4 №20

101

40,4

95,95

38,38

КТПН 6/0,4 №21

112

44,8

106,40

42,56

КТПН 6/0,4 №22

63

25,2

59,85

23,94


5. Производственная и экологическая безопасность

.1 Анализ опасных и вредных производственных факторов

При работе на ПС №516 на человека оказывает воздействие ряд опасных и вредных производственных факторов. Их воздействие и меры защиты регламентируются инструкциями по охране труда. Согласно нормативным документам на ПС №516 имеют место следующие опасные и вредные производственные факторы.

Основную опасность при работе в электроустановках представляет собой поражение человека электрическим током, вызывающее электротравмы различной степени тяжести вплоть до смертельного исхода. Для защиты от поражения электрическим током используются индивидуальные и групповые средства.

При эксплуатации электрооборудования подстанции возможно проведение работ на высоте, что чревато возможностью получения травмы. Для предотвращения несчастных случаев следует соблюдать правила работы на высоте.

Из-за наличия работающего электрооборудования высокого напряжения на подстанции, а также при проведении работ, на подстанции наблюдается повышенный уровень шума, что является вредным производственным фактором. Для снижения воздействия шума следует использовать индивидуальные защитные средства.

Повышенная температура поверхности оборудования представляет собой опасность получения ожогов. Во избежание подобных травм следует применять защитные средства и соблюдать правила эксплуатации оборудования.

Электролит в аккумуляторных батареях представляет собой опасность получения химических ожогов. При работе в помещении аккумуляторной батареи требуется соблюдать осторожность и при необходимости использовать защитные средства.

Повышенная и пониженная температура воздуха ухудшают самочувствие человека, снижая его работоспособность и притупляя восприятие, а также могут явиться причиной травмы. При работе на подстанции следует применять спецодежду, соответствующую температуре окружающего воздуха.

Наличие в воздухе твёрдых частиц пыли и металла представляет опасность попадания в глаза. При работе в загрязнённом воздухе следует применять средства для защиты глаз.

.2 Производственный шум и борьба с ним

Шумом называются любые нежелательные для человека звуки, мешающие труду или отдыху и создающие акустический дискомфорт. Звук, или звуковые волны, - это механические колебания, распространяющиеся в твердых, жидких и газообразных средах под воздействием возмущения. Пространство, в котором присутствуют звуковые волны, называется звуковым полем.

Повышенный уровень шума на рабочем месте является одним из наиболее распространенных вредных и опасных производственных факторов. В условиях сильного шума возникает опасность снижения и потери слуха, которая во многом обусловлена индивидуальными особенностями человека. Некоторые люди теряют слух даже после непродолжительного воздействия шума сравнительно умеренной интенсивности, у других даже сильный шум при длительном воздействии не приводит к потере слуха. С действием шума связан ряд профессиональных заболеваний (нервные и сердечно-сосудистые заболевания, язвенная болезнь, тугоухость и др.). Шум оказывает вредное воздействие на центральную и вегетативную нервную систему, вызывая переутомление и истощение клеток коры головного мозга. Снижая общую сопротивляемость организма, шум способствует развитию инфекционных заболеваний. В условиях шума понижается внимание, нарушается координация движений, ухудшается работоспособность, что создает угрозу возникновения несчастного случая. Кроме того, шум в помещении не позволяет расслышать сигналы опасности, определить на слух сбои в работе оборудования и механизмов, что может привести к аварии и человеческим жертвам.

В производственных условиях источниками шума являются работающие станки и механизмы, ручные механизированные инструменты, электрические машины, компрессоры, кузнечно-прессовое, подъемно-транспортное, вспомогательное оборудование (вентиляционные установки, кондиционеры) и т.д. По характеру спектра шумы подразделяются на широкополосные и тональные. По временным характеристикам шумы подразделяются на постоянные и непостоянные. В свою очередь непостоянные шумы подразделяются на колеблющиеся во времени, прерывистые и импульсные.

В качестве характеристик постоянного шума на рабочих местах, а также для определения эффективности мероприятий по ограничению его неблагоприятного влияния, принимаются уровни звукового давления в децибелах (дБ) в октавных полосах со среднегеометрическими частотами 31,5; 63; 125; 250; 500; 1000; 2000; 4000; 8000 Гц. В качестве общей характеристики шума на рабочих местах применяется оценка уровня звука в дБ(А), представляющая собой среднюю величину частотных характеристик звукового давления.

Основные мероприятия по борьбе с шумом - это технические мероприятия, которые проводятся по трем главным направлениям:

         устранение причин возникновения шума или снижение его в источнике;

         ослабление шума на путях передачи;

         непосредственная защита работающих.

Наиболее эффективным средством снижения шума является замена шумных технологических операций на малошумные или полностью бесшумные. Одним из наиболее простых технических средств борьбы с шумом на путях передачи является звукоизолирующий кожух, который может закрывать отдельный шумный узел машины. Значительный эффект снижения шума от оборудования дает применение акустических экранов, отгораживающих шумный механизм от рабочего места или зоны обслуживания машины. Применение звукопоглощающих облицовок для отделки потолка и стен шумных помещений приводит к изменению спектра шума в сторону более низких частот, что даже при относительно небольшом снижении уровня существенно улучшает условия труда. Безусловно, в некоторых случаях можно ограничиться средствами индивидуальной защиты работника.

Обычные мероприятия по защите от шума малоэффективны в отношении инфразвука. Инфразвук - это колебания с частотами ниже слышимых человеком. Их верхняя граница находится в пределах 16...25 Гц, а нижняя не определена. Имея большую длину волны, инфразвуковые колебания очень слабо поглощаются в атмосфере и легче огибают препятствия, чем колебания с более высокой частотой. Характерная особенность инфразвука - очень малое поглощение в различных средах, что затрудняет борьбу с ним. Инфразвук проходит даже через самые толстые стены и распространяется на большие расстояния.

Производственный инфразвук возникает за счет тех же процессов, что и шум слышимых частот. Наибольшую интенсивность инфразвуковых колебаний создают машины и механизмы, имеющие поверхности больших размеров, совершающие низкочастотные механические колебания (инфразвук механического происхождения) или турбулентные потоки газов и жидкостей (инфразвук аэродинамического или гидродинамического происхождения). Максимальные уровни низкочастотных акустических колебаний от промышленных и транспортных источников достигают 100-110 дБ.

Исследования биологического действия инфразвука на организм показали, что при уровне от 110 до 150 дБ и более он может вызывать у людей неприятные субъективные ощущения и многочисленные реактивные изменения, к числу которых следует отнести изменения в центральной нервной, сердечно-сосудистой и дыхательной системах, вестибулярном анализаторе. Имеются данные о том, что инфразвук вызывает снижение слуха преимущественно на низких и средних частотах. Выраженность этих изменений зависит от уровня интенсивности инфразвука и длительности действия фактора.

Нормируемыми характеристиками инфразвука на рабочих местах являются уровни звукового давления в децибелах в октавных полосах частот со среднегеометрическими частотами 2, 4, 8, 16 Гц. Допустимыми уровнями звукового давления являются 105 дБ в октавных полосах 2, 4, 8, 16 Гц и 102 дБ в октавной полосе 31,5 Гц. Для непостоянного инфразвука нормируемой характеристикой является общий уровень звукового давления.

Ультразвук - неслышимый человеческим ухом звук частотой свыше 18 кГц Ультразвук весьма сильно поглощается газами и значительно слабее - жидкостями. Ультразвуковой диапазон частот условно делится на низкочастотный (12... 100 кГц) и высокочастотный (100 кГц...1 ГГц), которые оказывают различное воздействие на организм человека.

Длительное систематическое воздействие ультразвука, распространяющегося воздушным путем, вызывает изменения нервной, сердечно-сосудистой и эндокринной систем, слухового и вестибулярного анализаторов. Наиболее характерным является наличие вегетососудистой дистонии и астенического синдрома. Меры предупреждения неблагоприятного действия ультразвука на организм человека состоят, в первую очередь, в проведении мероприятий технического характера. К ним относятся: создание автоматизированного ультразвукового оборудования с дистанционным управлением; использование по возможности маломощного оборудования, что способствует снижению интенсивности шума и ультразвука на рабочих местах на 20-40 дБ; размещение оборудования в звукоизолированных помещениях или кабинетах с дистанционным управлением; оборудование звукоизолирующих устройств, кожухов, экранов из листовой стали или дюралюминия, покрытых резиной, противошумной мастикой и другими материалами. При проектировании ультразвуковых установок целесообразно использовать рабочие частоты, наиболее удаленные от слышимого диапазона - не ниже 22 кГц.

Если по производственным причинам невозможно снизить уровень интенсивности шума и ультразвука до допустимых значений, необходимо использование средств индивидуальной защиты - противошумов, резиновых перчаток с хлопчатобумажной прокладкой.

Степень восприятия низкочастотного ультразвука зависит от его интенсивности, длительности и размеров области организма, подвергнутой воздействию ультразвука. Для индивидуальной защиты от ультразвука используют противошумы (звуковые колебания в противофазе), наушники, резиновые перчатки. Мерами защиты от ультразвука служат звукоизолирующие материалы, кожухи, экраны, звукопоглощающие устройства. При контакте с ультразвуком более 50% рабочего времени рекомендуются перерывы продолжительностью 15 мин через каждые 1,5 часа работы. Значительный эффект дает комплекс физиотерапевтических процедур - массаж, УФ-облучение, водные процедуры, витаминизация и др.

Вибрация - это механическое колебательное движение системы с упругими связями. Она возникает, например, при эксплуатации транспортных средств и оборудования; используется для производственных целей для выполнения технологических операций (уплотнение материалов, забивка свай в грунт, разгрузка транспортных средств и др.). Вызывает быструю утомляемость и заболевания людей. Наиболее чувствителен организм к частотам от 200 до 250 Гц. Особенно опасны колебания в диапазоне 6...9 Гц, так как внутренние органы человека имеют такую же собственную частоту. При совпадении собственных частот с внешними резко нарастает амплитуда вынужденных колебаний. Это явление называется резонансом. Воздействие общей вибрации в резонансной зоне весьма опасно, так как может стать причиной повреждения внутренних органов человека. Резонанс также приводит к расстройству зрительного восприятия.

Наиболее действенным средством защиты человека от вибрации является устранение непосредственно его контакта с вибрирующим оборудованием. Осуществляется это путем применения дистанционного управления, промышленных роботов, автоматизации и замены технологических операций. Снижение неблагоприятного действия вибрации ручных механизированных инструментов на оператора достигается путем технических решений:

         уменьшением интенсивности вибрации непосредственно в источнике (за счет конструктивных усовершенствований);

         средствами внешней виброзащиты, которые представляют собой упругодемпфирующие материалы и устройства, размещенные между источником вибрации и руками человека-оператора.

В комплексе мероприятий важная роль отводится разработке и внедрению научно обоснованных режимов труда и отдыха. Например, суммарное время контакта с вибрацией не должно превышать 2/3 продолжительности рабочей смены; рекомендуется устанавливать 2 регламентируемых перерыва для активного отдыха, проведения физиопрофилактических процедур, производственной гимнастики по специальному комплексу. В целях профилактики неблагоприятного воздействия локальной и общей вибрации работающие должны использовать средства индивидуальной защиты, рукавицы или перчатки.

5.3 Электробезопасность на подстанции

Опасность поражения людей электрическим током на производстве обусловлена несоблюдением мер предосторожности, а также отказом или неисправностью электрического оборудования. Следствием этого могут быть местные и общие нарушения в организме. Местные нарушения могут варьироваться от незначительных болевых ощущений до тяжелых ожогов с обгоранием и обугливанием отдельных частей тела. Общие нарушения вызывают сбои в функционировании центральной нервной системы, органов дыхания и кровообращения. При этом наблюдаются обмороки, потеря сознания, расстройства речи, судороги, нарушение дыхания вплоть до остановки. При тяжелых поражениях электрическим током может наступить мгновенная смерть.

По характеру воздействия различают биологическое, тепловое, механическое и химическое действие электрического тока. Биологическое действие проявляется в раздражении и возбуждении живых тканей организма (судороги). Тепловое действие вызывает ожоги отдельных участков тела, нагрев кровеносных сосудов и нервных волокон. Внешнее проявление ожогов начинается с покраснения кожи и образования пузырей с жидкостью до почернения и обугливания кожи и мягких тканей. Механическое действие связано с сильным сокращением мышц вплоть до их разрыва, вывихом суставов и даже повреждением костей. Химическое действие тока приводит к электролизу (разложению) крови, межтканевой и других жидкостей организма.

Опасность электрического тока как поражающего фактора состоит в том, что его присутствие не ощущается органами чувств человека. Только в момент прикосновения тела человека к источнику электрического напряжения и возникновения поражающего воздействия организм начинает ощущать болевые проявления от протекания тока. Степень вредного воздействия электрического тока на человека при его поражении зависит от индивидуальных особенностей организма, общего электрического сопротивления тела (электропроводности), напряжения и рода тока, пути прохождения тока через тело человека, продолжительности воздействия, условий внешней среды (температура, влажность, запыленность) и других факторов. Тяжесть поражения человека пропорциональна силе тока, прошедшего через его тело. Сила тока зависит от приложенного напряжения и электрического сопротивления организма.

Общее электрическое сопротивление организма складывается из сопротивлений участков тела, расположенных на пути тока. Отдельные части тела обладают различной электропроводностью: ее наименьшее значение свойственно верхнему слою кожи, в котором отсутствуют нервные окончания и кровеносные сосуды (его сопротивление составляет до 100 кОм), более высокой электропроводностью обладают костные, нервные, мышечные ткани и жидкости. При расчетах значения сопротивления человеческого организма принимают равными 1 кОм при напряжении 50 В и выше и 6 кОм - при напряжении 36 В. В связи с большими различиями значений сопротивления тканей человека и невозможностью заранее предвидеть место контакта тела человека с токоведущей частью оборудования определить поражающую силу тока невозможно. Поэтому для оценки безопасных условий исходят из допустимого напряжения. Безопасным напряжением считают 36 В (для светильников местного стационарного освещения, переносных светильников и электроинструмента в помещениях с повышенной опасностью) и 12 В (для переносных светильников при работе внутри металлических резервуаров, котлов, в осмотровых канавах). Однако и такие напряжения в определенных ситуациях могут представлять опасность для жизни и здоровья работающих. При электросварочных работах используют напряжение 65 В.

Безопасные уровни напряжения получают, преобразуя напряжение осветительной сети с помощью понижающих трансформаторов. Распространить применение безопасного напряжения на все электрические устройства не представляется возможным, так как уменьшение рабочего напряжения ведет к снижению мощности, что экономически неоправданно.

В производственных процессах используются два рода тока - постоянный и переменный. Они оказывают различное воздействие на организм при напряжениях до 500 В. Опасность поражения постоянным током меньше, чем переменным. Переменный ток с повышением частоты менее опасен. Наибольшую опасность представляет ток частотой 50 Гц, которая является стандартной для отечественных электрических сетей. Продолжительность воздействия тока часто является фактором, от которого зависит исход поражения. Чем длительнее воздействует электрический ток на организм, тем тяжелее последствия.

Условия внешней среды, окружающей человека в ходе производственной деятельности, могут повысить опасность поражения электрическим током. Например, работа в жарких и сырых помещениях с большими энергозатратами приводит к повышенному потовыделению и к уменьшению сопротивления поверхностного слоя кожи. Стесненный характер помещений увеличивает вероятность случайного прикосновения к токопроводящим частям оборудования. Металлический или другой токопроводящий пол также создает повышенную электроопасность.

По степени воздействия на человека различают три пороговых значения тока: ощутимый, неотпускающий и фибрилляционный. Ощутимым называют электрический ток, который при прохождении через организм вызывает ощутимое раздражение. Неотпускающим считают ток, который при прохождении через человека вызывает непреодолимые судорожные сокращения мышц руки, ноги или других частей тела, соприкасающихся с токоведущим проводником. Фибрилляционным является ток, вызывающий при прохождении через организм фибрилляцию сердца - разновременное и разрозненное сокращение отдельных мышечных волокон сердца и паралич дыхания.

По степени опасности поражения человека током все помещения делят на три класса: помещения без повышенной опасности, с повышенной опасностью и особо опасные помещения. Помещения без повышенной опасности характеризуются нормальными температурой и влажностью, отсутствием пыли и наличием нетокопроводящих полов.

В таких помещениях можно пользоваться электрифицированным инструментом напряжением до 220 В. К помещениям без повышенной опасности относятся рабочие комнаты административно-управленческого персонала, вычислительные центры, приборные участки, диспетчерские, инструментальные и др. Помещения с повышенной опасностью имеют либо повышенную относительную влажность воздуха, длительно превышающую 75 %, либо температуру, постоянно или периодически превышающую 35 °С, либо технологическую токопроводящую пыль, оседающую на проводах и внутри электрических машин и аппаратов, либо токопроводящие металлические, земляные, железобетонные или кирпичные полы. Такие условия встречаются в производственных помещениях транспортных организаций: зонах технического обслуживания и ремонта, кузнечно-рессорных, сварочных, термических, вулканизационных и других отделениях.

Особо опасные помещения характеризуются наличием двух или более условий, относящихся к помещениям с повышенной опасностью, или чрезмерной влажностью, достигающей 100 % и постоянно вызывающей образование конденсата внутри помещения, или наличием агрессивных паров, газов, жидкостей, действующих разрушающе на изоляцию и токоведущие части электрооборудования. В транспортных организациях особо опасными считаются места хранения топливо-смазочных материалов, аккумуляторные, малярные отделения, склады для хранения опасных грузов.

Для обеспечения безопасности жизнедеятельности при обслуживании электроустановок и надежности работы необходимы точное соблюдение правил технической эксплуатации электроустановок и проведение мероприятий по защите от электротравматизма. Одним из таких направлений является применение безопасного напряжения - 12 или 36 В. Для его получения используют понижающие трансформаторы, которые включают в стандартную сеть напряжением 220 или 380 В.

В целях уменьшения опасности поражения человека электрическим током применяют малое номинальное напряжение - не выше 42 В. Оно используется для питания ручного электрифицированного инструмента, переносных светильников и местного освещения в помещениях с повышенной опасностью и особо опасных помещениях. Однако и низкое напряжение не гарантирует безопасности, поэтому должны приниматься и другие меры защиты. По условиям электробезопасности электрические устройства разделены по напряжению: до 1 кВ включительно, выше 1 кВ, а также устройства с низким напряжением, не превышающим 42 В.

Для защиты от случайного прикосновения человека к токоведущим частям электроустановок используют ограждения в виде переносных щитов, стенок или экранов, размещаемых в непосредственной близости от опасного оборудования или открытых токоведущих шин. Ограждения создают помехи для неконтролируемого перемещения работающего и исключают возможность его попадания в опасную зону. Другой прием для предупреждения случайных электротравм состоит в размещении опасных или незащищенных электрических проводов на недоступной высоте в помещении.

Важное значение для защиты от случайных прикосновений имеет изоляция токоведущих частей и деталей электрооборудования. Сопротивление изоляции зависит от напряжения сети. В сетях с напряжением ниже 1 кВ оно должно быть не менее 0,5 МОм. Различают рабочую, двойную и усиленную рабочую изоляцию. Приборы и электрические устройства всегда имеют рабочую изоляцию, обеспечивающую их нормальное функционирование и защиту от поражения электрическим током. Для повышения надежности и электробезопасности оборудования используют двойную изоляцию, состоящую из рабочей и дополнительной. Сопротивление двойной изоляции должно быть не менее 5 МОм, что в 10 раз превышает сопротивление рабочей. В некоторых ответственных электрических устройствах применяют усиленную рабочую изоляцию, обеспечивающую такую же степень защиты, как и двойная изоляция.

Для защиты людей от поражения электрическим током при прикосновении к металлическим нетоковедущим частям электрооборудования, которые могут оказаться под напряжением в результате повреждения изоляции, используют защитное заземление или зануление.

Защитным заземлением называется преднамеренное электрическое соединение металлического корпуса электроустановки с землей или ее эквивалентом (водопроводные трубы, железобетонные балки, расположенные в земле). Занулением называется преднамеренное электрическое соединение при помощи нулевого защитного проводника металлических частей электрического устройства, которые в обычном режиме не находятся под напряжением, но могут под него попасть, с заземленным нулевым проводом источника питания. Защитное заземление и зануление следует выполнять во всех случаях при номинальном напряжении переменного тока 380 В и выше. При проведении работ с повышенной опасностью и особо опасных работ защитное заземление и зануление выполняют, начиная с малых напряжений, а во взрывоопасных помещениях независимо от значения напряжения.

Основным средством борьбы со статическим электричеством на всех объектах является применение заземляющих устройств Они позволяют снизить разность потенциалов между объектом и землей до нуля и тем самым исключить возможность накопления опасного потенциала. Для гарантии надежности заземления сопротивление заземляющего устройства не должно превышать 100 Ом. Эффективным средством защиты от статического электричества является увлажнение помещений. Установлено, что при относительной влажности 70 % накопления электростатических зарядов на поверхностях не происходит.

Рассмотренные направления деятельности по обеспечению электробезопасности должны осуществляться в комплексе с использованием средств коллективной и индивидуальной защиты. Последние защищают людей, работающих с электроустановками, от поражения электрическим током, воздействия электрической дуги или электромагнитного поля.

.4 Мероприятия по обеспечению пожаробезопасности

Пожарная безопасность объекта - это такое его состояние, при котором исключается возможность возникновения и развития пожаров, а также воздействия на людей опасных факторов пожара и обеспечивается защита материальных ценностей. Опасными факторами пожара являются факторы, которые приводят к травмам, отравлениям или гибели людей, большому материальному ущербу (открытый огонь и искры, высокая температура воздуха, токсичные продукты горения, дым, пониженное содержание кислорода в воздухе, обрушение перекрытий и стен зданий, сооружений, взрыв).

Пожарная безопасность обеспечивается системами предотвращения пожаров и противопожарной защиты, включающими в себя комплекс организационно-технических мероприятий и средств. При обеспечении пожарной безопасности необходимо руководствоваться Правилами пожарной безопасности в Российской Федерации, а также стандартами, строительными нормами и правилами, нормами технологического проектирования и другими нормативными документами в этой области.

Руководитель обязан обеспечить противопожарный режим согласно требованиям Правил пожарной безопасности в Российской Федерации и соответствующих отраслевых документов; назначить лиц, ответственных за пожарную безопасность на территории и в производственных помещениях подстанции, а также на местах стоянок подвижного состава; проверять не реже одного раза в квартал состояние пожарной безопасности подстанции, наличие и исправность технических средств противопожарной защиты, боеготовность объектовой пожарной охраны и добровольной пожарной дружины; организовывать проведение противопожарного инструктажа и занятий по пожарно-техническому минимуму.

Содержание территории подстанции должно соответствовать требованиям правил пожарной безопасности. Строительство временных зданий и сооружений, а также складов топливо-смазочных материалов на территории подстанции не допускается без согласования с органами государственной противопожарной службы. Запрещается загрязнять территорию отработавшими топливо-смазочными материалами. В здании подстанции запрещается курить в местах, специально не отведенных для этого; производить работы с применением открытого огня в непредусмотренных местах; пользоваться открытым огнем для освещения, проведения ремонтных и других работ; оставлять в подвижном составе промасленные обтирочные материалы и спецодежду по окончании работы.

По степени пожароопасности все вещества и материалы оцениваются по их воспламеняемости и горючести. Воспламеняемость - это способность вещества возгораться под действием источника зажигания. Горючесть - способность вещества к самостоятельному горению после воспламенения. Негорючими являются вещества, не способные к горению; трудногорючими - способные гореть под действием источника зажигания, но гаснущие после его удаления; горючими - вещества, которые продолжают гореть после удаления источника зажигания. К легковоспламеняющимся веществам относятся те, которые могут воспламеняться при кратковременном воздействии слабого источника зажигания (пламя спички, искра, накаленный электропровод и т.п.). Трудновоспламеняющимися считают вещества, воспламеняющиеся под действием мощного источника зажигания.

Газы, жидкости и твердые вещества имеют различные температурные пределы воспламенения в воздухе, по которым их причисляют к разным классификационным группам. Например, горючие газы и пары, не способные гореть в воздухе при температуре до 900 °С, относят к негорючим; неметаллические твердые вещества - также к негорючим, если при нагревании до температуры 750 °С они не горят и не выделяют теплоты, достаточной для самовоспламенения.

Для обеспечения пожаробезопасности на подстанции установлена насосная станция пожаротушения. Также доступными средствами пожаротушения являются различные виды огнетушителей, дымовые, световые и комбинированные извещатели. Нормами пожарной безопасности предусматривается ежегодная проверка огнетушителей или их перезарядка.

.5 Защита электрооборудования подстанции от атмосферных и внутренних перенапряжений

Напряжение, сколь угодно длительное приложение которого безопасно для электрооборудования, называется максимальным рабочим напряжением. Любое превышение этого уровня напряжения в той или иной степени в зависимости от длительности опасно для изоляции и называется перенапряжением.

Перенапряжения подразделяют на атмосферные (грозовые) и внутренние. Атмосферные перенапряжения возникают при ударе молнии в электроустановку (перенапряжение прямого удара) или вблизи неё в землю (индуцированные). Внутренние перенапряжения подразделяются на резонансные, возникающие в результате изменения соотношений между индуктивностями и ёмкостями цепи при неблагоприятном сочетании схемы, параметров и режима сети, и коммутационные. Важнейшие виды коммутационных перенапряжений: при плановых включениях и отключениях ненагруженных линий, реакторов и ненагруженных трансформаторов; при аварийных разрывах электрической цепи в процессе ликвидации короткого замыкания или асинхронного хода. В сетях с изолированной или компенсированной нейтралью возникают перенапряжения при дуговых однофазных замыканиях на землю.

Электротехнические установки напряжением выше 1 кВ согласно Правилам устройства электроустановок (ПУЭ) разделяются на установки с большими токами замыкания на землю (сила тока однофазного замыкания на землю превышает 500 А) и установки с малыми токами замыкания на землю (сила тока однофазного замыкания на землю меньше или равна 500 А).

В установках с большими токами замыкания на землю нейтрали присоединены к заземляющим устройствам непосредственно или через малые сопротивления. Такие установки называются установками с глухозаземленной нейтралью.

В установках, имеющих малые токи замыкания на землю, нейтрали присоединены к заземляющим устройствам через элементы с большими сопротивлениями. Такие установки называются установками с изолированной нейтралью. В установках с глухозаземленной нейтралью всякое замыкание на землю является коротким замыканием и сопровождается большим током. В установках с изолированной нейтралью замыкание одной из фаз на землю не является коротким замыканием (КЗ). Прохождение тока через место замыкания обусловлено проводимостями (в основном, емкостными) фаз относительно земли.

Выбор режима нейтрали в установках напряжением выше 1 кВ производится при учете следующих факторов: экономических, возможности перехода однофазного замыкания в междуфазное, влияние на отключающую способность выключателей, возможности повреждения оборудования током замыкания на землю, релейной защиты и др.

В электрических сетях РАО ЕЭС России приняты следующие режимы работы нейтрали:

         электрические сети с номинальными напряжениями 6...35 кВ работают с малыми токами замыкания на землю;

         при небольших емкостных токах замыкания на землю - с изолированными нейтралями;

         при определенных превышениях значений емкостных токов - с нейтралью, заземленной через дугогасящий реактор.

Если в одной из фаз трехфазной системы, работающей с изолированной нейтралью, произошло замыкание на землю, то напряжение ее по отношению к земле станет равным нулю, а напряжение остальных фаз по отношению к земле станет равным линейному, т. е. увеличится в 3 раза. Ток замыкания на землю будет небольшим, поскольку вследствие изоляции нейтрали отсутствует замкнутый контур для его прохождения. Ток замыкания на землю в системе с изолированной нейтралью будет небольшим и не вызовет аварийного отключения линии. Таким образом, изоляция нейтрали источника питания обеспечивает надежность электроснабжения, так как не отражается на работе потребителей.

Повышение напряжения по отношению к земле в неповрежденных фазах при наличии слабых мест в изоляции этих фаз может вызвать междуфазное короткое замыкание. Кроме того, напряжение в неповрежденных фазах повышается в 3 раза, следовательно, требуется выполнять изоляцию всех фаз на линейное напряжение, что приводит к удорожанию машин и аппаратов. Поэтому, хотя и разрешается работа сети с изолированной нейтралью при замыкании фазы на землю, его требуется немедленно обнаружить и устранить.

Ограничители перенапряжений (ОПН) для внутренней установки выпускаются в полимерном изоляционном корпусе. Ограничители перенапряжений (ОПН), предназначенные для наружной установки, выпускаются в корпусе с оболочкой из кремнийорганической резины. Применение покрытия из кремнийорганической резины препятствует разрушительному воздействию солнечной радиации на покрышку ограничителя перенапряжений (ОПН) и усиливает ее гидрофобность.

По принципу работы ограничители перенапряжений (ОПН) представляют собой разрядники без искровых промежутков. Ограничители перенапряжений (ОПН) подключаются напрямую к сети - это является особенностью их эксплуатации. В нормальном рабочем режиме ток через ограничитель перенапряжений (ОПН) носит емкостной характер и составляет десятые доли миллиампера. При возникновении волн перенапряжений резистор ограничителя перенапряжений (ОПН) переходит в проводящее состояние и ограничивает дальнейшее нарастание напряжения на выводах. Когда перенапряжение снижается, ограничитель перенапряжений (ОПН) возвращается в непроводящее состояние.

По сравнению с вентильными разрядниками, пришедшие им на смену ограничители перенапряжений обладают массой преимуществ, среди которых эффективность, высокое быстродействие, взрывобезопасность, малые габариты и многие другие. Так как ограничители перенапряжений (ОПН) не имеют искрового промежутка, то при их срабатывании не происходит износа контактов, а, следовательно, ОПН в течение всего срока службы не требуют обслуживания и контроля параметров.

5.6 Расчет защитного заземления

Защитным заземлением называется преднамеренное соединение с землей или ее эквивалентом металлических частей электроустановок, которые могут оказаться под напряжением при повреждении изоляции и контакта их с токоведущими частями. Назначение защитного заземления в том, чтобы создать между металлическими частями (конструкциями) или корпусом защищаемого устройства и землей электрического соединения достаточно малого сопротивления (конкретные значения для различных условий определены ПУЭ).

В установках до 1000 В применяют систему заземления при которой заземленные проводники соединяются с заземленной нейтралью. Наличие такого соединения превращает замыкание токоведущих частей на заземленные части установки в короткое замыкание из-за чего происходит отключение аварийного участка защитным аппаратом ГОСТ 12.1.030-86. Из сказанного следует, что целью устройства защитного заземления является:

установках с изолированной нейтралью - обеспечение безопасной величины тока протекающего через тепло человека при замыканиях фазы сети на заземленные участки;

установках с заземленной нейтралью - обеспечение возможности автоматического отключения поврежденного участка сети при таких же замыканиях, что и в предыдущем пункте.

Согласно ПУЭ, в электроустановках напряжением до 1000 В с глухозаземленной нейтралью, сопротивление заземляющего устройства RЗ.У. должно иметь максимальную величину RЗ.У.£ 4 Ом, не более.

Рассчитаем систему заземления по следующим исходным данным: Заземление необходимо выполнить для выключателя имеющего номинальное U=10 kB. Для заземлителей используя стальные трубы Æ 4,5 см., с толщиной стенок 3,5 мм длиной 2,5 м.

Вертикально установленные трубы соединяются стальной лентой 48х4 мм. Заземлители располагаются по контуру. Характер грунта в месте установки заземлителей суглинок.

Расчет производится в следующем порядке:

1.      Трубчатые заземлители устанавливаются в земле на глубине (от поверхности земли до верхнего конца трубы) = 0,7 м, а величину расстояния между трубами примем равной 3 длинам заземлителя: а=3∙l=3∙2,5=7,5 м. Верхние концы заземлителей соединим с помощью полосовой стали.

2.      По исходным данным в соответствии с ПУЭ для нашего случая, учитывая возможность промерзания грунта зимой и просыхания летом, удельные сопротивления грунта при расчетах следует принимать более высоким. Для этого определяются расчетные значения b и rП при использовании трубчатых заземлителей и соединительной полосы по формулам:

rЭ=rТ∙КЭ,

rП=rТ∙КП,

где rТ - сопротивление суглинка rТ=1*104 Ом∙см;

КП и КЭ - повышающие коэффициенты для данной климатической зоны, КП=4,5¸7,0, КЭ=1,8¸2,0.

rЭ=1∙104 ∙1,9=1,9∙104 Ом∙см,

rП=1∙104 ∙4,5=4,5∙104 Ом∙см.

Величина растекания сопротивления одной забитой в землю трубы:


где rЭ - удельное расчетное сопротивление грунта;

LT - длина трубы, см;

d - наружный диаметр трубы, см;

hT - глубина заложенной трубы в землю равное расстоянию от поверхности земли до середины трубы, см.

Определим требуемое число трубчатых заземлителей по формуле:

n=RЭ/rЗ,

где RЭ - сопротивление растекания одного заземлителя;

rЗ - сопротивление заземляющего устройства по ПУЭ,

n=60,98/4=15,29=16 шт.

Учитывая, что трубы соединяются заземляющей полосой, которая выполняет роль заземлителей уменьшаем полученное число труб до 15 штук.

Определим длину соединительной полосы

Ln=1,05*a*n=1,05*7,5*15=118,13 (м)

Сопротивление соединительной полосы:


где hП - глубина заложения полосы в земле;

в - ширина полосы.

Ом.

Результирующее сопротивление растеканию системы с учетом коэффициента использования труб и полосы определим по формуле:

,

где rK - коэффициент использования труб контура rK = 0,5;

rП - коэффициент использования полосы, rП=0,8.

 Ом.

 т.е. полученная величина удовлетворяет нормам.

Электросварочные работы должны выполняться согласно требованию ГОСТ 12.3.003-86, СНиП III 4-80, правил противопожарной безопасности.

Основные меры, предусмотренные для безопасной работы при проведении электросварочных работ согласно правилам технической эксплуатации электроустановок:

-        регулярно, не реже 1 раза в месяц, проверять электросварочные аппараты на соответствие техническим нормам;

         применение защитные средств (щитки и маски с защитными стеклами);

         для уменьшения вредных примесей в зале проведения работ персоналом, применение местной и общей вентиляции, а также местного отсоса воздуха;

         для защиты от брызг раскаленного металла предусматривается применение спецодежды и индивидуальных средств защиты;

         меры предусмотренные для защиты от поражения электрическим током перечисленные выше.

5.7 Освещение

Естественное освещение оказывает благоприятное воздействие на человека, поэтому все помещения в соответствии с санитарными нормами должны иметь естественное освещение, т.е. освещение помещений светом неба проникающим через световые проемы в наружных конструкциях, рекомендуется СНиП 23-05-95.

К современному производственному освещению предъявляют высокие требования гигиенического и технико-экономического характера.

Правильно спроектированное и выполненное освещение обеспечивает высокий уровень работоспособности, оказывает положительное психологическое воздействие на рабочих, содействует повышению производительности труда.

Нормирование освещенности производится в соответствии со СНиП 23-05-95 «Естественное и искусственное освещение». Категория работ по освещенности IV В, норма 200 лк (СНиП 23-05-95), для системы общего равномерного освещения.

Основные требования к рабочему освещению:

освещенность на рабочем месте должна соответствовать характеру зрительных работ;

необходимо обеспечить достаточно равномерное распределение яркости на рабочей поверхности и в пределах окружающего пространства;

на рабочей поверхности должны отсутствовать резкие тени;

в поле зрения должна отсутствовать прямая и отраженная бликость - повышенная яркость светящихся поверхностей;

величина освещенности должна быть постоянной во времени;

следует выбирать необходимый спектральный состав света;

следует выбирать оптимальную направленность светового потока;

все элементы осветительных установок должны быть достаточно долговечны, электробезопасны, а также не должны быть причиной возникновения пожара или взрыва;

установка должна быть удобной и простой в эксплуатации, отвечать требованиям эстетики.

На подстанции предусмотрено четыре системы освещения:

общее;

аварийное;

эвакуационное;

ремонтное.

Предусмотрено, что аварийное освещение представляет » 30% общего. Нормы освещенности по СНиП 23-05-95 соблюдаются.

6. Экономический анализ проекта

При проектировании аппарата необходимо исходить не только из технических задач, но и из экономической целесообразности принимаемых решений. Задачи экономического анализа состоят в том, чтобы оценить проект и отдельные его технические решения с точки зрения их экономической эффективности и чтобы, в конечном счете, получить максимальные результаты при минимальных затратах. При отсутствии экономического анализа может оказаться, что затраты на проект и его осуществление экономически не оправдываются.

В процессе разработки экономической части проекта определяются технико-экономические показатели количественной оценки качества спроектированного аппарата.

Расчеты технико-экономического обоснования производятся при сравнении разработанной конструкции с существующими, а также с другими разработанными вариантами конструкции. Технико-экономическое обоснование объекта или отдельного технического решения представляет собой выводы о его экономической эффективности, сделанные с учетом технико-экономических показателей.

В данном случае для дипломного проектирования будет рассмотрена экономическая целесообразность замены маломасляного выключателя серии ВММ-10 на вакуумный типа BB/TEL аналогичных параметров.

.1 Капитальные вложения на установку вакуумного выключателя BB/TEL

Стоимость вакуумного выключателя: Свв = 50 тыс. руб.

Капитальные вложения К включают затраты на основные фонды и оборотные средства. Так как оборотные средства в системе электроснабжения невелики (1 - 2%), то ими можно пренебречь

Основные фонды включают стоимость оборудования, затраты на установку, монтаж, наладку и пробный пуск оборудования и аппаратуры, затраты на транспортировку.

Капиталовложения на транспорт

Ктр= kt • Kв

где kt - коэффициент транспортных расходов kt = 0.05-0.1 соответственно для тяжелого и легкого оборудования)

Kв - стоимость вакуумного выключателя

Kтр - транспортные расходы

Ктр= 0,1 • 50000 = 5000 тыс. руб.

Капиталовложения на монтаж:

Км= kм • Kв

где kм - коэффициент, учитывающий затраты на монтаж и освоение оборудования kм = 0,10-0,15(от оптовой цены)

Км = 0,1 • 50000 = 5000 тыс. руб.

Общее капиталовложение:

К = Коб + Ктр+ Км

К = 0+5000+5000=10000 тыс. руб.

Два электромонтера V разряда осуществляют сборку элементов, монтаж, настройку и тестирование выключателя за 16 часов.

Определим тарифную зарплату труда электромонтеров по формуле:

Зтap= F • 50 = (3+5+6+2) • 50 = 800 руб.

где F - трудоемкость операций, час;

- тариф оплаты труда для электромонтера V разряда, руб./час.

За качество и выполнение в срок работы выплачивается премия.

Премия определяется по формуле:

Зпрем= Зтар • 20%,

Зпрем = Зтар • 20% = 800 • 0,2 = 160 руб.

Определим надбавки к заработной плате с учетом трудоемкости по формуле

З труд = З тар • К труд,

где Ктруд - коэффициент, учитывающий условия выполнения работы, %.

З труд = 800 • 0,4 = 320 руб.

Определим основную заработную плату с учетом районного коэффициента, надбавок и премий по формуле:

Зосн= (Зтар+ Зпрем+ Зтруд) •1,3

Зосн = (Зтар + Зпрем+ Зтруд1) •1,3 = (800 + 160 + 320) • 1,3 = 1664 руб.

Дополнительная заработная плата учитывает выплату отпускных и принимается как 12% от основной, определяется по формуле:

Здоп = Зосн •12%,

Здоп = Зосн • 12% = 1664 • 0,12 = 200 руб.

Плановый фонд заработной платы:

Зпол = Зосн + Здоп,

где Зосн - основная заработная плата;

Здоп - дополнительная заработная плата.

Зпол1 =1664 + 200 = 1864 руб.

Определим отчисления на социальные нужды (ЕСН) для установки вакуумного выключателя по формуле

Сотч = Зпол • котч,

где котч =30% - отчисления на социальные нужды.

Сотч = 1864• 0,30 = 559руб.

Определим основную заработную плату с учетом районного коэффициента, надбавок и премий для испытания вакуумного выключателя.

После установки выключателя необходимо провести испытания. Это осуществляется электромонтером V разряда, который выполняет свою работу за 4 часа. Согласно формуле (5.4):

Зтap = F • 50 = 4 • 50 = 200 руб.

За качество и выполнение в срок работы выплачивается премия.

Премия определяется по формуле:

Зпрем = Зтар • 20% = 200 • 0,2 = 40 руб.

Определим надбавки к заработной плате с учетом трудоемкости по формуле:

Зтруд = Зтар • 1,3 = 200 • 1,3 = 260 руб.

Где 1,3 - коэффициент, учитывающий надбавки к зарплате за работу при повышенном напряжении.

Определим основную заработную плату с учетом районного коэффициента, надбавок и премий согласно формуле:

Зосн = (Зтар + Зпрем+ Зтруд1) •1,3= (200 + 40 + 260) •1,3= 650 руб.

Дополнительная заработная плата учитывает выплату отпускных и принимается как 12% от основной, определяется по формуле:

Здоп =Зосн • 12% = 650 • 0,12 = 78 руб.

Плановый фонд заработной платы определяется по формуле:

Зпол2 = Зосн + 3доп= 650 + 78 = 728 руб.

Определим отчисления на социальные нужды (ЕСН) определяется по формуле

Сотч= Зпол • котч= 728 • 0,30 = 218 руб.

Общие затраты на оплату труда рабочих производящих модернизацию выкатного элемента с вакуумным выключателем

Сз= Зпол1+Зпол2 = 1864+728=2592 руб.

Расчет накладных затрат на модернизацию выкатного элемента с вакуумным выключателем.

Сумму накладных затрат примем как 300% от суммы основной заработной платы труда основных рабочих.

Сумма накладных затрат определяется по формуле

Снакл= С3 • 300%,

Снакл = С3 • 300% = 2592• 3 = 7776 руб.

.2 Капитальные вложения на установку масляного выключателя ВММ-10

Стоимость масляного выключателя Смв = 35 тыс. руб.

Капитальные вложения К включают затраты на основные фонды и оборотные средства. Так как оборотные средства в системе электроснабжения невелики (1 - 2%), то ими можно пренебречь

Основные фонды включают стоимость оборудования, затраты на установку, монтаж, наладку и пробный пуск оборудования и аппаратуры, затраты на транспортировку.

Капиталовложения на транспорт:

Ктр= kt • Kв,

где kt - коэффициент транспортных расходов kt = 0.05-0.1 соответственно для тяжелого и легкого оборудования)в - стоимость управляемого дросселя

Ктр= 0,1 • 35000=3500 тыс. руб.

Капиталовложения на монтаж:

Км= kм • Kв,

где kм - коэффициент, учитывающий затраты на монтаж и освоение оборудования kм = 0,10-0,15(от оптовой цены)

Км= 0,1 • 35000=3500 тыс. руб.

Общее капиталовложение:

К = Коб+ Ктр+ Км=3500+3500 =7000 тыс. руб.

Два электромонтера V разряда осуществляют монтаж, настройку, сборку элементов и тестирование масляного выключателя.

Определим зарплату электромонтеров согласно формуле

Зrap = F • 50 =(2+5+2+3) • 50 =600 руб.,

За качество и выполнение в срок работы выплачивается премия.

Премия определяется по формуле

Зпрем = Зтар • 20% =600 • 0,2 = 120 руб.

Определим надбавки к заработной плате с учетом трудоемкости согласно формуле (5.6)

Зтруд = Зтар • 40% =600 • 0,4 = 240 руб.

Определим основную заработную плату с учетом районного коэффициента, надбавок и премий согласно формуле

Зосн = (Зтар + Зпрем+ Зтруд1) *1,3 = (600 + 120 + 240) *1,3= 1248 руб.

Дополнительная заработная плата учитывает выплату отпускных и принимается как 12% от основной, определяется по формуле

Здоп =Зосн • 12% = 1248 • 0,12 = 150 руб.

Плановый фонд заработной платы определяется по формуле

Зпол1 = Зосн + 3доп= 1248 + 150 = 1398 руб.

Определим отчисления на социальные нужды (ЕСН) для установки масляного выключателя согласно формуле

Сотч= Зпол1 • котч= 1398 • 0,26 = 363 руб.

После установки выключателя необходимо провести испытания. Это осуществляется электромонтером V разряда, который выполняет свою работу за 4 часа согласно формуле

Зтap = F • 50 = 4 • 50 = 200 руб.,

За качество и выполнение в срок работы выплачивается премия.

Премия определяется по формуле

Зпрем = Зтар • 20% = 200 • 0,2 = 40 руб.

Определим надбавки к заработной плате с учетом трудоемкости согласно формуле

Зтруд = Зтар • 1,3 =200 • 1,3= 260 руб.

Определим основную заработную плату с учетом районного коэффициента, надбавок и премий согласно формуле

Зосн = (Зтар + Зпрем+ Зтруд1) •1,3= (200 + 40 + 260) •1,3= 650 руб.

Здоп =Зосн • 12% = 650 • 0,12 = 78 руб.

Плановый фонд заработной платы определяется по формуле

Зпол2 = Зосн + 3доп= 650 + 78 = 728 руб.

Определим отчисления на социальные нужды (ЕСН) согласно формуле

Сотч= Зпол • котч = 728 • 0,30 =218 руб.

Общие затраты на оплату труда рабочих производящих модернизацию выкатного элемента с масляным выключателем согласно формуле

Сз= Зпол1+ Зпол2= 1398 +728=2126 руб.

Сумму накладных затрат примем как 300% от суммы основной заработной платы труда основных рабочих.

.3 Ежегодные издержки при эксплуатации выключателей

Капитальные вложения - К = 50 тыс. руб. Амортизационные издержки:

Иа = а • К = 0,03 • 50 =1,5 тыс. руб./год

где а - (3%) амортизационные отчисления в относительных единицах, 1/год.

Расходы на текущий ремонт, включая профилактические испытания:

Ир = р • К,

где р - ежегодные отчисления на текущий ремонт.

Так как вакуумный выключатель за весь срок эксплуатации не требует текущего ремонта и профилактических испытаний, то Ир не учитываются.

Расходы на заработную плату работников, эксплуатирующих выключатель Из = 2,592 тыс. руб/год.

Вычислим эксплуатационные расходы:

И= Иа+ Ир+ Из = 1,5 + 2,592 = 4,092 тыс. руб/год.

Приведенные затраты согласно формуле (5.16):

З = рн •К + И = 0,12•50 + 4,092 = 10,092 тыс. руб/год.

Масляный выключатель ВММ-10

Капитальные вложения: К = 35 тыс. руб. Амортизационные издержки согласно формуле (5.13):

Иа = а• К = 0,03 • 35 =1,05 тыс. руб./год.

Расходы на текущий ремонт, включая профилактические испытания согласно формуле:

Ир = р• К = 0,28 • 35 = 9,8 тыс. руб./год.

Расходы на заработную плату работников, эксплуатирующих выключатель Из = 2,9 тыс. руб/год. Вычислим эксплуатационные расходы согласно формуле:

И = Иа+ Ир+ Из = 1,05 + 9,8 + 2,9 = 13,75 тыс. руб/год.

З = рн • К + И = 0,12 • 35 + 13,75 = 17,95 тыс. руб/год

Затраты на эксплуатацию масляного выключателя состоят из оплаты труда рабочих производящих эксплуатацию масляного выключателя и материала необходимого для поддержания работоспособного уровня физического состояния масляного выключателя.

Для поддержания необходимого уровня состояния масляного выключателя нужно проводить технический осмотр, контрольно-профилактические мероприятия, средний ремонт, капитальный ремонт.

Технический осмотр необходимо производить первый раз через 6 месяцев. А затем проводятся контрольно - профилактические мероприятия.

Контрольно - профилактические мероприятия для масляного выключателя выражены в виде замены трансформаторного масла.

Средний ремонт производится через 5 лет. Капитальный ремонт производится через 8 лет. Технический осмотр необходимо производить как для вакуумного выключателя, так и для масляного выключателя. В связи с тем что эти затраты не существенны по сравнению с остальными затратами поэтому пренебрежем расходами на технический осмотр.

Для масляного выключателя при 10 отключениях необходимо производить замену трансформаторного масла в объеме 0,01 тонн.

Найдем затраты необходимые для одного раза замены трансформаторного масла по формуле:

Стр = V • Ц,

где V - объем необходимого трансформаторного масла, тонн;

Ц - цена трансформаторного масла, Ц = 67000 руб/тонн.

Стр = V • Ц = 0,01 • 67000 = 670 руб.

Срок эксплуатации 25 лет при заданных коммутациях 5 отключений в год определим количество операций по замене трансформаторного масла по формуле

= К • О/n,

Где «К» - срок эксплуатации (год);

О - действующее количество отключений в год; n - нормированное количество отключений в год.

Принимаем N = 12.

Найдем затраты на трансформаторное масло за весь срок эксплуатации по формуле

пол.тр= N • Стр=12• 670 =8040 руб.

Материальные затраты для проведения среднего ремонта масляного выключателя Ссрмат = 1,1 тыс.руб.

Средний ремонт осуществляется двумя электромонтерами V разряда, которые выполняют данную работу за 7 часов.

Определим тарифную зарплату труда электромонтеров согласно формуле:

Зтap = F • 50 = 7 • 50 = 350 руб.,

За качество и выполнение в срок работы выплачивается премия. Премия определяется по формуле:

Зпрем = Зтар • 20% = 350 • 0,2 = 70 руб.

Определим надбавки к заработной плате с учетом трудоемкости согласно формуле:

Зтруд = Зтар • 40% = 350 • 0,4 = 140 руб.

Определим основную заработную плату с учетом районного коэффициента, надбавок и премий согласно формуле:

Зосн = (Зтар + Зпрем + Зтруд1) •1,3 = (350 + 70 + 140 ) •1,3 = 728 руб.

Дополнительная заработная плата учитывает выплату отпускных и принимается как 12% от основной, определяется по формуле:

Здоп =Зосн • 12% = 728 • 0,12 = 87 руб.

Плановый фонд заработной платы определяется по формуле:

Зпол = Зосн + 3доп=728 + 87 = 815 руб.

Определим отчисления на социальные нужды (ЕСН) по формуле:

Сотч = Зпол • котч= 815 • 0,26 = 212 руб.

Затраты на материал для проведения среднего ремонта Ссрмат=1,1 тыс.руб.

Найдем количество средних ремонтов за весь срок эксплуатации масляного выключателя, исходя из того, что средний ремонт необходимо проводить раз в пять лет. Определяется по формуле:

К=Т/5=5,

где, Т - срок эксплуатации, Т=25лет.

Определим полные затраты за весь срок эксплуатации для проведения среднего ремонта по формуле

СМср= К • (Зпол + Ссрмат) = 5 • (815 + 1100) = 9,575 тыс. руб.

Капитальный ремонт осуществляется двумя электромонтерами V разряда.

Определим тарифную зарплату труда электромонтеров по формуле:

Зтap = F • 50 =12 • 50 =600 руб.

За качество и выполнение в срок работы выплачивается премия согласно формуле:

Зпрем = Зтар • 20% =600 • 0,2 = 120 руб.

Определим надбавки к заработной плате с учетом трудоемкости согласно формуле:

Зтруд = Зтар • 40% =600 • 0,4 = 240 руб.

Определим основную заработную плату с учетом районного коэффициента, надбавок и премий согласно формуле:

Зосн = (Зтар + Зпрем+ Зтруд1) •1,3= ( 600 + 120 + 240 ) •1,3= 1248 руб.

Дополнительная заработная плата учитывает выплату отпускных и принимается как 12% от основной, определяется по формуле:

Здопосн • 12% = 1248 • 0,12 = 150 руб.

Плановый фонд заработной платы определяется согласно формуле:

Зпол = Зосн + 3доп= 1248 + 150 = 1398 руб.

Определим отчисления на социальные нужды (ЕСН) по формуле:

Сотч= Зпол • котч= 1398 • 0,26 =363 руб.

Затраты на материал для проведения капитального ремонта Скап.мат = 9,967 тыс.руб. Найдем количество средних ремонтов за весь срок эксплуатации масляного выключателя, исходя из того, что капитальный ремонт необходимо проводить раз в восемь лет, согласно формуле:

К=Т/8=25/8=3,125,

где Т - срок эксплуатации, Т = 25 лет.

Принимаем К = 3.

Определение полных затрат за весь срок эксплуатации для проведения капитального ремонта масляного выключателя по формуле:

СМкап= 3 • ( Зпол + Скап.мат) =3 • ( 1398 + 9967 ) =34095 тыс. руб.

Сумму накладных затрат примем как 300% от суммы основной заработной платы труда рабочих.

Сумма накладных затрат определяется по формуле:

Снакл = (ЗСРпол 5 + ЗКАПпол 3) • 300% = (815• 5 + 1398• 3) • 3 = 24,807 тыс. руб.

подстанция трансформатор электрооборудование перенапряжение

Заключение

В данной работе было проведено исследование подстанции 35/6 кВ №516 Лугинецкого нефтяного месторождения, изучено установленное электрооборудование, такое как силовые понижающие трансформаторы и защитно-коммутационное оборудование. Особое внимание уделялось коммутационным аппаратам, а именно установленным масляным выключателям. Проанализировав их текущее состояние и качество работы было выявлено, что они нуждаются в необходимой замене на более качественное и надежное оборудование. В качестве перспективной замены были предложены вакуумные выключатели серии BB/TEL на напряжение до 10 кВ производства «ТАВРИДА ЭЛЕКТРИК», т.к. они по всем параметрам превосходят уже установленные масляные выключатели.

Литература

1. Блантер С.Г., Суд И.И. Электрооборудование нефтяной и газовой промышленности - М.: Недра, 1980.

. Справочник по электрическим аппаратам высокого напряжения Н.М. Адоньев, В.В. Афанасьев, И.М. Бортник и др.; Под ред. В.В. Афанасьева. - Энергоагомиздат. 1987.

. Чухинин А.А. Электрические аппараты [Интернет ресурс].- Москва: Энергоатомиздат, 1998

. Вакуумный выключатель BB/TEL. Руководство по эксплуатации - ТАВРИДА ЭЛЕКТРИК.

. Бак С.И., Читипаховян С.П. Электрификация блочно-комплектных установок нефтяной промышленности. - М.: Недра, 1989.

. Кощеев Л.А., Ерохин В.И. и др. Справочник электромонтера буровых установок. - М.: Недра, 1974. - 304 с.