Материал: Исследование динамики механической системы

Внимание! Если размещение файла нарушает Ваши авторские права, то обязательно сообщите нам

1=5ẍ4=3,175 (с-2); (97)

2=6,67ẍ4=4,235 (с-2) (98)


1= 3,175t (с-1); (99)

2=4,235t (с-1); (100)

Найдём углы поворота

φ1=1,5875t2 (c) (101)

φ2=2,1175t2 (c) (102)

Для наглядности целесообразно результаты представить в виде таблиц:

Таблица 9 - Результаты расчёта для груза 4

а, м/с2V, м/сS, м



0,635

0,635t

 0,3175t2


Таблица 10 - Результаты расчёта для блока 1

3,175

3,175t

1,5875t2



Таблица 11 - Результаты расчёта для груза 6

а, м/с2

V, м/с

S, м

0,3175

0,3175t

0,15875t2


Таблица 12 - Результаты расчёта для блока 2

4,235

4,235t

2,1175t2


. Применение уравнения Лагранжа второго рода к исследованию движения механической системы

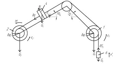
Рисунок 4 - Расчётная схема

Система имеет одну степень свободы. Выберем в качестве обобщённой системы координат переменную груза (q=x5), пологая, что груз движется вниз и отсчитывая q в сторону движения.

Запишем уравнение Лагранжа II рода:

 (103)

где Q - это обобщённая сила.

Кинетическая энергия системы (возьмём из формулы (61))

=(42,76)/g=(42,76)/g; (104)

Т.к. здесь Т зависит только от ,то:

/=85,555/g; (105)

(d/dt)(/)=85,555/g; (106)

Рассчитаем правую часть уравнения Лагранжа II рода. Известно, что обобщённая сила равна частному суммы элементарных работ внешних сил и элементарного перемещения:

 (107)

Рассчитаем сумму элементарных работ. Будем считать, что.

; (108)

Выразим все переменные через :

; (109)

 (110)

; (111)

M*6,67+G4sin40-Fтр4-G6*0,5=(0,6*6,67+20-3,464-15)=5,536; (112)

Уравнение Лагранжа принимает вид:

 (5,536*9.8)/85,555=0,635 м/с2=a4; (113)

v5=0,635t (м/с); (114)=0,3175t2 (м); (115)

Найдём скорость 6 груза;

=0,3175t (м/с); (116)

Найдём перемещение 6 груза:

=0,15875t2 (м); (117)

Найдем угловые ускорения блоков:

1=5ẍ4=3,175 (с-2); (118)

2=6,67ẍ4=4,235 (с-2) (119)

Найдём угловые скорости блоков:

1= 3,175t (с-1); (120)

2=4,235t (с-1); (121)

Найдём углы поворота

φ1=1,5875t2 (c) (122)

φ2=2,1175t2 (c) (123)

Для наглядности целесообразно результаты представить в виде таблиц:

а, м/с2

V, м/с

S, м

0,635

0,635t

 0,3175t2


Таблица 14 - Результаты расчёта для блока 1

3,175

3,175t

1,5875t2


Таблица 15 - Результаты расчёта для груза 6

а, м/с2

V, м/с

S, м

0,3175

0,3175t

0,15875t2


Таблица 16 - Результаты расчёта для блока 2

4,235

4,235t

2,1175t2


. Применение теоремы о движении центра масс и теоремы об изменении количества движения к исследованию движения механической системы

Рисунок 5 - Расчетная схема

Определим ускорения центра масс механической системы:

m1+m2+m4+m6)/(m1+m2+m4+m6); (124)

/(м/с2); (125)

m1+m2+m4+m6)/(m1+m2+m2+m6); (126)

-0,635*sin30*40-0,635*0,5*30)/100=-0,22(м/с2); (127)

Определим скорость центра масс механической системы:

0,22t (м/с); (128)

(м/с); (129)

Определим координаты центра масс механической системы:

xc=0,11t2 (м); (130)

yc=-0,11t2 (м); (131)

Определим количество движения механической системы:

Qx=M; (132)

Qy=M; (133)

Q= ; (134)

Определим главный вектор внешних сил:

(H); (135)

 (H); (136)

(H); (137)

Определим реакции опор блока 1:

 (138)

 (139)

Подставим значения  и  из первого способа:

 (140)

 (141)

Определим реакции опор блока 2:

 (142)

 (143)

Подставим значения  из первого способа:

 (144)

 (145)

Таблица 17 - Результаты расчёта для остальных величин:

 

 Н

 



Заключение

В данной курсовой работе была исследована механическая система, под действием сил тяжести приходящая в движение из состояния покоя.

В результате, были достигнуты изначально поставленные цели, а именно: определены законы, скорости, ускорения движения всех тел, силы натяжения в ветвях нити, силы трения, кинетическая энергия механической системы, работа сил при заданном перемещении, главный вектор сил инерции, скорость и ускорение центра масс системы, главный вектор внешних сил, действующих на систему, количества движения механической системы.

Было доказано, что независимо от метода исследования механической системы, результат расчёта законов движения тел, образующих механическую систему одинаков.

Библиографический список

1.      Бутенин Н.В. Курс теоретической механики / Н.В. Бутенин. - СПб.: Лань, 2009. - 736 с.

.        Мещерский И.В. Задачи по теоретической механике / И.В. Мещерский. - СПб.: Лань, 2008. - 448 с.

.        Никитин Н.Н. Курс теоретической механики / Н.Н. Никитин. - М.: Высшая школа, 2002. - 719 с.

.        Тарг С.М. Краткий курс теоретической механики / С.М. Тарг. - М.: Высшая школа, 2006. - 416 с.

.        Яблонский А.А. Сборник заданий для курсовых работ по теоретической механике / А.А. Яблонский. - М.: Интеграл-Пресс, 2006. - 384с.