Материал: Електроустаткування верстата

Внимание! Если размещение файла нарушает Ваши авторские права, то обязательно сообщите нам

На верстаті використовуються наступні величини напруги та сили струму:

Силове коло: 380 В

Коло керування: 127 В; 5A

Коло освітлення: 56 В; 2A

Коло живлення електромагнітних муфт: 36 В.; 0,6A

Електоршкаф розміщений на лівій стороні станини верстатів,його корпус з основою верстату заземлюючою шиною. Верстат має три електродвигуна М1, М2 та М3.

Електронасос охолодження М1

Електронасос для подачи охолоджуючої рідини до інструменту слугує електронасос типу Х14 - 22М.

Характеристика електродвигуна:

Потужність 0,18 кВт

Число обертань за хвилину 2800 об/хв

Напруга 220/380 В

Електродвигун приводу шпинделя М2

Електродвигун асинхронний трифазний з короткозамкненим ротором типу 4А112М4 М300 ГОСТ 19523 - 74

Характеристика електродвигуна:

Потужність 7,5 кВт

Число обертань за хвилину 1450 об/хв

Напруга 220/380 В

Електродвигун приводу подачи М3

Електродвигун асинхронний трифазний з короткозамкненим ротором типу 4АХ80В4 М300 ГОСТ 19523 - 74

Характеристика електродвигуна:

Потужність 2,2 кВт

Число обертань за хвилину 1400 об/хв

Напруга 220/380 В

Нульовий захист електродвигунів верстату здійснюється магнітними пускачами. Захист елементів електрообладнання від пошкоджень в разі к.з. здійснюється автоматичним вимикачем QF, а також запобіжникамиFU1…6. Захист електродвигунів від перенавантажень забезпечується тепловим реле КК1…3.

2.2 Схема електрична принципова та порядок її дії


Напруга на верстат подається за допомогою автоматичного вимикача QF.Вибір напрямку обертання шпинделя здійснюється реверсивними пускачем КМ1. Уразі використання у роботі ожолоджуючої рідини електронасос М1 вмикається вимикачем SA1, після чого він вмикається одночасно з двигуном М2.

Кнопка SB 5 «товчок шпинделя» призначена для короткочасного включення двигуна М2. При натисканні кнопки SB5 струм проходить через нормально закритий контакт КТ 1.1 та підключає магнітний пускач КМ1, який замкне свої контакти у силовому колі та дасть можливість підключити двигун М2.

Пуск двигуна М2 здійснюється за допомогою кнопки SB2.1 яка розімкне свій нормальнозамкнений контакт SB 2.2 котрий запобігає короткому замкненню,струм проходить через замкнений контакт SB5 та підключить котушку магнітного пускача КМ1, котрий замкне свої контакти КМ1 у силовому колі, та замкне контакт КМ1.1,який поставить кнопку « пуск» SB2 на саможивлення,та розімкне нормальнозамкнений контакт КМ1.2 у колі випрямлення і також розімкне свій додатковий нормальнозамкнений контакт КМ 1.3 який запобігає противоввімкненню. Щоб запустити двигун М2 у реверсивному режимі треба натиснути кнопку SB 3.1, при цьому нормально замкнений контакт SB 3.2 розімкнеться щоб запобігти короткому замкненню, катушка магнітного пускача КМ2 замкне свої контакти КМ2 у силовому колі та замкне контакт КМ 2.1 який поставить кнопку на саможивлення, розімкне нормальнозамкнений контакт КМ2.2 у колі випрямлення і розімкне свій нормальнозамкнений контакт КМ2.3 який запобігає противоввімкненню. В свою чергу при натисканні SB2.1 спрацює катушка КТ1, котра замкне контакт КТ1.2 та розімкне контакт КТ1.1 у колі керування, і замкне свій контактКТ1.3 з витримкою часу розімкнення.

Пуск двигуна М3 здійснюється за допомогою кнопки SB4. При натисканні на кнопку SB4 струм вмикає котушку магнітного пускача КМ3, котра замкне контакт в колі керування КМ3.1 який поставить кнопку SB3 на саможивлення, та замкне контакт КМ3 у силовому колі, цим самим увімкне двигун М3.Зупинка двигунів здійснюється за допомогою натискання на кнопку «Стоп» SB1, яка розімкне коло.

Гальмування приводу шпинделя після відімкнення живлення електродвигуна М2 здійснюється гальмівною муфтою YC. Живлення котушки електромагнітної муфти YC надходить від випрямляча VD1…4, через контакт реле часу КТ1.3 та контакту магнітного пускача КМ1.2 та КМ2.2.

Час находження гальмівної муфти YC під напругою визначається настройкою реле часу KT1.

Місцеве освітлення верстату здійснюється за допомогою лампи накалювання EL, яка вмикається вимикачем SA3.

Захист від струмів коротких замикань здійснюється плавкими запобіжниками (FU1 - FU6).

Захист електродвигунів від перевантажень здійснюється тепловим реле (КК1 - КК3).

Нульовий захист електродвигунив здійснюється котушками пускачів, які при зниженні напруги до 85% від номинального автоматично вимикають електродвигуни від живлення.

2.3 Призначення, будова, монтаж та технічне обслуговування апаратури керування та захисту верстату


Електрична апаратура, що застосовується в освітлювальних і силових мережах для цілей управління або захисту, може бути класифікована за різними ознаками.У залежності від природи явища, яке покладено в основу дії апаратів, їх можна розділити на: апарати ручного керування (рубильники, перемикачі, вимикачі, контролери), дія яких відбувається в результаті механічної дії на них зовнішніх сил; електромагнітні апарати (магнітні пускачі, контактори, електромагнітні реле), робота яких заснована на електромагнітних силах, що виникають при роботі апарату.У залежності від виконуваних функцій апарати поділяють на: комутаційні, призначені для включення і відключення різних ланцюгів. Комутаційна апаратура може бути неавтоматичного управління (рубильники, перемикачі, магнітні пускачі) і автоматичного керування (реле, контактори, автоматичні вимикачі); струмообмежуючі і пускорегулюючі (реостати, контролери); апарати захисту електричних ланцюгів (реле захисту, запобіжники). Апаратура може працювати в різних режимах: довгостроково, короткочасно або в умовах повторно-короткочасного навантаження. Апарати розрізняються також за такими ознаками: номінального струму і напрузі; числу полюсів (фаз); роду струму (постійний чи перемінний); увазі приєднання (з переднім або заднім приєднанням проводів); способу захисту від впливу навколишнього середовища (відкрите виконання, захищене, пиловологозахищене) та іншими ознаками.

Монтаж та технічне обслуговування апаратури керування і захисту

Технічне обслуговування електричних апаратів складається з огляду та чистки, котрі проводять один раз в три місяці, а також з перевірок їх стан та дрібний ремонт, виконаних за графіком або по мірі необхідності.

Більша частина пошкоджень комутаційних апаратів трапляються за контактів, а також вваслідок зменшення опору ізоляції обмоток та замикань останніх на корпусі. Відмова апартів може бути раптова та поступальна.

Раптові відмови апаратури бувають із зі пошкодження контактів та попадання поміж ними струмопровідних тіл, механічних перегрузок контактів внаслідок ударів та вібрації, їх зварювання та заліпання.

Поступове відмовлення апаратів виникає в результаті зношування та старіння деяких вузлів та деталей апарата. Найбільш пошир енна поломка електромагнітних апаратів, їх причини.

При технічному обслуговуванні електроапаратів напругою до 1000 В виконують наступним чином: чистку, усунення виявлених дефектів, контроль температури нагріву контактів, котушок та інших струмопровідних елементів, зачистку контактів від забруднення, окисів, підправка та регулювання одночасності їх замикання та розмикання, контроль температури та вміст масла в маслонаповнювальних апаратах; заміну плавких вставок та не підлягаючих до ремонту запобіжників; перевірку цілосності пломб на реле, наявність написів вказуючи назву на апаратах; контроль роботи апаратів сигналізації; перевірку справності електропроводки, заземлюючих устройств.

Магнітний пускач

Призначення

Пускач електромагнітний - це низьковольтне електромагнітне (електромеханічне) комбінований пристрій розподілу та управління призначене для пуску і розгону електродвигуна до номінальної швидкості, забезпечення його безперервної роботи, відключення живлення і захисту електродвигуна та підключених ланцюгів від робочих перевантажень. Пускач являє собою контактор (Мал. 2.4), комплектуватися додатковим устаткуванням: тепловим реле, додаткової контактної групою або автоматом для пуску електродвигуна, плавкими запобіжниками.

У пускачів магнітних по табличці і зовнішнім виглядом перевіряють тип, розмір, виконання. Знімають кришку захисного кожуха і видаляють тимчасові транспортні кріплення рухомої системи. Переконуються в комплектності поставки і відсутності механічних пошкоджень і слідів корозії на деталях пускача. Перевіряють хід рухомої системи в робочому положенні пускача (вертикальне).

Натискаючи без перекосу на виступи траверси, контролюють вільне переміщення якоря і повне повернення його у вихідне положення під дією зворотних пружин.

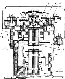
Будова

Мал. 2,2. Магнітний пускач

- підстава; 2 - рухомий контактний міст, 3 - нерухомий контакт; 4 - приєднувальний затискач; 5 - сердечник; 6 - якір; 7 - поворотна пружина; 8 - дугогасильні камери;

Принцип дії

при подачі напруги на котушку якір притягується до сердечника, нормально-відкриті контакти замикаються, нормально-закриті розмикаються. При відключенні пускача відбувається зворотна картина: під дією поворотних пружин рухливі частини повертаються у вихідне положення, при цьому головні контакти і нормально-відкриті блок контакти розмикаються, нормально-закриті блок контакти замикаються.

Автоматичний вимикач

Призначення

Автоматичний вимикач - це контактний комутаційний апарат, що спроможний вмикати, проводити та вимикати струм, коли електричний ланцюг у нормальному стані, а також вмикати, проводити протягом певного встановленого часу і вимикати струм при певному аномальному стані електричного ланцюга.

Автоматичний вимикач (механічний) (МЕС 441-14-20), «автомат» - це механічний комутаційний апарат, здатний включати, проводити і відключати струми при нормальному стані ланцюга, а також включати, проводити протягом заданого часу і автоматично відключати струми в зазначеному аномальному стані ланцюга, таких, як струми короткого замикання.

Мал. 2,3 Автоматичний вимикач

Будова

Автоматичний вимикач для монтажу на DIN-рейку конструктивно виконаний у діелектричному корпусі. Включення-відключення проводиться важелем (1 на малюнку 2,3), проводи приєднуються до гвинтових клем (2). Засувка (9) фіксує корпус вимикача на DIN-рейки і дозволяє при необхідності легко його зняти (для цього потрібно відтягнути засувку, вставивши викрутку в петлю засувки). Комутацію ланцюга здійснюють рухомий (3) і нерухомий (4) контакти. Рухомий контакт підпружинений, пружина забезпечує зусилля для швидкого розчеплення контактів. Механізм розчеплення приводиться в дію одним з двох розщіплювачем: тепловим або магнітним.

Тепловий роз'єднувач являє собою біметалеву пластину (5), що нагрівається протікаючим струмом. При протіканні струму вище допустимого значення біметалічна пластина вигинається і приводить в дію механізм розчеплення., розділ 8.6.1. тепловий роз'єднувач, складає 1,45 від номінального струму запобіжника. Налаштування струму спрацьовування виробляється в процесі виготовлення регулюючим гвинтом (6). На відміну від плавкого запобіжника, автоматичний запобіжник готовий до наступного використання після охолодження пластини.

Магнітний (миттєвий) роз'єднувач представляє собою соленоїд (7), рухомий сердечник якого також може приводити в дію механізм розчеплення. Струм, що проходить через запобіжник, тече по обмотці соленоїда і викликає втягування осердя при перевищенні заданого порогу. Миттєвий роз'єднувач, на відміну від теплового, спрацьовує дуже швидко (частки секунди), але при значно більшому перевищенні струму: в 2 ÷ 10 разів від номіналу, залежно від типу (автоматичні вимикачі поділяються на типи A, B, C і D залежно від чутливості миттєвого розчеплювача).

Під час розчеплення контактів може виникнути електрична дуга, тому контакти мають особливу форму і знаходяться в дугогасильні камері (8).

Принцип дії

Електричний струм подається через підводячий провід, який підключається до верхньої клемі, проходить через біметалічну пластину, потім через гнучкий провідник на котушку соленоїда, з котушки через гнучкий провідник на рухливий контакт, а потім іде через нижню гвинтову клему на підключену електромережу.

При перевантаженні, біметалічна пластина нагрівається, внаслідок чого згинається і приводить в дію механізм розчеплення, автоматичний вимикач відключається.

При короткому замиканні, струм великої сили проходить через котушку соленоїда, створюється електромагнітне поле, яке змушує сердечник (шток) соленоїда різко смикнути нагору, привести в дію механізм розчеплення і відключити автоматичний вимикач. При розмиканні рухомого контакту утворюється дуга, яка направляється в дугогасильні камери й загасає.

Запобіжники

Призначення

Запобіжник - електричний апарат, призначений для захисту електричних ланцюгів в ненормальних режимах роботи: теплові перевантаження і коротке замикання (КЗ). Його включають послідовно в ланцюг захищається об'єкта (апарату, обладнання тощо). Основним елементом запобіжника є плавка вставка (мідна, алюмінієва, цинкова, мідна посріблена) з плоскої пластини з вузькими перешийками або з металевої круглої дроту, яка розплавляється за ненормальних режимах роботи. Плавка вставка запобіжника не повинна перегоряти при струмі, що дорівнює 120-130% від номінального струму протягом години. При струмі 200% від 1ном вона повинна спрацьовувати протягом години.

ПР-2 - запобіжник розбірний. Ці запобіжники випускаються на номінальні струми від 6 до 1000 А і номінальну напругу до 500 В. Знаходять застосування як в установках постійного, так і змінного струму. Корпус запобіжника представляє собою герметичний круглий патрон, виконаний з газогенеруючих матеріалу (фібри), мал.2,4 а. Він складається з циліндра 3, латунної обойми 4 і латунного ковпачка 5. Плавка вставка 1 штампується з цинку, має одне або кілька звужень (залежно від номінальної напруги), мал.2,4 в). При відповідному струмі плавка вставка плавиться в місці звуження і виникає електрична дуга. Під дією високої температури дуги стінки патрона виділяють гази (водень, вуглекислий газ). Тиск у патроні за частки напівперіоду піднімається до 4-8 МПа. Під дією газового середовища підвищеного тиску дуга швидко гасне. Плавка вставка 1 притискається до латунної обоймі 4 ковпачком 5, який є вихідним контактом, мал.2,4 а). У запобіжниках на струми більше 60 А плавка вставка 1 приєднується до контактних ножам 2, мал.2,4 6).

Будова

Мал. 2,4 Заопбіжник

Принцип дії

Основними елементами Запобіжників ПР-2 (ЗР-2) є топка вставка, яка додається до розсічки захищаємого кола, й дугогасящого пристрою (корпусу запобіжника), що гасить дугу, яка виникає після плавлення вставки.

Процес гасіння дуги в Запобіжнику ПР-2 (ЗР-2) відбувається наступним чином. При відключенні згорають звужені перешийки топкої вставки, після чого виникає дуга. Під дією високої температури в герметичному патроні відбувається збільшення тиску, у зв’язку з чим піднімається вольт - амперна характеристика дуги, що сприяє її швидкому гасінню.

Топка вставка Запобіжника ПР-2 (ЗР-2) має від одного до чотирьох звужень в залежності від номінальної напруги. Звужені участки сприяють швидкому її топленню при короткому замиканні та створюють процес токообмеження.

Оскільки гасіння дуги в Запобіжнику ПР-2 (ЗР-2) відбувається дуже швидко (0,002с), можно вважати, що розширені частини вставки в процесі гасіння залишаються нерухомими.