Материал: Акустооптический эффект

Внимание! Если размещение файла нарушает Ваши авторские права, то обязательно сообщите нам

Рисунок 1.6-Коллингарный фильтр на кристаллическом кварце: 1- поляризатор, 2 - анализатор; 3 - пьезопреобразователи; 4- кристалл кварца; 5 - звукопоглотитель

Для того, чтобы фильтром были пропущены все угловые компоненты с длиной волны, соответствующей данной частоте звука fо, необходимо выполнить условие

                                                                                     (1.8)

где f0=(υ/λ0)Δn; Δn=׀п0-пе׀; α-угол, отсчитываемый от основного направления светового луча на входе. Условие (4.4), эквивалентное

                                                                         (1.9)

автоматически выполнялось в приборах с коллинеарными фазовыми скоростями, в которых излучение распространялось перпендикулярно оптической оси кристалла. Для других направлений света реализация ограничивает возможный выбор направления распространения света и звука относительно кристаллографических осей. Кроме того учет требований закона сохранения энергии-импульса и коллинеарности направлений групповых скоростей света и звука позволяет определить единственное направление взаимодействия света и звука. Численный расчет дает угол с осью [001] в кристаллическом кварце, равный 101°, звук и свет распространяются в плоскости (100).

Экспериментально Изготовленный фильтр, использующий кристаллический кварц, имел длину взаимодействия звука и света 10 см при угловой апертуре не менее 3° и разрешении 34 нм на длине волны света 0,63 мкм. Эффективность дифракции около 90% при мощности управляющего сигнала 1-5 Вт.

Высокий коэффициент акустооптического качества парателлурита позволил отказаться от условия коллинеарности групповых скоростей, сохранив при этом достаточную эффективность дифракции.

Одновременно, правда, уменьшилось разрешение фильтра, зависящее от длины пути акустооптического взаимодействия. Отличительной особенностью фильтра является широкая угловая апертура. Это обеспечивается таким выбором направления волнового вектора звуковой волны, при котором рассогласование волновых векторов из-за расходимости света компенсируется соответствующим изменением двулучепреломления. Работу фильтра иллюстрирует векторная диаграмма рисунок 1.7. Направление звуковой волны выбрано так, чтобы касательные к кривым были параллельны, тогда небольшие изменения направления волнового вектора падающего света не приводят к нарушению условия сохранения импульса.

Рисунок 1.7- Векторная диаграмма, иллюстрирующая работу неколлинеарного фильтра на парателлурите

Конструкция фильтра показана на рисунке 1.8. Сдвиговая акустическая волна распространялась в плоскости (110), ее нормаль составляла с осью [110] угол 10". Поляризация сдвиговой звуковой волны, как н в анизотропном дефлекторе на парателлурите, совпадает с направлением [110]. Линейно поляризованный свет надает на входную поверхность кристалла, наклоненную к плоскости (001) под углом 20,7°. Резонансная частота пьезопреобразователя 145 МГц. Из-за акустической анизотропии кристалла звуковой луч отклонялся на угол 64,3° от направления [110].

фильтр акустооптический эффект

Рисунок 1.8-Неколлинеарный фильтр на монокристалле парателлурита

При изменении частоты управляющего сигнала от 100 до 180 МГц осуществлялась перестройка фильтра от 0,7 до 0,45 мкм. Полоса пропускания фильтра на длине волны 0,63 мкм составила 330 нм. Для обеспечения 95% прозрачности на этой длине волны потребовалась мощность управляющего сигнала всего 0,12 Вт Угловая апертура фильтра ±7°. Поскольку прошедший и дифрагированный лучи выходят из кристалла под разными углами, для света с небольшой расходимостью можно обойтись без анализатора.

Преимущество высокоэффективных материалов, например, таких как парателлурит, в перестраиваемых фильтрах проявляется слабее, чем в других акустооптических приборах Разрешение фильтра и его эффективность растут одновременно с увеличением длины акустооптического взаимодействия Поэтому для фильтров с высоким разрешением могут успешно применяться материалы с относительно низким коэффициентом акустооптического качества, такие как кристаллический кварц или ниобат лития.

2. ИСПОЛЬЗОВАНИЕ акустооптических эффектов ДЛЯ ИЗМЕРЕНИЯ ФИЗИЧЕСКИХ ВЕЛИЧИН

.1 Измерительные системы на основе акустооптических перестраиваемых фильтров

Ниже рассмотрены новые разработки измерительных систем на основе акустооптических перестраиваемых фильтров.


Рисунок 2.1-Измерительная система трехмерной формы прозрачной тонкой пленки на основе акустооптического перестраиваемого фильтра

Измерительная система содержит акустооптический перестраиваемый фильтр 40, источник освещения 10, элемент фиксации 12, одномодовое оптическое волокно 11, выпуклая линза 13 и 50, расщепитель электронного пучка 20, тарелку разделения на блоки, прибор с зарядовой связью 70, элемент разделения 60 и модуль интерферометра Майкельсона 30, состоящий из выпуклой линзы 31, расщепителя электронного пучка 32 и плоскости зеркала 33.

Кратко рассмотрим принцип действия измерительной системы. Белый свет, испускаемый источником освещения 10, проходя через одномодовое оптическое волокно 11 и выпуклую линзу 13, попадает в расщепитель электронного пучка 20. Отражательный угол расщепителя электронного пучка 20 равен приблизительно 45° относительно белого направления входного светового потока так, чтобы белый свет был отражен перпендикулярно к его входному направлению. Из расщепителя 20 белый свет отражается в выпуклую линзу 31, а затем фокусируется на расщепителе электронного пучка 32. Здесь часть белого света отражается на плоскость зеркала 33, а оставшаяся часть падает на измеряемый объект.

Белые световые лучи подвергнуты изменению длины волны, будучи отраженными на измерительном объекте 80. Изменение длины волны вызвано информацией формы и информацией толщины измеряемого объекта. Информация формы и информация толщины могут быть независимо измерены в этих двух режимах согласно режиму тарелки разделения на блоки 34.

Отраженные на измеряемом объекте 80 белые световые лучи проходят через расщепители электронного пучка 32 и 20, выпуклую линзу 31 и вводятся в акустооптический перестраиваемый фильтр 40. Здесь белый свет в результате дифракции на ультразвуке разбивается на два порядка: порядок -1, соответствующий белому свету, отраженному от измеряемого объекта 80 и порядок +1, поглощаемый элементом разделения 60. Свет порядка -1 вводится через выпуклую линзу 50 в прибор с зарядовой связью (ПЗС) 70, формирующий спектральное изображение.

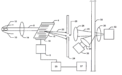
На рисунке 2.2 представлена измерительная система для измерения концентрации выбранного компонента при производстве бумаги или пластика. Она состоит из широкополосного источника света 12, линзы 14, параболического рефлектора 10, акустооптического перестраиваемого фильтра, экрана 24, микропроцессора 25, бесконтактного температурного датчика 27, фокусирующих линз 28 и 34, приемника излучения 38. Дополнительно могут быть добавлены фокусирующая линза 36 и приемник излучения 32.

Рисунок 2.2-Измерительная система для измерения концентрации выбранных компонентов при производстве бумаги и пластика

Датчик, может например, измерить содержание влаги при производстве листов бумаги, а также содержание полимера при производстве пластика.

Свет от широкополосного источника света 12 коллимируется, используя линзу 14 и параболический рефлектор 10, и направляется на акустооптический перестраиваемый фильтр. Акустооптический перестраиваемый фильтр состоит из акустооптического кристалла 16, присоединенного к нему пьезоэлектрического преобразователя 18, звукопоглотителя 4 и генератора 6. Непрозрачный экран 24 отражает или поглощает свет падающий на него акустооптического фильтра, за исключением света определенной длины волны, который проходит через апертуру 26 в экране 24. Свет, прошедший через апертуру 26, падает на полотно бумаги.

Метод измерения основан на поглощении света влаги или другим компонентом, находящимся в бумаге. Т. е. чем выше содержание компонента тем меньше света будет отражено или рассеяно от полотна.

Отраженный и рассеянный свет из полотна 30 регистрируется приемниками излучения 38 и 32.

Бесконтактный температурный датчик 27 предназначен для измерения температуры полотна и передает информацию на микропроцессор 25. Микропроцессор в соответствии с изменением температуры полотна подает сигнал на генератор 6 для изменения радиочастоты с целью изменения длины волны света на выходе из акустооптического перестраиваемого фильтра.

В заключение отметим, что дальнейшее совершенствование измерительных систем, содержащих акустооптические перестраиваемые фильтры различных модификаций, может еще в большей степени расширить сферу их применения.

2.2 Акустооптические фильтры для анализа изображений и спектроскопии

АОПФ представляет собой электрически перестраиваемый фильтр, работающий на принципе объемной (брегговской) дифракции светового пучка на неоднородностях показателя преломления. Такие неоднородности возникают при возбуждении в двулучепреломляющих кристаллах ультразвуковой акустической волны. При анизотропной дифракции в одноосных кристаллах существует минимальная частота ультразвука, при которой углы падения и дифракции совпадают, и происходит так называемое коллинеарное акустооптическое взаимодействие. Анизотропное акустооптическое взаимодействие было впервые реализовано экспериментально на кристаллическом кварце, затем - в ниобате лития и молибдате кальция. Коллинеарные акустооптические фильтры на этих материалах обладают простой геометрией, однако выбор материалов, в которых возможно такое взаимодействие, относительно невелик, так как необходимо наличие специфических констант взаимодействия. Рассмотрев обобщенную задачу, Chang показал, что возможны другие конфигурации акустооптических фильтров, в которых звук и свет распространяются под углом друг к другу, как в дефлекторах лазерного излучения (неколлинеарный акустооптический фильтр). При этом удалось сильно расширить класс используемых для фильтрации материалов.

Основным условием акустооптического фильтра с широкой угловой апертурой считается равенство нулю производной df/dα=0, где f- частота ультразвука вблизи оптимального угла падения света при фиксированной длине волны падающего излучения. Физический смысл этого выражения - независимость параметров дифракции от угла в первом порядке малости. Надо отметить, что это условие выполняется и в коллинеарных фильтрах.

С точки зрения классической оптики широкоапертурный акустооптический фильтр представляет собой последовательность тонких (полуволновых) интерферометров Фабри-Перо. Такая последовательность обладает единственной полосой пропускания и большой допустимой угловой апертурой, так как в отличие от дифракционной решетки разность хода интерферирующих лучей зависит от угла падения только во втором порядке малости. В ИК канале использована конфигурация с еще более широкой угловой апертурой, в которой зависимость от угла появляется только в третьем порядке малости. Приведем подборку формул, по которым можно оценить основные параметры в любой конструкции АОПФ: коэффициент передачи на резонансной длине волны η, полосу пропускания Δλ, и угловую апертуру ΔΩ:

                                                                                      (2.1)

   (2.2)

                                                                                        (2.3)

где M, a, b- параметры материала, L- длина взаимодействия света и звука, Pac- мощность акустического потока, S- площадь входного светового пучка, λ− длина волны света.

Акустическая волна в кристалле возбуждается при помощи пьезоэлектрического преобразователя, на который подается перестраиваемый сигнал высокой частоты (порядка 10-200 МГц, при мощности как правило, не превышающей нескольких ватт). Акустооптические фильтры применяются для анализа изображений и спектроскопии в научных исследованиях и системах промышленного контроля. Хотя производство широкоугольных фильтров сравнительно небольшое, их технологическая база очень развита, так как те же технологии используются при массовом производстве дефлекторов лазерного излучения и в узкоапертурных фильтрах для телекоммуникаций. В качестве материала фильтра часто используется кристаллическая двуокись теллура (парателлурит TeO2). Это тетрагональный кристалл группы 422 белого цвета, прозрачный в диапазоне 0.35-5 мкм, отличается высокими акустооптическими характеристиками: рекордно низкой скоростью сдвиговой волны - 617 м/с, что дает очень высокий коэффициент оптического качества, в 600-800 раз больше, чем, например, у плавленого кварца. Это означает, что для 100% отклонения или модуляции падающего излучения достаточны мощности возбуждения, измеряемые милливаттами. Низкая скорость распространения ультразвука несколько уменьшает быстродействие акустооптических приборов на основе TeO2, однако этот недостаток окупается высокой эффективностью материала.

Ряд акустооптических устройств для анализа изображений был разработан в годдардовском космическом центре НАСА для астрономических наблюдений. Применение акустооптических фильтров для спектроскопии дает возможность создания малогабаритных высоконадежных устройств с большим временем жизни при относительно высоком спектральном разрешении и возможности фильтрации изображений. Поэтому применение таких устройств в космосе обещает большие преимущества по сравнению с классическими спектральными схемами. Работы по космическим применениям АОПФ велись и у нас в стране (в частности, изображающие акустооптические спектрометры применялись на спутниках серии Океан) и за рубежом, однако в литературных источниках сведений о результатах таких разработок мало.

2.3 Акустикооптические модуляторы

Для большинства оптических датчиков важной характеристикой является их способность изменять параметры светового излучения (например, интенсивность) под действием управляющих сигналов, которая называется модуляцией света. Управляющие сигналы могут иметь различную природу. Приведем некоторые из них: температура, химические вещества с разными коэффициентами преломления, электрические поля, механическое напряжение и т.д. В этом разделе будет рассматриваться модуляция света под действием электрических сигналов и акустических волн.

Рис. 4.21 Электрооптический модулятор, состоящий из двух поляризационных фильтров и кристалла

Коэффициент преломления в некоторых кристаллах зависит от приложенного электрического поля. Это объясняется природой распространения лучей света внутри кристалла. Обычно допустимые направления поляризации света определяются симметрией кристалла. Приложенное к кристаллу внешнее электрическое поле может изменить эту симметрию, и, следовательно, привести к модуляции интенсивности света. Одним из часто используемых материалов в электрооптических устройствах является ниобат лития (LiNbO3). На рис. 4.21 показан электрооптический модулятор, состоящий из кристалла, расположенного между двумя поляризационными фильтрами, ориентированными под углом 90° друг к другу Входной поляризатор ориентирован под углом 45° к оси кристалла.

Рис. 4.22. Акустикооптический модулятор, создающий множество лучей

На поверхность кристалла прикреплены два электрода, при изменении напряжения на которых происходит изменение поляризации падающего света на втором поляризаторе, что, в свою очередь, ведет к модуляции интенсивности выходного излучения Подобный эффект можно наблюдать, когда кристалл подвергается воздействию механических сил, особенно, акустических волн. Однако акустико-оптические устройства используются в оптоволоконной технике, в основном, в качестве оптических фазовращателей и сравнительно редко как модуляторы интенсивности излучений Акустические волны, проходя через кристалл, вследствие эффекта фотоупругости вызывают в нем механические напряжения, линейно изменяющие его коэффициент преломления. Это, в свою очередь, при определенных условиях приводит к отклонению выходящих оптических лучей, также проходящих через этот кристалл (рис. 4.22) Таким образом, акустические волны создают для лучей света как бы дифракционную решетку. Акустикоопти-ческие устройства часто изготавливаются из ниобата лития и кварца, которые способны работать с акустическими волнами в широком частотном диапазоне: от десятков МГц до нескольких ГГц. Скорость звука через ниобат лития составляет порядка 6х103м/с, поэтому 1-ГГц акустическая волна, имеющая длину волны 6 мкм, сравнима с излучением в И К спектральном диапазоне.

ЗАКЛЮЧЕНИЕ

Современная акустооптика тесно связана не только со своими «материнскими» разделами физики - с акустикой и оптикой, но и с кристаллофизикой (активно исследуется акустооптическое взаимодействие в кристаллах), а также с прикладными дисциплинами, такими как оптоэлектроника и радиофизика.

В то время как в акустооптических приборах происходит преобразование акустических сигналов в оптические (а в фотоакустических системах оптические сигналы преобразуются в акустические), в акустоэлектронике изучаются системы со взаимным преобразованием акустических и электрических сигналов.

Родственной по отношению к акустооптике областью является лазерная виброметрия, рассматривающая методы оптического зондирования колеблющихся (вибрирующих) тел.

Эффект фотоупругости, обеспечивающий акустооптическую дифракцию и рефракцию, лежит также в основе поляризационно-оптического метода исследования статических деформаций материалов.

СПИСОК ИСПОЛЬЗОВАННЫХ ИСТОЧНИКОВ

1.     Балакший В.И., Парыгин В.Н., Чирков Л.И. Физические основы акустооптики. М., Радио и связь, 1985.

2.     Дж.Фрайден. Современные датчики. Справочник.- Москва: Техносфера, 2005. - 592c.