7.3. Многоэлектронные атомы. Квантовые числа. Пространственная и
энергетическая модель кристалла.
Все рассмотренное выше, было верно для атома водорода, но для многоэлектронных атомов необходимо провести корректировку модели. Для атома водорода было достаточно главного квантового числа
и спинового, чтобы удовлетворить принципу исключения Паули. Для многоэлектронных атомов необходимо ввести дополнительно азимутальное квантовое число
, которое характеризует форму орбиты (
. и магнитное квантовое число
-определяет ориентацию орбиты. Сложные атомы (молекулы) требуют квантования не только по энергии, но и по импульсу, моменту импульса, магнитному моменту и др.
Принцип Паули: в одной квантовой системе не может быть двух электронов с одинаковым набором квантовых чисел. В другом варианте, этот принцип звучит как: два и более тождественных фермиона не могут находиться в одном квантовом состоянии. Фермион – это частица с полуцелым значением спина
(собственного момента импульса
.=
. Фермионы подчиняются статистике Ферми-Дирака, которая
описывает ФС, элементы которой различимы. Этот принцип объясняет стабильность электронных оболочек атомов, делая возможным существование сложных химических элементов. Отметим, что принцип запрета Паули также следует из решений волнового уравнения Шредингера.
При соединении атомов в молекулу, ячейку кристалла, квантовой системой становится соответствующее объединение взаимодействующих частиц (элементов системы) и все квантовые законы и принципы распространяются на всю эту систему. Число атомов в единице объёма громадно
1/см3.
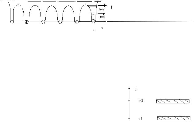
Пространственная модель кристалла:
а) потенциальные кривые становятся замкнутыми и изменяются с периодичностью чередования узлов решётки;
б) на границе с вакуумом потенциальные кривые становятся выше, что соответствует внешней контактной разности потенциалов, определяющей работу выхода.
Энергетическая модель:
а) уровни в каждом n-состоянии распадаются настолько близких значений, сколько необходимо для удовлетворения принципа Паули (порядки числа электронов в кристалле).
б) эти уровни становятся практически не различимы и можно говорить об образовании энергетических зон для каждого значения главного квантового числа.
При обсуждении классификации веществ по проводимости проводят более крупное деление на зоны:
а) энергетическая зона валентных электронов; б) зона электронов проводимости (свободных электронов).
в) каждой зоне могут быть интервалы энергий, которую не могут принимать электроны. Это запрещенные зоны.
По ширине запрещённой зоны между валентной и свободной и классифицируются вещества на проводники, диэлектрики и полупроводники.
7.4.Распределение Ферми-Дирака. Уровень Ферми.
Сформулированная выше энергетическая модель кристалла носит общий характер. В пределах энергетической зоны не все уровни оказываются заняты или, говоря языком статистики, существует некоторая закономерность распределения электронов по энергиям.
Уфермионов нет принципа неразличимости как у классических элементов статистической системы. Они различаются квантовыми числами. Это первое отличие
Постановка задачи..
Имеем термодинамическую систему из N невзаимодействующих частиц. Энергия частицы в
i-том состоянии . Система находится в равновесном состоянии T=Const. |
|
|
Классическая постановка: Какова вероятность, что в состоянии |
находится |
частиц? |
Квантовая интерпретация: Какова вероятность, что на данном энергетическом уровне
находится один
электрон и это состояние реализуется α способами (другие квантовые числа) ? |
|
Вторая особенность данной системы заключается в том, что при Т 0 число |
может изменяться (переход |
на более низкие энергетические уровни без получения энергии из вне), то есть мы имеем ТД систему, состоящую из нескольких подсистем с изменяющимся числом частиц. Для описания таких систем следует воспользоваться большим распределением Гиббса. Равновесное состояние в таких системах достигается при равенстве температур и химических потенциалов µ.
Гамильтониан для таких систем имеет вид: – |
=- |
|
– полная энергия частицы. |
|
Гамильтониан для подсистемы из |
идентичных элементов примет вид: |
|||
|
|
|
= |
. |
Каноническое (классическое) распределение Гиббса тогда можно записать: |
||||
|
|
– |
функция распределения вероятностей. |
|
Применим полученное распределение к фермионам т.е для любого уровня
имеем лишь два значения
: 0 или 1 ( уровень свободен - или занят) и используя условие нормировки для нахождения С, получим:
C= 
Теперь можно окончательно записать вероятность того, что состояние
занято (
Это распределение Ферми –Дирака электронов по энергиям в квантовой системе (подробнее в Приложении1К).
Проведём анализ полученного результата.
1.В квантовой физике принято называть химический потенциал уровнем Ферми-
Найдём его физический смысл.Пусть Т=0К.
Тогда для 
Все уровни меньше (равные) уровня Ферми заняты. При значениях энергии больший уровня Ферми
уровни свободны.
Уровень Ферми - максимальный уровень энергии, занятый при абсолютном нуле
При Т вероятность заполнения уровней выше уровня Ферми отлична от нуля и при
. Для полупроводников уровень Ферми располагается в запрещенной зоне и имеет чисто статистический смысл. 2.Равновесие в термодинамических системах с обменом
элементами наступает при равенстве температур и химических потенциалов. Тогда уровень Ферми определяет равновесное состояние электронов (фермионов) в кристаллах. 3.Рапределение Ф-Д позволяет найти относительное число электронов в единице объёма с энергиями в заданном интервале.
.распределение переходит в классическое распределение частиц по энергиям типа распределения Максвелла.
7.5.Работа выхода электрона. Электронная эмиссия. Контактные явления в металлах и полупроводниках. Работа выхода электрона из кристалла. Электронная эмиссия.
Электроны, имеющие энергии порядка уровня Ферми, (при Т
могу переходить на более высокие уровни т.е. переходить в зону проводимости и терять связь с конкретным атомом. В металлах концентрация свободных электронов достаточно велика. Возьмем другую систему отсчёта энергии электронов: внутри вещества
энергия отрицательна, на поверхности = 0, вне кристалла –положительна. Распределение потенциальной энергии вблизи поверхности кристалла претерпевает «скачок»
Свободные электроны вблизи поверхности постоянно стремятся выйти за пределы кристалла. Их удерживают сила Кулона – она постоянно возвращает их на место. Таким образом, у поверхности кристалла образуется так называемый «виртуальный» электронный слой. За счет этого образуется двойной заряженный слоя с напряженностью электрического поля
.
Работа, которую необходимо совершить, чтобы преодолеть кулоновскую силу притяжения ионного остова решётки и тормозящие силы контактного электрического поля и покинуть кристалл», называется работой выхода электрона из вещества. Обычно полагают работу выхода A
.Электрон должен обладать при этом энергией
.
Явление выхода электронов из вещества – электронная эмиссия.По типу источника, сообщающего энергию для выхода различают:
1)Термоэлектронную эмиссию (источник – нагревание)
2)Фотоэлектронную эмиссию (источник – свет)
3)Автоэлектронную эмиссию (источник – статическое поле)
4)Вторичная электронная эмиссия (энергию получают в результате бомбардировки частицами катода).
В принципе можно рассчитать концентрацию свободных электронов, способных покинуть кристалл и образовать эмиссионный ток, по распределению Ф-Д.:
, где
- )d
exp{-
- закон Ричардсона-Дешмана.
Контактные явления в металлах и полупроводниках
Контакт металл-металл. Рассмотрим контакт двух разнородных металлов с разным уровнем Ферми.
зависит от концентрации электронов. Если привести эти металлы в контакт, то это
равносильно двум термодинамическим системам, способным обмениваться частицами. Для равновесия таких систем, как было установлено, необходимо равенство температур и химических потенциалов. Вероятность заполнения энергетического уровня w в металлах определяется распределением Ферми:
. При
этом, на границе металл-вакуум
равновесие наступит при равенстве полных энергий
=
. Рассмотрим вначале
случай, когда
,
,
. Тогда будет происходить обмен частицами без получения энергии из вне.
Равновесие наступит при равенстве новых уровней Ферми |
, что приведёт к |
возникновению контактной разности потенциалов |
. |
Таким образом, разность потенциалов: |
внутренняя контактная разность |
потенциалов . |
|
В случае равенства уровней Ферми, но различных работ выхода контактирующих металлов, возникает электрическое поле за счёт суперпозиции полей двойных заряженных слоев с напряженностью
|
. Это также вызовет переход электронов и приведёт к возникновению контактной разности |
|
потенциалов, называемой внешней. |
|
|
При |
равновесие будет не только в контакте, но и во всем кольце, то есть при обходе кольца суммарная |
|
разность потенциалов будет равна нулю. |
|
|
Если |
то нарушится равновесие, а следовательно, равновесие установится на более высоком уровне в |
|
одном из контактов. Тогда возникает ЭДС |
. Это явлениетермоэдс или термотока. Для получения более |
|
высокого значения Э.Д.С. подбирают контактные пары так, чтобы внешняя и внутренняя разности потенциалов |
||
имели одинаковый знак. |
|
|
Эффект Пельтье При пропускании тока от внешнего источника через контакт двух разнородных металлов, как |
||
установил Пельтье, происходит нагревание или охлаждение контакта. |
||
Эффект Пельтье прямой, если происходит охлаждение, обратный, если нагревание. |
||
Знак эффекта определяется направлением перехода электронов: |
||
переход на более высокий уровень требует получения энергии |
||
от решетки кристалла (охлаждение), на более |
|
|
низкий-отдачи энергии (нагревание). |
|
|
Рассмотрим некоторые термоэлектрические явления в полупроводниках. |
||
В полупроводниках концентрация электронов и дырок есть функция температуры, ее общая формула: |
||
B
Возьмем полупроводник n-типа. Нагреем точку A. |
A |
Тогда увеличится концентрация электронов в точке |
|
|
Апо сравнению с точкой В. Начнется диффузия электронов из точки
сменьшим потенциалом в точку с большим. Процесс перехода электронов будет продолжаться до тех пор, пока сторонние силы не остановят его. Сторонними силами здесь выступят силы электрического поля, возникающего при переходе электронов. Напряжённость электрического поля направлено от горячего конца к холодному, то напряжённость поля сторонних сил направлено, как известно, противоположно.
В проводниках p-типа процесс в чем-то обратный: электроны будут течь от точки с меньшей температурой в точку с большей. Поле сторонних сил тоже меняет направление.
Атеперь соединим эти два полупроводника в замкнутую цепь: поле сторонних способно перемещать заряды по замкнутой цепи.
n-тип
A
p-тип
В том случае, если температуру в точках А и Поддерживать постоянной и различной, возникает ток. Термо Э.Д.С. в этом случае значительно превышает термо-э.д.с металлов. Следует отметить также, что эффект Пельтье в контакте двух разнородных полупроводников значительно выше..
Контакт метал– полупроводник. Отличается от случая, разобранного выше тем, что в полупроводнике всегда концентрация свободных электронов меньше.
Раздел 8. Физические основы работы базовых элементов ЭВМ.
8.1. Полупроводниковые материалы. Р–n переход и его свойства. Диоды, (диод Ганна, ЛПД). ). Контакт металл-диэлектрик-полупроводник (МДП). Транзисторы: биполярные и униполярные ( с управляемым p-n переходом, МДП -транзисторы,).
8.2 Элементы оптоэлектроники. Гетеропереходы и сверхрешетки. Спонтанное и вынужденное излучение...
Лазеры и их применение. Интерференция и дифракция света. Голографии. Голографическая запись информации
8.1.Полупроводниковые материалы
Воснове твердотельной электроник лежат полупроводниковые материалы К п./п
материалам, используемым в электронной технике предъявляются ряд специфических механических, технологических, физико-химических и др. требований. Полупроводники для электронных приборов должны удовлетворять тех. условиям по многим параметрам. Главными из них являются:
1) ширина запрещённой зоны в эВ, определяет концентрацию носителей при заданной температуре.
Типичные п/п -
Т
функции распределения носителей в собственном полупроводник можно приближённо считать максвелловским:
При этом fp+ fn=1 Эти же распределения можно применять и для примесных п/п ,учитывая, что уровни Ферми у п/п n-типа смещается ко дну зоны проводимости, а у p-типа -к вершине валентной зоны.
Повышение уровня Ферми влечёт повышение концентрации электронов и уменьшение концентрации дырок. Произведение концентраций остаётся при этом постоянной.
2) подвижность носителей зарядов (средняя скорость при Е=1 В/см, связана с проводимостью). При прочих равных условиях подвижность электронов выше подвижности дырок. От этого параметра зависит быстродействие прибора.
Подвижность падает с ростом температуры
, здесь 
3)время жизни носителей. Это время от генерации до рекомбинации носителя. Практически всегда стараются увеличить время жизни разными способами (ловушки, спец. примеси, сверхрешетки и т.д и т.п)
4)проводимость, связана с концентрацией и подвижностью носителей. Закон Ома :
=
, где
+q p
-
проводимость. Так как
то и
.
При повышении температуры
за счёт активиции донорных примесей (ближе к зоне проводимости. Рост прекращается, когда активированы все атомы (область 1 Т=100-200К). дрейфовое, за счёт направленного воздействия внешних полей.
Р–n переход и его свойства.
В полупроводниках n-типа свободных электронов больше чем вакансий, p-типа – наоборот. Рассмотрим контакт двух полупроводников с разным типом проводимости (p-n-переход.)
Технология изготовления переходов, контактов и др.
1.Сплавная. Например, германий сплавляют с индием. Этот сплав образуется непосредственно на поверхности германиевой пластины расплавлением таблетки индия в инертной газовой среде.
2.Планарная технология. Получение p-n перехода с помощью локальной диффузии примеси
в окисленный кремний. При этом все внешние границы переходов выходят на одну поверхность. Границы переходов разделены окисной пленкой (это хороший диэлектрик).
3. Сложные схемные решения реализуются способом литографии.
4. Эпитаксильные технологии.
Заключительная операцияметаллизация подводящих контактов.
Потенциальный барьер p-n перехода. Свойства.
W
зона проводимости
i-тип
Р-тип