Материал: 2422

Внимание! Если размещение файла нарушает Ваши авторские права, то обязательно сообщите нам

-

. -

.

,

, ( ) .

( 2.109):

,

,

,

;

, -

,

;

;

, , -

;

;

,

:

.

-

.

,

. -

:

(

, , ,

.);

( ,

,

.);

( , , -

);

60

.

, -, :

( , );

( , -

, .).

, , -

.

. -

, . 6.6, -

.

:

0 999 – ;

1·103 999·103

« »;

1·106 999·106

« »;

1·109 – -

« ».

R8

480

R8

480

10

R5

R5

10

 

. 6.6.

:

0 9999·10-12 – -

;

1·10-8 9999·10-6 – -

« ».

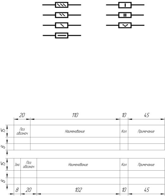
61

0,05 5 , , -

. 6.7.

0,05 W

1 W

0,125 W

2 W

0,25 W

5 W

0,5 W

 

. 6.7. ,

-

. , -

. 6.8, -

. -

,

12 .

. 6.8. :

– ; –

, -

. -

4. -

62

2.104 ( 2 -

, 2 ). ,

,

, -

« ».

:

. » – -

, .

» – ,

,

.

» – , -

, , -

, .

.

-

. , -

, -

.

. -

, « .» -

.

-

, -

« » ,

. -

, ,

( ).

, -

.

, , -

, -

. ,

( ),

,

« ».

63

, – -

. ,

( ), -

, – , -

,

, . -

, -

, . -

« .»

( . 6.9).

Ïîç.

Наименование

Êîë.

Примечание

обозначение

 

 

 

 

 

 

 

À1

Дешифратор АБВГ.ХХХХХХ.ОЗЗ

1

 

 

 

 

 

D1

Микросхема К155М2 бко.348.006.0У1

1

 

 

 

 

 

D2

Микросхема К155ЛАЗ бко.348.006ТУ1

1

 

 

 

 

 

 

Резисторы

 

 

 

 

 

 

Rl, R2

ÌËÒ-0,25-430 Îì ±10 % ÃÎÑÒ ...

2

 

 

 

 

 

R3

ÌËÒ-0,25-13 OM ±1O% ÃÎÑÒ ...

1

 

 

 

 

 

SA1

Переключатель АБВГ.ХХХХХХ.154

1

 

 

 

 

 

À2

1. Блок включения ФЭУ

1

 

 

 

 

 

ÀÂ1

Блок индикации

1

 

 

 

 

 

 

Резисторы ГОСТ ...

 

 

 

 

 

 

RI, R2

ÌËÒ-0,25-120 Îì ±10% ÃÎÑÒ ...

2

 

 

 

 

 

R3

ÌËÒ-0,25-220 Îì ±10% ÃÎÑÒ ...

1

 

 

 

 

 

R4...R6

ÌËÒ-0,25-120 Îì ± 10 % ÃÎÑÒ ...

3

 

 

 

 

 

ÐÌ1

1.1. Измеритель

 

 

 

 

 

 

ÀÑ1

Блок сигнализации АБВГ.ХХХХХХ.021

1

 

 

 

 

 

Cl, C2

Конденсатор КМ-За

2

 

 

 

 

 

R7

Резистор МЛТ-0,25-470 Ом ±10 % ГОСТ

2

 

 

 

 

 

. 6.9.

64