4. Метод «стена в грунте». Виды, преимущества
Метод «стена в грунте», или «траншейная стенка» (особый способ производства строительных работ), является одним из важнейших достижений фундаментостроения в 20-м столетии. В наши дни с помощью этой технологии решаются сложные задачи строительства при возведении подземных сооружений, подпорных стен, противофильтрационных завес, фундаментов глубокого заложения и др. [20, 26].
Основным звеном этой прогрессивной технологии является разработка глубоких траншей без крепления стенок под глинистым раствором Проходка таких траншей возможна в разнообразных и неблагоприятных инженерно-геологических и гидрогеологических условиях: например, при наличии слабых глинистых грунтов, плывунов, при высоком уровне подземных вод без водопонижения и т.п.
Глинистый раствор представляет собой разбавленную суспензию бентонитовой глины, в которую вводятся некоторые добавки (измельченные минералы — барит, гематит, магнезит и др.) Эта суспензия обладает высокой устойчивостью и тиксотропными свойствами, т.е. частицы глинистого минерала монтмориллонита, составляющего главный компонент бентонитовой глины, не выпадают в осадок, а остаются во взвешенном состоянии неопределенно долгое время. Вязкость суспензии падает в результате сотрясений Суспензия в зависимости от концентрации глины и добавок (утяжелителей) обладает сравнительно высокой плотностью (1,1—1,3 г/см3), поэтому она оказывает на стенки траншеи значительное давление, не воспринимаемое поровой водой окружающего грунта. Это давление воспринимает активное боковое давление грунта, чем обеспечивается устойчивость стенок прорези (траншеи). Подобный эффект сохраняется и в грунтах, обладающих высокой фильтрационной способностью, поскольку поры таких грунтов быстро заиливаются глиной раствора (явление кольматажа), утечка раствора из траншеи прекращается и суспензия воспринимает распор грунта.
Траншея в грунте, заполненная бентонитовой суспензией, представляет собой противофильтрационную завесу (она резко сокращает притоки воды в строительные котлованы) или разделительную конструкцию (последняя выполняет ту же роль, что и разделительный шпунт). Однако гораздо чаще траншея, заполненная суспензией, — лишь начальный этап производства работ. Ее используют для возведения в ней железобетонной конструкции (в последующем она будет работать вначале в качестве крепления котлована, а затем как конструкция фундамента), выполняемой в сборном или монолитном варианте.
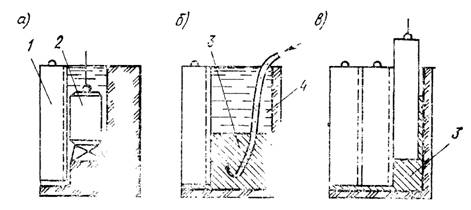
Технологическая схема устройства стены в грунте (в одном из возможных вариантов) приведена на рис. 9.9. Прорезь в грунте проходят грейферным экскаватором с плоским ковшом, который подвешивается на жесткой штанге. Ширина прорези в зависимости от размеров ковша задается 0,5—1,5 м; глубина стенки — до 100 м. Стенке придается в плане любая форма: прямоугольная, круглая, в виде креста, «ромашки» и т.п., что удобно при необходимости передачи на основание больших сосредоточенных сил.

Рис. 9.9. Стадии выполнения работ способом «стена в грунте»
а — выемка грунта из траншей под глинистым раствором; б — заполнение траншей тампонажным раствором; в — установка панелей; 1 — сборная панель; 2 — грейфер; 3 — тампонажный раствор; 4 — глинистый раствор
Свободно стоящая стена при одностороннем ее откапывании может иметь лишь ограниченную высоту. Поэтому в необходимых случаях применяют два типа креплений: распорное и анкерное (грунтовой анкер). Последний тип крепления представляет наибольший интерес как весьма прогрессивная и эффективная конструкция. Грунтовой анкер устраивают следующим образом (рис. 9.10). Через железобетон траншейной стенки пробуривают горизонтальную или наклонную скважину (с креплением или без него), в скважину вводят (забивают) специальное устройство — заделку анкера. В заделке закрепляют трос или стержень. На траншейной стенке устанавливают распределительную пластину, через которую натягивают анкер силой, обеспечивающей устойчивость стенки при откапывании, чтобы ее перемещения не превышали заданной величины. Длину анкеров устанавливают таким образом, чтобы якорь (активная часть устройства) был расположен за пределами призмы обрушения, а сопротивление анкера достигало необходимой величины. Обычно длина анкера составляет 6—20 м (активная часть 1—6 м), диаметр активной части — 0,2—0,4 м, напряжение (контролируется динамометрами либо по величине удлинения троса или стержня при натяжении) — в зависимости от вида грунта 150—200 кН. Грунтовые анкеры размещают рядами, в несколько ярусов, чем обеспечивается устойчивость и неподвижность стен любой высоты.

Рис. 9.10. Крепление стены в грунте грунтовыми анкерами инъекционного типа;
1 — призма обрушения; 2 — стена в грунте (железобетон); 3 — тяж анкера (трос); 4 — резиновый пакер (уплотнитель); 5 — ерш (активная часть анкера); I — заделка (активная часть); II — пассивная часть; III — натяжное (стопорное) устройство (пунктирные линии — глубина разработки грунта в котловане перед установкой очередного анкера)
Способ «стена в грунте» наиболее приемлем при возведении фундаментов вблизи существующих зданий, так как при этом исключаются динамические воздействия на грунт (как при забивке свай), обеспечиваются минимальные притоки воды в котлован (поэтому не требуется выполнять глубинное водопонижение, опасное для окружающих котлован зданий) и гарантируется устойчивость грунтов оснований существующих фундаментов, поскольку стенка обладает достаточной жесткостью и прочностью.
В мировой и отечественной практике известны многочисленные примеры успешного применения этого способа при возведении массивных зданий и подземных сооружений в непосредственной близости от существующих зданий, эксплуатация которых не прерывалась при выполнении строительных работ. Опыт показал, что траншея, заполненная глинистым раствором, сохраняет устойчивость даже в тех случаях, когда она разрабатывается возле фундаментов зданий (на участках возле зданий стена в грунте выполняется захватками длиной 3—5 м, что гарантирует безопасность работ). В таких условиях приближение нового строительства к существующим зданиям лимитируется только размерами применяемого оборудования, т.е. несколькими десятками сантиметров.
Виды
«Стены в грунте» классифицируются:
- по назначению - несущие, ограждающие и противофильтрационные;
- по материалу - железобетонные, бетонные, грунтоцементные, глинистые, комбинированные;
- по способу изготовления - монолитные, сборные, сборно-монолитные.
Преимущества
Метод «стена в грунте» обладает рядом преимуществ по сравнению с другими методами строительства:
- возможность устройства глубоких котлованов в непосредственной близости от существующих зданий и сооружений, что особенно важно при строительстве в стесненных условиях, а также при реконструкции сооружений;
- резко уменьшается, а в некоторых случаях отпадает необходимость в устройстве водопонижения или водоотлива; уменьшаются объемы земляных работ;
- отпадает необходимость в устройстве обратных засыпок и, следовательно исключаются неравномерные просадки полов и отмосток в процессе их эксплуатации;
- появляется возможность одновременно производить работы по устройству надземных и подземных частей зданий, что резко сокращает сроки их строительства;
- бесшумность метода строительства. Измерения показывают, что уровень шума при строительстве «стена в грунте» ниже обычного шума дорожного движения.
Исключается понижение уровня грунтовых вод, так как бетон «стены в грунте» ограждает конструкцию от проникновения воды.