Материал: 1067

Внимание! Если размещение файла нарушает Ваши авторские права, то обязательно сообщите нам

Проектируется график с учетом поточного метода выполнения работ, с разбивкой объекта на захватки. Расчетная продолжительность выполнения какой-либо работы в днях определяется исходя из ее сменности.

 

 

 

 

 

График производства работ

 

Таблица 4.1

 

 

 

 

 

 

 

 

 

 

 

СибАДИ

 

Наи-

Объем

Трудоем-

 

Машины,

Сос-

 

Смен-

Про-

 

 

Дни

 

 

мено-

работ

кость

 

механизмы

тав

 

ность

долж.

 

 

 

 

 

 

вание

ед.

кол-

чел.-

 

маш.-

мар-

кол-

зве-

 

 

работ,

 

1

2

 

 

работ

зм.

во

дн.

 

см

 

ка

во

на

 

 

дн.

 

 

 

 

 

 

 

 

 

 

 

 

 

 

 

 

 

 

 

 

 

 

 

 

 

При ведущей роли строительной машины

 

 

 

 

 

 

 

 

 

 

 

 

 

 

Тдн Тмаш. см. ,

 

 

 

 

 

 

 

 

 

 

 

 

 

 

 

 

К n

 

 

 

 

 

 

 

 

 

 

где К − кол чество машин;

n − сменность (число смен в рабочем дне);

Тмаш. см. − трудоемкость или количество машино-смен на выполнение

заданного объема конкретного вида работ.

При ведущей роли строительных рабочих

Т Тчел. дн. , дн Р n

где Тчел дн.− затраты труда на выполнение заданного объема конкрет-

ного вида работ, чел.-дн.; Р − число рабочих в смену (или звеньев); n − число смен в рабочем дне (сменность).

ПРАКТИЧЕСКОЕ З НЯТИЕ №5 Выбор монтажных кранов

Выбор кранов для выполнения работ по возведению здания или сооружения осуществляется в два этапа.

На первом этаже исходя из габаритов возводимого здания (сооружения), максимальной массы сборных элементов их расположения в плане здания, размеров строительной площадки (условия стесненности производства работ), выбирают тип крана (стреловой, башенный), который по своим техническим характеристикам может обеспечить выполнение технологических операций и процессов.

На втором этаже выбирают конкретную модель крана с необходимыми параметрами (грузоподъемность, длина стрелы, дополнительное оборудование). Так при строительстве промышленных зданий и других развитых в плане сооружений относительно небольшой высоты рекомендуется использовать стреловые самоходные краны.

16

Башенные краны используются, в основном, при строительстве жилых и административно-бытовых зданий, а также промышленных зданий и сооружений большой высоты, большой длины и относительно небольшой ширины.

Выбор конкретной модели начинают с определения требуемых параметров монтажных кранов при возведении того или иного здания из сборных элементов. При выборе кранов исходными данными являются:

СибАДИобъемно-планировочное и конструктивное решение строящегося здан я;

массы монт руемых элементов, расположение их в плане и по высоте;

методы орган зации строительства, способы и методы монтажа.

Рабоч е параметры кранов определяются на основе монтажных характер ст к элементов с орных конструкций. К монтажным характеристикам сборных элементов относятся:

Qм− монтажная масса, т;

Нм− монтажная высота подъема крюка, м; Z м − монтажный вылет крюка крана, м.

Монтажная масса конструкций характеризуется массой самой конструкции и массой монтажных приспособлений. Определяется монтажная масса для самых тяжелых и наиболее удаленных элементов по формуле

Q м Qэл. qприсп. ,

где Qэл.− масса элемента, конструкции, т; qприсп. − масса монтажных

приспособлений, т.

Высота подъема крюка ( Нм) технологически необходимая высота

вертикального перемещения монтируемых элементов определяется по формуле

Нм h1 h2 h3 h4 ,

где h1− проектная отметка (превышение опоры монтируемого элемента над уровнем стоянки крана; h2 − высота подъема элемента над опорой (принимают для безопасности и удобства монтажа от 0,5 до 1,0 м); h3 − высота (толщина) монтажного элемента; h4 − длина (высота) стропов

или грузозахватного приспособления над монтируемым элементом. Монтажный вылет стрелы (крюка) крана описывается радиусом его действия, т.е. расстоянием от центра тяжести монтируемого элемента до оси вращения крана:

Z 1 2 3 ,

17

где 1− расстояние от оси вращения крана до шарнира крепления стре-

лы для стреловых кранов (принимается 1,5 м) и до ближайшей опоры −

для башенных; 2 − расстояние от шарнира крепления стрелы или опоры

крана до наружной поверхности сооружения; 3 − расстояние от наруж-

ной поверхности сооружения до оси крюка крана (см. рис. 5.1).

 

 

Монт руемый элемент

 

 

Строп

 

 

 

 

 

 

 

 

 

 

 

 

 

 

 

4

 

 

 

 

 

 

 

 

 

h

 

 

 

 

 

 

 

 

 

3

 

 

крана

 

 

 

ы

 

 

h

 

 

 

 

 

 

 

2

 

 

 

 

 

 

 

h

 

 

 

 

л

 

 

 

 

 

 

тре

 

 

 

 

 

 

 

 

 

 

 

 

 

 

явращен

 

с

 

 

 

 

 

 

 

Ось

 

 

Наружная поверхность сооружения

Ось крюка крана

 

 

 

 

 

 

 

1

м

 

Ось

Точка

 

 

 

h

Н

N

креплен я стрелыN

 

 

 

 

1

Z

 

2

3

 

 

 

 

 

 

 

 

 

 

 

 

 

 

 

 

 

 

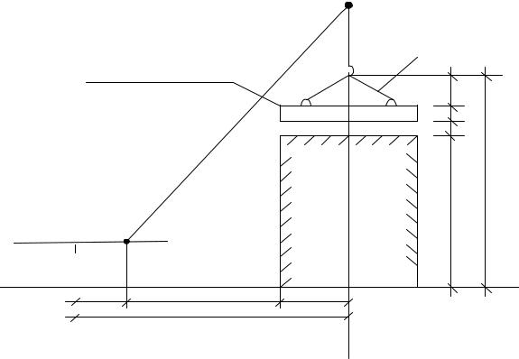
Рис. 5.1

 

 

 

 

Для определения требуемого вылета крюка крана и длины стрелы

монтажного крана обычно пользуются двумя способами: графическим

или аналитическим.

 

 

 

 

 

 

 

 

Графический способ. В произвольном масштабе вычеркивают кон-

тур монтируемого сооружения, контур характерного элемента или кон-

струкции в монтажном положении над проектной отметкой

проводят

Сось крюкаикранабАДИ.

 

 

 

 

 

 

18

 

 

 

Для кранов с наклонной стрелой (рис. 5.2) ось стрелы проводят через две точки: А, расположенную на высоте Нм 1,5м (где 1,5 м − ми-

нимальное расстояние от крюка крана до оголовка стрелы, т.е. высота полиспаста), и В, обеспечивающую безопасный зазор между стрелой и выступающими гранями ранее смонтированных элементов (принимается от 1,0 до 1,5 м по условиям техники безопасности).

Ось стрелы проводят до пересечения с линией N-N, расположенной на уровне крепления стрелы, параллельной плоскости стоянки крана (прин мается по техпаспорту или 1,5 м). Получают точку Д. Затем от точки Д влево откладывают 1(по техпаспорту или принимают 1,5 м для

СибАОба описанных выше способа абсолютноДравнозначныИ, однако графический является более простым в практическом применении.

стреловых кранов). Все построения выполняют в том же масштабе. По построенной схеме графически определяют длину стрелы крана L (м) и

монтажный вылет крюка Z (м).

Анал т ческ й метод. Используя рис. 5.2 и 5.3 проводят дополнительные построен я и получают два прямоугольных подобных треугольн ка. Обознач м один АВС со сторонами а, в, с и второй ВДЕ

со сторонами а1, в1, с1.

а = (1,5 м + h4 + h3 + h2 ) − 1,0 м; в = ( 3 1,0

Из АВС находят

м);

 

 

 

 

 

 

 

с2 = а2 + в2, отсюда определяют с.

 

а1

 

Из ВДЕ находят а1

= h 1,0 м 1,5 м ; в1 =

.

 

 

 

 

1

 

 

tg

 

 

 

 

 

 

АВС подобен ВДЕ, поэтому tg а

а1 .

 

 

 

 

в

в

 

 

 

 

 

1

 

Из выражения

с2

а2

в2

определяют с1.

 

 

 

 

1

1

1

 

 

 

 

Длину стрелы

вылет находят по формулам:

Lстр. с с1;

Z 1 2 3 ,

где 2 в1 1,0 м.

 

 

 

 

 

 

Полученные монтажные характеристики (монтажная масса, длина стрелы и монтажный вылет) позволяют непосредственно выбрать марку крана. Прежде всего, определяют необходимую группу грузоподъемности крана. Для этого сравнивают рассчитанную монтажную массу с ближайшей группой грузоподъемности. Например, монтажная масса Q = 19,3 т, ближайшая большая группа грузоподъемности − пятая (см. классификацию монтажных кранов), т.е. 25 т.

19

 

 

 

 

 

 

 

A

 

 

 

 

 

 

 

 

 

1,5м

 

 

 

 

 

 

L

 

 

 

 

 

 

 

 

 

 

 

1,5м

 

 

 

 

 

 

 

 

 

 

 

 

 

1 1,5м

2

3

 

 

 

 

 

 

 

Рис. 5.2

 

 

 

 

 

 

 

 

 

1,5м

крана

 

 

 

 

 

250

 

h4

 

 

 

т р

е л

ы

 

h3

 

 

 

 

 

вращения

 

-

с

 

 

 

h2

L

 

 

 

 

 

 

 

 

 

 

 

 

 

 

 

 

 

 

 

 

 

 

 

 

 

h1

Ось

 

 

D

 

 

 

 

 

 

 

 

 

 

 

 

 

 

 

 

1,5м

 

 

 

 

 

 

 

 

СибАДИ

1

1,5м

 

 

 

 

2

3

 

 

 

 

 

 

 

 

Рис.5.3

 

После определения группы грузоподъемности приступают к выбо-

ру типа ходового устройства крана. На этой стадии большое значение

имеет правильная оценка условий работы крана.

20